郑州市公安消防支队两室一站维修项目技术参数及要求
- 格式:pdf
- 大小:179.27 KB
- 文档页数:5
消防项目维修方案范本1. 引言本文档为消防项目维修方案范本,主要用于指导和记录消防设施的定期维修工作。
本方案适用于各类建筑物和场所的消防设施维修工作,旨在提供清晰的维修目标、方法和程序,确保消防设施处于良好工作状态,以保障人员和财产的安全。
2. 维修目标本维修方案的目标是保障消防设施的有效性、可靠性和持久性,确保其能够在火灾发生时起到及时报警、疏散人员和灭火的作用。
具体维修目标如下:•确保火灾报警系统的灵敏度和可靠性,及时检测到火灾发生的迹象。
•确保消防水系统的正常运行,保障火灾时的灭火能力。
•检查和保养逃生通道设施,确保人员能够安全迅速地疏散。
•定期检查和保养灭火器和其他灭火设备,确保其正常工作状态。
•检查和维护消防设施的外观和环境,确保其正常工作及使用条件。
•按照法规要求进行相关记录和文件的管理,确保合规性。
3. 维修程序3.1 维修计划制定根据消防设施的特点和使用情况,制定切实可行的维修计划。
维修计划应包括维修周期、维修内容、负责人和执行时间等要素,并应经相关部门的批准。
3.2 维修执行根据维修计划,负责人组织相关人员对消防设施进行维修工作。
维修过程中应严格按照维修标准和要求进行操作,确保维修质量。
3.3 维修记录和报告在维修过程中,相关人员应及时记录和报告维修情况。
维修记录应包括维修项目、维修内容、维修时间和维修结果等信息。
维修报告应由负责人编制,包括本次维修的总结和建议。
3.4 维修验收维修完成后,相关部门应对维修工作进行验收。
验收人员应确认维修工作符合要求,并填写相应的验收文件。
未通过验收的项目需要重新维修,直至符合要求为止。
3.5 维修评估和改进定期对维修工作进行评估,评估内容包括维修质量、维修成本和维修时间等。
评估结果将用于改进维修方案,提高维修效率和质量。
4. 相关法规和标准在进行消防项目维修工作时,按照相关法规和标准进行操作,以确保合规性和质量。
以下为常见的相关法规和标准:•《消防法》•《建筑消防设施维护和管理规定》•《消防设施维护技术规范》•《消防设施维护管理标准》维修人员应熟悉并遵守相关法规和标准,确保维修工作的合规性和可靠性。
以下是一个消防维修作业说明书的模板,供参考:消防维修作业说明书1. 作业信息-作业名称:(填写具体的维修项目或任务名称)-作业地点:(填写维修的具体位置)-作业日期:(填写维修的起止日期)-负责人:(填写负责本次维修作业的人员姓名和联系方式)2. 作业目的(简要描述此次维修作业的目的和意义)3. 作业内容(详细列出本次维修作业的具体内容,包括但不限于以下事项)-检查消防设施和设备的工作状态-清洁、更换或修复消防设施和设备-校准消防设备的功能和性能-替换损坏或过期的消防器材-检查消防报警系统和灭火装置的可用性-其他维护和保养工作4. 作业流程(按照时间顺序详细描述本次维修作业的流程,包括但不限于以下步骤)-准备工作:包括确认所需材料和工具,并做好安全措施。
-实施维修:按照作业内容进行维修和保养工作,确保所有操作符合安全规范。
-检查测试:完成维修后,对消防设施和设备进行测试和检查,确保功能正常。
-完成报告:记录维修过程和结果,并及时提交相关报告。
5. 安全注意事项(列出必须遵守的安全注意事项,以确保维修作业过程中的人员安全)-确保佩戴个人防护装备,如手套、护目镜等。
-遵循操作规程和操作手册的要求。
-注意设备和电源的断电和防错措施。
-维修过程中严禁吸烟和使用明火。
6. 资源需求(根据具体维修任务,列出所需的资源和材料清单,包括但不限于以下方面)-维修工具:(列出所需的特定工具)-运输工具:(列出所需的运输工具,如车辆或搬运设备)-材料和零件:(列出所需的材料和零件,如电线、灭火器等)7. 质量验收标准(说明本次维修作业的质量验收标准和要求,包括但不限于以下方面)-检查设备和设施的功能是否正常-确保消防器材齐全、有效,并符合相关法规标准-维修结果符合规范要求,并能满足使用需求以上是一个消防维修作业说明书的模板,具体内容可以根据实际情况进行调整和补充。
消防设施维护要求标准规定随着经济的不断发展和城市化进程的推进,消防安全问题日益受到人们的重视。
消防设施作为保障人们生命财产安全的重要手段,其维护要求标准规定也日趋完善。
本文将从消防设施的分类及功能、维护要求及标准等方面展开论述。
一、消防设施的分类及功能消防设施主要分为自动喷水灭火系统、自动喷水灭火器系统、消防报警系统、消防疏散系统和防烟排烟系统等几个大类。
各类消防设施在维护过程中需符合相应的功能要求。
1. 自动喷水灭火系统自动喷水灭火系统是建筑物内部和外部设置的,具有自动、连续、喷射距离远、灭火效果显著的灭火设备。
其维护要求主要包括定期检查水源、喷头、管路等是否正常运行,以及检测水流和水压是否满足要求等。
标准规定中应明确相关设备的更换周期和标准。
2. 自动喷水灭火器系统自动喷水灭火器系统通过自动雾化出水,有效抑制火势的蔓延。
其维护要求主要包括定期检查喷水器的工作状态、阀门是否处于正常工作位置,以及检查喷水器的密封性能等。
标准规定中应确定消防器件的使用寿命和检测标准。
3. 消防报警系统消防报警系统是指通过火灾探测器、烟感探测器等设备实现火灾预警和报警的系统。
其维护要求主要包括定期检查和维修火灾探测器、烟感探测器等设备的灵敏度和报警响应时间,以及确保报警设备与消防部门的联动正常运行。
标准规定中应包含相关设备的维护周期和相关技术指标。
4. 消防疏散系统消防疏散系统是指通过设备和设施的组合,确保火灾发生时人员能够迅速有序地逃生。
其维护要求主要包括定期检查疏散通道、安全出口、安全标识等设施的完好性和是否畅通,以及检测疏散系统的各项功能是否正常运行。
标准规定中应规定相关设施的维修和更换要求。
5. 防烟排烟系统防烟排烟系统是指通过排烟装置和防烟门窗等设备,控制火灾烟气蔓延的设施。
其维护要求主要包括定期检查排烟设备、防烟设备的工作状态和密封性能,以及检测烟雾传感器和排烟风机等设备的正常工作。
标准规定中应确定相关设备的检测要求和维护周期。
消防维修实施方案一、前言。
消防设施是保障人们生命财产安全的重要设备,而消防维修是保障消防设施正常运行的关键环节。
为了确保消防设施的有效性和可靠性,制定消防维修实施方案十分必要。
二、维修对象。
1. 消防设施包括但不限于消防水系统、自动喷水灭火系统、消防报警系统、消防排烟系统等。
2. 维修对象涵盖建筑物内外的各类消防设施。
三、维修内容。
1. 定期检查消防设施的运行状况,包括管道、阀门、泵站等的漏水、堵塞情况。
2. 定期检测消防设施的灭火效果,确保喷水灭火系统、报警系统等的正常运行。
3. 定期清理消防设施的积水、杂物,保障设施畅通无阻。
4. 定期更换消防设施的易损件,如喷头、传感器等。
四、维修周期。
1. 消防设施的维修周期应根据设备类型、使用环境、制造商建议等因素综合考虑,一般不超过一年。
2. 针对一些易损件,如喷头、传感器等,可以根据实际情况增加检修频次。
五、维修流程。
1. 制定维修计划,包括维修内容、维修周期、维修人员等。
2. 维修前的准备工作,包括准备维修工具、备件、安全防护用品等。
3. 维修过程中的操作规程,包括维修人员的操作流程、注意事项等。
4. 维修后的检验验收,确保维修效果符合要求。
六、维修责任。
1. 确保维修人员具备相关资质和技术能力,严格按照维修方案进行操作。
2. 维修单位应建立健全的维修记录,包括维修内容、维修时间、维修人员等。
3. 维修单位应对维修人员进行定期培训,提高其维修技术和安全意识。
七、维修质量。
1. 维修单位应确保维修质量符合相关标准和规定,严格按照维修方案进行操作。
2. 维修后应进行功能测试,确保消防设施的正常运行。
八、总结。
消防维修实施方案的制定和执行,对保障消防设施的有效性和可靠性具有重要意义。
维修单位应严格按照方案要求进行操作,确保消防设施的正常运行,提高人们的生命财产安全保障水平。
消防系统维护维修细则资料消防系统是建筑物中的重要组成部分,保证消防系统的正常运行对于保护人员生命财产安全至关重要。
然而,由于消防系统涉及多个细化的部分,造成维护和维修十分繁琐。
为了保障消防系统的有效运行,以下是消防系统维护维修细则资料。
一、消火栓系统的维护与维修1. 消火栓的维护1.消火栓的周围禁止存放杂物。
2.定期清理消火栓,确保消火栓畅通。
2. 消火栓的维修1.在发现消火栓有泄露现象时,应当及时更换密封垫。
2.发现消火栓安装不正确、故障等问题时,需要请专业人员进行检修及更换。
3.定期对消火栓代替阀门进行操作,确保消火栓功能正常。
二、自动喷水灭火系统的维护与维修1. 自动喷水灭火系统的维护1.定期对喷水管路进行冲洗,清理管道内部,确保灭火系统通畅。
2.定期对喷头进行检查并清洗,以确保喷头正常运行。
3.定期对水泵进行检查,清理水泵通道,以确保水泵可靠运行。
2. 自动喷水灭火系统的维修1.当发现系统中与泵、阀门、水磨机等有关的部件出现故障时,应请求专业人员及时维修。
2.当喷洒水带系统出现故障时应该采取下列措施:–尽量迅速关闭喷带的自动阀门或选择手动关阀,保护直接受灾区,保持水压;–向消防队报告灾害点火情况与喷水系统的状况,并请求消防队的协调和指挥;–配合消防队做好其他相对应的灭火工作。
三、防排烟系统的维护与维修1. 防排烟系统的维护1.定期清洗烟道,主要是集烟罩、烟道、排烟风机,以确保正常的排烟功能。
2.定期检查排烟隔墙,确保隔墙无渗漏。
2. 防排烟系统的维修1.发现问题需要及时更换烟道隔离及烟风机等零部件。
2.当发现排烟系统无法正常运行时,应请专业人员进行检查和维修。
四、火灾报警系统的维护与维修1. 火灾报警系统的维护1.定期检查火灾探测器、手动报警按钮等设备,确保其正常工作。
2.定期检查火警控制器,确保它能准确地判断火灾信号并发出报警。
2. 火灾报警系统的维修1.当警报响起时,应立即到场查看,确认是否存在火灾事故。
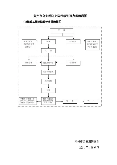
图纸资料审核核意见书》送达(1)建设工程消防设计审核流程图受理出具《建设工程消防设计受理凭证》受理不予受理出具《建设工程消防设计不予受理凭证》交办集体会审专家评审拟定审核意见技术复核审批审核不合格的,按照法律法规对相关责任单位进行处罚制作《建设工程消防设计审建档郑州市公安消防支队2011年4月6日(2)建设工程消防设计备案工作流程图备案形式网上备案录入备案受理系统随机确定抽查对象对于被列入抽查的建设工程,工程建设单位或个人应于五日内提供设计资料及相关文件收取备案抽查材料三十日内完成图纸资料检查现场备案对未被列入抽查的建设工程,应将备案资料建档制作《建设工程消防设计监督抽查记录表》在备案受理系统中公告对抽查合格的建设工程,应将抽查材料归档对于抽查不合格的建设工程,五日内制作《建设工程消防设计违法通知书》通知建设单位改正,同时责令单位停止施工对有关责任单位依法处罚不停止施工的依法处罚建档制作《建设工程消防设计复查意见书》,合格复查告知建设单位恢复施工郑州市公安消防支队2011年4月6日组织消防验收(3)建设工程验收工作流程图受 理出具《建设工 程消防验收受 理凭证》受理 不予受理出具建设工程 消防验收不予 受理凭证交 办集体会审 专家评审拟定验收意见技术复核审批验收不合格的,按照法律法规对相关 责任单位进行处罚制作《建设工程 消防验收意见书》送 达 建 档郑州市公安消防支队2011 年 4 月 6 日(4)建设工程竣工验收消防备案工作流程图备案形式网上备案录入备案受理系统随机确定抽查对象对于被列入抽查的建设工程,工程建设单位或个人应于五日内提供设计资料及相关文件收取备案抽查材料三十日内完成工程检查现场备案对未被列入抽查的建设工程,应将备案资料建档制作《建设工程竣工消防监督抽查记录表》对抽查合格的建设工程,应将抽查材料归档在备案受理系统中公告对于抽查不合格的建设工程,30日内制作《建设工程竣工验收违法通知书》,通知建设单位改正并停止使用建档对有关责任单位依法处罚制作《建设工程竣工验收复查意不停止使用的依法处罚合格复查见书》,告知建设单位恢复使用郑州市公安消防支队2011年4月6日(5)公众聚集场所投入使用、开业前检查流程图受理出具受理凭证予以受理交办现场检查现场检查填写《消防监督检查记录》不予受理出具不予受理凭证拟写《不同意投入使用营业决定书》拟制《检查合格证》审批送达建档郑州市公安消防支队2011年4月6日。
第1篇一、项目概况1. 项目名称:XXX工程项目2. 项目地点:XXX3. 项目规模:XXX4. 项目性质:新建5. 项目投资:XXX万元二、招标内容本次招标项目包括但不限于以下内容:1. 土建工程:包括基础工程、主体结构工程、屋面工程、装饰装修工程等。
2. 安装工程:包括电气工程、给排水工程、通风空调工程、消防工程等。
3. 管道工程:包括给排水管道、消防管道、电气管道等。
4. 道路工程:包括道路、停车场、人行道等。
5. 绿化工程:包括绿化种植、景观设计等。
三、技术参数1. 土建工程(1)基础工程基础形式:钢筋混凝土基础。
基础尺寸:根据地质勘察报告确定。
基础埋深:根据地质勘察报告确定。
(2)主体结构工程结构形式:框架结构。
混凝土强度等级:C30。
钢筋等级:HRB400。
抗震设防等级:根据当地抗震设防要求确定。
(3)屋面工程屋面形式:平屋面。
屋面防水等级:二级。
屋面保温材料:挤塑聚苯板。
(4)装饰装修工程墙面:乳胶漆涂料。
地面:瓷砖。
门窗:断桥铝门窗。
2. 安装工程(1)电气工程供电方式:三相四线制。
配电箱:按照负荷等级配置。
照明灯具:节能灯具。
插座:符合国家标准。
(2)给排水工程给水系统:自来水管网接入。
排水系统:雨水、污水分流。
给水管材:PPR管。
排水管材:PVC-U管。
(3)通风空调工程空调系统:分体空调。
通风系统:新风系统。
通风管道:玻璃钢通风管道。
(4)消防工程消防系统:自动喷水灭火系统。
消防水池:有效容积根据消防用水量确定。
消防水泵:按照消防用水量配置。
3. 管道工程(1)给排水管道给水管材:PPR管。
排水管材:PVC-U管。
(2)消防管道消防管材:无缝钢管。
(3)电气管道电气管材:PVC管。
4. 道路工程(1)道路路面结构:沥青混凝土路面。
路面宽度:根据规划要求确定。
(2)停车场停车位数量:根据实际需求确定。
停车场设计:满足无障碍设施要求。
(3)人行道人行道宽度:根据规划要求确定。
人行道材质:透水砖。
Tel.:两室一站技术方案汉纬尔机械(上海)有限公司Tel.:汉纬尔公司是全球领先的压缩空气和压缩气体系统制造商之一,我们的产品与服务范围包括当今市场上效率最高的压缩机系列。
汉纬尔生产的高压活塞式压缩机系统是完全按照国际标准设计及应用标准的设计原则,生产制造的, 并广泛用于各种不同的介质包括空气,天然气和其它各种技术及工艺气体等多种领域, 系列产品的功率从4KW~300KW, 终端压力可达到700bar。
汉纬尔的产品广泛应用于各个领域, 主要是石油和气体生产工业, 军事工业,化学, 石油化工, 塑料行业, 工业应用,呼吸应用等。
从一般工业、近海、陆地油田、高压深海到气体压缩的各种应用,汉纬尔公司提供的系列产品涵盖了大多数的高压压缩机以及配套产品和服务,可满足各种应用需求。
凭借近多年的业内丰富经验,我们所开发的全方位的产品系列日趋完善。
汉纬尔是一家全方位提供优质服务的公司, 它的业务涉及向客户提供设计, 工程, 生产制造(加工), 组装, 满负荷测试, 安装, 启动试车, 及售后服务。
汉纬尔使用的模块化(积木化设计)系统可以为用户找到最优化的设计方案-----不论从技术角度或从经济成本考虑。
为确保压缩机无故障运行,甚至在最恶劣的条件下,汉纬尔精心的选择外购的材料和供应商以及采用最佳的运算,设计,工程和制造。
现代工程的利用:(1)基于CAE 系统的现代数据库(2) ISO 9001(3)计算机运算程序(4)各种辅助程序Tel.:汉纬尔公司由三个主要分部组成:●工业压缩机部●呼吸空气部●售后服务部汉纬尔公司在上海设有组装工厂,为国内客户提供快捷的交货期,备件库存和服务Applications 应用领域●Oil platform at sea and land海上及陆地采油平台●National Defence国防军工●Marine and Off-shore 深海及近海●Breathing Air system呼吸空气系统●Industrial air and gas 工业空气和气体Tel.:汉纬尔项目流程管理第一步:分析 AnalysisHIGH AIR管理层和由优秀的技术人员、工人、销售人员、维修人员和管理人员组成的团队,积极努力,对客户和伙伴真诚负责的态度。
消防系统维护维修细则1. 背景消防系统维护维修是保障建筑物内部消防设施正常运行的重要工作。
消防系统的正常运行对于保障人员的生命财产安全具有重要意义。
为了确保消防系统的有效运行,制定本细则。
2. 维护维修内容2.1 定期检查定期检查是确保消防系统设备正常运行的关键环节。
定期检查将包括但不限于以下内容:•消防设备是否完好,包括灭火器、消防栓、消防水泵、喷淋系统等;•消防设备是否处于正常工作状态,包括检查用水量、压力等参数;•消防设施是否有损坏或堵塞的情况,如消防通道、安全出口等。
定期检查频率将根据消防设备类型和使用环境的实际情况进行安排,一般为每季度或半年进行一次。
2.2 日常维护日常维护是指日常对消防设备进行简单保养和维护,以确保设备的正常运行。
日常维护内容包括但不限于以下方面:•定期清理消防设备,如灭火器外观清洁;•定期检查消防设备的使用说明和标识是否完好;•定期检查消防设备的有效期限,如灭火器的有效期限;•定期检查消防设备的防护罩和防尘罩是否完好;•定期检查消防设备的固定情况,如消防栓的安装是否牢固。
日常维护将由消防设备的使用人员负责,应保证每日维护记录的完整性和准确性。
2.3 故障维修故障维修是指对消防设备出现故障或损坏时进行修复和维护的工作。
故障维修应根据实际情况,及时调查故障原因并进行修复。
故障维修工作可能包括但不限于以下内容:•对故障设备进行检查和测试,确定故障原因;•对故障设备进行修复或更换故障部件;•对修复后的设备进行测试,确保设备正常运行。
故障维修工作由专业的维修人员或消防设备的供应商负责,应确保修复过程的安全性和可靠性。
3. 文档管理本维护维修细则将由消防设备管理人员负责维护和更新。
对于每次维护和维修工作,应编写维护维修记录,并及时归档保存。
记录内容应包括维护维修的具体日期、内容、人员和设备等信息,并签字确认。
对于定期检查和日常维护,应设置提醒机制,以保证维护工作按时进行。
定期检查和日常维护记录应作为消防安全管理的重要参考依据。
郑州市人民政府关于印发郑州市十二五消防工作发展规划的通知正文:---------------------------------------------------------------------------------------------------------------------------------------------------- 郑州市人民政府关于印发郑州市十二五消防工作发展规划的通知(郑政〔2011〕112号)各县(市、区)人民政府,市人民政府各部门,各有关单位:现将《郑州市“十二五”消防工作发展规划》印发给你们,请认真贯彻执行。
二○一一年十二月二十六日郑州市“十二五”消防工作发展规划为促进我市消防事业的全面发展,依据《中华人民共和国消防法》(以下简称《消防法》)和《河南省消防条例》、《河南省“十二五”消防工作发展规划》(豫政办〔2010〕142号)等法律、法规,按照全市经济社会发展总体设想,制定我市“十二五”消防工作发展规划。
“十二五”期间,全市消防工作的奋斗目标是:进一步完善“政府统一领导、部门依法监管、单位全面负责、公民积极参与”的社会化消防工作机制,扎实推进构筑社会消防安全“防火墙”工程,消防安全责任制得到全面落实,消防事业保障机制进一步健全,社会消防监管模式创新发展,公民消防安全素质不断提升,公共消防设施建设步伐加快,覆盖城乡的灭火应急救援体系得到完善,保持火灾形势平稳,遏制重特大尤其是群死群伤火灾事故。
一、严格落实消防安全责任制,提升依法防控火灾水平(一)落实消防责任制。
以《消防法》为主线,深入贯彻《河南省消防条例》、《郑州市消防安全责任制实施办法》,推进消防地方立法和依法治火进程。
根据经济社会发展需要,针对消防安全突出问题和薄弱环节,制定规范性文件,逐步建立健全与经济社会发展相适应的地方消防法规和标准规范体系。
制定加强乡镇、街道消防安全管理标准,对乡镇、街道等消防安全工作责任细化。
消防设施维护保养明细及技术要求1、消防系统维护保养明细①、维护保养范围(包括但不限于以下)(1)、室内外消防栓系统的维护保养(2)、自动喷水灭火系统的维护保养(3)、火灾自动报警系统的维护保养(4)、气体灭火系统维护保养(5)、泡沫灭火系统维护保养(6)、防火分隔系统的维护保养(7)、消防电话系统的维护保养(8)、消防广播的维护保养(9)、消防联动系统(含防排烟系统)的维护保养(10)、消防给水系统的维护保养5)、应急疏散系统的维护保养(必、移动式灭火器的维护保养及灌充(⑶、项目消防规划设计范围内的其他项目②、建筑各单体面积⑴、1栋5900平方米。
⑵、2栋20000平方米。
⑶、水泵房Iooo平方米。
⑷、综合楼12000平方米③、维护保养技术要求(1)、定期检测一--对相关消防设施的重点功能性内容按照消防主管部门要求进行专业测试及全面检查,并提交相应的检测报告。
含合同期内的每个月将提供消防设施常规性检测服务以达到及早发现隐患并及时处理,减少故障、延长设备使用年限的目的;同时将对消防设施做专业保养;检测结束后需恢复消防系统功能性。
⑵、消防年检--一由维护方进行每年一次的消防年检。
并提供年检应使用的各类维修维护、测试的相关记录、报告及其他文件;检测结束后需恢复消防系统功能性。
(3)、维修改善一一在消防系统出现故障的情况下,在得到使用单位的通知后,维护方应及时到达现场,对故障进行排除,如不能修复,则有义务向采购单位说明,并提供相应的改善服务;如需对零配件进行更换的,供应商应提供相关部门检测合格并带有合格证的配件,并由采购人同意再进行更换;(4)、安全管理一一提供消防法规的咨询服务,协助使用单位建立健全相关规章制度和制定消防应急预案;配合使用单位进行消防演习。
(5)、专业培训一一提供消防专业培训,包括生命安全和初期火灾的扑救和逃生;消防专业人员的系统管理;(6)、安全评估一一提供消防系统设施运行评估和生命安全评估,提供有效的评价体系,适合使用单位定期对消防系统检测;(7)、安全事故一一保证再维保期间,因维保公司业务失误导致的安全事故为0.(8)、每月定时将维保月报表交由使用单位消防责任人确认。
消防大队零星维修项目管理方案1. 项目背景消防大队作为保护人民生命财产安全的重要力量,需要保持设备和设施的正常运行。
然而,由于长期使用、设备老化以及突发故障等原因,零星维修项目的出现是难以避免的。
为了保障消防设备和设施的持续可用性,制定一套科学的零星维修项目管理方案是必要的。
2. 项目目标本项目的目标是建立一个高效、规范的零星维修项目管理制度,确保消防设备和设施能够及时修复,提高维修效率,降低故障对消防工作的影响。
3. 项目范围本项目的范围包括消防大队所有需要进行零星维修的设备和设施,例如消防车辆、水源系统、灭火器材等。
4. 项目流程4.1 提交维修请求任何维修需求都需要通过指定的渠道提交维修请求,包括电话、邮件或者专门的维修申请系统。
维修申请需包括设备/设施的名称、具体故障现象以及联系人信息等。
4.2 维修申请评估维修申请收到后,由专门的人员进行评估。
评估内容包括维修的紧急程度、所需材料和人力资源等。
4.3 维修计划制定根据评估结果,制定相应的维修计划。
维修计划应包括维修的优先级、所需资源和修复期限等。
4.4 维修执行按照维修计划进行维修工作。
执行过程中,需要对维修人员的工作进行监督和记录,以确保维修过程的质量和效率。
4.5 维修验收维修完成后,进行维修结果的验收。
验收内容包括设备/设施的正常使用和维修过程的记录等。
4.6 维修报告根据维修结果,编制维修报告。
报告内容包括维修的具体情况、所需材料和人力资源的使用情况等。
5. 项目资源管理5.1 人力资源为了能够及时响应维修需求,应配备一定数量的维修人员,并确保技术水平和维修能力的持续提升。
5.2 物资资源消防大队应储备一定数量的常用维修材料和工具,以备维修时使用。
定期检查储备物资的数量和质量,及时进行补充和更新。
5.3 维修设备为了保障维修效率和质量,消防大队应配备符合标准的维修设备和工具,包括电动工具、测量工具等。
6. 项目风险管理在项目执行过程中,存在以下可能的风险:6.1 人员不足如果消防大队人员不足,将导致维修请求积压、维修周期延长等问题。
消防维保招标项目参数消防维保:全院医疗用房总面积134100平方米,预计每平方米1.5元,合计费用201150元。
一、消防维保范围具体如下:1、火灾自报警控制系统2、消防栓给水系统室内部分3、自动喷淋灭火系统4、消防电源供应5、防排烟系统6、防火隔离系统7、消防应急广播系统8、消防对讲通讯系统二、维护保养标准及要求1、火灾报警控制系统:全院所有楼宇的火灾自动报警系统维保项目,从中央控制室到各报警点,每月2次检查报警主机联动控制器、烟感探测器、手动报警按钮、层显声光讯响,使之处于完好工作状态,发现问题和故障及时排除。
2、消火栓给水系统。
从水泵进入口到末端放水口,每月检查消防泵、稳压泵、电源控制柜、阀门、水泵接合器、室内消防栓等,使之处于完好状态,并进行水泵试启动,发现问题和故障及时排除。
3、自动喷淋灭火系统。
从泵房进入口到末端放水口每月检查喷淋泵、稳压泵、电源控制柜、湿式报警阀喷头、水泵接合器是否处于正常状态,对喷淋泵试启动,发现故障及时排除。
4、消防电源供应:每月2次检查消防双电源,发现问题和故障及时排除。
5、防排烟系统:每月2次对风机阀、风机口、送风机、排风机模块保养一次,发现问题和故障及时排除。
6、防火隔离系统:每月2次对防火卷帘门控制系统检查保养一次,发现故障及时排除。
7、消防应急广播系统:每月2次对消防扩音器,音响线路检查保养一次,发现故障及时排除。
8、消防对讲通讯系统:每月2次对消防分机、主机检查保养一次,发现故障及时排除。
三、其他相关要求:1、法定节假日之前必须对所有消防设施进行一次全面检查,确保设施正常运行。
2、除每月2次例行检查保养之外,每周应对所有消防设施进行一次巡查。
3、维保公司需储备合理数量的消防设备专用配件和更换零件,以进行必要的更换。
4、消防设备专用配件和更换零件在单价(人民币)300元以下(包括300元)的费用由维保公司承担,并立即安装更换。
超过300元的将详细清单上报保卫科,由保卫科申请购买。
消防大队零星维修项目管理方案1. 引言消防大队作为负责城市消防工作的重要组成部分,承担着保障市民生命财产安全的重要责任。
为了确保消防设施设备的正常运行和维护,消防大队需要进行零星维修项目的管理。
本文档旨在制定一套完善的消防大队零星维修项目管理方案,以提高维修项目的效率和管理水平。
2. 项目背景消防设施设备是消防大队保障市民生命财产安全的重要工具,常常需要进行定期的维修和保养。
而零星维修项目则是指那些非计划性、临时性的维修项目。
消防大队在处理零星维修项目时,往往面临以下问题:•维修项目的信息传递不及时、不准确,导致维修延迟;•维修人员安排不合理,导致资源浪费;•维修过程缺乏监督和记录,存在管理漏洞。
因此,建立一套科学、规范的零星维修项目管理方案,对于提高维修项目的效率和管理水平具有重要意义。
3. 项目目标本项目管理方案的目标是:•确保零星维修项目的信息传递准确、及时;•合理分配维修人员和资源,提高维修项目的效率;•加强对维修过程的监督和记录,提高维修项目的管理水平。
4. 项目管理流程本项目管理方案将采用以下流程来管理消防大队的零星维修项目:4.1 维修项目申报消防大队的各部门和人员在发现维修需求时,应及时向维修管理部门进行申报。
申报内容应包括维修项目的概况、紧急程度和预计所需资源等信息。
4.2 项目评估和优先级确定维修管理部门收到维修项目申报后,将对项目进行评估,并确定维修项目的优先级。
评估标准可以包括项目的紧急程度、影响范围和所需资源等因素。
4.3 维修项目安排根据项目的优先级和可用资源,维修管理部门将安排合适的维修人员和资源来执行项目。
维修人员应根据项目的要求和工作量进行合理的时间安排,确保项目能够按时完成。
4.4 维修项目执行和监督维修人员在执行维修项目时,应按照相关规范和要求进行操作,并遵守相关安全规定。
同时,维修管理部门应加强对维修过程的监督和检查,确保项目的质量和安全。
4.5 维修项目验收维修项目完成后,申报部门和维修管理部门共同进行验收。
消防工程施工常用规范及参数内部学习资料消防工程施工常用规范及参数一、闭式自动水喷淋系统(湿式):1、组成包括:闭式喷淋头、管道系统、湿式报警阀组、供水设备。
2、应用范围:4度至70度之间能用水灭火的场所。
3、长用喷淋头的种类及其动作温度:常用的有普通型、吊顶型、侧喷、直立型喷头、下垂型喷头、大流量型、水雾专用型等;常用的动作温度是68度(红色)。
4、一组湿式报警阀允许控制的喷头数为:800个;且每个阀组供水的最高与最低位置喷头的高差不大于50m.5、民用建筑和厂房采用闭式系统时,最大净空高度为8m;仓库为9m。
6、湿式报警阀的安装高度:距离地面0.8~1.5m(一般采用1.2m),两侧距离墙面不小于0.5m,正面距离不小于1.2m。
7、流指示器的延长报警时间15~20s,他的工作电压为DC24V;它的安装方向应该正确,与安全信号阀应靠近安装,且与之距离不小于300mm。
8、压力开关:是将水流变成信号传送到消防中心,进而启动水泵并且同时报警;水力警铃的工作压力不小于0.05MPa.9、末端放水装置在每层的最不利点均要进行设置,末端放水的孔口不小于20mm,排水管的管径不小于25mm。
10、最不利点的喷头压力一般为0.1 MPa,最低也不能低于0.05 MPa。
11、水泵直接从市政管网取水时,喷淋管网还要从市政管网上重新引一根管道取水,且该水压不低于0.05 MPa。
12、消防水池的进水管上需设置有自动补水设施。
最大间距3.6m。
15、水泵安装时应有减震措施,水泵前后均应设置闸阀(不宜用蝶阀)及软性接头,所有焊接的地方均要作防锈处理;水泵从水池取水的吸水口宜加设滤网;水泵出水口应安装压力表,并且设置缓冲管,管径不小于10mm,压力表的量程不小与水泵工作压力的2倍。
16、屋顶水箱至建筑结构最低点的净距离不得小于0.6m,水箱与水箱之间要有17、地上式水泵结合器应安装在室外,且有明显标志,水泵结合口中心距地0.9~12.0m;壁挂式水泵结合器的位置距地不低于700mm,与建筑物门、窗、洞口保持不小于2.0m的距离。
消防项目维修方案1. 引言消防项目的维修工作对于维护社会公共安全至关重要。
本文档旨在提供一个维修方案,以确保消防设施的正常运行和服务效果,保障人员生命财产安全。
2. 维修类型及频次消防设施的维修可分为预防性维修和紧急维修。
2.1 预防性维修预防性维修是指对设施定期进行维护检查和保养,以确保设施的正常运行和功能完好。
预防性维修的频次应根据设施的使用程度和厂商建议进行安排。
2.2 紧急维修紧急维修是指针对设施出现故障或损坏时的紧急处理。
紧急维修应立即启动,并通过呼叫专业维修人员进行修复。
3. 维修流程3.1 预防性维修流程1.制定维修计划:根据设施类型和使用情况,制定预防性维修计划,并记录于维修日志中。
2.设备检查:按照维修计划的安排,定期对设备进行检查和保养。
检查内容包括设备的外观、功能、连接线路等。
3.故障诊断:如果在设备检查过程中发现故障或异常状况,立即进行故障诊断,并记录于维修日志中。
4.维修措施:根据故障诊断结果,制定相应的维修措施,并实施修复。
5.设备测试:在维修完成后,对设备进行功能测试,确保设备的正常运行。
6.维修记录:记录维修过程中的细节和结果,包括维修时间、维修人员、维修内容等。
3.2 紧急维修流程1.故障报告:使用者或安全巡查人员发现设施故障或损坏时,及时向维修部门报告。
2.紧急维修调度:维修部门接到报告后,立即调度维修人员前往现场进行维修。
3.快速修复:维修人员根据现场实际情况,采取相应的紧急修复措施,确保设施的正常运行。
4.后续维修:如紧急修复的措施不能完全恢复设施的功能,维修部门应制定后续维修计划,并安排相应的维修时间。
4. 维修责任与协作4.1 维修责任•设施使用者:负责设施的正常使用,并在发现故障或损坏时及时报告给维修部门。
•维修部门:负责维修工作的组织和调度,及时响应报告并派遣维修人员前往现场进行维修。
•维修人员:负责设施的检修、维修和保养工作,并确保设施的功能正常运行。
消防维修方案一、方案背景随着城市建设的不断发展,消防设施的维修和保养变得越来越重要。
消防设施的正常运行对于保护人员生命安全和财产安全至关重要。
为了确保消防设施的可靠性和有效性,制定一套消防维修方案是必要的。
二、维修目标1. 确保消防设施的正常运行,提高灭火和救援效率。
2. 延长消防设施的使用寿命,降低维修成本。
3. 提高维修工作的效率和质量。
三、维修范围1. 消防水系统:包括消防水泵、消防水箱、消防水管等。
2. 消防报警系统:包括火灾报警器、手动报警按钮、声光报警器等。
3. 自动喷水灭火系统:包括喷头、水泵、水箱等。
4. 气体灭火系统:包括气瓶、喷头、控制系统等。
5. 灭火器:包括干粉灭火器、二氧化碳灭火器等。
6. 疏散通道:包括疏散楼梯、安全出口等。
四、维修计划1. 定期检查:每季度对消防设施进行全面检查,包括消防水系统的泵浦、水箱、管道是否正常,消防报警系统的报警器、按钮是否灵敏可靠,自动喷水灭火系统的喷头、水泵、水箱是否正常运行,气体灭火系统的气瓶、喷头、控制系统是否正常,灭火器的压力是否充足,疏散通道的疏散楼梯、安全出口是否畅通。
2. 定期保养:每半年对消防设施进行保养,包括清洁消防设施表面,检查设施的密封性和防护性能,更换消耗品(如灭火器内的干粉、二氧化碳等)。
3. 突发故障维修:及时响应消防设施的突发故障,确保设施能够快速恢复正常运行。
五、维修流程1. 接到维修任务后,及时与相关部门联系,了解具体情况。
2. 制定维修计划,明确维修内容和时间节点。
3. 准备维修所需的工具和材料。
4. 进行维修工作,确保操作规范、安全可靠。
5. 维修完成后,进行设备测试和试运行,确保设备正常运行。
6. 编写维修报告,记录维修过程和结果。
六、维修人员要求1. 具备相关消防设施维修经验,熟悉消防设施的工作原理和操作规程。
2. 具备相关证书和资质,如消防设施维修工程师证书。
3. 具备良好的沟通能力和团队合作精神,能够与相关部门和人员有效配合。