矮塔斜拉桥中斜拉索施工工艺及技术控制要点
- 格式:doc
- 大小:25.00 KB
- 文档页数:6
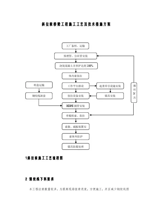
斜拉索桥梁工程施工工艺及技术措施方案1斜拉索施工工艺流程图2 钢绞线下料要求本工程拉索数量较多,为提高现场挂索进度,方便施工,并且减少钢绞线损工厂备料、运输体内索张拉料盘运输工作平台搭设 钢绞线卸盘 起重牵引设施安装张拉设备安装 HDPE 圆管安装单根桂索、张拉索箍、减振装置安索体外防护锚具防腐处理循环N 次锚具安装预埋管、分丝管安装浇筑混凝土并养护达到100%耗,保证斜拉索剥皮段油脂清理干净,下料长度精准,采用生产厂家工厂内下料方式,(反之,如果现场下料,要求有非常大的平整场地,专门配备下料班,至少二十工人,下料的长度控制不精准,剥皮长度误差大,油脂清洗不干净,容易划伤钢绞线外层PE及环氧涂层,钢绞线材料损耗相当大)。
下料长度及要求由双方确认后方可有效,双方为施工方、总承包方。
3 HDPE管焊接3.1 焊接长度计算L焊= L/2-L6-A5- L7-L8- L9/2+L10,式中:L——两侧梁端垫板底面之间的中心线或弧长(mm),该数据由设计院提供;L6——梁端预埋管长度及钢垫板厚度之和(mm);A5——梁端钢质索箍厚度(mm);L7——塔端连接装置长度(mm);L8——塔端锚固筒长度(mm);L9——分丝管长度(mm);L10——HDPE外套管进入塔端连接装置长度(mm)。
3.2 焊接工艺HDPE管的连接采用专用HDPE发热式工具对焊,其焊接工艺流程图见图4。
图8. 4 HDPE焊接工艺流程3.3 焊接条件HDPE管焊接时,根据管材规格,其焊接条件为:管材格规预热温(℃)预热压力(b a r)加热时间(s)切换(s)焊接压力(bar)冷却时间(min)焊接准备HDPE管端面刨平、加热撤离发热工具、切换加压焊接、冷却焊接结束循环N次操作要点:(1)HDPE管堆放场地要垫平,堆放高度不宜超过6层,要远离火源。
用卷尺选出PE管并做好顺接标记,变形严重的PE管不能使用。
(2)将PE管放上托架在PE焊机处进行对接,调整PE管位置和卡箍使PE管基本顺直,两管外圆高差不大于2mm。
浅谈斜拉桥中斜拉索的施工工法因参与修建了几座大型公路桥梁工程,现将工作中遇到的斜拉桥中斜拉索的施工方法总结给大家以作参考。
标签:斜拉桥;斜拉索;施工工法1、拉索体系施工相关要求本桥拟先施工主梁,后挂索张拉,施工工序及索力调整过程相对简单,因此在斜拉索张拉施工时,对拉索的张拉必须严格根据斜拉索的张拉顺序和吨位进行张拉,以保证拱塔的应力变化与设计相符。
斜拉索的制造厂及施工单位应协商编制索体的“制造规则”及“运输、安装和更换”规则,规则须经由业主、设计方、监理等各单位参加的联合评审会评审通过。
2、拉索材料质量要求(1)斜拉索所用的镀锌高强钢丝的力学、物理特性及其化学成分设计规范相关要求。
护套保护层的物理、力学特性需满足设计相关相求。
(2)索长误差所有拉索应满足设计长度的要求,长度误差ΔL应符合下述规定:对于所有拉索:ΔL≤L/5000(L为设计索长)最长索与最短索索长差值≤3mm。
(3)斜拉索施工工艺斜拉索是本桥的重要组成部份,斜拉桥桥跨结构的重量和桥活载,绝大部份斜拉索,传递到塔柱上,所以,斜拉索的制作、安装、张拉、索力调整、斜拉索的监控是本桥的关键工序。
斜拉索施工工艺流程①拉索制备工艺和方法缆索制作工艺主取决于防护方法。
本桥采用高密热挤聚乙烯PE材料作防护。
拉索在厂内制作,并作好防护工作。
②斜拉索制备的要点和注意事项斜拉桥在丈量、制备、切割前,应考虑对安装在索塔与相应梁段的锚具底端的直线长度进行复测计算。
拉索制备前应截取一段钢索(应采用钢蕊钢索)两端浇筑在锚头内制作3个试件进行破断试验。
计算斜拉索的切割长度,还应考虑使用钢丝束,张拉机具所需的锚固长度、锚具长度、斜拉索安装时下垂需要的增加量,采用应力下料时的延长度,应力下料时的温度与设计温度之差引起的拉索伸缩量以及拉索张拉时设计张拉力引起的延伸长度。
下料前對每根主索进行预拉,预拉操作流程如下:第一次预拉100%的设计荷载,卸载松弛7天,第二次预拉110%的设计荷载,卸载松弛60天。
斜拉桥斜拉索施工方案1、概况该桥斜拉索采用填充型环氧涂层钢绞线斜拉索,塔上设置张拉端,梁下为锚固端;每侧主塔设12对斜拉索,全桥共24对斜拉索,其规格为15-27、15-31、15-34、15-37、15-43、15-55、15-61共7种,斜拉索采用平行钢绞线斜拉索体系。
斜拉索由固定端锚具、过渡段、自由段、HDPE护套管、张拉端锚具及索夹、减振器等构成。
2、斜拉索施工工艺本工程主梁采用前支点挂篮悬臂现浇施工,斜拉索挂索方式与支架现浇和后支点挂篮施工有所不同,需在挂篮上设置索力转换装置。
其基本工艺流程详见附《表3 施工工艺框图》。
3、斜拉索施工准备(1)、施工前准备工作施工前准备工作包括:施工平台、施工机具的准备;施工人员的工作分配;斜拉索锚具的组装和安装;HDPE外套管的焊接等。
①、施工平台准备斜拉索挂索施工前,在主塔和箱梁处设置施工平台,以方便施工人员操作。
主塔施工处在塔内、外均设置施工平台,箱梁处施工平台设置在挂篮上。
施工平台的搭设满足施工要求,并采取适当的安全措施,确保人员和设备的安全可靠。
②、施工机具准备正式施工前,所有施工机具就位。
张拉用千斤顶、油泵和传感器经过有资质的第三方进行配套标定。
因本工程斜拉索规格较大,采用机械穿索方式进行挂索施工,双塔双索面同时施工时,主要施工设备清单如下。
③、施工人员分配为有效安排斜拉索施工的各环节,统一协调指挥,斜拉索施工前,需进行人员的工作分配。
按本工程双塔双索面斜拉索同时施工的要求,每个索面需进行如下主要人员及岗位配置。
备注:HDPE管焊接和锚具组装安装在挂索前完毕,张拉工和穿索工经过培训后可上岗操作;④、斜拉索锚具组装和安装斜拉索各部件单独包装运输,现场组装。
斜拉索挂索前,对锚具进行组装和安装。
对于张拉端锚具,将固定端锚板与密封装置组装好,旋上螺母后安装于箱梁上混凝土锚块处,并临时将其与锚垫板固定。
对于张拉端锚具,将锚板与密封装置组装好后安装与塔内钢锚箱的锚固端处,并临时将其与锚垫板固定。
矮塔斜拉桥施工控制要点矮塔斜拉桥施工控制要点摘要:本文以津沪联络线特大桥矮塔斜拉桥为背景,介绍矮塔斜拉桥索塔和拉索施工控制要点。
关键词:斜拉桥施工控制中图分类号:TU74 文献标识码:A 文章编号:一、工程概况津沪联络线特大桥-跨外环线斜拉桥段为4跨(64.6m+115m+115m+64.6m) 一联360.6m单箱三室预应力混凝土矮塔斜拉桥,全桥位于直线及缓和曲线上。
线路为双线,线间距4.2m,轨道形式为有砟轨道。
桥梁结构采用三塔双柱式双索面预应力矮塔斜拉桥。
二、矮塔斜拉桥施工索塔和拉索施工控制要点斜拉桥属于组合体系桥,它的上部结构由主梁、拉索和索塔三种构件组成。
支撑体系以拉索受拉和索塔受压为主。
该桥中塔采用塔墩固结体系,边塔采用塔梁固结体系。
(一)索塔施工控制要点主塔形式为双柱式,距名义梁顶面以上结构高为15m,采用实心截面,中塔与边塔采用相同尺寸,塔底横桥向宽为2m,纵桥向宽为3.7m,墩身斜率为40:1。
由于索塔截面不规则,且高度仅为15米,索塔施工采用搭架分节立模浇注法。
斜拉桥的平面位置、轴线控制、截面尺寸、预埋件制作、安装精度等要求较高。
且索塔施工系高空作业范畴,为此施工应特别注意严格遵守有关高空作业安全技术规定。
主塔中未布设预应力钢筋。
索塔断面尺寸较小,而且轴向压力非常大,故在施工中对索塔的尺寸和轴线位置的准确性应有一定的要求。
对于索塔轴向的允许偏差应考虑下面两个原则,其一,偏差值对结构物受力的影响甚微;其二,施工中达到的精度。
沿塔高每米高度允许偏差值为0.5mm,即倾角正切值tgα=1/2000。
按照H/2000的垂直度偏差允许值计算。
1、施工控制要点:1)支架和操作平台应有足够的强度、刚度和稳定性,并应设置安全护栏,支架还应具有足够的抗风稳定性。
支架顶端应有防雷击装置。
2)索塔砼性能良好,具有较高的弹性模量和较小的砼收缩、徐变性能,应采用高集料、低水灰比,低水泥用量,适量掺加粉煤灰和泵送剂,以满足缓凝、早强、高强、阻锈、低水化热、小收缩、可泵性好等要求。
矮塔斜拉桥索塔施工关键技术作者:孙涛来源:《珠江水运》2017年第12期摘要:矮塔斜拉桥是一种常见的组合结构体系,由于索塔高度比较低,而且斜拉索长度比较短,因此施工便捷。
文中首先介绍了矮塔斜拉桥索塔结构形式,再结合工程实例,对矮塔斜拉桥索塔施工技术要点进行分析,以期为类似工程提供借鉴。
关键词:斜拉桥索塔劲性骨架预应力管道矮塔斜拉桥是一种常见的桥梁形式,是一种介于柔性斜拉桥和刚性连续梁桥的桥梁结构,主梁刚度大、施工便捷,可以采用混凝土箱梁模式,斜拉索可以与主梁共同承担荷载的作用,现如今,已经被广泛应用于桥梁工程施工当中,因此,对矮塔斜拉桥索塔施工技术及其应用要点进行详细探究具有十分重要的现实意义。
1.矮塔斜拉桥索塔结构形式在对斜拉桥索塔进行设计时,应该综合考虑桥梁自身与周边环境的协调性,现如今,矮塔斜拉桥的索塔形式有很多种,在横桥方面,主要有双柱型、H型、单柱型,如图1所示,在纵桥方面,主要有柱型、倒V型,如图2所示。
2.工程概况该桥采用钢筋混凝土三立柱“III”型塔,桥面以上塔高28m。
索塔尺寸:中索塔为4.8m (纵向)×3.3m(横向),边索塔为4.8m(纵向)×2.7m(横向)。
塔上转向设鞍座,以便斜拉索通过,每根斜拉索对应一个鞍座,中索塔斜拉索横桥向呈两排布置,鞍座亦两排。
鞍座采用分丝管形式,分丝管采用φ28×3mm厚的无缝钢管,分丝管采用圆弧形。
桥塔内设置预应力钢束,钢束采用9φs15.2高强度低松弛钢绞线,顶端张拉。
主塔计划分6次浇筑,其中最大施工节段为6m,采用翻模施工,内设劲性骨架,模板采用定型钢模。
3.矮塔斜拉桥索塔施工3.1支架搭设索塔的施工支架采用门式支架,由于模板采用桁架结构固定,操作平台则固定在桁架上。
由于左右肢索塔外侧为悬空,无法搭设支架,需设置悬挑支架。
1#块施工时,在箱梁顶面索塔两端预埋钢板,浇筑完成后,焊接双拼45工字钢作为支架的悬挑梁,在上面铺设I12.6工字钢作为分配梁,间距30cm,在分配梁上铺设8mm厚钢板,再搭设门式支架。
斜拉桥斜拉索施工工艺及施工方案1、概况该桥斜拉索采用填充型环氧涂层钢绞线斜拉索,塔上设置张拉端,梁下为锚固端;每侧主塔设12对斜拉索,全桥共24对斜拉索,其规格为15-27、15-31、15-34、15-37、15-43、15-55、15-61共7种,斜拉索采用平行钢绞线斜拉索体系。
斜拉索由固定端锚具、过渡段、自由段、HDPE护套管、张拉端锚具及索夹、减振器等构成。
2、斜拉索施工工艺本工程主梁采用前支点挂篮悬臂现浇施工,斜拉索挂索方式与支架现浇和后支点挂篮施工有所不同,需在挂篮上设置索力转换装置。
其基本工艺流程详见附《表3 施工工艺框图》。
3、斜拉索施工准备(1)、施工前准备工作施工前准备工作包括:施工平台、施工机具的准备;施工人员的工作分配;斜拉索锚具的组装和安装;HDPE外套管的焊接等。
①、施工平台准备斜拉索挂索施工前,在主塔和箱梁处设置施工平台,以方便施工人员操作。
主塔施工处在塔内、外均设置施工平台,箱梁处施工平台设置在挂篮上。
施工平台的搭设满足施工要求,并采取适当的安全措施,确保人员和设备的安全可靠。
②、施工机具准备正式施工前,所有施工机具就位。
张拉用千斤顶、油泵和传感器经过有资质的第三方进行配套标定。
因本工程斜拉索规格较大,采用机械穿索方式进行挂索施工,双塔双索面同时施工时,主要施工设备清单如下。
③、施工人员分配为有效安排斜拉索施工的各环节,统一协调指挥,斜拉索施工前,需进行人员的工作分配。
按本工程双塔双索面斜拉索同时施工的要求,每个索面需进行如下主要人员及岗位配置。
备注:HDPE管焊接和锚具组装安装在挂索前完毕,张拉工和穿索工经过培训后可上岗操作;④、斜拉索锚具组装和安装斜拉索各部件单独包装运输,现场组装。
斜拉索挂索前,对锚具进行组装和安装。
对于张拉端锚具,将固定端锚板与密封装置组装好,旋上螺母后安装于箱梁上混凝土锚块处,并临时将其与锚垫板固定。
对于张拉端锚具,将锚板与密封装置组装好后安装与塔内钢锚箱的锚固端处,并临时将其与锚垫板固定。
矮塔斜拉桥中斜拉索施工工艺及技术控制要点【摘要】本文结合连云港港疏港航道整治工程向阳大桥预应力钢筋砼矮塔斜拉桥施工体会,从主桥斜拉索的施工工艺、质量过程控制等方面阐述了矮塔斜拉桥主索施工的关键技术、注意事项及质量控制要点。
【关键词】斜拉索施工工艺质量控制连云港港疏港航道整治工程向阳大桥主桥为矮塔斜拉桥,主跨布置为48m+80m+48m,系三跨双塔单索面预应力砼部分斜拉桥,主桥全长176m,采用塔梁固结、塔墩分离的结构体系,墩顶设支座;主梁采用单箱三室大悬臂变截面预应力连续箱梁,支点梁高3.0m,跨中梁高2.1m,梁底立面按二次抛物线变化;斜拉索采用环氧喷涂钢绞线,锚固点布置在箱梁的中室内,索塔为钢筋砼独柱实心矩形截面,塔高21m;主要技术标准:设计荷载等级为城-A级,人群4.0knm2。
桥下航道为Ⅲ级航道,通航净空60m×7m。
全桥布置见下图。
矮塔斜拉桥的主梁一般承受桥梁的恒载,斜拉索承受活载,矮塔斜拉桥悬浇箱梁仍采用后支点挂篮施工。
在浇筑块件过程中,挂篮的受力体系与斜拉索无直接联系,挂篮的锚点承受全部施工荷载,待一块件浇筑完毕达到一定强度后,纵向预应力钢绞线张拉完毕后前移挂篮,安装并张拉斜拉索后进入下一块件的施工。
挂蓝施工仍可采用常规普通悬浇箱梁多采用的挂蓝形式,但主塔和斜拉索的施工是人们接触较少的,在施工中需引起足够的重视。
1、索塔施工0#、1#块施工完毕后进行桥梁索塔的施工,向阳大桥索塔高21m,为钢筋混凝土独柱实心矩形截面,顺桥向长3.1m,横桥向宽1.5m,布置在全桥中央分隔带上。
塔身上部设有鞍座,以便拉索通过。
每根斜拉索对应一个鞍座,每个索塔上均有6对索鞍,每对斜拉索横桥向对称索塔中心线布置。
鞍座采用分丝管结构形式。
在两侧斜拉索出口处,设可以灌注环氧砂浆的斜拉索锚固装置,以防止拉索滑动。
为与斜拉索通过鞍座相适应,分丝管中段采用圆弧形,弯曲半径2.5m,两端分别留有一定长度的直线段。
矮塔斜拉桥施工工法李钊林一、前言矮塔斜拉桥也称部分斜拉桥,是近年来我国新出现的一种桥型结构,采用塔梁固结、塔墩分离的稀索体系形式。
拉索体系由梁体锚固段、索体自由段和塔上锚固段三部分组成;梁体锚固段为张拉端,由夹片锚具、锚圈、锚垫板、支承筒、索道钢管、减振器、索箍等组成;索体自由段由高强钢绞线通过四层防护组成;塔上锚固段由索鞍、塔端锚固块组成,其中索鞍采用双钢管结构,外钢管预埋于塔柱内,内钢管套于外钢管内,拉索从内钢管穿过,拉索张拉完毕后在内钢管及抗滑锚固块内压入环氧砂浆,塔端锚固块由锚固板、锚固块钢管、现浇环氧砂浆、索箍、防水罩等部分组成。
嘉兴市杭州塘大桥采用了矮塔斜拉桥这种结构形式见图1。
钻孔桩钻孔桩图1:矮塔斜拉桥结构形态二、工法特点1、本桥主梁采用满堂支架法施工,施工操作简单,质量易控。
2、施工占地少,不需投入特殊设备,降低了工程成本。
3、拉索施工不需与主梁同步施工,在主梁完成后可集中安装施工拉索,缩短了拉索施工周期。
三、适用范围1、本工法适用于公路工程和城市市政建设中小桥型结构中矮塔斜拉桥施工。
2、主梁采用满堂支架法施工的小跨度斜拉桥等也可参照此工法。
四、工艺原理矮塔斜拉桥其主梁的刚度较大,结构受力介于斜拉桥与连续梁之间。
斜拉索类似连续梁的体外索,施工既具有斜拉索的特征,又具有连续梁预应力的特征。
在设计上,可使每根拉索采用相同的钢绞线根数,以及相近的拉索张力。
拉索可做到一次性张拉到位,不需二次调索,张拉工法近似连续梁弯束,采用梁端两端同时张拉。
五、施工工艺流程及操作要点1、基础施工工艺及操作要点(1)基础施工工艺由于本桥桥址工程地质属海冲积平原地貌,全桥设计均采用钻孔灌注桩基图2:钻孔桩施工工艺流程(2)基础施工操作要点a.水中桩工作平台须牢固、稳定,能承受工作时所有的动、静荷载,并能满足施工机械的安全进出。
b.在钻进过程中,应根据不同的地质选用适用的钻进速度和泥浆指标。
c.钻孔桩成孔后需清孔换浆,确保沉渣厚度不超过设计要求及规范规定。
浅谈矮塔斜拉桥拉索施工技术摘要:部分斜拉桥有梁桥和一般斜拉桥的特点,近年来部分斜拉桥在国内发展非常快。
本文阐述了矮塔斜拉桥斜拉索的主要施工技术要点,并提出了质量控制措施。
关键词:矮塔;斜拉桥;斜拉索;施工一、施工技术(1)配料1、配料长度在不受拉力条件下,配料长度按如下公式进行计算:P=P0+2P1+2L1+P2+P3+5cm式中:P0:两锚板之间配料长度;L1:锚具中配料长度;P1:施工的工作长度;P2:套管等自重影响导致的下垂长度;P3:考虑现场作业误差长度。
2、配料成型根据已计算好的配料长度,在施工现场进行下料,可采用喷漆根据配料长度在施工场地喷出起点线和终点线位置。
然后将单根钢绞线拉到喷漆区域,在起点线和终点线位置逐根切断。
3、削皮环氧钢绞线配料成型完毕,须现场削除PE 保护皮套,根据设计要求长度进行施工。
4、牵引头制作为了钢绞线穿线方便,需要先制作钢绞线的牵引头。
首先将成型的钢绞线两端长度15cm 进行分离,去除7 根钢丝中的外围6 根,剩余中间一根丝。
最后对中间这根钢丝进行加工,制作成环状,便于穿线时的施工。
(2)斜拉索锚固装置的安装1、主塔索鞍的安装当前,矮塔斜拉桥拉索的锚固方式一般分为两种,即鞍座式和锚箱式,而鞍座式锚固方式又分为了双套管式和分丝管式两种。
三种锚固形式各有优缺点,经过综合考虑,本工程斜拉索索塔的锚固方式采用了分丝管式,分丝管是由多组钢管组焊接而成,预埋在索塔之中钢绞线通过分丝管贯通索塔,在塔外侧进行锚固;塔端设置抗滑锚筒,锚筒内灌注环氧砂浆,用于锚固斜拉索在主塔进行施工的过程中,索鞍钢管就要预埋在相应位置。
为防止斜拉索作用下钢管产生相对滑移,索鞍钢管的安装定位要准确无误。
根据设计要求对索鞍安装进行专项设计,确保索鞍定位误差不应超过1cm,角度误差不得大于5″;在混凝土浇筑前还要对其进行复合,确定无误后方能浇筑混凝土。
同时,对于索鞍两侧的塔端锚垫板进行安装。
2、主梁锚固装置的安装在相应的梁段进行绑扎钢筋阶段时,对斜拉索的主梁上锚固装置进行安装,桥所用锚具为和斜拉索配套的可换索式250 型15-31 群锚体系;斜拉索锚固在主梁顶板下的横隔梁上,主梁的锚固装置包括了锚板、锚垫板、密封装置和预埋筒,在钢筋绑扎过程中,相应的把以上锚固装置依次安装定位,确保安装定位准确无误。
矮塔斜拉桥斜拉索施工技术摘要:对京承高速公路潮白河大桥三矮塔斜拉桥斜拉索施工过程和斜拉索下料、挂设及张拉;HDPE管焊接的施工技术及施工过程中应该注意的问题进行了系统介绍,旨在对以后同类型工程的施工提供参考。
关键词: 斜拉索下料挂索等张拉值 HDPE管焊接1工程概况潮白河大桥位于京承高速公路高丽营至沙峪沟段,是京承高速公路桥梁建设的重点。
大桥全长919.18m,宽29.5m,主桥为三塔矮塔斜拉桥,跨径组合为72m+120m+120m+72m=384m。
中间桥塔(9#墩)处为梁塔墩固结,两侧桥塔(8#、10#墩)为梁塔固结,在桥墩上设支座。
主梁采用单箱3室箱形结构,梁高由4.3m 按照二次抛物线型式渐变到2.3m。
本桥主桥共三个索塔,布置在中央分隔带上。
索塔桥面以上高21.5m,上塔柱采用工字型截面,断面尺寸为4.4m×3.0m;中塔柱采用实体截面,截面尺寸为4.4m×2.0m。
斜拉索在塔上竖向基本索距为0.8m,并通过鞍座穿过塔身。
为方便更换斜拉索,塔内斜拉索转向索鞍座采用分丝管结构形式,分丝管由41或43根ф28×3mm的钢管焊接成整体,埋设于混凝土塔内,在索鞍的斜拉索出口处设相应的抗滑锚板装置,并内灌注环氧砂浆以达到防止钢绞线滑动的目的。
斜拉索在主梁上间距5m,锚固在箱梁中室内,相应位置设置一道横隔梁。
潮白河大桥斜拉索为单索面,斜拉索采用扇形布置,每个索塔共设8对斜拉索,在横向分为2排,索间距为1.2m。
斜拉索采用柳州欧维姆机械股份有限公司生产的OVM250平行钢绞线拉索,斜拉索采用ф15.24mm环氧涂层高强钢绞线,强度为1860MPa。
斜拉索锚具采用可调换索式锚具,共有两种规格,其中1#至6#采用OVM200AT—41型、7#至8#索采用OVM200AT—43型。
拉索采用多层防腐措施,每根环氧涂层高强钢绞线外热挤PE防护套,整索外套加整圆式高密度聚乙烯HDPE管,其规格为ф240×8.6mm 。
矮塔斜拉桥全桥斜拉索调索施工工法1 前言“矮塔斜拉桥”也称“部分斜拉桥”,是介于“斜拉桥”与“体外预应力箱梁桥”之间的一种新型结构体系。
矮塔斜拉桥和连续梁相比具有结构新颖跨度能力大、施工简单、经济优点;与斜拉桥相比具有施工方便、节省材料、主梁刚度大等优点。
使得埃塔斜拉桥具有广阔的发展空间。
佛肇城际铁路桂丹立交特大桥预应力矮塔斜拉斜跨桂丹路与佛山一环互通立交,主桥位于R=1800m的圆曲线上,孔跨为(75+86+168+86+75)m,采用塔梁固结并简支于桥墩之上的连续体系。
主梁为预应力混凝土结构,采用单箱双室变高度箱形无翼缘截面,斜拉索锚固于箱体之内。
主梁斜拉索采用双塔双索面扇形分布,每个桥塔8对,共16对,梁顶面塔高为26m,最大斜拉索在桥面以上高度为24.355m,其高跨比为24.355:168=1:6.898,桥面宽14.9m,宽跨比为14.9:168=1:11.28,梁上锚固点间距为14.9,塔上转向鞍横桥向间距15.4m。
斜拉索采用喷涂钢绞线(中心丝与边丝各钢丝外表均单独形成环氧树脂涂膜,涂层厚度应在0.12mm~0.2mm之间)单层无粘接筋,单根钢绞线规格直径为15.24mm,每根斜拉索有55根钢绞线组成。
为了确保质量和施工进度,科学管理,积极采用新技术,经过归纳总结形成本工法。
图1.1 1/2 全桥立面图2 工法特点2.1工序简单,施工进度快。
2.2施工条件得到了改善,劳动强度低,安全性强。
2.3采用单根等值法张拉,可以控制每根斜拉索各股钢绞线的离散误差不大于理论值的±3%。
2.4可以实现一对斜拉索对称、交叉单根张拉,同步整体张拉,确保两根斜拉索间的差值不大于理论值的±1%。
2.5采用JMM-268动测仪进行索力监控,可以确保斜拉索整索索力误差不大于理论值的±2%。
2.6斜拉索采用多重防腐处理,锚固端灌注防腐油脂,延长了斜拉索使用寿命。
3 适用范围本工法适用于埃塔斜拉桥斜拉索调索施工。
矮塔斜拉桥中斜拉索施工工艺及技术控制要点【摘要】本文结合连云港港疏港航道整治工程向阳大桥预应力钢筋砼矮塔斜拉桥施工体会,从主桥斜拉索的施工工艺、质量过程控制等方面阐述了矮塔斜拉桥主索施工的关键技术、注意事项及质量控制要点。
【关键词】斜拉索施工工艺质量控制
连云港港疏港航道整治工程向阳大桥主桥为矮塔斜拉桥,主跨布置为48m+80m+48m,系三跨双塔单索面预应力砼部分斜拉桥,主桥全长176m,采用塔梁固结、塔墩分离的结构体系,墩顶设支座;主梁采用单箱三室大悬臂变截面预应力连续箱梁,支点梁高3.0m,跨中梁高2.1m,梁底立面按二次抛物线变化;斜拉索采用环氧喷涂钢绞线,锚固点布置在箱梁的中室内,索塔为钢筋砼独柱实心矩形截面,塔高21m;
主要技术标准:设计荷载等级为城-a级,人群4.0knm2。
桥下航道为ⅲ级航道,通航净空60m×7m。
全桥布置见下图。
矮塔斜拉桥的主梁一般承受桥梁的恒载,斜拉索承受活载,矮塔斜拉桥悬浇箱梁仍采用后支点挂篮施工。
在浇筑块件过程中,挂篮的受力体系与斜拉索无直接联系,挂篮的锚点承受全部施工荷载,待一块件浇筑完毕达到一定强度后,纵向预应力钢绞线张拉完毕后前移挂篮,安装并张拉斜拉索后进入下一块件的施工。
挂蓝施工仍可采用常规普通悬浇箱梁多采用的挂蓝形式,但主塔和斜拉索的施工是人们接触较少的,在施工中需引起足够的重视。
1、索塔施工
0#、1#块施工完毕后进行桥梁索塔的施工,向阳大桥索塔高21m,为钢筋混凝土独柱实心矩形截面,顺桥向长3.1m,横桥向宽1.5m,布置在全桥中央分隔带上。
塔身上部设有鞍座,以便拉索通过。
每根斜拉索对应一个鞍座,每个索塔上均有6对索鞍,每对斜拉索横桥向对称索塔中心线布置。
鞍座采用分丝管结构形式。
在两侧斜拉索出口处,设可以灌注环氧砂浆的斜拉索锚固装置,以防止拉索滑动。
为与斜拉索通过鞍座相适应,分丝管中段采用圆弧形,弯曲半径2.5m,两端分别留有一定长度的直线段。
索塔施工分如下四个步骤,第一步施工箱梁上部塔身0m~5m,砼方量约为24m3;第二步施工箱梁上部塔身5m~10m,模板不拆除,砼方量约为24m3;第三步在未拆除的模板上继续拼装剩余节段的钢模板,施工剩余段至塔顶部分10m~15m,砼方量约为24m3。
第四步钢模板不拆除,继续施工剩余段至塔顶部分15m~21m,砼方量约为19.4m3。
每节段的主要施工顺序为:绑扎钢筋及安装劲性骨架→安装鞍座钢管(上部时)→安装调整模板→浇筑混凝土→拆模→养护。
为有效控制钢筋骨架整体垂直度,便于施工质量控制,在主塔钢筋骨架内部设置劲性骨架,与钢筋骨架焊接成空间桁架结构。
斜拉索钢绞线通过分丝管穿过塔身,分丝管由分别由31根ф
28x3mm的钢管焊接成整体,埋设于混凝土塔内。
分丝管安装前先按预定位置将锚管安装于钢筋骨架上,预留一定调节空间,随钢筋骨
架一块吊装就位。
钢筋骨架焊接牢固后,在骨架上定出锚管附着点位置,用手拉葫芦辅助调整锚管精确就位,位置准确后用钢板将分丝管与钢筋骨架焊接牢固。
分丝管安装完毕后用全站仪进行复测,保证斜拉索锚固中心点高程不超过±10mm,轴线偏差不超过±5mm,角度误差不得大于5”。
塔柱混凝土浇注施工时,混凝土由外侧向内侧对称、均匀布料,振捣采用插入式振捣棒进行振捣,为确保振捣密实采用人工入腔内振捣。
振捣时注意防止漏振和过振,尤其在分丝管锚管侧周边混凝土必须振捣到位,确保砼内实外光。
调整预埋管顶部标高
2、斜拉索施工
斜拉索每根拉索由31根直径为15.2mm单根环氧喷涂钢绞线组成,单根拉索张拉力为2850kn。
每个塔上设有6对12根斜拉索,全桥共24根,斜拉索梁上纵向标准间距4.5m,塔上竖向间距为191.1-199.5cm,斜拉索在塔顶连续通过鞍座,两侧对称锚于梁体,为防止拉索在分丝管内滑动,在塔柱两侧斜拉索出口处,设有灌注环氧砂浆的斜拉索锚固装置。
斜拉索锚具采用可换索式
ovm250at-31群锚体系。
钢绞线采用单根两端张拉,一次张拉到位,施工中根据桥梁监控数据分析未进行整索张拉调整索力。
为保证斜拉索的施工质量,请专业生产厂家负责斜拉索的生产安装及斜拉索张拉封锚等工作。
斜拉索施工机具包括挂索和张拉机具主要有:ydcsl60-150千斤顶、zb/4-500b油泵、传感器、检测仪、镦头器、hdpe焊机、卷扬机、切割机、张拉撑脚支座等。
斜拉索封锚
斜拉索施工工艺流程及施工注意事项:
(1)张拉端锚具安装。
安装时注意使锚具注浆孔在下、排气孔在上定位好;锚板孔与塔上分丝管锚孔要相互对齐,以免钢绞线打绞。
(2)挂索。
由于索鞍管内有分丝管,拉索顺序应自上而下逐行进行;单根挂索按顺序先后穿过防松装置、抗滑锚具、分丝管,继续将钢绞线穿出前端的hdpe管到达预埋管口,然后穿出端锚具直至单根张拉所需的工作长度;应注意钢绞线的hdpe护套的保护和防止发生钢绞线缠绞现象发生。
(3)单根张拉。
张拉采用用ydcsl60-150千斤顶进行张拉。
鉴于钢绞线外涂有镀锌层,为防止钢绞线在多次张拉过程中镀锌层的刮落而影响工作夹片的锚固效果和锚固安全,采用两端同时进行张拉,一次张拉锚固。
每根钢绞线的拉力以控制压力表读数为准,传感器读数进行监测。
索力均匀性可控制在±1%之内。
第一次加载至单根钢绞线设计张拉应力的15%,第二次张拉应力到100%后持荷2min后锚固,严格控制工作夹片的跟进平整度;两侧同时均衡加载,力求两端控制应力控制在设计允许范围之内。
(4)锚固筒内段剥皮、清洗。
每根钢绞线张拉完成后,即按给定长度将锚固筒内段的钢绞线pe剥除并清洗干净。
(5)紧索、减振器及管口索夹安装。
单根张拉结束后应立即进行梁端紧索、减振器及索夹安装等工作。
减振器推入较正管内,再收紧螺栓,按内缩外涨原理,使其内外分别与索体和调整护管壁紧紧相贴。
在成型的索体相应位置装上钢质索夹并收紧螺栓,使索与索夹之间紧密。
(6)防护。
锚具外露钢绞线的保护罩和梁端预埋管内灌注无粘结筋专用防护油脂防护;塔端锚固筒内装内灌注环氧砂浆防护。
环氧砂浆灌注在全桥合龙后及桥面铺装完成后进行。
建成后的向阳大桥
3结束语
(1)矮塔斜拉桥在城市跨河桥梁中虽不常见,但作为城市景观桥逐渐兴起,其受力性能介于梁式桥和斜拉桥之间,受力以梁为主。
与斜拉桥比较,其塔身结构较为简单。
主梁施工采用梁式桥的施工方法,施工方便,斜拉索的寿命因应力变幅小而更长,整体来说桥型较为美观。
(2)本桥梁施工过程中,由专门的监控单位对桥梁各施工阶段的工况进行了监控,保证了成桥线形(合拢段梁端高差小于20mm)及斜拉索一次张拉到位无须整体张拉调整索力提供了有力的技术
保证。
该桥在2011年4月通车前进行了静、动载试验,各项数据指标均表明桥梁处于良好的受力状态。
(3)塔柱内拉索分丝管、梁段内拉索锚垫板、钢管等的预埋采用其在结构内的相对位置进行控制,用绝对位置进行校核,实践证
明是一个行之有效的方法。