精选业务流程及关键控制点资料
- 格式:docx
- 大小:98.18 KB
- 文档页数:9
业务流程步骤与控制点二、业务流程步骤的意义1. 对业务流程的管理和掌控业务流程步骤的设计可以使业务流程变得可视化和可管理。
通过明确的步骤,管理者可以清楚地了解业务流程中的每个环节,从而更好地控制整个流程。
这有助于提高效率和减少错误。
2. 优化业务流程通过对业务流程步骤的分析和优化,可以发现流程中的瓶颈和问题。
在设计新的业务流程时,可以针对这些问题做出调整,提高整体效率和质量。
3. 保证服务质量有了清晰的业务流程步骤,可以确保每个环节都被逐一完成,并且符合所设定的标准和要求。
这可以保证产品或服务的质量,提升用户的满意度。
三、业务流程步骤的设计方法1. 流程分解将整个业务流程分解为多个步骤,每个步骤描述清楚其目的、输入、输出以及所需的资源和方法。
每个步骤应当是独立的,可以单独执行,以便对其进行分析和优化。
2. 步骤优先级排序根据步骤的重要性和优先级,对业务流程步骤进行排序。
这有助于确定流程中的关键步骤,以及需要特别关注的环节。
3. 步骤标准化对每个步骤进行标准化,包括标准输入和输出、标准工具和方法、标准时间和成本。
这有助于提高流程的一致性和可预测性。
四、控制点的意义1. 监管和管理控制点可以用来监控业务流程中的各个环节,确保每个步骤都符合规定和标准。
通过对控制点的监管,管理者可以实时了解业务流程的进展情况,并及时调整和优化。
2. 风险控制控制点可以用来识别和控制业务流程可能出现的风险和问题。
通过设置控制点,可以及时发现和解决潜在的问题,以免对整个流程产生重大影响。
3. 实时反馈控制点可以用来提供实时的反馈和数据,以便管理者做出决策和判断。
通过对控制点数据的分析,可以确定业务流程的瓶颈和改进方向。
五、控制点的设计方法1. 确定要监控的环节根据业务流程的特点和需求,确定需要设置控制点的环节。
可以根据环节的重要性、风险性和关联性进行判断和排序。
2. 确定控制点的标准和要求对每个控制点明确其标准和要求,包括输入和输出的要求、目标和目标的度量方式、控制的方法和方式等。
质量管控措施和业务流程一、质量管控措施。
1.1 人员管理方面。
在质量管控中啊,人可是关键因素。
咱得让每个参与到业务中的人都有强烈的质量意识,这就好比盖房子打地基,地基不牢,房子肯定不稳。
首先呢,要对员工进行全面的培训,不能光讲讲理论就拉倒,得有实际操作,就像学骑自行车,光听别人说咋骑可不行,得自己上去蹬两圈才知道咋回事儿。
而且培训不能是一次性的,得定期搞,让质量意识像种子一样种在员工心里,生根发芽。
对那些在质量把控上表现优秀的员工呢,要给予奖励,赏罚分明嘛,这样大家才有干劲儿。
1.2 原材料把控。
原材料就像做饭的食材,食材不好,再厉害的大厨也做不出好菜。
所以啊,在原材料的采购上就得严格把关。
要找那些信誉好、口碑佳的供应商,不能只图便宜。
对采购来的原材料要进行全面的检验,就像挑西瓜似的,敲一敲、看一看,有问题的坚决不能要。
有时候供应商可能会耍点小聪明,咱可不能含糊,得像火眼金睛的孙悟空一样,把那些不合格的原材料都挑出来。
1.3 设备维护。
设备那可是生产的好帮手,要是设备出问题了,就像战士上战场没带枪一样。
所以要制定详细的设备维护计划,定期对设备进行保养和检查。
这设备啊,就像人一样,也需要休息和照顾。
不能让设备一直超负荷运转,该修就得修,该换零件就得换,可不能心疼那点钱,“舍不得孩子套不着狼”啊。
二、业务流程。
2.1 业务流程的规划。
一个好的业务流程就像一张精确的地图,能让大家清楚地知道自己该干啥。
在规划业务流程的时候,要充分考虑到各个环节之间的衔接。
不能搞得像一盘散沙似的,每个环节都各自为政。
要从整体出发,确保流程的高效性和合理性。
这就好比设计一个交通系统,得让车和人都能顺利通行,不能到处堵得水泄不通。
2.2 业务流程的执行。
规划好了流程,执行可不能打折扣。
每个环节的工作人员都得严格按照流程来操作,不能随心所欲。
就像火车沿着铁轨跑一样,一旦出轨可就麻烦了。
如果在执行过程中发现流程有不合理的地方,要及时反馈,不能捂着盖着,“纸包不住火”的,只有及时调整,才能让业务流程越来越完善。
销售业务流程销售业务内部控制的控制环节、风险及控制措施环节风险控制措施销售计划管理销售计划缺乏或不合理,导致产品结构和生产安排不合理1.根据发展战略和年度生产经营计划,结合企业实际情况,制定年度、月度销售计划;2.定期对各产品销售额、进销差价、销售计划与实际销售情况等进行分析,及时调整销售计划;客户开发与信用管理潜在市场需求开发不够;缺乏合理的资信评估1.在进行充分市场调查的基础上,灵活运用销售折扣、销售折让、信用销售、代销和广告宣传等多种策略和营销方式,不断提高市场占有率。
2.建立和不断更新维护客户信用动态档案,信用管理部门对客户付款情况进行持续跟踪和监控。
销售定价定价或调价不符合价格政策1.应根据有关价格政策、确定产品基准定价。
定价或调价需经审核批准;2. 在执行基准定价的基础上,授予销售部门一定限度的价格浮动权,同时明确权限执行人。
3.销售折扣、销售折让应经审核批准。
订立销售合同未经授权对外订立销售合同;条款违背企业销售政策1.订立销售合同前,企业应当指定专门人员与客户进行业务洽谈,并形成完整的书面记录;2.企业应当建立健全销售合同订立及审批管理制度;3. 销售合同草案经审批同意后,企业应授权有关人员与客户签订正式销售合同发货未经授权发货1. 销售部门应当按照经审核后的销售合同开具相关的销售通知交仓储部门和财会部门。
2.仓储部门对销售通知进行审核,组织发货。
3.应当以运输合同明确运输方式,确保货物的安全发运。
4. 做好发货各环节的记录,设置销售台账,实现全过程的销售登记制度;收款销售款项不能收回或遭受欺诈;收款过程1. 结合公司销售政策,选择恰当的结算方式,加快款项回收2. 建立票据管理制度,特别是加强商业汇票的管中存在舞弊理3. 加强赊销管理客户服务客户服务水平低,影响公司品牌形象1. 结合竞争对手客户服务水平,建立和完善客户服务制度2. 设专人或部门进行客户服务和跟踪。
3. 建立产品质量管理制度,加强相关部门之间的沟通协调。
销售业务的关键控制点、控制目标及控制措施一、销售业务的关键控制点在销售业务中,有许多关键控制点需要关注和处理,其中包括但不限于以下几个方面:1、销售流程控制点:销售流程是销售业务中最为核心的部分,包括客户开发、需求确认、报价、谈判、签约、交付等环节。
销售流程的顺畅与否直接关系到整个销售业务的开展和成果,因此需要严密控制。
2、销售人员绩效控制点:销售人员是销售业务的执行者,其绩效直接关系到销售业务的成果。
需要对销售人员的绩效进行有效控制,包括考核指标的设定、绩效评估的方法、奖惩机制等。
3、客户关系管理控制点:良好的客户关系对于销售业务至关重要,因此需要对客户关系进行有效管理和控制,包括客户档案管理、交流跟踪、客户满意度调查等。
4、销售数据管理控制点:销售数据是销售业务的重要依据,需要对其进行有效的管理和控制,包括销售报表、销售数据分析、销售信息安全等。
5、销售风险控制点:在销售业务中存在着各种风险,包括市场风险、信用风险、合同风险等。
需要对销售业务的风险进行有效控制,确保销售业务的稳健开展。
二、销售业务的控制目标针对上述销售业务的关键控制点,制定相应的控制目标是非常重要的。
在实际操作中,可以为不同的控制点制定不同的控制目标,以确保销售业务的顺利开展和良好成果。
1、销售流程控制目标:确保销售流程的顺畅和高效,促进订单的及时签约和交付。
2、销售人员绩效控制目标:提高销售人员的工作效率和业绩水平,实现销售目标的完成。
3、客户关系管理控制目标:提升客户满意度,促进客户的复购和口碑传播。
4、销售数据管理控制目标:确保销售数据的准确性和完整性,为销售决策提供可靠依据。
5、销售风险控制目标:降低销售业务的各类风险,保障销售业务的稳健发展。
三、销售业务的控制措施针对上述控制目标,需要制定相应的控制措施,以实现控制目标。
以下是一些常见的控制措施:1、销售流程控制措施:制定明确的销售流程和规范,设立专门的销售流程管理岗位,建立销售流程监控机制,及时发现和解决流程中的问题和短板。
业务流程及关键控制点-标准化文件发布号:(9456-EUATWK-MWUB-WUNN-INNUL-DDQTY-KII销售业务流程销售业务内部控制的控制环节、风险及控制措施图4采购业务流程采购业务的后评估表4采购业务内部控制的控制环节、风险及控制措施图1 筹资活动流程图表1筹资内部控制的关键控制点、控制目标与控制措施图2 投资活动业务流程图表2投资业务的关键风险控制点、控制目标和控制措施表3资金运营内部控制的关键风险控制点、控制目标及控制措施图1:生产企业物流流程图图2:商品流通企业物流流程图存货内部控制的控制环节、风险及控制措施环节风险控制措施取得存货存货预算编制不科学、采购计划不合理,可能导致存货积压或短缺根据各种存货采购间隔期和当前库存,综合考虑企业生产经营计划、市场供求等因素,充分利用信息系统,合理确定存货采购日期和数量验收入库验收程序不规范、标准不明确,可能导致数量克扣、以次充好、账实不符1.外购存货的验收应当重点关注合同、发票等原始单据与存货的数量、质量、规格等核对一致。
2.自制存货的验收,应当重点关注产品质量,不合格品应及时查明原因、落实责任、报告处理。
3.其他方式取得存货的验收,应当重点关注存货来源、质量状况、实际价值是否符合有关合同或协议的约定仓储保管存货仓储保管方法不适当、监管不严密,可能导致损坏变质、价值贬损、资源浪费1.存货在不同仓库之间流动时,应当办理出入库手续;2. 按照仓储物资所要求的储存条件妥善贮存,不同批次、型号和用途的产品要分类存放,有助于提高生产效率。
3.对代管、代销、暂存、受托加工的存货,应单独存放和记录。
4. 加强存货的保险投保,保证存货安全5. 每日巡查和定期抽检,进入仓库的人员应办理进出登记手续盘点清查存货盘点清查制度不完善、计划不可行,可能导致工作流于形式、无法查清存货真实状况1.企业应当建立存货盘点清查工作规程;2.盘点清查时,应拟定详细的盘点计划,盘点清查结果要及时编制盘点表,形成书面报告;多部门人员共同盘点,应当充分体现相互制衡。
审计中的关键业务流程与控制点一、引言在企业管理和经营过程中,审计是一项重要的活动,旨在评估企业的财务状况和业务运营的合规性。
而在审计中,关键业务流程与控制点的识别与评估是确保审计准确性和有效性的关键环节。
本文将探讨审计中的关键业务流程与控制点的重要性以及如何识别和评估它们。
二、关键业务流程的定义与重要性关键业务流程是指对企业经营和财务状况具有重大影响的核心流程。
这些流程通常涉及到企业的关键资源和核心业务活动,如采购、生产、销售等。
关键业务流程的管理是否健全,直接关系到企业内部控制的有效性以及财务报告的准确性。
关键业务流程对审计的重要性体现在以下几个方面:1. 风险识别:通过识别关键业务流程,审计人员能够更加准确地评估企业面临的风险,从而制定相应的审计方案和控制测试计划。
2. 控制评估:关键业务流程通常涉及到大量的内部控制环节,审计人员需要评估这些控制点的有效性,以确保企业的风险得到合理控制。
3. 报告准确性:审计人员通过对关键业务流程的审计,能够提供对企业财务报告准确性的保障,为相关利益相关方提供可靠的信息。
三、关键业务流程与控制点的识别1. 借助企业内部资料:审计人员可以通过查阅企业内部的制度、规章和业务流程手册等资料,初步了解企业的关键业务流程及其内部控制点。
2. 与企业管理层和相关人员交流:审计人员可与企业管理层、财务人员和业务负责人等进行交流,深入了解企业关键业务流程的具体情况以及相关的内部控制点。
3. 数据分析和模拟测试:审计人员可以借助数据分析工具,对企业的交易数据进行分析,发现异常或风险较大的业务流程。
同时,也可以进行模拟测试,验证控制点的有效性和操作流程的合规性。
四、关键业务流程与控制点的评估1. 风险评估:审计人员需要对关键业务流程中的风险进行综合评估,确定其对企业的重要性和潜在的财务影响。
同时,也要评估控制措施对风险的控制效果。
2. 控制测试:审计人员需要选择适当的测试方法,验证关键业务流程中的控制点的有效性。
质量管理体系的关键业务流程和流程控制在现代企业中,质量管理体系起到了至关重要的作用。
一个高效的质量管理体系可以帮助企业提高产品或服务的质量,确保客户满意度,提高竞争力。
而质量管理体系的关键业务流程和流程控制则是实现这一目标的基础。
一、质量管理体系的关键业务流程1.产品设计流程产品的设计是质量管理的关键环节之一。
在产品设计阶段,企业需要明确产品的功能要求、技术规范以及质量目标。
同时,还需要进行风险评估和可行性分析,确保产品设计的合理性和可实施性。
设计流程中的关键点包括需求收集、产品规划、概念设计、详细设计和验证等环节。
2.供应商管理流程供应商管理是质量管理体系中不可或缺的一部分。
企业需要和合适的供应商建立长期合作关系,并对其进行评估和审核。
供应商管理流程包括供应商选择、供应商评估、供应商开发和供应商绩效监控等环节。
只有通过对供应商的有效管理,企业才能保证所采购的原材料或零部件的质量稳定性,从而确保最终产品的质量。
3.生产过程控制流程生产过程控制是质量管理体系的核心环节。
企业需要对生产过程进行全面监控,确保产品的质量符合标准。
生产过程控制流程包括生产计划制定、工艺设计、生产执行、过程监控和数据分析等环节。
通过对关键控制点的监控和反馈,企业可以及时发现和纠正生产过程的异常,保证产品的稳定性和一致性。
4.产品检验流程产品检验是质量管理体系的重要环节之一。
通过对产品的检验和测试,企业可以确保产品符合质量要求,并及时发现和处理质量问题。
产品检验流程包括检验计划制定、检验执行、检验结果评估和质量问题处理等环节。
在产品检验流程中,应充分运用合适的检验方法和技术,确保检验结果的准确性和可靠性。
二、质量管理体系的流程控制1.流程标准化为了确保质量管理体系的有效运作,企业需要对关键业务流程进行标准化。
流程标准化可以使企业在不同时间、不同地点具有一致的运作方式,降低错误和变异的发生。
通过制定标准作业流程(SOP),企业可以明确流程的目标和要求,并规定操作步骤和规范,确保流程的规范性和可控性。
电子商务业务流程及关键过程控制点下载温馨提示:该文档是我店铺精心编制而成,希望大家下载以后,能够帮助大家解决实际的问题。
文档下载后可定制随意修改,请根据实际需要进行相应的调整和使用,谢谢!并且,本店铺为大家提供各种各样类型的实用资料,如教育随笔、日记赏析、句子摘抄、古诗大全、经典美文、话题作文、工作总结、词语解析、文案摘录、其他资料等等,如想了解不同资料格式和写法,敬请关注!Download tips: This document is carefully compiled by theeditor.I hope that after you download them,they can help yousolve practical problems. The document can be customized andmodified after downloading,please adjust and use it according toactual needs, thank you!In addition, our shop provides you with various types ofpractical materials,such as educational essays, diaryappreciation,sentence excerpts,ancient poems,classic articles,topic composition,work summary,word parsing,copy excerpts,other materials and so on,want to know different data formats andwriting methods,please pay attention!电子商务业务流程及其关键过程控制点解析随着互联网的快速发展,电子商务已成为全球商业活动的重要组成部分。
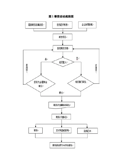
图1 筹资活动流程图表1 筹资内部控制的关键控制点、控制目标与控制措施关键控制点控制目标控制措施提出筹资方案进行筹资方案可行性论证1.进行筹资方案的战略性评估,包括是否与企业发展战略相符合,筹资规模是否适当;2.进行筹资方案的经济性评估,如筹资成本是否最低,资本结构是否恰当,筹资成本与资金收益是否匹配;3.进行筹资方案的风险性评估,如筹资方案面临哪些风险,风险大小是否适当、可控,是否与收益匹配。
筹资方案审批选择批准最优筹资方案1.根据分级授权审批制度,按照规定程序严格审批经过可行性论证的筹资方案;2.审批中应实行集体审议或联签制度,保证决策的科学性。
制定筹资计划制定切实可行的具体筹资计划,科学规划筹资活动,保证低成本、高效率筹资1.根据筹资方案,结合当时经济金融形势,分析不同筹资方式的资金成本,正确选择筹资方式和不同方式的筹资数量,财务部门或资金管理部门制定具体筹资计划;2.根据授权审批制度报有关部门批准。
实施筹资保证筹资活动正确、合法、有效进行1.根据筹资计划进行筹资;2.签订筹资协议,明确权利义务;3.按照岗位分离与授权审批制度,各环节和各责任人正确履行审批监督责任,实施严密的筹资程序控制和岗位分离控制;4.做好严密的筹资记录,发挥会计控制的作用。
筹资活动评价与责任追究保证筹集资金的正确有效使用,维护筹资信用1.促成各部门严格按照确定的用途使用资金;2.监督检查,督促各环节严密保管未发行的股票、债券;3.监督检查,督促正确计提、支付利息;4.加强债务偿还和股利支付环节的监督管理;5.评价筹资活动过程,追究违规人员责任。
图2 投资活动业务流程图表2 投资业务的关键风险控制点、控制目标和控制措施风险控制点控制目标控制措施提出投资方案进行投资方案可行性论证1.进行投资方案的战略性评估,包括是否与企业发展战略相符合;2.投资规模、方向和时机是否适当;3.对投资方案进行技术、市场、财务可行性研究,深入分析项目的技术可行性与先进性、市场容量与前景,以及项目预计现金流量、风险与报酬,比较或评价不同项目的可行性。
主要工作流程及控制要点1、签证审批流程流程要点:1、工程部必须在规定的时限内,签署完意见。
2、站点负责人必须建立项目签证台帐并及时填写。
在收到签证单后2天内必须签署完毕并在台帐上记录,签证单办理完成后3天内归档,并成本部作为结算依据。
3、工程签证的原始凭证,必须由两名或两名以上现场工程师当天签署完毕,并返回施工单位,同时留存一份,上报工程部负责人后存档。
原始记录上必须注明工程内容的具体位置和部位,必要时需附图及照片标注,以满足计量、计价要求。
4、在竣工图上可计算的项目,不予直接签证数量。
5、有转扣内容的签证单,工程部必须在签证单的右上角予以标注,并完善转扣手续。
6、签证事项完成后在合同约定期限内(合同未约定应在五天内)施工单位要申报签证单,不及时申报的,视作施工单位自动放弃,不再办理签证。
2、工程委托办理、审批流程(1)造价在3万元以下的零星工程委托办理、审批流程流程要点:(1)工程部必须提前进行询价、谈价等相关的委托过程。
(2)工程部不得将同一工程项目肢解委托。
(3)委托手续完备后方可施工。
(4)工程部在委托书办理完成后3天内归档,并送合同管理部备案。
(2)造价在3万元以上(含3万元)10万元以下的零星工程委托办理、审批流程流程要点:(1)工程部必须提前进行询价、谈价等相关的委托过程,如因工程部贻误时间,没有足够时间同施工单位商谈价格,从而造成委托单价过高,给予工程部经理降一级工资处罚。
(2)委托手续完备后方可施工。
(3)工程部在委托书办理完成后3天内归档,并送合同管理部备案。
(4)所有造价在3万元以上的委托须找两家以上单位竞价;造价在10万元以上的工程不得办理委托,必须签订合同;工程部不得将同一工程项目肢解委托。
否则,给予工程部经理降三级工资处罚。
2、工程进度款审批流程流程要点:1、工程部在接到施工单位报送的工程进度款申报表后,必须在48小时内经工程师、站点负责人、工程部负责人审批完毕并发出。
资料范本本资料为word版本,可以直接编辑和打印,感谢您的下载业务流程步骤与控制点地点:__________________时间:__________________说明:本资料适用于约定双方经过谈判,协商而共同承认,共同遵守的责任与义务,仅供参考,文档可直接下载或修改,不需要的部分可直接删除,使用时请详细阅读内容11.3 ERP系统IT一般性控制流程①一、业务目标1 经营目标1.1 保证系统长期稳定、安全、高效运行。
1.2 保证系统数据的准确性、实时性和完整性。
1.3 保证业务流程的通流效率,为企业的经营和发展提供技术支撑。
2 合规目标2.1 遵守保护知识产权的有关法律法规,使用合法软件。
2.2 信息技术合同符合合同法等股份公司制度、国家法律和法规。
2.3 系统数据的收集、提供、使用和转让符合股份公司有关制度以及国家安全、保护知识产权、合同法等法律、法规的要求。
2.4 业务系统的生成报表、合并报表编制过程的真实性、完整性、可靠性符合国家规定及上市地监管机构要求。
二、业务风险1 经营风险①本流程适用于股份公司ERP单轨运行企业ERP系统IT一般性控制。
1.1 规章制度不健全,导致系统管理失控。
1.2 技术方案不合理,业务流程不规范,系统功能存在问题,导致系统不能满足业务需求。
1.3 系统登录访问机制不健全、用户权限管理不规范等,导致对系统的非法或非授权访问。
1.4 数据收集、转换和清理的管理不完善,导致系统存在大量垃圾数据和系统数据失真。
1.5 变更管理不规范,客户化开发、测试和传输管理不完善,导致系统故障、影响系统正常运作或系统功能不能满足业务需求。
1.6 系统运行状态监控不到位,系统潜在故障处理不及时,支持体系不健全,影响系统正常运行。
1.7 上线方案不合理,导致系统上线失败。
1.8 上线月结差异分析报告不准确,导致系统数据错误无法纠正,影响系统正确性。
1.9 备份策略和备份方案不完善,导致数据丢失或数据、系统无法恢复。