专用龙门刨床B2010A电气控制原理及维护指南
- 格式:pdf
- 大小:497.52 KB
- 文档页数:10
主拖动部分(工作台)的原理图3.1.1工作台行程开关零位状态Figure 3.1 .1 table-state trip switch of zero龙门刨床工作台自动运行使由安装在床身的6个行程开关来控制的。
工作台侧面的燕尾槽中安装了四个撞块,工作台在运动中依靠这四个撞块去碰撞相应的行程开关,从而实现工作台的自动工作。
图 4.2.2(a)为各行程开关的零位状态,前进撞块A和B、后退撞块C和D 分布在行程开关两侧。
这6个行程开关是:前进减速开关ST10、前进换向开关ST12、前进安全限位开关ST1、后退减速开关ST11、后退换向开关ST13 、后退安全限位开关ST2。
工作前应根据加工工件加工长短来决定工作台的行程,并以此来调整前进撞块与后退撞块之间的距离,使A、B撞块位于床身六个行程开关的左侧,C、D撞块位于六个行程开关的右侧,并检查好使六个行程开关处于零位状态,才可以启动工作台工作。
工作台如在前进运行,前进末了,A撞块碰ST10;然后B撞块碰ST12,工作台经过一段越位后开始后退,后退开始时,撞块B使ST12复位,在后退A撞块使ST10复位;工作台继续后退。
后退末了,工件退出刀具后,后退撞块C碰ST11减速,D碰ST13换向,经过一段越位后后退换前进。
撞块使ST13复位,再前进,撞块C使ST11复位,照这样的方式循环工作。
如果前进时,碰撞ST12部起作用,在碰撞安全限位开关ST1,不使工作台由于电器失灵而冲出去。
后退由ST2实现保护。
图3.1.2工作台控制电路Figure 3.1.2 table control circuit工作台的控制必须在直流发电机的原动机M2Y-D起动完成后,即接触器KM3触点闭合,电柜通风机M11、M12接触器KM17触点闭合,直流电动机的励磁机G2励磁正常,失磁保护继电器KUC吸合。
其常开触点闭合之后才可进行。
(一)工作台步进、步退的控制工作台步进、步退是由悬挂在按钮站上的按钮SB8、SB12操作的电动控制。
第XXX章A系列龙门刨床电气控制线路概述龙门刨床是一种大型加工机床,主要用于加工大型或重型零部件上的各种平面、沟槽以及各种导轨面等,也可对中小型零部件成批加工。
外观如图1所示。
A系列龙门刨床有B1010A、B1012A、B1016A、B2010A、B2012A、B2016A等六种。
还有一种轻型(Q)刨床,其电气设备与A系列基本相同,只是机械结构方面作了一些简化,Q型有B2012Q、B2020Q等。
型号中: B 表示刨床图1 外观实物第一个数字1表示单臂,2表示双臂。
第二个数字0表示基型,1表示刨铣床等。
第三、四个数字,表示最大刨削宽度的1/100毫米。
如10代表10×100=1000毫米=1米。
A表示第一次改型设计,Q表示轻型。
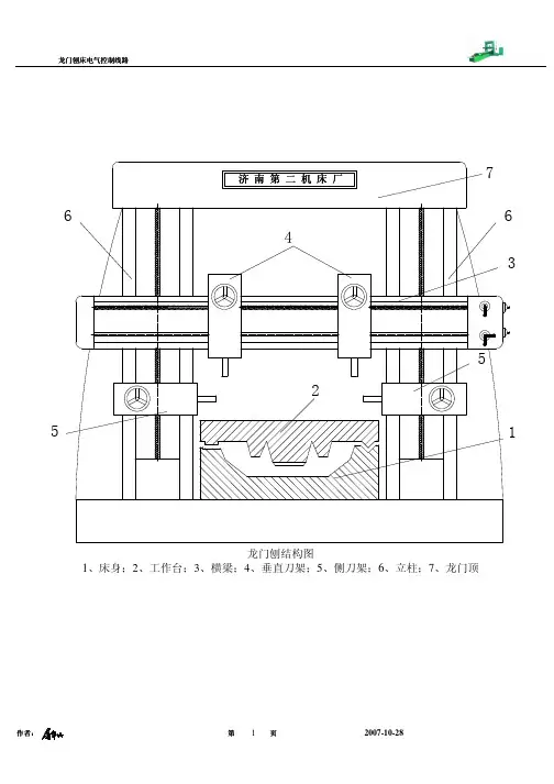
一、龙门刨床的主要结构及运动形式:龙门刨床主要由床身、左立柱、右立柱、顶梁、横梁、工作台、左侧刀架、右侧刀架、垂直刀架等部分组成。
如图1所示。
龙门刨床的运动可分为主运动、进给运动及辅助运动。
主运动是指工作台连续重复往返运动,进给运动是指刀架的进给,辅助运动是指刀具的调整(如横梁的升降、夹紧放松、刀架的快速移动、抬刀等)。
二、龙门刨床主运动特点:为满足工件加工工艺的要求,龙门刨床的工作台应调速范围宽、速度稳定、响应快、减速迅速、制动快而稳,因而电气控制复杂。
龙门刨床电气设备的主拖动方式有:皮带拖动、电磁离合器拖动、直流发电机组拖动、晶闸管拖动系统、液压拖动系统等。
在我国生产的刨床主拖动方式主要有两种,1米左右的工作台刨床采用皮带传动,而1米以上的刨床采用直流发电机-电动机组拖动(G—M拖动)。
直流发电机-电动机组拖动(G—M)的调速系统是靠改变直流发电机与直流电动机的磁通量来调节速度的,所以它必须装备合适的励磁调节装置来改善系统的性能,作为励磁调节装置的有:自激放大机、电机扩大机(电机放大机)、磁放大器、晶闸管整流器等。
A系列龙门刨床主拖动系统是采用电机扩大机作为励磁调节装置的G-M系统。
龙门刨床电气控制系统设计茹亮摘要目前中国在世界上是机床消费的第一大国,并正在由制造大国向制造强国发展,数控机床是制造业的关键设备,数控维修和改造正在成为制造业的新兴产业,其产生和发展有着深刻的社会背景和经济背景。
(1)我国现有数以万计的陈旧落后的机床,这些是机床大修和数控化改造业赖以生存的现实基础之一。
(2)20世纪进口的大量二手数控设备已进入维修和改造的高峰期。
(3)机床及数控设备造价高昂,显著的经济效益是数控改造行业发展的动力,一般改造的费用仅为购置新设备费用的30%左右。
(4)通过数控改造可以进一步满足用户对设备的工艺要求以获取更大的效益。
本文目的就是对龙门刨床进行PLC改造,提高其工作的效率。
PLC作为一种新型的控制装置与传统的继电器控制系统相比具有时间响应快、可靠性好、控制程序可随工艺改变、易与计算机连接、维修方便、体积小、重量轻和功耗底等诸多高品质与功能。
从而减少其维修时间,提高其工作效率。
对于电气车间龙门刨床PLC的研究和实际应用都具有非常高的价值。
关键词:龙门刨床,改造,数控化,PLCElectrical control system design of Planning machineAbstractAt present China is the world's largest machine tool consumer and is manufactured by the manufacturing power to power the development of CNC machine tools is the key to manufacturing equipment, maintenance and improvement of numerical control manufacturing is becoming an emerging industry, its emergence and development of There is a profound social background and economic background.(1) tens of thousands of China's current outdated and backward in mind the machine, these are major repairs and CNC machine tool industry in the transformation of the reality of survival one of the bases.(2) 20th century, a large number of imported second-hand CNC equipment has entered the maintenance and improvement of the peak.(3) And CNC machine tool equipment will cost a significant transformation of the economic benefits of the NC driving force for the development of the industry, the general transformation of the cost of the acquisition of new equipment only costs about 30%.(4) Through the NC can be further modified to meet user requirements for process equipment in order to obtain greater benefits.The purpose of this paper is the transformation of double-housing planer to PLC to enhance the efficiency of its work. PLC as a new type of control device with the traditional relay control systems with fast response time, reliability, and control procedures may change with technology, easy computer connectivity, easy maintenance, small size, light weight and power consumption at the end of and many other high-quality and function. So as to reduce their maintenance time and improve their work efficiency. Workshop for the electrical double-housing planer PLC research and practical applications have very high value.Key words: Gantry planer, alteration, NC, PLC目录1 绪论 (1)1.1龙门刨床简介 (1)1.1.1 龙门刨床定义 (1)1.1.2 龙门刨床的分类 (1)1.1.3 龙门刨床的工作情况 (1)1.2PLC简介 (2)1.2.1 PLC简述 (2)1.2.2 PLC定义 (2)1.2.3 PLC的发展历程 (2)1.2.4 PLC的构成 (3)1.2.5 PLC的特点 (3)1.2.6 PLC分类 (3)1.2.7 PLC应用 (4)1.3设计的提出和主要工作 (5)2 龙门刨床电气控制电路解析 (6)2.1刀架控制电路 (6)2.2横梁控制电路 (6)2.3工作台控制电路 (6)2.4龙门刨床的主回路设计及变频器的选择 (7)2.4.1 龙门刨床电力拖动系统主回路设计 (7)2.4.2 主拖动电机的选型 (8)2.4.3 变频器的选择 (8)3 控制程序设计分析及故障控制分析 (12)3.1控制程序设计分析 (12)3.1.1 工作台控制程序设计分析 (12)3.1.2 风机油泵控制程序设计分析 (12)3.1.3 横梁升降控制程序设计分析 (12)3.1.4 刀架运行控制程序设计分析 (13)3.2故障控制分析 (13)3.2.1 综述 (13)3.2.2 辅助设备常见故障及措施 (13)3.2.3 工作台常见故障及措施 (13)3.2.4 横梁常见故障及措施 (13)4 龙门刨床PLC控制系统组成 (14)4.1龙门刨床运动特点 (14)4.2PLC的类型的选定 (14)4.3工作台控制流程图与程序设计 (14)5 结论 (23)6 谢辞 (24)7 参考文献 (25)1 绪论1.1 龙门刨床简介1.1.1 龙门刨床定义龙门刨床是用来刨削大型零件(如箱体)的刨床。
龙门刨床的控制及常见故障的分析排除摘要龙门刨床主要用于刨削大型工件,也可在工作台上装夹多个零件同时加工。
龙门刨床的工作台带着工件通过门式框架作直线往复运动,空行程速度大于工作行程速度。
横梁上一般装有两个垂直刀架,刀架滑座可在垂直面内回转一个角度,并可沿横梁作横向进给运动(见机床);刨刀可在刀架上作垂直或斜向进给运动;横梁可在两立柱上作上下调整。
一般在两个立柱上还安装可沿立柱上下移动的侧刀架,以扩大加工范围工作台回程时能机动抬刀,以免划伤工件表面。
机床工作台的驱动可用发电机-电动机组或用可控硅直流调速方式,调速范围较大,在低速时也能获得较大的驱动力。
有的龙门刨床还附有铣头和磨头,变型为龙门刨铣床和龙门刨铣磨床,工作台既可作快速的主运动,也可作慢速的进给运动,主要用于重型工件在一次安装中进行刨削、铣削和磨削平面等加工。
本文主要对龙门刨床的控制系统进行研究。
采用交磁扩大机技术作为主拖动系统,通过对工作台的控制系统的研究,了解交磁扩大机的基本原理及龙门刨床的简单控制流程,并能解决简单的故障问题。
关键字:交磁扩大机工作台控制故障排除Closed Planer control and common fault of exclusionABSTRACTClosed Planer mainly used for routing large part, but also in many parts of the stage fixture at the same time processing. Closed Planer of the table with the workpiece through the door frame for reciprocating linear movement, air trip itinerary of speed than the speed. Beams in general with two vertical turret, Turret slide in the vertical plane at an angle of rotation, and along the horizontal beams to feed campaign (see machine); Paodao in the turret on a vertical or inclined To feed movement; beams can be made in two columns from top to bottom adjustments。
基于PLC、变频器的龙门刨床控制系统设计要求一、龙门刨床系统介绍龙门刨床是一种广泛使用的金属切削加工机床,是具有门式框架和卧式长床身的刨床,是许多大型企业不可缺少的设备。
龙门刨床主要用于刨削大型工件,也可在工作台上装夹多个零件同时加工,是制造重加工各种平面、斜型设备(如大型轧钢机,汽轮机,发电机,矿山设备等)不可缺少的工作母机,是用来,在机械加工行业加工大型而狭长的工件的机床设备(如机床的床身,箱体,导轨等)面、槽,更适合于里应用十分广泛。
两大组成部分,生产工艺对刨床电力拖动自动控制系统的要求和电气控制龙门刨床主要分为机械控制也越来越高,要使龙门刨床运行在最优状态主要取决于电气控制部分。
:龙门刨床工作时需要控制的对象,自动往复循环运行及速度变换。
进\退)●工作台的运动:工作台的人工点动运行(;刀架的运动:垂直刀架和左、右侧刀架的自动进给、手动快速移动●●横梁升降和夹紧等;1.龙门刨床的基本结构,如机床床身、横梁、,更适合于加工大型而狭长的工件龙门刨床主要用来加工各种平面、斜面、槽所示,主要由以下七个部分组成。
立柱、导轨和箱体等。
龙门刨床的结构如图9-1龙门刨床的结构图1.1U形导轨,用于安置工作台。
)机座:是一个箱形体,上有(1V形和)工作台:也叫刨台,用于安置工件。
下有传动机构,可顺着床身的导轨作往复运动。
(2 3)立柱:用于安置横梁及刀架。
()横梁:用于安置垂直刀架,在切削过程中严禁动作,仅在更换工件时移动,用以调整刀架的高(41度。
(5)垂直刀架:横梁上一般装有左右两个垂直刀架,由一台三相交流异步电动机驱动,通过机械结构切换驱动哪个刀架。
垂直刀架具有自动进给和手动快速移动两种工作方式,每种工作方式下垂直刀架都具有垂直上、下,水平左、右移动四个运动方向。
横梁上的刀架,可在横梁导轨上作横向进给运动,以刨削工件的水平面;刀架亦可偏转一定角度以刨削斜面。
(6)左右侧刀架:在两个立柱上还安装有可沿立柱上下移动的左、右侧刀架, 它们各自由一台三相交流异步电动机驱动,左右侧刀架具有自动进给和手动快速移动两种工作方式,每种工作方式下左右侧刀架只具能沿立柱导轨作上、下运动,以刨削垂直面,以扩大加工范围。
5龙门刨结构图1、床身;2、工作台;3、横梁;4、垂直刀架;5、侧刀架;6、立柱;7、龙门顶A系列龙门刨床电气系统示意图电源开关交流电动机(拖动、)扩大机电动机通风机电动机润滑泵电动机垂直刀架电动机右侧刀架电动机左侧刀架电动机横梁升降电动机横梁夹紧、放松电动机电源分开关电机放大机1.2KWS 1222222他励直流发电机他励直流电动机并励励磁直流发电机图2主拖动系统及工作台直流控制系统电原理图前进后退龙门刨床电气控制线路作者作者::第 页2007-10-285 T 380/127VKM1KT1KMYKM△KM2KM4KM5KM6KM7KM8KM9KA1KM10KM11KM12HL3控制变压器电源接通指示灯三联机组交流电机 Y-△启动控制垂直刀架 控制右侧刀架 控制左侧刀架 控制横梁上升 控制横梁下降 控制横梁运行指示横梁夹紧图3 交流控制系统电原理图1龙门刨床电气控制线路作者作者::第 页2007-10-286KM13KA2KA3KA4KA5KA6KA7KA8KA9KT2KM3横梁放松工作台前进工作台自动与调整连锁工作台后退后退换向时 接通 前进换向时 接通后退减速慢速 切入前进减速润滑泵 控制工作台低速 时接通工作台 磨削 控制横梁下降后回升延时图4 交流控制系统电原理图2电源开关交流电动机(拖动G 、G )扩大机电动机通风机电动机润滑泵电动机T 380/127V控制变压器电源接通指示灯三联机组交流电机△启动控制图主电机起动控制部分电气原理图KA1KM10KM11KM12横梁上升控制横梁下降控制横梁运行指示横梁夹紧K M 13横梁升降电动机横梁夹紧、放松 电动机KA3横梁放松KM13KT2横梁下降后回升延时SB3KM4KM5KM6KM7KM8KM9KA1KM10KM11KM12垂直刀架 控制右侧刀架 控制横梁上升 控制左侧刀架横梁下降 控制控制工作台前进工作台自动与调整连锁工作台后退后退换向时 接通 前进换向时 接通后退减速慢速 切入前进减速润滑泵 控制工作台低速时接通工作台磨削 控制前进减速前进换向前进越位后退减速后退换向后退越位ABDC前进减速前进换向前进越位后退减速后退换向后退越位AB前进减速前进换向前进越位后退减速后退换向后退越位AB前进减速前进减速前进换向前进越位后退减速后退换向AB前进换向前进减速前进换向前进越位后退减速后退换向后退越位AB前进减速前进换向前进越位后退减速后退换向后退越位DC后退减速前进减速前进换向前进越位后退减速后退换向后退越位DC后退换向起始状态前进之初,因SQ11、SQ8均被压下,有慢速切入控制前进开始后,先将SQ8复位,慢速切入控制结束继续前进,将SQ11复位,为后退减速作准备前进行程终了前,压下SQ12,先减速,进行慢速切出控制前进行程终了,压下SQ7,进行反向控制经过一段距离的越位,工作台反向撞块A将SQ7复位,慢速切出控制完成撞块A将SQ12复位,为前进减速控制作准备前进减速后退减速前进速度后退速度前进速度后退速度前进速度后退速度步进、步退控制电原理图图4-18给定、电压负反馈和电流正反馈环节-1-1图4-19桥形稳定环节RP1RP2图4-21加速度调节器1-12-1图4-22 停车制动及欠补偿环节图4-23 前进、后退等效电路图减速时的等效电路图KA2KA3KA4KA5KA6KA7KA8KA9KM3工作台前进工作台自动与调整连锁工作台后退后退换向时 接通 前进换向时 接通后退减速慢速 切入前进减速润滑泵 控制工作台低速 时接通工作台 磨削 控制工作台电气控制线路局部。
B2010A龙门刨床电气控制系统B2010A Planing Machine Electrical Control System概要B2010A系列龙门刨床是上世纪五十年代的产品,其调速系统采用旋转变流机组供电的 F―D系统。
该系统需要旋转变流机组,至少包含两台与调速电动机容量相当的旋转电机,还要一台励磁发电机,故存在设备多、体积大、费用高、效率低、安装须打地基、运行有噪声、维护不方便等缺点,但是系统的可逆运行很容易实现,且无论在正转还是反转减速时都能够实现回馈制动,因此在当时曾广泛地使用着,至今在尚未进行设备更新的地方仍使用着这种系统。
我从网上了解到,B2010A系列龙门刨床被誉为电气控制与电机调速之经典之作!目录前言 (5)第一章龙门刨床的简介 (6)1.1 龙门刨床的发展历史.................... (6)1.2 B2010A系列龙门刨床的特点.......... (7)第二章B2010A龙门刨床工况概述 (8)2.1龙门刨床对电力拖动的技术要求 (8)第三章B2010A龙门刨床详细原理与操作 (9)3.1 B2010A龙门刨床的电气控制原理 (9)3.2机组启动 (12)3.3步进或步退 (13)3.4循环前进或后退 (15)3.5减速和换向 (16)3.6 速度调节及制动 (19)第四章工作台拖动系统 (23)4.1拖动控制的发展状况 (23)4.2工作台拖动系统的保护 (24)4.3龙门刨床拖动系统的演变 (25)第五章变频器运用在B2010A龙门刨床..... .. (26)5.1 选型 (26)5.2. 控制原理 (28)第六章EMERSON变频器的特性应用 (30)6.1、注意变频器与电机的自调谐过程 (30)6.2、避免爬行 (30)6.4、使电机获得更好的起动性能 (30)6.3、换向运行的快速响应 (30)第七章常见故障及检修流程 (31)结论 (35)致谢 (36)参考文献 (37)前言本实训项目通过电动机调速系统总体方案设计、选择具有电机调速的典型代表B2010A系列龙门刨床、绘制B2010A系列龙门刨床电路原理图、B2010A系列龙门刨床各个设备的原理、以及刨床电机的调速原理、B2010A系列龙门刨床设备的维护与维修、安装、刨床现代的调速方式、以及与现代调速的对比。
b2010a型龙门刨床电气控制系统plc改造设计,开题报告b2010a型龙门刨床电气控制系统plc改造设计,开题报告:刨床开题控制系统龙门改造水池水位控制系统 b2012a龙门刨床基础图龙门刨床变频篇一:基于PLC技术的龙门刨床系统改造开题报告集美大学毕业设计(论文)开题报告1注:此表前五项由学生填写后交指导教师签署意见,否则不得开题;此表作为毕业设计(论文)评分的依据2篇二:B2012A龙门刨床控制系统改造与设计四川工程职业技术学院毕业设计论文题目:龙门刨床控制系统改造与设计专业:电气自动化姓名:罗俊娴学号:201122020050指导老师:闫毅二〇一四年一月二号摘要龙门刨床是一种用于加工大型、狭长机械零件的大型加工设备。
刨台在刨削过程中不断地作往复运动每往复一次即为一个周期。
在这一个周期内,刨台的速度是变化的。
在刨刀初接触工件时,要低速,防止刀具崩坏;切削段的速度是操作者选定的切削速度;返回段属于空行程,为了提高工作效率,返回速度尽可能高一点;返回结束前,为了减少冲力,又应将速度降至零后转向进入下一周期。
往复运动的速度变化,由刨台下面的无触点接近开关控制。
辅助部分包括润滑泵、横梁升降、抬刀与进刀、左右刀架、垂直刀架控制回路等。
其电气控制系统主要用于控制工作台按要求速度自动往复循环运动,刀架进刀、退刀、横梁升降以及他们之间的连锁控制。
传统龙门刨床的控制系统通常为继电一接触器控制,该系统连线复杂,体积大,自动化水平低。
因而造成了使用企业的生产率低下,效益差。
现采用PLC改造B2012A系列龙门刨床的电控系统,取得了较好的效果。
ABSTRACTDouble housing planer is a kind of long and narrow mechanical parts used for machining large, large processing equipment. Planer constantly in the process of planing for reciprocating shipment move every reciprocating is a cycle. In this period, the speed of the planer is changing. At the beginning of the cutter contact workpiece, lowspeed, prevent tool collapse; The operator selected cutting speed is the speed of the cutting section; Return period belongs to air travel, in order to improve the work efficiency, higher return rate as far as possible; Return before the end, in order to reduce impact, and speedshould be reduced to zero after turning into the next cycle. Reciprocating motion velocity changes, the stage by the plane the non-contact proximity switch control. Auxiliary parts including lubrication pump, beam lifting, carrying a knife and feed, left and right tool carrier, rail head control circuit, etc.Its electric control system is mainly used to control the workbench speed automatic reciprocating cycle movement, according to the requirement, recede cutter, tool rest feed beam hoist and chain control between them. The traditional control system of double housing planer is usually a relay contactor control, the system of attachment is complex, large volume, low automation level. Low productivity, and thus caused the use the enterprise benefit. We use PLC series of B2012A gantry planer transformation of the electric control system, good results have been achieved.关键字:龙门刨床控制PLC控制电器控制变频调速目录摘要 ................................................................. ..........................................................第一章绪论 ................................................................. ..................................... - 1 -1.1 绪论 ................................................................. .................................... - 1 -1.2本文研究的目的及意义 ................................................................. ..... - 3 -第二章龙门刨床简介 ................................................................. ................... - 5 -2.1 龙门刨床简介 ................................................................. .................... - 5 -2.2 龙门刨床基本结构与运动情况 ......................................................... - 6 -2.2.1主电路组成 ................................................................. .............. - 6 -2.2.2交流控制电路 ................................................................. .......... - 7 -2.2.3主拖动调速系统工作原理 .....................................................- 14 -2.2.4主拖动的电气控制电路 ......................................................... - 17 -第三章龙门刨床改造方案 ................................................................. ........... - 21 -3.1龙门刨床对控制系统的要求 ..........................................................(转载于:写论文网:b2010a型龙门刨床电气控制系统plc改造设计,开题报告).. - 21 -3.1.1 要求有宽广的调速范围 ........................................................ - 21 -3.1.2 电气控制电路能保证机床可靠地自动工作 ........................- 22 -3.1.3工作台能够按照需要实现自动往返循环 .............................- 22 -3.1.4 工作台速度调整,且无须停车 ............................................ - 22 -3.1.5 刀架能自动进给和快速移动 ................................................ - 22 -3.1.6系统的机械特性要有一定的硬度 ......................................... - 22 -3.1.7有必要的联锁保护 .................................................................- 23 -3.2 元件清单 ................................................................. .......................... - 23 -3.3 I/O分配表 ................................................................. ......................... - 24 -第四章龙门刨床PLC控制系统改造 ........................................................... - 26 -4.1龙门刨床运动特点 ................................................................. ........... - 26 -4.2 PLC的类型的选定 ................................................................. ........... - 27 -4.2.1 PLC类型的选择 ..................................................................... - 27 -4.2.2 PLC型号的选定 ................................................................... - 29 -4.2.3西门子S7-200PLC ................................................................ - 29 -5.1变频器型号的选定 ................................................................. ........... - 31 -5.2变频器的选型 ................................................................. ................... - 32 -5.2.1SIMENS MICROMASTER简介 ............................................ -32 -5.2.2 SIMENS MICROMASTER 420的特点 ................................ -35 -第五章程序调试 ................................................................. ........................... - 37 -5.1程序流程图 ................................................................. ....................... - 37 -5.2 PLC程序 ................................................................. ........................ - 37 - 附录 ................................................................. ............................................... - 46 -毕业设计用纸各元件作用 ................................................................. ............................. - 47 - 总结 ................................................................. ................................................. - 49 - 答谢辞 ................................................................. ............................................. - 50 - 参考文献 ................................................................. ......................................... - 51 -篇三:普通车床电气控制系统的创新设计及PLC改造开题报告黄河科技学院毕业设计(论文)开题报告表课题来源:(1)教师拟订;(2)学生建议;(3)企业和社会征集;(4)科研单位提供课题类型:(1)A—工程设计(艺术设计);B—技术开发;C—软件工程;D—理论研究;E—调研报告(2)X—真实课题;Y—模拟课题;Z—虚拟课题要求(1)、(2)均要填,如AY、BX等。
目录1. 绪论 (4)1.1 课题的研究背景及意义 (4)1.2 课题的提出 (4)1.3 PLC与继电器控制系统的比较 (5)1.4 龙门刨床控制系统的发展 (6)1.5 论文的主要工作 (7)2. 龙门刨床的结构及电气分析 (7)2.1 刨床的作用及分类 (7)2.2 龙门刨床的结构 (8)2.3 龙门刨床的加工工艺特点 (9)2.4 龙门刨床的工艺流程对控制系统的要求 (9)3. 龙门刨床的主回路设计及变频器的选择 (11)3.1 龙门刨床电力拖动系统主回路设计 (11)3.2 主拖动电机的选型 (9)3.3 变频器的选择 (13)3.3.1 调速系统简述 (13)3.3.2 变频器选型 (11)3.3.3 主拖动与变频器的连接 (11)3.3.4 变频器的基本运行配线图 (13)4. PLC的选型及控制接线 (14)4.1 龙门刨床PLC控制系统构成 (14)4.2 PLC的选型及输入输出点的分配 (14)4.2.1 PLC的选型 (14)4.2.2 PLC I/O输入点数分配表 (15)4.2.3 PLC I/O输出点数分配表 (20)4.3 PLC控制接线图 (19)5. PLC的控制程序设计 (21)5.1 PLC程序设计概述 (21)5.2 梯形图编程语言的特点 (21)5.3 控制程序设计分析 (22)5.3.1 工作台控制程序设计分析 (22)5.3.2 风机油泵控制程序设计分析 (23)5.3.3 横梁升降控制程序设计分析 (23)5.3.4 刀架运行控制程序设计分析 (24)5.4 故障控制分析 (24)5.4.1 辅助设备常见故障及措施 (25)5.4.2 工作台常见故障及措施 (25)5.4.3 横梁常见故障及措施 (25)5.5 控制程序梯形图编制 (26)5.6 PLC控制程序指令 (29)6. 保护和抗干扰措施设计 (32)7. 结论和展望 (34)7.1 论文总结 (34)7.2 展望 (35)参考文献 (36)致谢 (37)基于PLC对龙门刨床的电气改造摘要龙门刨床主要用来加工大型工件的各种平面、斜面、凹槽等,特别适应于加工大型的、狭长的机械零件,是常见的大型机械加工设备。
目录摘要 (2)一、绪论 (3)1.1生产工艺要求 (3)1.2电动机系统 (3)1.3本设计的基本要求: (4)二、龙门刨床调速系统的方案选择 (5)2.1总述 (5)2.2龙门刨床的工艺特点及其对自动控制系统的要求 (5)2.3选择调压调速的理由 (7)2.4主拖动电动机供电方式的选择 (9)2.5双闭环控制系统的选择 (9)2.6触发电路的选择 (10)2.7调压调速控制系统主回路的选择 (11)2.8电动机直流调速的介绍 (11)三、调速系统主回路的设计 (14)3.1主回路的电气原理图 (14)3.2主电路的过电压和过电流保护 (14)3.3主电路的参数计算: (15)四、调速系统的控制电路设计 (19)4.1 转速电流双闭环直流调速系统 (19)4.2逻辑无环流系统 (20)五、调速系统的静态计算 (33)5.1系统的静态结构图 (33)5.2 系统的静特性 (35)六、调速系统的动态计算 (36)6.1 电流环中电流调节器的设计 (36)6.2 速度调节器的设计 (38)七、系统的调试 (41)7.1 系统的安装及检查 (41)7.2系统的调试 (41)7.3 小结 (45)总结 (46)参考资料 (48)摘要调压调速是现代飞速发展的电力电子技术和控制理论基础上发展起来的。
其思想是改变直流电动机的电枢电流来进行调速,以能达到直流电机的控制效果。
本文根据调压调速和自动控制的理论基础,设计出了一套,适用于龙门刨的调速系统。
其中对调速系统的控制电路,逻辑环节都作了比较详细的介绍,同时也提供了调速系统的静、动态性能的分析,最后还给出了基本的系统调试方法。
关键字:调压调速直流电动机龙门刨床一、绪论1.1生产工艺要求龙门刨床在刨削加工金属材料时,刨床的主运动是工作台往复的直线运动,工作前进时,为工作行程,即切削行程,此时带动工作台的直流电动有负载。
一个切削过程完毕后,工作台后退时,即反向行程时,刀具抬起,主电动机为空载运行。
重型数控龙门刨床安全操作及保养规程随着科技的不断进步,数控设备在机械加工领域中得到了广泛的应用。
而重型数控龙门刨床作为数控加工设备中的重要一员,其操作及保养对于确保安全生产和设备长期稳定运行起着至关重要的作用。
本文将从安全操作和设备保养两个方面详细介绍重型数控龙门刨床的安全操作及保养规程。
安全操作1. 熟悉设备运行原理在操作重型数控龙门刨床之前,必须对设备的运行原理和加工工艺有一定的了解。
通过学习设备的操作手册及相关规程、进行实际操作练习等方式,熟悉设备的构造、加工原理和性能参数等信息,从而确保在操作设备时能够熟练掌握各项操作。
2. 严格执行操作规程在进行操作重型数控龙门刨床时,必须严格按照设备的操作规程进行操作。
不可私自更改设备的设置。
操作人员应仔细检查设备的状态,如切割刀具是否正确放置,松紧度是否适宜、液压系统是否正常等,确保切削过程和操作过程符合相关规程,从而保证操作的安全性。
3. 加强设备维护和保养重型数控龙门刨床设备的正常运行和设备的寿命,直接受到设备保养和维护的影响。
正常的保养和维护工作可以减少设备的故障率,降低设备的损耗和磨损,从而延长设备的使用寿命。
4. 停车时注意设备的安全在停车时,要确保安全地停车。
将设备放到合适位置并且安装停车装置,同时确保设备停机制正常。
切勿随意停车,避免危及人身安全或者设备的安全。
5. 加强设备安全管理重型数控龙门刨床设备的安全性能与操作人员的安全管理直接相关。
操作公司应根据设备管理规定和安全维护标准,加强对设备的管理。
同时,对操作操作人员进行安全培训,保持操作人员的安全意识和管理水平,从而确保设备的正常操作和生产安全。
设备保养1. 检查设备润滑系统设备润滑系统对于设备的稳定运行具有非常重要的作用。
检查润滑系统是否正常运行,油液是否充足,润滑点的摩擦部位是否需要补充润滑油,确保设备的摩擦部位密封性良好。
2. 检查设备传动部件传动部件是设备的关键组成部分,通常需要经常检查和清洁,确保各部分联接牢固、重新加油、重新组装或更换磨坏地齿轮,确保设备的传动系统正常工作。
专用龙门刨床B2010A电气控制原理及维护指南陈竹B2010A系列龙门刨床是上世纪五十年代的产品,其调速系统采用旋转变流机组供电的F―D系统。
该系统需要旋转变流机组,至少包含两台与调速电动机容量相当的旋转电机,还要一台励磁发电机,故存在设备多、体积大、费用高、效率低、安装须打地基、运行有噪声、维护不方便等缺点,但是系统的可逆运行很容易实现,且无论在正转还是反转减速时都能够实现回馈制动,因此在当时曾广泛地使用着,至今在尚未进行设备更新的地方仍使用着这种系统。
笔者从网上了解到,不光是笔者所在单位有几台这样设备还在使用,其他单位确实也有这种设备还在使用。
为了与广大同行交流维护经验,今以此文为引玉之砖。
1.概述B2010A龙门刨床的电气控制原理如图1所示。
整个电气控制系统由三相380V50Hz的交流电源供电。
工作台由直流电机D拖动;油泵、冷却风机、电机放大机的原动机、直流发电机的原动机,分别由单独的三相交流异步电动机RB、FB、B、A拖动。
其中交流异步电动机A由Y―Δ起动。
工作台拖动电动机D的速度,是通过电压负反馈,电流正反馈和电流截止负反馈的高电阻电桥系统来改变发电机的端电压,达到速度调节的。
电机扩大机控制绕组采用磁差接法,分别将给定电压、电压负反馈、电流截止负反馈与电流正反馈接到扩大机单独的控制绕组0III与0II上。
全部控制电器装在三处,控制柜、悬挂操纵箱和机床上。
操纵者使用操纵箱进行操作。
工作台自动循环时,由安装在机床床身右侧的行程开关Q-JS1、Q-HX1和Q-HX2或H-JS1、H-HX1和H-HX2进行控制。
极限开关1HXC和2HXC也安装在机床床身右侧。
1HXC的接点在工作台前进超过极限位置时断开,2HXC的接点在工作台后退超过极限位置时断开。
整个电气线路可分为交流主回路-图1左上部分、交流控制回路-图1右半部分和直流主回路-图1左中间部分、直流控制回路-图1左下部分四部分。
其中交流控制回路的电源由两相380V交流电通过熔断器2RL,供给机组的Y―Δ起动控制和控制变压器BK降压至127V。
工作台的步进或步退、前进或后退、自动循环,以及润滑泵的控制电源由交流127V通过熔断器3RL提供。
直流控制回路的电源是直流220V,由原动机交流异步电动机A拖动励磁机L整流通过熔断器1RL输出。
用于控制发电机的输出端电压。
(注:图1中继电器JI的触点[240]-[200]应为常闭触点)2.机组启动启动前,机组和控制系统应处于就绪状态,即图1中自动空气开关UZ、1UZ、2UZ都在合闸位置,所有接触器或中间继电器均在释释放状态。
交流电源指示灯2e发亮,所有电机的靠背轮都可用手转动,此时就可以开机。
(“[101]”内为线号;“↑”表示线圈吸合或触点闭合,“↓”则相反下同。
)按下悬挂操纵箱上的“起动”按钮2A —→ 接触器C-A吸合,时间继电器JS-A吸合,接触器Y 吸合 —→ Y起动。
随着电机A的旋转,励磁机L就有直流220V输出,使直流时间继电器JS-Δ吸合,其常闭延时释放触点[723]-[725]闭合;当时间继电器JS-A的常开延时触点[705]-[723]闭合,接触器C-B吸合。
其常闭触点[717]-[719] 断开,Y接触器释放;常闭触点[H1-D]-[51] 断开,直流时间继电器JS-Δ释放;常开触点[717] -[721]闭合,Δ接触器吸合。
时间继电器JS-A延时常闭触点[705]-[717] 断开;继电器JS-Δ常闭延时触点[705]-[717]闭合。
完成主拖动电机的Y-Δ转换,机组启动完毕。
机组起动过程中各相关接触(继电)器或触点的动作过程如图2所示。
JS-A的延时调节在3~4s,JS-Δ的延时为1s以下。
一般使电动机A在Y联结起动至稳定转速后,立即断开Y联结,留出接触器转接时间,即刻转成Δ联结运转,这时JS-A、JS-Δ的延时时间认为是调节得合适的。
图 1机组起动结束后相关接触(继电)器的状态如下:C-A、JS-A、Δ、C-B吸合,Y、JS-Δ释放。
注意:继电器JS-Δ不吸合,主拖动电机不能从Y转换到Δ。
图23.步进或步退机组启动完毕后且工作台不在换向位置,即在Q-HX1、2或H-HX1、2没有动作的情况下,方可进行步进或步退操作。
以“步进”为例,下面分别对交流控制回路和直流控制回路作分析。
⑴交流控制回路 要使工作台步进,则按住悬挂操纵箱上的“步进”按钮8A,触点[111] —[113]闭合。
电源通过[101] —→ [103] —→ [105] —→ [107] —→ [109] —→ [111] —→ [113] —→ [115],加到“工作台前进”中间继电器Q的线圈上,使中间继电器Q吸合。
其他中间继电器H、1Q、1H、J、JI处在释放状态。
松开“步进”按钮8A,则触点[111]-[113]断开,中间继电器Q释放。
⑵直流控制回路 工作台步进时,中间继电器Q吸合,常开触点[1]-[3]闭合→ 继电器JS吸合。
JS的常闭触点[280]-[ OⅢ2]和[270]-[S1-K]断开,制动回路断开。
但中间继电器H、1Q、1H、J、JI 处在释放状态,此时直流控制回路的等效电路如图3(a)所示。
为清楚起见再进一步将给定电压U I1和发电机反馈取样电压U F作等效,更简化的电路见图3(b)所示。
图中R F、R I分别是2R、1R的等效电阻,其值固定,只有可变电阻器5RT可以改变其阻值。
因此当U I和U F稳定时调节5RT阻值的大小,便可改变回路中的电流,即流过放大机控制绕组OⅢ1-OⅢ2的电流iw,从而改变行进的速度。
因此工作台以给定电压U I低速向前移动。
图3(a) 图3(b)中间继电器Q释放,则工作台停止。
若工作台步退时,则按住悬挂操纵箱上的“步退”按钮12A,此时不是中间继电器Q吸合,而是中间继电器H吸合。
其他与上面步进类似,这里不再重复。
步进(退)时有关接触(继电)器的状态如下:Q(H)、JS吸合。
注意:改变可变电阻器5RT或6RT的阻值,便可改变“步进”或“步退”的速度。
4.循环前进或后退如前所说,机组启动完毕后且工作台不在换向位置,既Q-HX1、2或H-HX1、2没有动作的情况下,方可进行循环前进或后退操作。
⑴交流控制回路 要使工作台前进,则按住悬挂操纵箱上的“前进”按钮9A,触点[111] —[131]闭合。
电源通过[101] —→ [103] —→ [105] —→ [107] —→ [109] —→ [111] —→ [131] —→ [133] —→ [135] —→ [137] —→ [139] ,加到“工作台自动工作与调整移动连锁”中间继电器JI的线圈上,使中间继电器JI吸合。
中间继电器JI的触点[111] —[113]闭合,使中间继电器Q也吸合。
中间继电器JI的触点[107] —[129]闭合,起自保作用。
工作台快速向前移动。
由此可见工作台在自动循环工作状态下,中间继电器JI和Q或H(后退)应同时吸合。
⑵直流控制回路 工作台在前进过程中,中间继电器JI和Q吸合。
其余中间继电器H、1Q、1H、J处在释放状态,此时直流控制回路的等效电路如图4(a)所示。
同样再进一步将给定电压U O2和发电机反馈取样电压U F2作等效,更简化的电路见图4(b)所示。
图中R F2、R O2也分别是2R、1R的等效电阻,其值固定,而调速器R-Q和可变电阻器1RT可以改变其阻值。
调节调速器R-Q可改变U O2和R O2或改变可变电阻器1RT的阻值,都能改变回路中的电流,即流过放大机K控制绕组OⅢ1-OⅢ2的电流,从而调节工作台行进的速度。
图4(a) 图4(b)工作台后退时,则按住悬挂操纵箱上的“后退”按钮11A,此时不是中间继电器Q吸合,而是中间继电器H吸合。
即中间继电器JI和H同时吸合。
其他与上面前进类似,这里不再重复。
循环前进(后退)有关接触(继电)器的状态如下:JI、Q(H)、JS吸合。
注意:调节调速器R-Q或R-H位置,便可改变“前进”或“后退”的速度。
5.减速和换向为了实现工作台的平稳换向,工作台在换向前都先进行减速,降速后才换向。
减速和换向的过程是通过安装在工作台底侧面的挡铁拨动安装在机床床身右侧的行程开关来实现的。
每端各有两个Q-JS、Q-HX或H-JS、H-HX。
⑴交流控制回路 假定工作台在前进状态,当挡铁拨动“前进减速”行程开关Q-JS,其常开触点Q-JS1([129]-[159])闭合,中间继电器J吸合。
工作台减速前进。
当挡铁拨动“前进换向”行程开关Q-HX,其常闭触点Q-HX1([107]-[109])断开,“工作台前进”中间继电器Q释放,“工作台后退”中间继电器H吸合。
其常开触点Q-HX2([129]-[155])闭合,“前进换向” 中间继电器1H吸合。
工作台开始换向。
⑵直流控制回路 中间继电器J吸合后,其常闭触点[223]-[225]断开,常开触点[225]-[237]闭合。
加上行程开关Q-JS的常闭触点Q-JS2([210]-[212])断开。
工作台随即进入低速移动。
此时直流控制回路的等效电路如图5(a)所示。
这时工作台移动的速度给定电压由R-Q的固定抽头[231]与1R中心的固定抽头[210]之间的电压U O3决定。
速度调节可通过调节b-Q的位置,通过改变b-Q的阻值来改变流过放大机K控制绕组OⅢ1-OⅢ2的电流i k3到达。
工作台继续以低速前进。
当“工作台前进”中间继电器Q释放,“工作台后退”中间继电器H吸合。
“前进换向” 中间继电器1H吸合后。
此时直流控制回路的等效电路如图5(b)所示。
图5(a) 图5(b)注意:行程开关Q-JS未恢复原来状态,Q-JS1仍在闭合状态,即J仍吸合;Q-JS2仍在断开状态。
从图5中可以明显看出,原来由R-Q的固定抽头[231]通过3RT提供电压的,现在变成由R-H的固定抽头[232]通过4RT来提供电压了。
此时工作台虽然同样处在低速移动,但因流过放大机控制绕组OⅢ1-OⅢ2的电流方向改变了,故工作台移动的方向变为后退了。
若R-H的固定抽头[232]与1R 中心的固定抽头[210]之间的电压跟R-Q的固定抽头[231] 与1R 中心的固定抽头[210]之间的电压数值相同,只是方向相反的话,那么工作台低速移动的速度相同,而方向相反。
变前进为后退,到达换向的目的。
随着工作台往回移,挡铁拨回“前进换向”行程开关Q-HX,以及“前进减速”行程开关Q-JS。
工作台进入快速后退移动状态。
前进换后退过程结束。
工作台在后退状态下,减速和换向的过程与上述类似,只是直流控制回路的等效电路从图5(b)到图5(a),与上面正好相反,这里不再重复。
减速时有关接触(继电)器的状态如下:JI、Q(H)、JS、J吸合。