龙门刨床电气系统图全
- 格式:pdf
- 大小:1.07 MB
- 文档页数:27
运动控制课程设计与综合实验报告设计课题:龙门刨床电气控制系统的设计学院:信息科学与工程学院专业班级:自动化19874984班学号:-------姓名:+++++++++++指导教师:刘建良完成日期:2481年1月前言电气传动技术以电动机为控制对象,以微电子装置为控制核心,以电力电子功率变化装置为执行机构,在自动控制理论的指导下组成电气传动控制系统,以达到控制电机转速或位置的目的。
按照电动机的种类不同,电力拖动分为直流拖动和交流拖动两类。
采用直流电动机拖动成为直流拖动,采用交流电动机拖动的称为交流拖动。
直流电动机具有良好的起、制动性能,宜于在大范围内平滑调速,在许多需要调速或快速正反向的电力拖动领域中得到了广泛的应用。
直流拖动控制系统在理论上和时间上都比较成熟,而且从控制理论的角度看,它又是交流拖动系统的基础。
所以直流拖动在现在的电气自动化中占据了很重要的地位。
运动控制系统是自动化专业的主干专业课,具有很强的系统性、实践性和工程背景,运动控制系统课程设计的目的在于培养学生综合运用运动控制系统的知识和理论分析和解决运动控制系统设计问题,使学生建立正确的设计思想,掌握工程设计的一般程序、规范和方法,提高学生调查研究、查阅文献及正确实用技术资料、标准、手册等工具书的能力,理解分析、制定设计方案的能力,设计计算和绘图能力,实验研究及系统调试能力,编写设计说明书的能力。
我在设计过程中虽然花了不少的精力,但仍难免有错误和不足之处,殷切期望老师批评指正。
目录前言 (1)第一章概论 (3)1.1本次课程设计的研究课题 (3)1.2本次设计的基本要求 (3)第二章调速系统的方案选择 (4)2.1龙门刨床简介 (4)2.2龙门刨床的工艺特点及其对自动控制系统的要求 (4)2.3龙门刨床的动力来源的选择 (5)2.4调压调速的选择 (5)2.5主拖动电动机供电方式的选择 (7)2.6双闭环控制系统的选择 (7)2.7触发电路的选择 (8)2.8调压调速控制系统主回路的选择 (8)2.9可控硅-电动机直流调速的介绍 (9)第三章调速系统主回路的设计 (11)3.1主回路的电气原理图 (11)3.2主电路的过电压和过电流保护 (11)3.3主回路的参数计算 (12)第四章调速系统各功能模块的电路选择 (15)4.1逻辑无环流系统 (15)4.2逻辑装置的组成与分析: (18)4.3各功能模块的实现 (18)4.3.1速度调节器 (18)第五章双闭环调速系统的常规工程设计 (27)5.1调速系统的静态计算 (27)5.2调速系统的动态计算 (29)5.2.1电流调节器的设计 (29)5.2.2转速调节器的设计 (32)第六章系统的调试 (36)6.1系统的安装及检查 (36)6.2系统的调试 (36)6.3小结 (38)总结 (39)参考文献 (40)附一逻辑无环流系统实验报告 (41)附二龙门刨床电气控制系统原理图 (48)第一章 概论1.1本次课程设计的研究课题此次课程设计对象为龙门刨床电气控制系统。
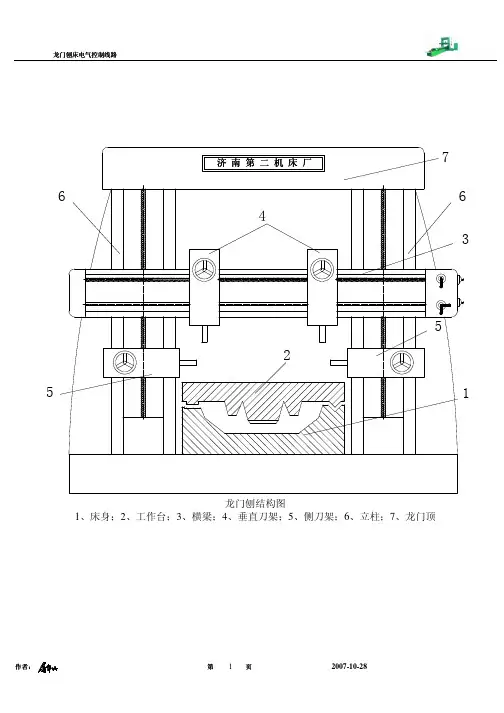
5龙门刨结构图1、床身;2、工作台;3、横梁;4、垂直刀架;5、侧刀架;6、立柱;7、龙门顶A系列龙门刨床电气系统示意图电源开关交流电动机(拖动、)扩大机电动机通风机电动机润滑泵电动机垂直刀架电动机右侧刀架电动机左侧刀架电动机横梁升降电动机横梁夹紧、放松电动机电源分开关电机放大机1.2KWS 1222222他励直流发电机他励直流电动机并励励磁直流发电机图2主拖动系统及工作台直流控制系统电原理图前进后退龙门刨床电气控制线路作者作者::第 页2007-10-285 T 380/127VKM1KT1KMYKM△KM2KM4KM5KM6KM7KM8KM9KA1KM10KM11KM12HL3控制变压器电源接通指示灯三联机组交流电机 Y-△启动控制垂直刀架 控制右侧刀架 控制左侧刀架 控制横梁上升 控制横梁下降 控制横梁运行指示横梁夹紧图3 交流控制系统电原理图1龙门刨床电气控制线路作者作者::第 页2007-10-286KM13KA2KA3KA4KA5KA6KA7KA8KA9KT2KM3横梁放松工作台前进工作台自动与调整连锁工作台后退后退换向时 接通 前进换向时 接通后退减速慢速 切入前进减速润滑泵 控制工作台低速 时接通工作台 磨削 控制横梁下降后回升延时图4 交流控制系统电原理图2电源开关交流电动机(拖动G 、G )扩大机电动机通风机电动机润滑泵电动机T 380/127V控制变压器电源接通指示灯三联机组交流电机△启动控制图主电机起动控制部分电气原理图KA1KM10KM11KM12横梁上升控制横梁下降控制横梁运行指示横梁夹紧K M 13横梁升降电动机横梁夹紧、放松 电动机KA3横梁放松KM13KT2横梁下降后回升延时SB3KM4KM5KM6KM7KM8KM9KA1KM10KM11KM12垂直刀架 控制右侧刀架 控制横梁上升 控制左侧刀架横梁下降 控制控制工作台前进工作台自动与调整连锁工作台后退后退换向时 接通 前进换向时 接通后退减速慢速 切入前进减速润滑泵 控制工作台低速时接通工作台磨削 控制前进减速前进换向前进越位后退减速后退换向后退越位ABDC前进减速前进换向前进越位后退减速后退换向后退越位AB前进减速前进换向前进越位后退减速后退换向后退越位AB前进减速前进减速前进换向前进越位后退减速后退换向AB前进换向前进减速前进换向前进越位后退减速后退换向后退越位AB前进减速前进换向前进越位后退减速后退换向后退越位DC后退减速前进减速前进换向前进越位后退减速后退换向后退越位DC后退换向起始状态前进之初,因SQ11、SQ8均被压下,有慢速切入控制前进开始后,先将SQ8复位,慢速切入控制结束继续前进,将SQ11复位,为后退减速作准备前进行程终了前,压下SQ12,先减速,进行慢速切出控制前进行程终了,压下SQ7,进行反向控制经过一段距离的越位,工作台反向撞块A将SQ7复位,慢速切出控制完成撞块A将SQ12复位,为前进减速控制作准备前进减速后退减速前进速度后退速度前进速度后退速度前进速度后退速度步进、步退控制电原理图图4-18给定、电压负反馈和电流正反馈环节-1-1图4-19桥形稳定环节RP1RP2图4-21加速度调节器1-12-1图4-22 停车制动及欠补偿环节图4-23 前进、后退等效电路图减速时的等效电路图KA2KA3KA4KA5KA6KA7KA8KA9KM3工作台前进工作台自动与调整连锁工作台后退后退换向时 接通 前进换向时 接通后退减速慢速 切入前进减速润滑泵 控制工作台低速 时接通工作台 磨削 控制工作台电气控制线路局部。
课题名称:B2012A 龙门刨床电气线路【实习目的】A 型龙门刨床电气控制系统既包括交、直流电动机、电器的继电器接触器控制,又包括连续反馈控制及扰动补偿前馈控制,属于复合控制系统。
它概括电气控制技术的主要内容,具有一定的典型性、综合性与复杂性。
通过实习使学生获得全面系统的基本训练,提高综合分析能力和测试维修技能。
【实习原理】龙门刨床用来加工各种平面、斜面、槽、更适合于加工大型而狭小成批的机械零件,如:机床床身、导轧、箱体、立柱等。
其生产工艺主要是刨削,控制目标是控制工作台自动往复循环运动和调速。
控制要求如下: 1、调速范围宽B2012A 系统采用电压调速,并加一级机械变速(齿轮变速) 30~10n n D minmax==低速档:6-60m/min ;高速档:9-90m/min ;在低速档和高速档,均能实现无级变速。
2、静差度在加工过程中,由于工件表面不平及材料不均匀度的影响,会导致切削力的变动,为保证工作台速度不致因切削力的变动而变化太大,以便保证加工精度。
B2012A 静差度为10% %100n n n s 0e0⨯-=3、工作台的往复运动能适应切削工艺要求,应实现自动往返循环 (1) 在切削速度较高时,为减小刀具切入工件时的冲击,应使刀慢速切入,然后增加到规定速度。
(2) 若切削速度冲击刀具所能承受,可以取消慢速切入。
(3) 在工作台前进或返回行程的末尾,工作台能自动减速,以使刀具慢速离开工件,防止工件边缘剥裂。
(4) 工作台速度低于10m/min,减速环节不起作用。
(5) 工作台自动循环速度图(6) 工作台没有慢速切入循环速度图(7) 工作台速度低于10m/min速度图磨削速度 1m/min5、调速方案满足负载性质的要求25m/min以下为恒转矩;25m/min以上为恒功率;B2012A采用机电联合调速。
6、工作台正反向过渡过程要快,工作台运行要稳定7、满足刀架运动的要求如:刀架的移动,进刀、退刀、抬刀等都与工作台的运动有机的配合8、设置必要的联锁9、系统的机械特性应具有下垂特性,当负荷过大时,使电机转速迅速下降,保护电机及机械。
第二章 B2012A型龙门刨床龙门刨床是现代机械工业中的主要生产机械之一,是自动化程度较高的机床。
主要用来加工各种平面、斜面、槽,更适合于加工大型而狭长的机械零件,如机床床身、导轨、箱体、立柱等。
龙门刨床在进行刨削加工时,其主运动是工作台的直线往复运动。
进给运动是刀具垂直于主运动的位移。
辅助运动有横梁的夹紧、放松及升降运动等。
近二十年来,龙门刨床的拖动系统有了很大的发展。
最早是交流感应电动机加离合器组成的拖动装置,以后用交流感应电动机加液压来实现工作台正反转的装置。
还发展了用自励放大机(转控机)和交磁放大机作调节器的直流发电机一电动机系统。
目前使用最广泛的A系列龙门刨床就是以交磁放大机作调节器的直流发电机一电动机系统。
本章将对B2012A型龙门刨床主传动的自动调速电路及控制线路的工作原理进行分析,并阐述其安装调试和常见故障及排除方法。
第一节 B2012A型龙门刨床主电路分析一、龙门刨床对电力拖动的要求在分析龙门刨床的自动控制系统之前,了解该机床切削时的工艺特点,明确对电力拖动的要求,对分析电路是十分必要的。
龙门刨床对电力拖动的要求和切削时的工艺特点如下:1、调速范围龙门刨床工作时要求能适应不同的切削刀具,还要具有经济的切削速度,因此要求拖动系统具有一定的调速范围:B2012A型龙门刨床的主拖动系统采用直流电动机的调压调速,并加一级机械变速,从而保证工作台的调速范围达1:20。
工作台低速挡的速度为6~60m/min;高速挡为9~90m/min。
在低速挡和高速挡范围内,均能实现无级调速,以便使用时可选择最合理的切削速度。
2、静差度在实际加工过程中,由于工件表面不平及材料不均匀度的影响,会导致切削力的变动。
为保证工作台速度不致因切削力的变动而变化太大,以便保证加工精度,所以要求系统的静差度一般为5%~10%,B2012A龙门刨床为10%;静差度是用来衡量负载变动时转速变化的程度;它是电动机由理想空载到额定负载的转速降与理想空载转速的比值。
项目六电气CAD工程实践实例
SB6,同时在右侧并联插入常开按钮SB7图块,用直线连接出线端,继续在下端点处插入线圈KM9,画直线与电源回线端相连。
图6-49 M7的反向运行控制回路
(7)用“多行文字”命令逐一添加元器件文字符号及编号,然后进入下一个电路的绘制(在添加文字时,相同元器件可以复制元件文字符号,然后修改数字编号)。
(四)龙门刨床横梁升降控制电路图绘制
横梁升降由交流电动机M8拖动,横梁的夹紧和放松由交流电动机M9拖动。
控制线路与前面的电机组启动线路、刀架控制电路并联连接,由变压器T进行供电。
绘制步骤如下。
(1)绘制交流电动机M8正向运行控制回路,M8带动横梁运动,如图6-50所示。
继续在电源
图6-50 M8正向运行控制线路。
概要B2010A系列龙门刨床是上世纪五十年代的产品,其调速系统采用旋转变流机组供电的 F―D系统。
该系统需要旋转变流机组,至少包含两台与调速电动机容量相当的旋转电机,还要一台励磁发电机,故存在设备多、体积大、费用高、效率低、安装须打地基、运行有噪声、维护不方便等缺点,但是系统的可逆运行很容易实现,且无论在正转还是反转减速时都能够实现回馈制动,因此在当时曾广泛地使用着,至今在尚未进行设备更新的地方仍使用着这种系统。
我从网上了解到,B2010A系列龙门刨床被誉为电气控制与电机调速之经典之作!目录前言 (5)第一章龙门刨床的简介 (6)1.1 龙门刨床的发展历史.................... (6)1.2 B2010A系列龙门刨床的特点.......... (7)第二章B2010A龙门刨床工况概述 (8)2.1龙门刨床对电力拖动的技术要求 (8)第三章B2010A龙门刨床详细原理与操作 (9)3.1 B2010A龙门刨床的电气控制原理 (9)3.2机组启动 (12)3.3步进或步退 (13)3.4循环前进或后退 (15)3.5减速和换向 (16)3.6 速度调节及制动 (19)第四章工作台拖动系统 (23)4.1拖动控制的发展状况 (23)4.2工作台拖动系统的保护 (24)4.3龙门刨床拖动系统的演变 (25)第五章变频器运用在B2010A龙门刨床..... .. (26)5.1 选型 (26)5.2. 控制原理 (28)第六章EMERSON变频器的特性应用 (30)6.1、注意变频器与电机的自调谐过程 (30)6.2、避免爬行 (30)6.4、使电机获得更好的起动性能 (30)6.3、换向运行的快速响应 (30)第七章常见故障及检修流程 (31)结论 (35)致谢 (36)参考文献 (37)前言本实训项目通过电动机调速系统总体方案设计、选择具有电机调速的典型代表B2010A系列龙门刨床、绘制B2010A系列龙门刨床电路原理图、B2010A系列龙门刨床各个设备的原理、以及刨床电机的调速原理、B2010A系列龙门刨床设备的维护与维修、安装、刨床现代的调速方式、以及与现代调速的对比。
主拖动部分(工作台)的原理图3.1.1工作台行程开关零位状态Figure 3.1 .1 table-state trip switch of zero龙门刨床工作台自动运行使由安装在床身的6个行程开关来控制的。
工作台侧面的燕尾槽中安装了四个撞块,工作台在运动中依靠这四个撞块去碰撞相应的行程开关,从而实现工作台的自动工作。
图 4.2.2(a)为各行程开关的零位状态,前进撞块A和B、后退撞块C和D 分布在行程开关两侧。
这6个行程开关是:前进减速开关ST10、前进换向开关ST12、前进安全限位开关ST1、后退减速开关ST11、后退换向开关ST13 、后退安全限位开关ST2。
工作前应根据加工工件加工长短来决定工作台的行程,并以此来调整前进撞块与后退撞块之间的距离,使A、B撞块位于床身六个行程开关的左侧,C、D撞块位于六个行程开关的右侧,并检查好使六个行程开关处于零位状态,才可以启动工作台工作。
工作台如在前进运行,前进末了,A撞块碰ST10;然后B撞块碰ST12,工作台经过一段越位后开始后退,后退开始时,撞块B使ST12复位,在后退A撞块使ST10复位;工作台继续后退。
后退末了,工件退出刀具后,后退撞块C碰ST11减速,D碰ST13换向,经过一段越位后后退换前进。
撞块使ST13复位,再前进,撞块C使ST11复位,照这样的方式循环工作。
如果前进时,碰撞ST12部起作用,在碰撞安全限位开关ST1,不使工作台由于电器失灵而冲出去。
后退由ST2实现保护。
图3.1.2工作台控制电路Figure 3.1.2 table control circuit工作台的控制必须在直流发电机的原动机M2Y-D起动完成后,即接触器KM3触点闭合,电柜通风机M11、M12接触器KM17触点闭合,直流电动机的励磁机G2励磁正常,失磁保护继电器KUC吸合。
其常开触点闭合之后才可进行。
(一)工作台步进、步退的控制工作台步进、步退是由悬挂在按钮站上的按钮SB8、SB12操作的电动控制。
5
龙门刨结构图
1、床身;
2、工作台;
3、横梁;
4、垂直刀架;
5、侧刀架;
6、立柱;
7、龙门顶
A系列龙门刨床电气系统示意图
电源开关
交流电动机(拖动、)扩大机电动机
通风机电动机润滑泵电动机垂直刀架电动机
右侧刀架电动机
左侧刀架电动机横梁升降电动机横梁夹紧、放松电动机电源分开关
电机放大机1.2KW
S 12
2
2
2
2
2他励直流发电机
他励直流电动机
并励励磁直流发电机
图2主拖动系统及工作台直流控制系统电原理图
前进后退
龙门刨床电气控制线路
作者作者::
第 页
2007-10-28
5 T 380/127V
KM1
KT1
KMY
KM△
KM2
KM4
KM5
KM6
KM7
KM8KM9KA1KM10
KM11
KM12
HL3
控制变压器
电源接通
指示灯三联机组交流电机 Y-△启动控制垂直刀架 控制右侧刀架 控制左侧刀架 控制横梁上升 控制横梁下降 控制
横梁运
行指示横梁夹紧图3 交流控制系统电原理图1
龙门刨床电气控制线路
作者作者::
第 页
2007-10-28
6
KM13KA2KA3KA4KA5KA6KA7KA8
KA9KT2
KM3横梁放松工作台前进
工作台自动
与调整连锁
工作台后退
后退换向时 接通 前进换向时 接通后退减速慢速 切入前进减速润滑泵 控制工作台低速 时接通工作台 磨削 控制横梁下降后回升延时
图4 交流控制系统电原理图2
电源开关
交流电动机(拖动G 、G )
扩大机电动机
通风机电动机
润滑泵电动机
T 380/127V
控制变压器
电源接通指示灯
三联机组交流电机
△启动控制
图主电机起动控制部分电气原理图
KA1
KM10
KM11KM12
横梁上升控制横梁下降控制横梁运行指示
横梁夹紧K M 13
横梁升降电动机横梁夹紧、放松 电动机
KA3横梁放松
KM13KT2
横梁下降后回升延时
SB3
KM4KM5KM6KM7KM8KM9KA1KM10
KM11
KM12
垂直刀架 控制
右侧刀架 控制
横梁上升 控制
左侧刀架横梁下降 控制
控制
工作台前进
工作台自动与调整连锁
工作台后退
后退换向时 接通 前进换向时 接通后退减速慢速 切入
前进减速润滑泵 控制工作台低速时
接通工作台
磨削 控制
前进减速
前进换向
前进越位
后退减速后退换向后退越位A
B
D
C
前进减速前进换向前进越位
后退减速
后退换向后退越位A
B
前进减速前进换向
前进越位
后退减速
后退换向后退
越位A
B
前进减速
前进减速前进换向前进越位
后退减速后退换向A
B
前进换向
前进减速前进换向前进越位
后退减速后退换向后退越位A
B
前进减速前进换向前进越位
后退减速
后退换向后退越位D
C
后退减速
前进减速前进换向前进越位
后退减速
后退换向后退越位D
C
后退换向
起始状态
前进之初,因SQ11、SQ8均被压下,有慢速切入控制
前进开始后,先将SQ8复位,慢速切入控制结束
继续前进,将SQ11复位,为后退减速作准备
前进行程终了前,压下SQ12,先减速,进行慢速切出控制
前进行程终了,压下SQ7,进行反向控制
经过一段距离的越位,工作台反向
撞块A将SQ7复位,慢速切出控制完成
撞块A将SQ12复位,为前进减速控制作准备
前进减速
后退减速
前进速度
后退速度
前进
速度
后退
速度
前进
速度
后退
速度
步进、步退控制电原理图
图4-18给定、电压负反馈和电流正反馈环节
-1
-1
图4-19桥形稳定环节
RP1RP2
图4-21加速度调节器
1-1
2-1
图4-22 停车制动及欠补偿环节
图4-23 前进、后退等效电路图
减速时的等效电路图
KA2KA3KA4KA5KA6KA7KA8
KA9
KM3工作台前进
工作台自动与调整连锁
工作台后退
后退换向时 接通 前进换向时 接通后退减速慢速 切入前进减速润滑泵 控制工作台低速 时接通工作台 磨削 控制
工作台电气控制线路局部。