职权运行流程示意图
- 格式:doc
- 大小:82.50 KB
- 文档页数:7
行政职权运行流程图示例一、行政许可类1-2项流程图适用民办初中、小学、幼儿园、教育机构的审批;招生2项。
1、民办学校、幼儿园及教育机构的审批流程图2、招生工作流程图二行政处罚类1-2项流程图适用对幼儿园、民办学校违法违规办学行为的处罚;社会组织和个人擅自举办民办学校的处罚2项。
1、对幼儿园民办学校违法、违规办学行为的处罚流程图2、社会组织和个人擅自举办民办学校的行政处罚流程图一般程序简易程序流程图六、行政确认流程图山城区中小学、幼儿园教师资格认定工作流程图合格通七、其它职权流程图适用“一单式”依法逐级上访;生源地助学贷款审批;普高助学金审批;学前幼儿补助审批;民办学校的招生简章和广告备案类1-10项1、“一单式”依法逐级上访流程图3-4、普高助学金(学前幼儿补助)申请工作流程图5、民办学校的招生简章和广告备案流程图6. 市科学技术奖评审流程图备注:流程图所指的“日”均为工作日。
省厅审批所需时间不计算在承诺期限内。
7.市科技成果鉴定初审流程图备注:流程图所指的“日”均为工作日。
省厅审批所需时间不计算在承诺期限内。
8.高新技术企业初审备注:流程图所指的“日”均为工作日。
省厅审批所需时间不计算在承诺期限内。
9.创新型企业试点初审备注:流程图所指的“日”均为工作日。
省厅审批所需时间不计算在承诺期限内。
10.工程技术研究中心初审备注:流程图所指的“日”均为工作日。
省厅审批所需时间不计算在承诺期限内。
乡镇党委员会职权运行流程图酝酿动议确定议题党委会审议党政联席会决议各牵头部门党政办收集议题→交由分管领导初审→党邀请相关人员列席会议→相关单位汇报工邀请相关人员列度会议→相关单位汇报工收集民情咨询专家党代表委书记审定→下发会议通知作→集体讨论→民主表决作→集体讨论→民主表决民意意见提案信息反馈执行决议考核评议同步监督公开栏网络报刊等新闻媒体信函开门评议列入年度目标考核党员群众监督新闻媒体监督纪委全程监督党代表监督各牵头部门乡镇党委员会职权运行流程图(重大决策)酝酿动议确定议题讨论决策各牵头部门党政办收集议题→交收集咨询党由分管领导初审→党委书记审定→下发会议通知邀请相关人员列度会议→相关单位汇报工作→集体讨论→民主表决→下发会议纪要民情专家代表信息反馈决策执行考核评议同步监督公开栏网络报刊等新闻媒体信函开门评议列入年度考核目标党员群众监督社会监督员纪委全程监督新闻媒体监督各牵头部门邮寄申请三、行 政 职 权 许 可 流 程 图申请人申请到登记场所提出申请 传真、电子邮件等申请受 理收到申请材料当场或 5 个工作日内完成申请材料的受理工作。
材料可当 场更正的,允许当场更正。
不属于许可范畴或不属于本 机关职权范围的,不予受理, 出具不予受理通知书。
告知 申请人向有关部门申请。
行政机关发现行政许可事项 直接关系他人重大利益的, 应告知利害关系人,申请人 和利害关系人有权进行陈述 和申辩,行政机关应当听取 申请人和利害关系人的意见。
申请材料齐全、符合法定形 式,或者申请人按照本行政 机关的要求提交全部补正申 请材料的,出具《受理通知 书》。
审 查决 定依法当场或在受理后 15 个工作日内作出许 可或不予许可的决定。
材料不齐全或者不符合法 定形式的,当场或 5 个工 作日内退回材料,发放一 次性补正告知。
依法应当听证的事项或行 政机关认为需要听证的其 他涉及公共利益的重大行 政许可事项,行政机关应 当向社会公告,并举行听 证。
附件1 权力运行流程示意图注:(1)示意图仅供试点单位梳理业务流程参考。
(2)业务主要环节原则上控制在4个以内,办理时限原则上控制在法定时限的60%以内。
(3)流程图采用简单规范的符号,要求有开始和结束的标示。
(4)流程图符号说明:椭圆形表示开始、结束;实线方框表示一个处理步骤;菱形框表示一个逻辑条件;箭头表示控制流向;虚线方框表示一个监察节点。
(5)信息公开类型 ○:对外主动公开;◑:对外授权公开;●:内部公开。
(6)项目监察类型 :内容监察;:时限监察;:收费监察;:流程监察。
≥70天 申报受理监察1、指南发布与申报受理2、项目立项管理3、实施过程管理4、验收结题管理 申报通知监察 局长办公会议 审定● 相关业务科室组织需求调研,提出年度选题方向,送分管局领导审核 发布年度重大专项备选项目申报通知○ 各单位法人在线申报、提交相关材料◑ 项目受理截止,项目数据分发业务处办理各推荐单位在线推荐项目,待系统审查通过,生成项目受理号○附件2电子监察点、监察规则分析示意表监察节点监察类型监察要素是否现有数据字段对象类型判断条件预警状态是否人工监察监察规则描述指南发布与申报受理内容监察申报指南是文本申报指南与局长办公会议审定的内容是否一致红灯是对正式发布的项目申报指南与局长办公会议审定的内容不一致的,给予红灯警示。
流程监察申报指南发布是文本指南未发布红灯否对项目指南未公开发布的给予红灯警示。
时限监察项目申报受理天数是数值指南发布到申报受理截止<70红灯否自指南发布到项目申报受理截止,少于70天的项目。
收费监察投诉举报否文本投诉举报内容红灯是科技项目申报办理全部免费,对擅自收费提供投诉举报实时预警提醒。
.项目立项管理内容监察专家评分是数值专家评分(“评审得分”)-平均分(“本组平均分”)=相差分值(“相差分值”) >=30黄灯否专家评分分值与平均分值相差30分以上(含30分)的,给予黄灯提示。
中和中学校长岗位主持学校全面工作流程图→校长岗位重大决策权力运行流程图→→校长岗位重要干部任免(奖惩)权力运行流程图校长岗位重大项目权力运行流程图校长岗位大额资金使用程序权力运行流程图→→→→校长岗位党支部会议权力运行流程图副校长岗位分管工作权力运行流程图→→→副校长岗位教师培训权力运行流程图副校长岗位学校德育工作开展及审核工作权力运行流程图副校长岗位参与“三重一大”决策权力运行流程图→→→副校长岗位党支部会议权力运行流程图政教主任岗位未成年人思想道德建设工作权力运行流程图→→→→→政教主任岗位评选优秀班级、优秀学生工作权力运行流程图→→→→政教主任岗位学生的教育与管理工作权力运行流程图→→→→政教主任岗位参与“三重一大”决策权力运行流程图→→→政教主任岗位党支部会议权力运行流程图团委书记岗位团员发展工作权力运行流程图→→团委书记岗位青少年学生组织建设工作权力运行流程图→→→团委书记岗位参与“三重一大”决策权力运行流程图→→→团委书记岗位党支部会议权力运行流程图总务主任岗位学校后勤管理工作的监督与检查权力运行流程图→→总务主任岗位校园安全工作的监督与检查工作流程图总务主任岗位物品采购工作权力运行流程图总务主任岗位参与“三重一大”事项决策权力运行图→→→总务主任岗位党支部会议权力运行流程图→工会主席岗位工会活动的组织与开展权力运行流程图工会主席岗位考勤评比工作权力运行流程图→总务主任岗位参与“三重一大”事项决策权力运行图→→→总务主任岗位党支部会议权力运行流程图→工会主席岗位教师职业道德建设工作权力运行流程图→→→→教导处教导主任岗位制定教学计划工作权力运行图教导处教导主任岗位教学过程常规管理工作权力运行图教导处教导主任岗位考务工作安排权力运行图→教导处教导主任岗位参与“三重一大”事项决策权力运行图→→→教导主任岗位党支部会议权力运行流程图教导副主任岗位组织教研活动工作权力运行流程图→→→教导副主任岗位科研课题、科研成果申报工作权力运行图→→→→教导副主任岗位参与“三重一大”事项决策权力运行图→→→党支部组织委员岗位党员发展工作权力运行流程图→党支部组织委员岗位评优工作权力运行流程图→党支部组织委员岗位党费收缴权力运行流程图→→组织委员岗位参与“三重一大”事项决策权力运行图→→→组织委员岗位党支部会议权力运行流程图→党支部宣传委员岗位宣传工作权力运行流程图→→→→→党支部宣传委员岗位组织党课工作权力运行流程图→→→→宣传委员岗位参与“三重一大”事项决策权力运行图→→→宣传委员岗位党支部会议权力运行流程图→教导干事岗位印制工作权力运行流程图→→教导干事岗位教材、教辅书、报刊等资料管理工作权力运行流程图→→档案员岗位业务档案管理权力运行流程图→→。
信阳市农业机械管理局行政职权运行流程图一、行政处罚类一般程序流程图1、行政处罚类一般程序流程图(管理科)重大行政处罚案件来源信阳市农机局管理科初步确认违法事实,责令停止违法行为不予立案 信阳市农机局登记立案移送有关部门信阳市农机局管理科调查取证不予处罚有陈述申辩意见无陈述申辩意见不申请听证 申请听证 信阳市农机局管理科提出初步处罚意见,处罚事先告知审批行政处罚事先告知 并告知陈述申辩权 告知听证权形成调查终结报告记录陈述申辩意见情节复杂或重大违法行为报法制机构审核备案组织听证制作听证笔录行政机关负责人审查,作出行政处罚决定 行政机关负责人集体讨论,作出行政处罚决定 信阳市农机局管理科7日内送达行政处罚决定 执行行政处罚决定(当事人不履行处罚决定的,行政机关依法强制执行或申请法院强制执行) 信阳市农机局结案(立卷归档) 信阳市农机局立案审批2、行政处罚类一般程序流程图(科教科)重大行政处罚案件来源信阳市农机局科教科初步确认违法事实,责令停止违法行为不予立案 信阳市农机局登记立案移送有关部门信阳市农机局科教科调查取证不予处罚 有陈述申辩意见 无陈述申辩意见不申请听证 申请听证信阳市农机局科教科提出初步处罚意见,处罚事先告知审批行政处罚事先告知 并告知陈述申辩权 告知听证权形成调查终结报告记录陈述申辩意见情节复杂或重大违法行为报法制机构审核备案组织听证 制作听证笔录行政机关负责人审查,作出行政处罚决定 行政机关负责人集体讨论,作出行政处罚决定 信阳市农机局科教科7日内送达行政处罚决定 执行行政处罚决定(当事人不履行处罚决定的,行政机关依法强制执行或申请法院强制执行) 信阳市农机局结案(立卷归档)信阳市农机局立案审批3、行政处罚类一般程序流程图(农机监理所)重大行政处罚案件来源信阳市农机局监理所初步确认违法事实,责令停止违法行为不予立案 信阳市农机局登记立案移送有关部门信阳市农机局监理所调查取证不予处罚 有陈述申辩意见 无陈述申辩意见不申请听证 申请听证信阳市农机局监理所提出初步处罚意见,处罚事先告知审批行政处罚事先告知 并告知陈述申辩权 告知听证权形成调查终结报告记录陈述申辩意见情节复杂或重大违法行为报法制机构审核备案组织听证 制作听证笔录行政机关负责人审查,作出行政处罚决定 行政机关负责人集体讨论,作出行政处罚决定 信阳市农机局监理所7日内送达行政处罚决定 执行行政处罚决定(当事人不履行处罚决定的,行政机关依法强制执行或申请法院强制执行) 信阳市农机局结案(立卷归档)信阳市农机局立案审批4、行政处罚类一般程序流程图(农机推广站)重大行政处罚案件来源信阳市农机局推广站初步确认违法事实,责令停止违法行为不予立案 信阳市农机局登记立案移送有关部门信阳市农机局推广站调查取证不予处罚 有陈述申辩意见 无陈述申辩意见不申请听证 申请听证信阳市农机局推广站提出初步处罚意见,处罚事先告知审批行政处罚事先告知 并告知陈述申辩权 告知听证权形成调查终结报告记录陈述申辩意见情节复杂或重大违法行为报法制机构审核备案组织听证 制作听证笔录行政机关负责人审查,作出行政处罚决定 行政机关负责人集体讨论,作出行政处罚决定 信阳市农机局推广站7日内送达行政处罚决定 执行行政处罚决定(当事人不履行处罚决定的,行政机关依法强制执行或申请法院强制执行) 信阳市农机局结案(立卷归档)信阳市农机局立案审批二、行政处罚类简易程序流程图出示证件、表明身份初步确认违法事实,责令停止违法行为调查取证当场告知处罚依据、处罚意见和陈述申辩权,并听取陈述申辩制作当场处罚决定书送达当场行政处罚决定书执行行政处罚决定(当事人不履行处罚决定的,行政机关依法强制执行或申请法院强制执行)当场处罚决定报行政机关备案结案(立卷归档)三、行政强制措施类流程图(农机监理所)依法作出其他处理信阳市农机局审查批准行政强制措施(紧急情况需当场实施行政强制措施的,依法补办批准手续)市农机监理所发现行政相对人有涉嫌违法行为,依法应当采取行政强制措施的情形当事人到场的,告知当事人采取行政强制措施的理由、依据以及当事人依法享有的权利和救济途径当事人不到场的,邀请见证人到场听取并审核当事人的陈述和申辩制作现场笔录,由当事人(或见证人)、执法人员签名或盖章确认,向当事人送达行政强制措施决定书经行政机关负责人审查,采取行政强制措施经行政机关负责人审查,不采取行政强制措施通知当事人到场,二名以上执法人员出示执法证件30日内查清事实,作出处理决定;情况复杂的经行政机关负责人批准,可以延长,但是延长期限不得超过30日。
浚县商务局行政职权运行流程图
一、行政处罚类
1、对外劳务合作的处罚流程图
备注:流程图所
指的“日”均为
工作日。
2、酒类、成品油、单用途预付卡违法行为的处罚等流程图
备注:流程图所
指的“日”均为
工作日。
二、行政检查类
1、酒类流通、单用途商业预付卡监督检查流程图
2、成品油监督检查流程图
三、其他职权类
1、外商投资企业设立、变更、终止备案登记
流程图
备注:流程图所
指的“日”均为工作日。
2.再生资源回收经营者备案流程图
备注:流程图所
指的“日”均为
工作日。
3、单用途商业预付卡发卡企业备案流程图
备注:流程图所指
的“日”均为工作
日。
4、对外劳务合作经营资格证书年审流程图
备注:流程图所指
的“日”均为工作
日。
行政处罚类—“对基层法律服务所具有超越业务范围的;违反业务收
费管理规定,擅自提高收费标准,自立名目乱收费的等行为的处罚”
取证)
行政处罚类—“对未取得律师执业证书的人员以律师名义从事法律服
务业务的处罚”
取证)
备注:
行政处罚类—“对律师事务所拒绝法律援助机构的指派,不安排本所
律师办理法律援助案件的处罚”
证)
行政处罚类—“对法律服务人员无正当理由拒绝接受、擅自终止法律
援助案件或办理法律援助案件收取财物等情况的处罚”
取证)
服务电话:8770148
监督电话:8772168 备注:
行政处罚类—“对公证机构跨执业区域受理公证业务的处罚”
取证)
行政处罚类—“对社区服刑人员违反有关管理规定的处罚”
行政处罚类—“基层法律服务工作者具有以贬损他人、抬高自己、虚假承诺或者支付介绍费等不正当手段争揽业务的;曾担任法官的基层法律服务工作者,在离任不满二年内担任原任职法院审理的诉讼案件的代理人的等
行为的处罚”
服务电话:8770148 监督电话:8772168 备注:。
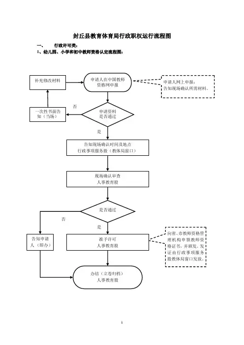
封丘县教育体育局行政职权运行流程图一、行政许可类:1、幼儿园、小学和初中教师资格认定流程图:2、学前和民办机构许可审批流程图:3、县级高危险性体育经营活动审批流程图:二、行政处罚1、弄虚作假、骗取教师资格,品行不良、侮辱学生,影响恶劣的处罚:(接下页)(续上页)2.(1)对学校擅自分立、合并民办学校的处罚(2)对擅自改变民办学校名称、层次、类别和举办者的处罚(3)对发布虚假招生简章或者广告,骗取钱财的处罚(4)对非法颁发或者伪造学历证书、结业证书、培训证书、职业资格证书的处罚(5)对管理混乱严重影响教育教学,产生恶劣社会影响的处罚(6)对提交虚假证明文件或者采取其他欺诈手段隐瞒重要事实骗取办学许可证的处罚(7)对伪造、变造、买卖、出租、出借办学许可证的处罚(8)对恶意终止办学、抽逃资金或者挪用办学经费的处罚3.(1)对民办学校的章程未规定出资人要求取得合理回报,出资人擅自取得回报的处罚(2)对民办学校出资人依法不得取得回报而取得回报的处罚(3)对民办学校出资人不从办学结余而从民办学校的其他经费中提取回报的处罚(4)对民办学校不依照本条例的规定计算办学结余或者确定取得回报的比例的处罚(5)对民办学校出资人从办学结余中取得回报的比例过高,产生恶劣社会影响的处罚4.对教育类民办学校未依法将出资人取得回报的有关材料、财务状况报审批机关备案,或者向审批机关备案的材料不真实的处罚5.(1)对民办学校理事会、董事会或者其他形式决策机构未依法履行职责的处罚(2)对民办学校教学条件明显不能满足教学要求、教育教学质量低下,未及时采取措施的处罚(3)对民办学校校舍或者其他教育教学设施、设备存在重大安全隐患,未及时采取措施的处罚(4)对民办学校未依法进行会计核算、编制财务会计报告,财务、资产管理混乱的处罚 5)对民办学校侵犯受教育者的合法权益,产生恶劣社会影响的处罚(6)对民办学校违反国家规定聘任、解聘教师的处罚以上2 ——5项的流程图均为:(接下页)(续上页)6、对公共体育设施管理单位违规的处罚流程图(接上页)否7、对体育经营者未采取防范措施防止危险发生或者对可能危及人身安全的体育经营项目未作出明确警示和真实说明的处罚流程图:(接上页)否行政处罚8—12项流程图均为以下:六、行政检查类1、对射击竞技体育运动单位的运动枪支管理工作进行安全检查流程图否2和3、幼儿园办园许可证年检、民办学校办学许可证年检流程图:4、对经营危险性体育项目的检查流程图:否七、行政确认类12、三级裁判员技术等级称号授予流程图:3、三级社会体育指导员技术等级称号授予流程图:否八、其他职权类1、民办学校的招生简章和广告备案流程图:2、校车使用许可审查意见流程图:3、体育类民办非企业单位成立、变更、注销、登记前的审查以及年度检查的初审流程图:批准(体育卫生艺术股)4、县级体育社会团体登记、变更、注销审查及年度检查初审流程图:批准(体育卫生艺术股)5、对在学校体育工作中成绩显著的单位和个人的奖励流程图:6、对培养体育后备人才单位和教练员的奖励、参加上级组织举办的综合性运动会取得优异成绩的运动员及其教练员、工作人员给予表彰和奖励流程图:7、对侵占、破坏公共体育设施的限期改正流程图:8、对发展教育事业做出突出贡献的奖励流程图:9、临时占用体育场地设施审批流程图:批准(体育卫生艺术股)10、对社会体育指导员违规的处理流程图:11。
附件1 权力运行流程示意图注:(1)示意图仅供试点单位梳理业务流程参考。
(2)业务主要环节原则上控制在4个以内,办理时限原则上控制在法定时限的60%以内。
(3)流程图采用简单规范的符号,要求有开始和结束的标示。
(4)流程图符号说明:椭圆形表示开始、结束;实线方框表示一个处理步骤;菱形框表示一个逻辑条件;箭头表示控制流向;虚线方框表示一个监察节点。
(5)信息公开类型 ○:对外主动公开;◑:对外授权公开;●:内部公开。
(6)项目监察类型 :内容监察;:时限监察;:收费监察;:流程监察。
≥70天 申报受理监察1、指南发布与申报受理2、项目立项管理3、实施过程管理4、验收结题管理 申报通知监察 局长办公会议 审定● 相关业务科室组织需求调研,提出年度选题方向,送分管局领导审核 发布年度重大专项备选项目申报通知○ 各单位法人在线申报、提交相关材料◑ 项目受理截止,项目数据分发业务处办理各推荐单位在线推荐项目,待系统审查通过,生成项目受理号○附件2电子监察点、监察规则分析示意表监察节点监察类型监察要素是否现有数据字段对象类型判断条件预警状态是否人工监察监察规则描述指南发布与申报受理内容监察申报指南是文本申报指南与局长办公会议审定的内容是否一致红灯是对正式发布的项目申报指南与局长办公会议审定的内容不一致的,给予红灯警示。
流程监察申报指南发布是文本指南未发布红灯否对项目指南未公开发布的给予红灯警示。
时限监察项目申报受理天数是数值指南发布到申报受理截止<70红灯否自指南发布到项目申报受理截止,少于70天的项目。
收费监察投诉举报否文本投诉举报内容红灯是科技项目申报办理全部免费,对擅自收费提供投诉举报实时预警提醒。
.项目立项管理内容监察专家评分是数值专家评分(“评审得分”)-平均分(“本组平均分”)=相差分值(“相差分值”) >=30黄灯否专家评分分值与平均分值相差30分以上(含30分)的,给予黄灯提示。
附件2:办事流程图2.1临时工招聘职权运行流程图临时工招聘职权流程岗位说明2.2物资采购职权运行流程图物资采购职权运行岗位说明2.3教学业务费、水电费审查职权运行流程图教学业务费、水电费审查职权运行岗位说明2.4学校年度仪器设备购置职权运行流程图学校年度仪器设备购置职权流程岗位说明2.5教学基地建设及经费管理职权运行流程图教学基地建设及经费管理职权运行流程说明2.6教材招标职权运行流程图教材招标职权运行岗位说明2.7教材征订管理职权运行流程图教材征订管理职权运行岗位说明没 通过2.8“专升本”招生与录取职权流程图“专升本”招生与录取职权流程岗位说明2.9 教育教学类成果奖(包括教材奖)申报职权运行流程图单位领导2.10教育教学研究课题申报立项职权运行流程图教育教学研究课题申报立项职权流程岗位说明2.11学籍学历“三大注册”职权运行流程图学籍学历“三大注册”职权运行岗位说明2.12学籍管理科职权运行流程图学籍管理科职权运行岗位说明2.13转专业职权运行流程图转专业职权运行岗位说明2.14教学事故认定与处理职权运行流程图教学事故认定与处理管理职权岗位说明序号岗位名称岗位职能办理人员办理地点和时间承诺办结期限投诉举报电话和地址科员根据许可意见、决定,审查各材料的准确性,并根据审核结果办理孙锋学籍管理科上班工作日7个工作日83813487校办公楼4222.15印章管理职权运行图印章管理职权流程岗位说明2.16车辆管理职权运行图车辆管理职权流程岗位说明2.17设备及办公用品采购管理职权运行流程图设备及办公用品采购管理职权流程岗位说明2.18高教所招生管理职权运行流程图高教所招生管理职权流程岗位说明序号岗位名称岗位职能办理人员办理地点和时间承诺办结期限投诉举报电话和地址1 副所长高教所研究生招生管理、审核考生资格、组织复试宁飔教务处三楼上班工作日根据主管部门要求83813487校办公楼4222 所长高教所研究生招生管理、审核考张继河教务处三楼上根据主管部83813487。
市场和质量监督管理局行政职权运行流程图行政处罚类—“对虚报注册资本,取得公司登记的处罚”调查取证)行政处罚类—“对提交虚假材料或者采取其他欺诈手段隐瞒重要事实,取得公司登记的处罚”调查取证)行政处罚类—“对公司的发起人、股东虚假出资,未交付或者未按期交付作为出资的货币或者非货币财产的处罚”市场和质量监督管理局行政职权运行流程图调查取证)监督电话:备注:行政处罚类—“对公司的发起人、股东在公司成立后,抽逃其出资的处罚”查取证)行政处罚类—“对公司在合并、分立、减少注册资本或者进行清算时,不依照本法规定通知或者公告债权人的处罚”调查取证)行政处罚类—“对公司在进行清算时,隐匿财产,对资产负债表或者财产清单作虚假记载或者在未清偿债务前分配公司财产的处罚”查取证)行政处罚类—“对公司在清算期间开展与清算无关的经营活动的处罚”查取证)行政处罚类—“清算组不依照规定向公司登记机关报送清算报告,或者报送清算报告隐瞒重要事实或者有重大遗漏的处罚”查取证)非法收入或者侵占公司财产的处罚”行政处罚类—“对承担资产评估、验资或者验证的机构查取证)服务电话: 监督电话: 备注:提供虚假材料的处罚”行政处罚类—“对承担资产评估、验资或者验证的机构查取证)监督电话: 备注:因过失提供有重大遗漏的报告的处罚”查取证)监督电话:备注:公司,而冒用有限责任公司或者股份有限公司名义的处罚”行政处罚类—“对公司成立后无正当理由超过六个月未开业查取证)监督电话:备注:的,或者开业后自行停业连续六个月以上的处罚”行政处罚类—“对公司登记事项发生变更时,未办理有调查取证)监督电话:备注:关变更登记的处罚”行政处罚类—“对外国公司违反本法规定,擅自在中国查取证)备注:境内设立分支机构的处罚”查取证)监督电话:备注:会公共利益的严重违法行为的处罚”查取证)监督电话:备注:罚”调查取证)监督电话:备注:执照的处罚”行政处罚类—“对未将营业执照置于住所或者营业场查取证)监督电话: 备注:所醒目位置的处罚”证)市场和质量监督管理局行政职权运行流程图行政处罚类—“对使用未经核准登记注册的企业名称从事生产经营活动的;对擅自改变企业名称的;对擅自转让或者出租自己的企业名称的;对企业的印章、银行账户、牌匾、信笺所使用的名称与登记注册的企业名称不相同等的处罚”市场和质量监督管理局行政职权运行流程图行政处罚类—“对擅自使用他人已经登记注册的企业名称或者有其他侵犯他人企业名称专用权行为的处罚”承办机构:企业监管股(立案)企业监管股(调查取证) 企业监管股(审查) 企业监管股(处罚前告知)企业监管股负责人(决定) 企业监管股(送达) 企业监管股(执行) 服务电话: 监督电话: 备注:市场和质量监督管理局行政职权运行流程图行政处罚类—“对隐瞒真实情况,采用欺骗手段取得法定代表人资格的处罚”查取证)而未办理的处罚”市场和质量监督管理局行政职权运行流程图行政处罚类—“对许可证、其他批准文件被依法吊销、撤销或者有效期届满的,仍擅自从事经营活动的处罚”承办机构:企业监管股(立案)企业监管股(调查取证) 企业监管股(审查) 企业监管股(处罚前告知) 企业监管股负责人(决定) 企业监管股(送达) 企业监管股(执行) 服务电话: 监督电话: 备注:市场和质量监督管理局行政职权运行流程图行政处罚类—“对无照经营行为的处罚”证)市场和质量监督管理局行政职权运行流程图行政处罚类—“对为无照经营行为提供生产经营场所、运输、保管、仓储等条件的处罚”取证)被查封、扣押财物的处罚”市场和质量监督管理局行政职权运行流程图行政处罚类—“对依法经有关行政部门认定为不合格的商品,消费者要求退货的,经营者不按购货凭证上标明的商品价格负责退货,收取折旧费和其他费用的处罚”市场和质量监督管理局行政职权运行流程图行政处罚类—“对消费者提出的修理、重作、更换、退货、补足商品数量、退还货款和服务费用或者赔偿损失的要求,经营者故意拖延或者无理拒绝的处罚”取证)市场和质量监督管理局行政职权运行流程图行政处罚类—“对于免除或部分免除经营者对其所提供的商品或服务应当承担的修理、重作、更换、退货、补足商品数量、退还货款和服务费用、赔偿损失等责任的;对排除或限制消费者提出修理、更换、退货、赔偿损失以及获得违约金和其他合理赔偿的权利的;对规定经营者有权任意变更或者解除合同,限制消费者依法变更或者解除合同权利的;对规定经营者单方享有解释权或者最终解释权的;对其他对消费者不公平、不合理的规定的处罚”行政处罚类—“对从事为消费者提供修理、加工、安装、装饰装修等服务的经营者谎报用工用料,故意损坏、偷换零部件或材料,使用不符合国家质量标准或与约定不相符的零部件或材料,更换不需要更换的零部件,或偷工减料、加收费用,损害消费者权益的;对从事房屋租赁、家政服务等中介服务的经营者提供虚假信息或采取欺骗、恶意串通等手段损害消费者权益的处罚”)市场和质量监督管理局行政职权运行流程图行政处罚类—“对检验不合格的产品的经营者未按规定限期改正的处罚”市场和质量监督管理局行政职权运行流程图 行政处罚类—“对未停止销售工商行政管理部门公布的有危及人身、财产安全危险且不符合强制性标准商承办机构:经济检查股(立案)经济检查股(调查取证) 经济检查股(审查) 经济检查股(处罚前告知) 经济检查股负责人(决定) 经济检查股(送达) 经济检查股(执行)服务电话: 监督电话: 备注:市场和质量监督管理局行政职权运行流程图行政处罚类—“对故意交付部分货物(货款)骗取全部货款(货物),或者骗取货款(货物),拒不交会货物(货款)行为的;对定作方无正当理由终止履行合同,不退还所收定金、质量保证金、履约保证金、预付款、材料款等费用,或者拒不支付加工费的;对利用虚假广告的信息,诱人签订合同,骗取中介费、立项费、培训费、质量保证金等费用的;对非法为他人提供盖有公章的空白合同文本、证件和银行账号的处罚”者采用格式条款订立合同的,经营者在格式条款中免除自己责任的,或经营者在格式条款中加重消费者责任的,或经营者在格式条款中加重消费者责任的;对经营者与消费者采用格式条款订立合同的,经营者在格式条款中排除消费者权利的处罚”服务电话: 监督电话: 备注:市场和质量监督管理局行政职权运行流程图 行政处罚类—“对拍卖企业未在拍卖现场公布工商行政管理机关的监督电话。
关键环节权力、重点岗位行政职权运行流程图事业单位人事管理科职权运行流程图事业单岗位设置业务办理流程图职称申报关键环节权力运行流程图人力资源服务许可或劳务派遣许可重点岗位行政职权运行流程图职业技能培训机构设立许可重点岗位行政职权运行流程图职业技能培训许可重点岗位行政职权运行流程图不定时工作制重点岗位行政职权运行流程图企业职工提前退休、企业年金备案核准关键环节权力运行流程图工资福利业务职权运行图工伤认定、劳动能力鉴定重点岗位行政职权运行流程图基金监督关键环节权力运行流程图信访工作流程图劳动人事争议调解、仲裁流程图被征地农民社会保障措施落实情况审核受理流程图备注:(一)申报审核时需提供如下材料(一式二份):1.征地项目所在地人民政府关于审核《征地项目被征地农民社会保障方案》的函(原件),附《征地项目被征地农民社会保障方案》;2.征地项目县(市)人力资源和社会保障局关于该项目被征地农民社会保险问题说明(原件);3.县(市)国土资源部门关于该项目用地的土地权属汇总表(原件);4. 县(市)国土资源部门关于该项目用地被征地农民土地权属面积花名册暨参加社会养老保险情况统计表(原件);5.县(市)财政部门盖章的社会保障资金进帐单及收款收据(复印件加盖公章)。
(二)州级人社部门审核权限:1.征收农村集体土地,耕地面积在35公顷以下、其他土地在70公顷以下,由州级人社部门负责审核;2.征收农村集体,土地耕地面积在35公顷以上、其他土地在70公顷以上、属于基本农田的,由州级人社部门逐级报省级人社部门审核。
劳动保障监察投诉关键环节权力运行流程图失业保险待遇支付审批流程图社会保险补贴办理流程州社保局企业办理养老保险工作流程几点说明:一、社会保险参保1、社会保险参保实行属地管理原则;2、参保单位应出示以下证件和资料:(1)营业执照、批准成立证件或其他核准执业证件;(2)国家质量技术监督部门颁发的组织机构统一代码证书; (3)法人登记证及社会保险登记证;对参保单位提供的相关证件和资料,养老保险经办机构应当即时受理,并在规定的工作时间内审核完毕,符合规定的予以办理参保手续。
获嘉县市场局行政职权运行流程图
案件违法事实、证据、调查取证程序、法律适用、处罚种类和幅度,当事人陈述和申辩理由等。
听证程序: 重大行政处罚,告知当事人享有
要求听证的权利。
书面告知 N TW 暂执法大队、各基层市场监督管理所、市场监管股等) (接下页)二、行政处罚流程图(此图适用于:行政处罚类职权)
是 不予立案 陈述、申辩权:
行政处罚直
接关系他人重大利益的,申请人和利害关系人享有陈述、申辩权。
告知陈述、申
辩权,并听取陈述、
申辩意见。
调查取证 维台执法大队、各基层市场监督管理所、市场监管股等) 审查 (政策法规股) 审查内容: 组织听证,制作听证笔录 (政策法规股) 告知内容: 拟做出处罚决定的事实、理由、依据、处罚内容,以及当事人享有的陈述、
申辩权和听证权。
是否进行听证
(接上页)。
禹州市水务局行政职权运行流程图一、行政许可类 1.取水许可审批流程图政务服务中心水利窗口接收行政许可申请材料 受 理收到申请材料之日起,市水务局当场决定是否受理不属于许可范畴或不属于本机关职权范围的,不予受理,并向申请人出具加盖本行政机关专用印章和注明日期的书面凭证 申请材料齐全、符合法定形式,或者申请人按照本行政机关的要求提交全部补正申请材料的,予以受理,并向申请人出具加盖本行政机关专用印章和注明日期的书面凭证。
虽然申请材料不齐全或不符合法定形式,但当场未告知申请人补正材料的,自收到申请材料之日起即为受理申请材料不齐全或不符合法定形式的,应当当场一次告知申请人需要补正的全部内容申请人提交的申请材料齐全,符合法定形式,行政机关能够当场作出决定的,应当当场作出书面的行政许可决定有依法应当听证的事项或行政机关认为需要听证的事项,告知申请人、利害关系人享有要求听证的权利 政务服务中心水利窗口送达行政许可申请人 节约用水办公室核查(两名以上行政执法人员进行) 不申请听证 决 定市水务局作出决定(1日内完成)行政许可事项直接关系他人重大利益,申请人和利害关系人有陈述和申辩权的,告知陈述申辩权听取申请人和利害关系人的陈述申辩意见 申请听证 准予许可 不予许可 政务服务中心水利窗口结案(立卷归档)1.技术审查(1日内完成); 2.现场查勘(1日内完成)。
组织听证 制作听证笔录 备注:流程图所指的“日”均为工作日。
听证所需时间不计算在承诺期限内。
审 查政务服务股审查(2日内完成)申 请申请人提出行政许可申请2.河道管理范围内建设项目审批流程图政务服务中心水利窗口接收行政许可申请材料受 理收到申请材料之日起,市水务局当场决定是否受理不属于许可范畴或不属于本机关职权范围的,不予受理,并向申请人出具加盖本行政机关专用印章和注明日期的书面凭证申请材料齐全、符合法定形式,或者申请人按照本行政机关的要求提交全部补正申请材料的,予以受理,并向申请人出具加盖本行政机关专用印章和注明日期的书面凭证。
职权运行流程示意图
1.人员任免流程图
(科级干部以下)
任职:办
公室根据
市组织部
和人事局文件,制定任职工作方案并报市人事部门批准宣传动
员:公
示任职
岗位和
职数。
竞争岗
位:竞岗
人员填
报竞岗
报名表,
并认真
撰写个
人述职
报告。
个人述
职:主要
从个人
“德、
能、勤、
绩、廉”
五个方
面进行
述职和
述廉
民主测评:
A组:局领
导班子全
体成员;B
组:局机关
中层干部
和各支队
负责人
组织考察:1、
考察小组采取
个别谈话和座
谈的形式分别
形成综合性的
书面报告。
2、测评积分:
A组测评总有
效票÷A组参
加测评总人数
×50%+B组测
评总有效票÷
B组参加测评
总人数×50%。
组织确
定:考察
小组向
局班子
会报告,
经研究
最终确
定岗位
和职位
人选
任前公
示:按
规定公
示7日
—1—
2.物资采购分配流程图
申报:
各科室提出需求申请,编报需购物品计划。
编报:
计财科对照
政府采购目
录编制申请
计划和财务
预算
审批:
视物品或数
额情况分别
采取局负责
人审批或局
办公会集体
研究审批
采购:
政府采
购中心
集中审
批
承办:计
财科统
一负责
办理
供货:指
定供货
单位供
应物品
入帐:审
批报销
记帐
机关公开:
公开时限:7个工作日
查验、登记、入库
支付:财政集中支付中心汇款
—2—
3.财务支出流程图
申请:各科室(支队)申请用款计划编制:计
财科汇
总编制
用款计
划
依据:取
得合法
票据
审核:科室
(支队)负
责人签字、
计财科审
核
审批:
局长审
批
支付:财
政集中
支付中
心汇款
编制:
(1):月度
财务报表
(2):年度
财务收支决
算
公示:财务收支情
况每季度内部公
示一次
重大支出局长办公会
集体讨论
支付:局
财务直
接汇款
—3—
4.建设违法行为行政处罚流程图
发现违法建设行为审查立案根据违法事实,依法
提出处理意见
涉嫌犯罪,移
送司法机关
不予处罚
拟处罚,法规
科审核把关
分管领导、主
要领导批准
送达处罚告知书
送达听证告知书
主管领导决定,情节
复杂的重大案件集体
讨论决定并报市政府
批准
实施处罚决定
送达处罚决定书
当事人履行处罚决定
结案
重大处罚案件的备案工作
当事人陈述申辩
听证
放弃听证
向主管领导提出意见
当事人不履行处罚决定,申
请法院强制执行
—4—
5.违法用地行政处罚流程图
受理立案调查
取证
涉嫌犯罪,
移送司法机
关
不予处罚
拟处罚,法
规科审查
分管领导、主
要领导批准
送达处罚
告知书
送达听证
告知书
主管领导决
定,情节复杂
的重大案件集
体讨论决定并
报市政府批准
实施处罚决定
送达处罚决定
书
当事人履行处
罚决定
结案
重大处罚案件的
备案工作
当事人陈
述申辩
听证
放弃听
证
向主管领导提
出意见
当事人不履行处罚决定,申请法
院强制执行
案件
来源上级转办
巡查发现提交调
查报告
案件领导
小组审核
群众举报
卫片监测
—5 —
— 6 —
6.城市管理行政处罚程序图
现场检查
简易程序
告知当事人事实、听取陈述
支队领导核查、填写处罚决定审批表
法规科审查
立案、填写立案审批表 案件来源
上级转办 其他途径 下当场处罚决定书
案件领导小组审核
群众举报 巡查发现 一般程序
案卷备案
调查取证
分管副局长审核
局长审批
听证程序
局务会
下达行政处罚权利告知书
下达行政处罚决定告知书 执行
城管支队出具结案报告
案卷备案
强制执行程序
当事人不执行
数额较大 案情复杂
—7 —。