火电厂煤粉锅炉设备及运行详解共21页文档
- 格式:ppt
- 大小:2.02 MB
- 文档页数:21
锅炉和煤粉制造设备的运行与维护5.1一般注意事项5.1.1观察锅炉燃烧情况时,须戴防护眼镜或用有色玻璃遮着眼睛。
在锅炉升火期间或燃烧不稳时,不可站在看火门、检查门或喷燃器检查孔的正对面。
5.1.2当制粉设备内部有煤粉空气混合物流动时,禁止打开检查门。
开启锅炉的看火门、检查门、灰渣门时,须缓慢小心,工作人员须站在门后,并看好向两旁躲避的退路。
5.1.3在锅炉运行中应经常检查锅炉承压部件有无泄漏现象。
5.1.4冲洗水位计时,应站在水位计的侧面,打开阀门时应缓慢小心。
5.1.5当锅炉发现灭火时,禁止采用关小风门、继续给粉、给油、给气使用爆燃的方法来引火。
锅炉灭火后,必须立即停止给粉、给油、给气;只有经过充分通风后,始可重新点火。
5.1.6捅下煤管或煤斗内的堵煤,要使用专用的工具。
捅下煤管堵煤时,不准用身体顶着工具或放在胸前用手推着工具,以防打伤。
工具用毕,应即取出。
捅煤斗堵煤时,应站在煤斗上面的平台上进行,严禁进入煤斗站在煤层上捅堵煤。
5.1.7给煤机在运行中发生卡、堵时,禁止用手直接拨堵塞的煤。
如必须用手直接工作,应将给煤机停下,并做好防止转动的措施。
5.1.8在锅炉运行中,不准带压对承压部件进行焊接、捻缝、紧螺丝等工作。
在特殊紧急情况下,需带压进行上述工作时,必须采取安全可靠措施,并经厂主管生产的副厂长(或总工程师)批准,方可进行临时处理。
检修后的锅炉,允许在升火过程中热紧法兰、人孔、手孔等处的螺丝。
但热紧时,锅炉汽压不准超过下列数值:额定汽压小于5.884MPa的:0.294MPa;额定汽压大于5.884MPa的:0.490MPa。
热紧螺丝只许由有经验的人员进行,并必须使用标准扳手,不准接长扳手的手把。
5.1.9运行锅炉应按照《电力工业锅炉压力容器监察规程》的规定进行定期检验。
5.2吹灰5.2.1锅炉吹灰前,应适当提高燃烧室负压,并保持燃烧稳定。
5.2.2使用移动式吹灰设备时,工作人员应戴手套和防护眼镜。
火电厂设备及运行课程
摘要:
1.火电厂设备概述
2.火电厂设备的运行原理
3.火电厂设备的运行维护
4.火电厂设备的运行优化
5.火电厂设备的安全管理
正文:
火电厂是利用化石燃料(如煤炭、天然气等)燃烧产生高温高压的蒸汽驱动发电机组发电的厂房设施。
火电厂的设备主要包括锅炉、汽轮机、发电机、辅助设备等。
火电厂设备的运行是指在火电厂中,发电设备和辅助设备按照一定的工作程序进行工作,以实现发电的过程。
火电厂设备的运行原理主要包括:燃料在锅炉内燃烧产生高温高压的蒸汽,蒸汽通过管道送到汽轮机,驱动汽轮机旋转,汽轮机连接发电机,发电机通过旋转产生电能。
火电厂设备的运行维护是指对设备进行定期检修、保养和故障排除,以确保设备的正常运行和延长设备使用寿命。
火电厂设备的运行优化是指通过调整设备的工作参数,提高设备的工作效率和经济效益。
锅炉和煤粉制造设备的运行与维护范本锅炉和煤粉制造设备是许多工业生产过程中必不可少的重要设备。
为了保证其正常运行和延长使用寿命,对于其运行和维护工作必须十分重视。
本文将对锅炉和煤粉制造设备的运行和维护进行详细阐述。
一、设备运行技术要求1. 熟悉设备的结构和工作原理,掌握设备的操作规程和运行要求。
2. 严格按照设备的操作参数进行操作,不能超过设备的额定工作范围。
3. 对于锅炉和煤粉制造设备的启动和停机过程要规范操作,确保设备能够稳定运行。
4. 定期对设备进行巡视和检查,发现问题及时处理,以防止设备故障导致生产中断。
二、设备维护技术要求1. 设备维护必须定期进行,包括日常维护和定期大修。
2. 日常维护包括设备的清洁、润滑、紧固和检查等工作,要做到细致入微。
3. 定期大修是指定期对设备进行全面的检修和保养,修复和更换老化和损坏的部件。
4. 对于设备的维护要注意维护记录的完整性,记录设备的运行参数和维护情况,以便于分析和判断设备的工作状态。
三、常见故障的排除方法1. 设备出现渗漏问题时,要及时检查密封件和管道连接处是否松动,并进行紧固或更换。
2. 当设备出现堵塞现象时,要首先检查输送系统和排气系统是否通畅,若有堵塞应进行清理。
3. 如果设备出现振动或噪音过大的问题,要检查设备的安装是否牢固,是否有异物进入设备内部。
4. 设备电气系统出现故障时,要检查电气元件和线路是否正常,排除电气设备故障导致的问题。
四、设备节能措施1. 合理调整锅炉的燃烧参数,保证燃烧效率,减少能源的浪费。
2. 定期清洗锅炉的烟道和换热器,保持换热效果,减少能量的损耗。
3. 对于煤粉制造设备,要采用先进的煤粉制备技术,减少煤炭的消耗。
4. 对于设备的维护保养工作要做好,避免因设备老化和故障导致能量的浪费。
五、设备安全操作1. 操作人员必须熟悉设备的安全操作规程,穿戴好防护用具,并确保设备的正常运行。
2. 对于锅炉和煤粉制造设备的操作,必须注意防火、防爆等安全要求,严禁使用易燃易爆物品。
锅炉和煤粉制造设备的运行与维护是保障工业生产安全和提高效率的重要环节。
本文将从运行和维护两个方面进行介绍,内容如下:一、锅炉和煤粉制造设备的运行1. 锅炉运行锅炉是工业生产中常用的热能设备,用于供应工艺热能或发电。
锅炉运行需要注意以下几点:- 操作规程:锅炉运行必须遵循标准操作规程,包括开机前的检查、运行过程中的监测和关闭前的操作等。
- 备足燃料:锅炉运行需要提供足够的燃料,确保连续稳定的供热能。
- 正常燃烧:在燃烧过程中,需注意燃烧效率和环保要求,避免产生过量废气和污染物。
- 温度控制:根据需求调节锅炉的温度,保持设备的运行稳定,同时确保设备的安全。
2. 锅炉维护为了保证锅炉的安全运行和延长使用寿命,需要进行定期维护和检修:- 清洁锅炉:锅炉内部需定期清理,去除附着物和结垢,以保证热交换器的效率。
- 检查配件:定期检查锅炉配件如阀门、泵、传感器等,确保其正常运行,并及时更换磨损配件。
- 润滑和检漏:对于需要润滑的部件,需要定期加注润滑油,避免零部件磨损。
同时定期检查是否有漏油现象,及时处理。
- 检查电气设备:锅炉配套的电气设备也需要定期检查,确保其正常运行,减少故障和事故的发生。
锅炉和煤粉制造设备的运行与维护(二)1. 煤粉制造设备的运行煤粉制造设备主要通过煤磨机将煤炭研磨成煤粉,为锅炉提供燃料,其运行需要注意以下几点:- 检查磨损:定期检查煤磨机的磨损情况,及时更换磨损件,保证设备的正常运行和研磨效率。
- 清洁煤粉:煤粉制造设备内部需要定期清洁,避免煤尘积聚,影响设备运行和煤粉质量。
- 控制研磨粒度:根据锅炉工况要求,调节煤磨机的出磨颗粒度,确保锅炉的燃烧效率和安全运行。
2. 煤粉制造设备的维护为了保证煤粉制造设备的正常运行和生产质量,需要进行定期维护和检修:- 清理煤尘:定期清理煤粉制造设备周围的煤尘,防止积聚造成火灾隐患。
- 检查传动部件:煤磨机的传动部件如电机、减速器等需要定期检查润滑和磨损情况,保证传动效率和传动稳定性。
锅炉和煤粉制造设备的运行与维护范本锅炉和煤粉制造设备是工业生产中常见的设备,其运行与维护对于生产过程的稳定和效益的提升至关重要。
本文将从运行和维护两个方面,分别探讨锅炉和煤粉制造设备的范本。
一、锅炉的运行与维护范本1. 运行范本(1) 安全运行:- 严格按照国家和地方相关法规和标准进行操作,确保安全生产;- 配备足够数量的消防设备,进行定期检查和保养;- 严禁使用不合格的燃料和助燃剂。
(2) 运行稳定:- 保持合理的水位和压力,遵守运行指导书中的操作规程;- 定期进行锅炉水质检测,确保水质符合要求;- 注意观察排放情况,及时处理燃烧故障。
(3) 节能环保:- 定期对锅炉进行燃烧调整,保持燃烧效率在合理范围内;- 加强锅炉烟气排放治理,保证排放符合环保要求;- 合理利用余热,提高能源利用效率。
2. 维护范本(1) 定期检查:- 每季度对锅炉进行一次全面检查,包括水位、水压、燃烧器等;- 定期清理锅炉内部的沉积物,防止管道堵塞;- 检查燃烧器和风道的磨损情况,及时更换损坏部件。
(2) 润滑保养:- 每月对锅炉的润滑部件进行一次润滑,并记录润滑情况;- 定期检查和更换锅炉的润滑油,确保润滑系统正常运行;- 注意检查和维护锅炉的附件设备,如泵、压力表等。
(3) 校准调试:- 定期对锅炉水位计、压力表等仪表设备进行校准;- 保持调节阀和控制元件的正常工作,确保锅炉的自动控制系统稳定;- 对锅炉排烟器和泄压装置进行定期检查和校验。
锅炉和煤粉制造设备的运行与维护范本(二)1. 运行范本(1) 安全运行:- 严格按照设备操作规程进行操作,严禁乱用、滥用设备;- 注意设备的绝缘和接地工作,确保运行过程中的电气安全。
(2) 生产稳定:- 严格控制煤粉制造过程中的温度、湿度、气流等参数,确保产品质量一致;- 定期清理设备的内部和周围,防止杂物进入影响设备运行。
(3) 节能环保:- 优化设备运行参数,提高产能和能源利用效率;- 加强粉尘收集和排放治理,减少粉尘对环境的污染。
火力发电厂设备及生产运行介绍概述火力发电厂是利用燃料燃烧,产生高温高压蒸汽驱动涡轮发电的厂房设施。
其电力生产效率高、灵活性强,是目前世界上电力生产的主要形式之一。
本文将介绍火力发电厂的设备以及生产运行过程。
火力发电厂设备下面将介绍火力发电厂的主要设备:发电机发电机是将热能转化成电能的主要设备。
其作用是转换电力能源,使之转化为交流电。
目前,市场上主要使用同步发电机。
锅炉锅炉是燃料燃烧产生蒸汽的主要设备,其将燃料中的化学能转化为热能。
根据用途和方式可分为热水锅炉、蒸汽锅炉以及压力容器。
市场上主要使用的是火管锅炉和水管锅炉。
燃料输送系统燃料输送系统是将原料输送到锅炉的主要设备之一,其主要包括储煤场、皮带输送机和煤粉制备系统。
其中,煤粉制备系统是煤炭、水和空气按一定比例混合制成可燃性的粉状物质,以便于其输送到锅炉中。
脱硫脱硝设备为减少燃烧过程中产生的二氧化硫和氮氧化物对环境以及人体的危害,火电厂设有脱硫和脱硝设备。
这些设备包括烧碱吸收法、湿法石灰石-石膏法、SCR脱硝和SNCR脱硝等。
烟气脱灰设备为减少烟气中灰尘对环境和机器设备的污染,火电厂设有脱灰设备。
目前市场上主要使用的是电除尘器和袋式除尘器。
火力发电厂生产运行过程火力发电厂的生产运行过程可分为燃料输送、燃烧、蒸汽发电及烟气处理四个主要流程。
燃料输送火力发电厂的燃料输送系统包括煤炭的储藏、输送和粉煤的制备。
首先,煤炭在储煤场被储备,然后通过皮带、索道等输送至锅炉房。
在锅炉房,煤粉制备系统将煤炭加工成粉煤,然后通过输送机送至锅炉中。
燃烧燃烧是火力发电厂的核心过程。
锅炉中的煤粉通过皮带输送机送达到锅炉中,在燃烧器的作用下燃烧产生高温高压的烟气,进而产生蒸汽驱动发电机工作。
但这过程中,锅炉中的污染物比如二氧化硫、氮氧化物和氧化物也会一同被排放出来,这时烟气经过除尘装置去除灰尘和颗粒物,而且经过脱硫和脱硝后的烟气可更好的符合环保要求。
蒸汽发电燃烧产生的高温高压烟气通过锅炉中的传热面传递给水,使水加热并产生蒸汽。
锅炉和煤粉制造设备的运行与维护锅炉和煤粉制造设备是燃煤发电厂等工业设施中的重要组成部分,它们的运行和维护对设备安全和运行稳定性至关重要。
本文将从运行和维护两个方面进行探讨。
一、锅炉的运行与维护1. 锅炉的运行锅炉的运行涉及到燃煤的供给、风机的调控、烟气的排放等方面。
首先,燃煤的供给需要保证燃煤的质量和供给的稳定性,避免煤堆太高或太低对炉内温度的影响。
其次,风机的调控需要根据炉内的温度和压力变化合理调整风速和风量,防止燃烧不充分或燃料过度,同时保证烟气的排放达标。
最后,烟气的排放需要监测烟气中的二氧化硫、氮氧化物等有害物质的浓度,并通过污染治理设备进行净化处理。
2. 锅炉的维护锅炉的维护包括定期保养和故障排除两个方面。
定期保养主要包括炉膛的清扫和除灰、换热面的清洗和防腐等。
其中,炉膛的清扫和除灰需要定期将燃煤的灰渣和积存的污垢清理干净,以保证炉内的燃烧空间和烟气通道畅通,防止燃烧不良和磨损,同时减少烟气中的颗粒物排放。
换热面的清洗和防腐需要通过化学清洗和表面涂层等方式,去除换热面上的污垢和热效果降低的因素,保证换热效率和设备寿命。
故障排除主要是对设备故障进行及时定位和修复,保证设备的正常运行。
锅炉和煤粉制造设备的运行与维护(二)1. 煤粉制造设备的运行煤粉制造设备主要包括煤破碎机、磨煤机等设备,其运行需要保证煤炭的供给和破碎煤粉的细度。
首先,煤炭的供给需要保证煤炭的均匀性和稳定性,避免煤炭中夹杂杂质对设备的损坏。
其次,煤破碎机需要将煤炭破碎成合适的大小,避免煤粉过粗或过细对燃烧过程的影响。
最后,磨煤机需要将破碎后的煤粉细度控制在一定范围内,以保证煤粉的燃烧效率。
此外,煤粉制造设备的运行中还需要注意设备的冷却和润滑,避免设备过热和摩擦损坏。
2. 煤粉制造设备的维护煤粉制造设备的维护涉及到设备的保养和故障排除。
保养方面主要包括设备的定期检查和维护,如清洗设备表面的灰尘和油污、检查设备的传动部件和电气设备等,保证设备的正常运行和避免潜在故障。
火电厂煤粉燃烧系统火力发电厂简称火电厂,是利用煤、石油、天然气作为燃料生产电能的工厂,它的基本生产过程是:燃料在锅炉中燃烧加热水生成蒸汽,将燃料的化学能转变成热能,蒸汽压力推动汽轮机旋转,热能转换成机械能,然后汽轮机带动发电机旋转,将机械能转变成电能。
今天我的课题是煤粉燃烧系统。
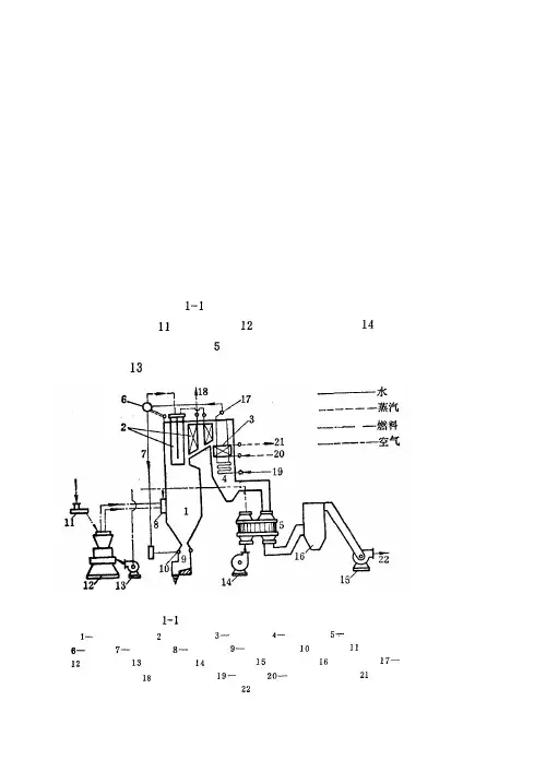
一、煤粉的制备及预热用火车或汽车、轮船等将煤运至电厂的煤场后,经初步筛选处理,用输煤皮带送到锅炉的原煤仓。
煤从原煤仓落入煤斗,由给煤机送入磨煤机磨成煤粉,并经空气预热器来的一次风干燥并带至粗粉分离器。
在粗粉分离器中将不合格的粗粉分离返回磨煤机再行磨制,合格的细煤粉被一次风带入旋风分离器,使煤粉与空气分离后进入煤粉仓。
二、煤粉气流的着火和燃烧(一)煤粉气流的着火煤粉空气混合物经燃烧器以射流方式被喷入炉膛后,经过湍流扩散和回流,卷吸周围的高温烟气,同时又受到炉膛四周高温火焰的辐射,被迅速加热,热量到达一定温度后就开始着火。
有实验表明,煤粉气流的着火温度要比煤的着火温度高一些。
因此,煤粉空气混合物较难着火,这是煤粉燃烧的特点之一。
在锅炉燃烧中,希望煤粉气流离开燃烧器喷口不远处就能稳定地着火,如果着火过早可能使燃烧器喷口因过热被烧坏,也易使喷口附近结渣;如果着火太迟,就会推迟整个燃烧过程,使煤粉来不及烧完就离开炉膛,增大机械不完全燃烧损失。
另外着火推迟还会使火焰中心上移,造成炉膛出口处的受热面结渣。
煤粉气流着火后就开始燃烧,形成火炬,着火以前是吸热阶段,需要从周围介质中吸收一定的热量来提高煤粉气流的温度,着火以后才是放热过程。
将煤粉气流加热到着火温度所需的热量称为着火热。
它包括加热煤粉及空气(一次风),并使煤粉中水分加热、蒸发、过热所需热量。
(二)煤粉燃烧的三个阶段煤粉同空气以射流的方式经喷燃器喷入炉膛,在悬浮状态下燃烧,从燃烧器出口,煤粉的燃烧过程大致可分为以下三个阶段:1.着火前的准备阶段煤粉气流喷人炉内至着火这一阶段为着火前的准备阶段。
电厂的锅炉设备和功能介绍电厂的锅炉设备,听起来可能有点儿枯燥,但其实这玩意儿可是个宝贝!咱们就先从它的基本功能说起吧,锅炉就像是电厂的心脏,把水加热成蒸汽,再把这些蒸汽用来驱动涡轮发电。
嘿,想象一下,你早上喝的热水,经过锅炉的魔法,居然能变成电,真是太酷了吧!锅炉工作的时候,那可是一阵轰鸣声,就像一台巨大的机器在打呼噜,真让人心里有种说不出的感动。
说到锅炉,就得提提它的结构。
锅炉有个外壳,里面的水通过燃烧的热量变成蒸汽,水温可以高得像夏天的烈日,达到几百度。
这里面可是藏着大秘密,锅炉的材料可不能马虎,得是耐高温、耐腐蚀的东西。
你想啊,要是锅炉用的是普通材料,那可就真是个大麻烦,随时可能“打瞌睡”泄露热量。
锅炉里还有个水位计,像是一个小卫兵,时时刻刻监控着水的高度,确保锅炉不会“渴死”或“淹死”。
这真是一种细心的设计啊!锅炉的种类也不少,常见的有火管锅炉和水管锅炉。
火管锅炉就像是一个大肚子,火焰在里面穿行,水在外面包围。
水管锅炉则是水在管子里流动,火焰围着管子转,这样可以更快地加热。
各有各的好处,火管锅炉适合小型电厂,而水管锅炉则能承受更大的压力,就像一个强壮的小伙子。
各种锅炉都有自己的“拿手绝活”,真的可以说是各显神通。
在锅炉的运作过程中,安全是头等大事。
锅炉里压力可不小,蒸汽一旦释放,后果可想而知。
为了确保安全,锅炉上配备了各种阀门和安全装置,这些就像是锅炉的“护身符”。
如果压力过高,安全阀会自动打开,给锅炉“松口气”,避免了大麻烦。
再说了,锅炉还需要定期检修,就像人要定期体检,确保它的“身体”健康,才能持续为我们提供电力。
在环保方面,锅炉也在不断进化,新的技术能减少废气排放,利用清洁能源。
比如,有些电厂的锅炉可以使用生物质燃料,既能发电又能保护环境,这可是个双赢的好主意。
想想看,喝着清晨的咖啡,靠着清洁的电力,生活真是越来越美好了。
锅炉不仅仅是个设备,更是一种智慧的结晶。
它在电厂里默默无闻地工作,就像那些勤劳的小蜜蜂,为我们的生活提供源源不断的动力。
煤粉锅炉简介煤粉锅炉是一种常见的工业锅炉设备,由于其高热效率和低污染排放的特点,广泛应用于工厂、发电厂等场所。
本文将介绍煤粉锅炉的基本原理、工作过程以及维护保养等相关内容。
基本原理煤粉锅炉利用煤粉燃烧产生的热能来加热锅炉内的水,从而产生蒸汽。
煤粉燃烧的过程主要包括煤粉的氧化反应和煤粉颗粒的燃烧。
在煤粉燃烧过程中,煤粉与空气中的氧气发生反应,释放出热能,将锅炉内的水加热至高温,形成蒸汽。
工作过程1.燃烧系统:燃烧系统由煤粉仓、煤粉输送系统、燃烧室和烟道组成。
煤粉从煤粉仓中输送至燃烧室,在燃烧室中与空气混合燃烧,产生高温烟气。
烟气经过烟道排出,同时将热量传递给锅炉中的水。
2.蒸汽发生器:锅炉中的水经过加热后转化为蒸汽,蒸汽进入汽轮机等设备进行能量转换。
3.净化系统:煤粉燃烧过程中会产生大量的烟尘和废气,需要通过净化系统进行处理,减少对环境的污染。
优点1.高热效率:煤粉锅炉采用高温燃烧技术,煤炭燃烧更充分,热效率较高,有利于节约能源。
2.环保低污染:煤粉锅炉采用先进的燃烧技术和净化系统,能够有效降低烟气中的二氧化硫、氮氧化物和颗粒物排放,减少对大气环境的污染。
3.运行稳定可靠:煤粉锅炉具有较高的自动化控制水平,能够实现高效稳定的运行,提高生产效率。
缺点1.燃料选择有限:煤粉锅炉只能使用煤炭作为燃料,对于一些地区资源丰富但缺乏煤炭的地方来说,煤粉锅炉可能不太适用。
2.建设成本较高:煤粉锅炉的建设成本较高,包括设备采购和安装费用,可能对一些小型企业来说经济上不太合适。
3.烟气净化需要投入较多:由于煤粉燃烧会产生较多的污染物,对烟气净化系统的投入也较多,增加了企业的运行成本。
维护保养为确保煤粉锅炉的正常运行,需要对其进行定期的维护保养工作。
1. 清理燃烧室:定期清理燃烧室内的灰渣和煤渣,避免对燃烧效果产生不良影响。
2. 检查煤粉输送系统:检查煤粉输送系统的运行情况,确保输送畅通,及时修复漏气和堵塞等问题。
煤粉锅炉运营方案一、锅炉日常操作1、设备检查煤粉锅炉在运行之前,需要进行设备检查,包括排查燃烧器、风扇、水位计、安全阀、控制面板等设备是否正常。
特别是煤粉输送系统,应检查输送管道、输送设备、阀门等是否有异常。
2、点火操作在点火之前,需检查煤粉锅炉的炉排、燃烧器是否清洁,炉膛内是否有积灰、积尘现象。
点火时应按照燃烧系统的操作规程,注意检查火焰是否正常,避免出现不完全燃烧现象。
3、运行监控煤粉锅炉在运行过程中,需要对锅炉的参数进行监控,包括水位、燃烧温度、压力等参数的变化情况。
及时发现并处理异常情况,确保锅炉的安全运行。
二、维护保养1、燃烧器维护煤粉锅炉的燃烧器是实现热能利用的关键设备,平时需要对燃烧器进行定期检查和维护,清除积炭、检查喷嘴、风门、火焰探测器等部件的工作情况。
2、燃烧系统清洁煤粉锅炉的燃烧系统容易受到颗粒物的影响,长时间使用后会积存一定量的灰尘和积炭,影响热量的传递效率。
因此,需要定期对燃烧系统进行清洁,维护其运行效率。
3、水处理水质的问题会直接影响煤粉锅炉的运行效率和使用寿命,特别是在硬水区域,长期使用会导致锅炉管道内结垢、腐蚀等情况。
因此,需要建立完善的水处理系统,对进水进行软化处理,定期进行清洗和更换。
三、安全管理1、安全意识培训作为一种特种设备,煤粉锅炉需要经过专业培训才能操作。
企业应定期开展安全生产培训,完善操作规程,加强员工的安全意识,规范操作行为。
2、安全设备检查煤粉锅炉上需要安装一系列安全设备,例如安全阀、压力表、水位计等,为了确保安全设备的实时可用性,需要定期检查,保证其完好有效。
3、事故应急预案企业应建立完善的事故应急预案,包括火灾、燃气泄漏、煤粉爆炸等安全事故的处理流程和紧急救援措施。
员工应定期进行应急演练,提高应对突发事件的能力。
四、节能技术1、燃烧控制优化燃烧控制是提高煤粉锅炉能效的关键,通过调整空气与煤粉的比例,控制燃烧温度和风量,减少燃料的浪费,提高热能利用率。
锅炉和煤粉制造设备的运行与维护模版锅炉和煤粉制造设备的运行与维护是保障工业生产正常进行的重要环节,合理的运行与维护可以提高设备的效率和使用寿命。
下面将从设备的运行与维护两个方面进行详细介绍。
一、锅炉的运行与维护1. 运行锅炉的正常运行对于工业生产来说至关重要。
在运行锅炉之前,首先要对锅炉进行检查和准备工作,包括检查炉膛、锅筒、烟管等各个部位的完好性和清洁度,确保供水和燃料的畅通,并对燃烧设备进行调整和检修。
然后,对锅炉进行点火和预热,确保炉温达到要求后,才能投入正常生产。
在锅炉的运行过程中,需要保持合理的火力和水位,以确保蒸汽的产量和压力稳定。
同时,要对锅炉的各项参数进行监测和调整,如烟气温度、烟气含氧量、燃烧效率等。
如果发现参数异常,需要及时采取措施,如调整燃烧器的火焰形状、增加或减少供水量等,以确保锅炉的正常运行。
2. 维护锅炉的维护是保证设备长期稳定运行的重要措施。
在正常使用期间,应按照规定定期进行检修和保养。
其中,常见的维护工作包括:(一)清洗和疏通。
定期清洗炉膛、锅筒、烟管和烟道等部位的灰渣和结垢,防止灰渣积聚和烟道堵塞,影响燃烧和传热效果。
(二)更换燃烧设备。
锅炉的燃烧设备,如燃烧器、喷嘴等,在长时间的使用后会出现损坏或磨损,需要及时更换,以确保燃烧效率和安全性。
(三)检修和更换附件。
锅炉的附件,如水位计、压力表、安全阀等,也需要定期进行检修和更换,以确保其准确性和可靠性。
(四)润滑和防腐。
锅炉的各个运动部位,如齿轮、轴承等,需要定期进行润滑和防腐处理,以减少摩擦和腐蚀,延长使用寿命。
二、煤粉制造设备的运行与维护1. 运行煤粉制造设备是煤炭工业生产过程中的重要设备,其运行对煤炭工艺的稳定性和生产效率有着直接影响。
在运行煤粉制造设备之前,需要对设备进行检查和准备工作,包括检查颚式破碎机、研磨机、输送机等设备的完好性和清洁度,确保煤炭的供给和粉磨设备的畅通。
同时,还要对设备进行调整和检修,确保破碎和粉磨效果达到要求。