精品工业设备安装设备吊装工艺流程图
- 格式:doc
- 大小:25.51 KB
- 文档页数:1
起重吊装标准规范最新版一、工程概况根据《起重吊装标准规范最新版》的要求,本次起重吊装工程为某大型工业设备安装项目,工程地点位于XX市XX工业园区,工程内容包括大型设备吊装、搬运及安装。
工程规模较大,涉及设备多,吊装作业环境复杂,需严格按照规范进行吊装作业。
二、吊装管理(一)、吊装施工组织流程1. 吊装前准备:根据工程需求,编制吊装施工方案,明确吊装工艺、吊装设备、吊装人员等,并进行安全技术交底。
2. 设备检查:检查吊装设备、工器具、安全防护设施等,确保设备完好、性能稳定、安全可靠。
3. 吊装作业:按照施工方案进行吊装作业,严格遵守操作规程,确保吊装作业顺利进行。
4. 吊装完成后验收:对吊装完成的设备进行检查、调试,确保设备安装质量符合要求。
5. 吊装作业总结:对吊装作业过程进行总结,分析存在的问题,不断优化吊装工艺。
(二)、现场吊装组织机构1. 项目部:负责整个吊装工程的组织实施,协调各相关部门及施工队伍,确保工程顺利进行。
2. 施工队:负责具体吊装作业的实施,包括设备吊装、搬运、安装等。
3. 安全员:负责现场安全监督,检查吊装作业的安全措施,发现问题及时整改。
4. 质量员:负责吊装工程质量的检查、验收,确保工程质量符合规范要求。
(三)、管理职责1. 项目部:负责组织编制吊装施工方案,对吊装作业进行统一协调、管理,确保工程进度、质量和安全。
2. 施工队:严格按照吊装施工方案进行作业,遵守操作规程,确保吊装作业安全、高效、优质完成。
3. 安全员:负责现场安全监督,对吊装作业人员进行安全教育,查处安全隐患,防止事故发生。
4. 质量员:对吊装作业过程进行质量检查,发现问题及时整改,确保工程质量。
三、工器具的选用1. 根据吊装设备重量、尺寸、形状及作业环境,选用合适的起重机械和工器具,包括但不限于以下几种:a. 汽车起重机:适用于大型设备吊装,具有较高的起重能力和灵活的移动性能。
b. 桥式起重机:适用于室内重型设备吊装,具有稳定的起重性能和较大的作业范围。
吊装作业施工方案一、施工安装流程图: 1、安装工艺流程:场地三通一平→构件进场→吊机进场→屋面梁(楼层梁)安装→檩条支撑系杆安装→涂料工程→屋面系统安装→零星构件安装→装饰工程施工→收尾拆除施工设备→交工。
2、屋面系统安装工艺流程:准备工作→屋面大梁安装校正→屋面檀条压杆支撑安装固定→天沟安装→雨排水管道安装固定。
3、屋面梁连接程序:对接调整→安装螺栓固定→安装高强螺栓→高强螺栓初拧→高强螺栓终拧→密封。
二、钢结构工程安装 1、吊装前准备工作: 安装前应对基础轴线和标高,预埋板位置、预埋与混凝土紧贴性进行检查,检测和办理交接手续,其基础应符合如下要求: A基础砼强度达到设计要求。
B基础的轴线标志和标高基准点准确、齐全。
C基础顶面预埋钢板做为梁的支承面,其支承面、预埋板的允许偏差应符合规范要求。
项次、项目允许偏差 1 支座表面(1)标高(2)水平度 ±1.5mm1/1500ⅰ 2、预埋板位置(注意截面处)(1)在支座范围内(2)在支座范围外 ±5.0mm±10.0mm超出规定的偏差,在吊装之前应设法消除,构件制作允许偏差应符合规范要求。
准备好所需的吊具、吊索、钢丝绳、电焊机及劳保用品,为调整构件的标高准备好各种规格的铁垫片、钢楔。
三、起重机械选择: 本工程计划选用QY25-25T汽车式起重机分别承担主钢梁、楼层梁、钢屋面以及其他所有钢构件的装卸及安装。
1.本工程吊装使用起重机技术参数最大起重量25吨起复机臂(三节)共30米长(25米)2.吊装方法按塔吊出厂说明书的要求臂最长吊重0.8吨, 最大起重不准超过3吨,吊车司机掌握不同的距离进行吊物重量,不能超负荷工作。
吊是用14的钢丝绳制作成6米4米8米长的吊具钢丝绳两根采用人工编扣,每种长度各1付在使用时要经常检查吊具的磨损情况.3.吊物吊物前必须检查,吊具卡件的位置钢丝绳的位置,和物与卡扣的中心,平横的位置物与塔吊的位置、重量、等放发出信号民进行吊装。
机电安装施工步序与流程图1.工程测量基本程序:建立测量控制网→设置纵横中心线→设置标高基准点→设置沉降观测点→安装过程测量控制→实测记录等。
2.3.机械设备安装的一般程序为:施工准备→设备开箱检查→基础测量放线→基础检查验收→垫铁设置→设备吊装就位→设备安装调整→设备固定与灌浆→零部件清洗与装配→润滑与设备加油→设备试运转→工程验收。
4.电气装置安装的施工程序:(一)电气装置安装的施工一般程序电气装置安装的施工一般程序:埋管与埋件→设备安装→电线与电缆敷设→回路接通→通电检查试验及调试→试运行→交付使用。
(二)常用电气装置安装的施工程序1.旋转电机的施工程序2.电站发电机的施工程序:定子就位→检查及电气试验→穿转子→调整空气间隙→附属设备及管路安装→氢冷发电机的整体气密性试验等。
在定子就位后和穿转子前,要对发电机全面进行检查,分别测定定子和转子绕组的绝缘。
2.变压器的施工程序油浸电力变压器的一般安装工序:开箱检查→本体密封检验→绝缘判定→设备就位→器身检查→附件安装→滤油→注油→整体密封试验。
3.母线安装的施工程序封闭母线的安装程序:核对设备位置及支架位置尺寸、封闭母线开箱检查及核对尺寸→封闭母线吊装→封闭母线找正固定→导体焊接→外壳焊接→电气试验→封闭母线与设备连接。
35kV以下架空电力线路施工要求架空电力线路安装程序:挖电杆和拉线坑→基础埋设→电杆组合→横担安装→绝缘子安装→立杆→拉线安装→导线架设。
施工程序流程图:部分工序施工程序:1.变压器安装:2.成套配电盘及开关柜安装:3.电动机检查接线:电压1KV下、容量100KW以下电动机的检查:4.配管及管内穿线:5.电缆敷设:6.照明工程:成套配电柜(开关柜)的安装顺序:开箱检查→二次搬运→安装固定→母线安装→二次小线连接→试验调整→送电运行验收。
变压器的施工程序:开箱检查→变压器二次搬运→变压器安装→附件安装→变压器检查及交接试验→送电前检查→送电运行验收。
设备吊装工艺美文欣赏1、 走过春的田野,趟过夏的激流,来到秋天就是安静祥和的世界。
秋天,虽没有玫瑰的芳香,却有秋菊的淡雅,没有繁花似锦,却有硕果累累。
秋天,没有夏日的激情,却有浪漫的温情,没有春的奔放,却有收获的喜悦。
清风落叶舞秋韵,枝头硕果醉秋容。
秋天是甘美的酒,秋天是壮丽的诗,秋天是动人的歌。
2、 人的一生就是一个储蓄的过程,在奋斗的时候储存了希望;在耕耘的时候储存了一粒种子;在旅行的时候储存了风景;在微笑的时候储存了快乐。
聪明的人善于储蓄,在漫长而短暂的人生旅途中,学会储蓄每一个闪光的瞬间,然后用它们酿成一杯美好的回忆,在四季的变幻与交替之间,散发浓香,珍藏一生!3、 春天来了,我要把心灵放回萦绕柔肠的远方。
让心灵长出北归大雁的翅膀,乘着吹动彩云的熏风,捧着湿润江南的霡霂,唱着荡漾晨舟的渔歌,沾着充盈夜窗的芬芳,回到久别的家乡。
我翻开解冻的泥土,挖出埋藏在这里的梦,让她沐浴灿烂的阳光,期待她慢慢长出枝蔓,结下向往已久的真爱的果实。
4、 好好享受生活吧,每个人都是幸福的。
人生山一程,水一程,轻握一份懂得,将牵挂折叠,将幸福尽收,带着明媚,温暖前行,只要心是温润的,再遥远的路也会走的安然,回眸处,愿阳光时时明媚,愿生活处处晴好。
5、 漂然月色,时光随风远逝,悄然又到雨季,花,依旧美;心,依旧静。
月的柔情,夜懂;心的清澈,雨懂;你的深情,我懂。
人生没有绝美,曾经习惯漂浮的你我,曾几何时,向往一种平实的安定,风雨共度,淡然在心,凡尘远路,彼此守护着心的旅程。
沧桑不是自然,而是经历;幸福不是状态,而是感受。
6、 疏疏篱落,酒意消,惆怅多。
阑珊灯火,映照旧阁。
红粉朱唇,腔板欲与谁歌?画脸粉色,凝眸着世间因果;未央歌舞,轮回着缘起缘落。
舞袖舒广青衣薄,何似院落寂寞。
风起,谁人轻叩我柴扉小门,执我之手,听我戏说?7、 经年,未染流殇漠漠清殇。
流年为祭。
琴瑟曲中倦红妆,霓裳舞中残娇靥。
冗长红尘中,一曲浅吟轻诵描绘半世薄凉寂寞,清殇如水。
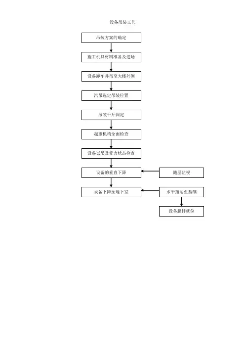
设备吊装方案先XXX280车间罐体吊装工程是一项重要的工程,设备长26.8m,直径1.5m,重10吨,安装在17.4m的框架内,框架上四周有栏杆,栏杆高1.2m,本次吊装栏杆不拆除。
为了确保吊装的安全性,我们采用130吨汽车吊作为主吊,钢丝绳系挂在设备吊耳上。
由于设备细长,为避免设备起吊过程中折腰,我们采用50吨汽车吊捆绑式溜尾,溜尾位置选定在尾部7m左右位置。
编制吊装方案的依据包括现场勘察、《起重机械安全规程》、《工程建设安装工程起重施工规范》、《大型设备吊装工程施工工艺标准》、《石油化工工程起重施工规范》、《起重吊运指挥信号》、相关起重机(吊车)性能表及现场实际情况、《实用五金手册》第七版祝燮权等。
施工程序包括现场勘察、制定方案、方案交底、设备到厂、吊车进场、吊车站位、支腿、抬吊、溜尾、设备自由垂直、设备吊装、设备就位、安装、吊车摘勾、收臂、收腿、吊车出厂。
在施工准备方面,我们已经完成了技术准备和现场准备。
技术准备方面包括设备吊装方案编制、图纸会审、论证、施工人员到位、设备基础验收合格、安全预案准备到位。
现场准备方面包括检查吊装机索具外观、设备进场验收、吊装区域场地准备、被吊设备上的施工杂物清除、气象条件符合要求等。
施工方法及技术措施方面,我们采用了130吨汽车吊作为主吊,钢丝绳系挂在设备吊耳上,采用50吨汽车吊捆绑式溜尾,溜尾位置选定在尾部7m左右位置。
在施工过程中,我们还需注意检查吊装机索具的外观、设备管口、方位、中心线及管口是否封闭、吊装区域场地准备、被吊设备上的施工杂物清除等安全措施。
采用双吊车抬送法进行设备吊装。
主吊车提升设备头部,溜尾吊车抬送设备尾部,将设备从水平状态吊装到垂直状态。
具体施工步骤如下:首先主吊车进场站位至指定位置,设备进场运输至指定位置,溜尾吊车站位至指定位置,再次检查设备进行吊装前的各项程序,设置主吊装绳索具及溜尾绳索具,进行吊装各项工作联合检查,完成吊装前各项程序。
大型设备吊装工程实用手册概述说明1. 引言1.1 概述在大型设备吊装工程中,正确的操作和技术要点至关重要。
本实用手册旨在为吊装工作人员提供一份全面且易于理解的指南,涵盖了从吊装前准备到吊装过程和吊装后处理的所有关键内容。
通过遵循本手册的步骤和建议,可以确保吊装工程的安全、高效完成。
1.2 文章结构本手册分为五个主要部分:大纲、设备吊装工程概述、吊装前准备工作、吊装过程与技术要点以及吊装结束后的工作及注意事项。
每个部分都包含细分章节,以便读者能够更好地理解和应用相关知识。
1.3 目的本手册的目标是帮助读者掌握大型设备吊装工程所需的基本知识和技巧,并提供实用的操作指南。
通过学习本手册,读者将能够了解设备吊装背景、分类与特点,掌握相关原理与要点,熟悉吊装前准备工作流程以及了解合适的材料和安全措施。
同时,本手册还将详细介绍吊装过程中的设计方案、危险与风险防控以及操作步骤指南。
最后,读者将学习到如何处理吊装结束后的工作,并了解相关注意事项,包括设备安全处理、现场清理和记录总结等。
以上为“1. 引言”部分的内容。
2. 设备吊装工程概述:2.1 工程背景设备吊装工程是指利用起重设备将大型设备进行起吊、运输和安装的施工过程。
在现代工业生产中,由于大型设备体积庞大且重量较重,无法直接进行人力搬运或机械推动,因此需要借助专业的吊装工程来完成移动和安装。
这些设备可以包括大型机器、发电机组、压力容器等。
2.2 设备分类与特点大型设备可以按照不同的标准进行分类。
一般来说,可以根据其功能或应用领域进行分类,例如建筑工程中常见的塔吊、桥梁工程中使用的龙门吊等。
根据其特点而言,大型设备通常具有以下特点:- 体积庞大:这些设备通常由多个部件组成,并且整体结构较为庞大。
- 重量巨大:由于其体积较大,故而重量也相应很大。
- 结构复杂:这些设备需要精确组装和调试方能正常运转,因此结构复杂度较高。
- 安全风险高:吊装大型设备涉及到较高的风险,可能导致人员伤亡或设备损坏。
大型设备吊装作业方案编制:日期:目录—工程概况 (3)二吊装工艺流程图 (4)三吊装工艺方法及技术措施 (4)3.2运输及就位方法: (5)3.3结构荷载复核: (5)四设备机具一览表B4 (6)五吊装指挥人员配备列表 (7)六安全技术措施 (7)七设备成品保护 (8)8.1运输通道部分 (9)九设备吊装及运输计划 (9)十设备进场开箱检验 (9)十一大型设备吊装计算书 (10)十二应急预案 (10)12.1应急分类 (10)12.2应急工作原则 (10)12.3危险性分析 (10)12.4应急组织机构及职责 (11)12.5预防与预警 (11)12.6应急响应 (11)十三采用规范标准 (12)13.1《建筑施工高处作业安全技术规范》:JGJ 80-1991 (12)十四一层大型设备搬运路线及吊装口布置平面 (14)十五起重机技术参数 (16)—工程概况1.1概述1、项目概况本工程占地面积约5万m²,总建筑面积约34万m²,2幢办公塔楼,均为20层,建筑高度99.9m;裙房商业体1~6层,局部7层设备机房,高9~42m,地下室4层,B1,B2层为商业及设备用房,B3,B4层为汽车库及设备用房。
2、关于大型设备吊装,我司结合进度将设备参数、运输方式、运输路线进行论证,编制详细的设备吊装及运输方案;本项目冷冻机房、锅炉房及柴发机房分别设在 B4F、B2F 、B1F,大型设备有冷冻机组、锅炉设备、柴油发电机、板换等。
最大设备是位于B4 层的冷水机组(29T),采用汽车吊从一层预留吊装孔吊入。
在设备吊入 B4F、B2F、B1F 前,必须将设备运输至设在 1F 的吊装孔附近,将设备用汽车吊吊入 B4F、B2F、 B1F 后,水平运输采用电动卷扬机及小坦克将设备牵引至设备基础。
汽车吊吊设备从吊装孔吊入电动卷扬机牵引小坦克按顺序将设备放入基础上溜引索具设置 设备组对滑车组设置组装铺设轨道 桅杆竖立 起吊索具与设备二次位移设备吊装就位地锚设置3、关于其他小设备,高楼层设备采用塔吊加转运平台水平运输就位。
吊装作业安全规范gb5082一、工程概况根据《吊装作业安全规范GB5082》,本工程为某大型工业设备安装项目,位于XX市XX工业园区内。
工程主要包括大型设备吊装、搬运及安装等工作内容。
工程总占地面积约为20000平方米,计划工期为6个月。
本工程涉及到的最大起吊重量为100吨,最高起吊高度为50米。
二、吊装管理(一)、吊装施工组织流程1. 吊装前准备:包括施工方案的编制、审批;施工人员的技术培训;工器具、设备的检查、维修;现场环境的安全检查等。
2. 吊装作业:根据施工方案,进行设备的吊装、搬运和安装工作。
3. 吊装作业完成后,进行现场清理、设备验收、资料归档等工作。
(二)、现场吊装组织机构1. 项目经理:负责整个项目的组织、协调、管理工作。
2. 技术负责人:负责施工方案编制、技术指导、质量监督等工作。
3. 安全员:负责现场安全检查、安全教育、事故处理等工作。
4. 施工班长:负责具体施工任务的分配、监督、协调等工作。
5. 吊车司机:负责吊车的操作、维护、保养等工作。
6. 现场施工人员:负责具体吊装作业的实施。
(三)、管理职责1. 项目经理:全面负责项目的实施,对项目质量、进度、安全、成本等方面负2. 技术负责人:负责施工方案的编制和实施,对吊装作业的技术质量负责。
3. 安全员:负责现场安全管理和安全教育,对吊装作业的安全负责。
4. 施工班长:负责现场施工人员的调配,对吊装作业的顺利进行负责。
5. 吊车司机:严格按照操作规程进行吊车操作,对吊车的安全运行负责。
6. 现场施工人员:按照施工方案和操作规程进行吊装作业,确保施工安全、高效进行。
三、工器具的选用1. 吊装设备:根据工程需求,选用合适的吊车,包括但不限于汽车吊、履带吊、塔吊等。
吊车性能参数需满足最大起吊重量和高度的要求,并具备良好的稳定性和可靠性。
- 汽车吊:选用具有足够起重能力的汽车吊,确保在复杂环境下的稳定作业。
- 履带吊:适用于大型设备的长距离搬运和吊装作业。
设备吊装工艺================================================================说明1资料专卖店拥有最新最全的设计参考图库资料,内容涉及景观园林、建筑、规划、室内装修、建筑结构、暖通空调、给排水、电气设计、施工组织设计等各个领域的设计素材和设计图纸等参考学习资料。
是为广大艺术设计工作者优质设计学习参考资料。
本站所售的参考资料包括设计方案和施工图案例已达几十万套以上,总量在数千G以上。
图库网址2ftp://联系QQ:4电话:5美文欣赏1、走过春的田野,趟过夏的激流,来到秋天就是安静祥和的世界。
秋天,虽没有玫瑰的芳香,却有秋菊的淡雅,没有繁花似锦,却有硕果累累。
秋天,没有夏日的激情,却有浪漫的温情,没有春的奔放,却有收获的喜悦。
清风落叶舞秋韵,枝头硕果醉秋容。
秋天是甘美的酒,秋天是壮丽的诗,秋天是动人的歌。
2、人的一生就是一个储蓄的过程,在奋斗的时候储存了希望;在耕耘的时候储存了一粒种子;在旅行的时候储存了风景;在微笑的时候储存了快乐。
聪明的人善于储蓄,在漫长而短暂的人生旅途中,学会储蓄每一个闪光的瞬间,然后用它们酿成一杯美好的回忆,在四季的变幻与交替之间,散发浓香,珍藏一生!3、春天来了,我要把心灵放回萦绕柔肠的远方。
让心灵长出北归大雁的翅膀,乘着吹动彩云的熏风,捧着湿润江南的霡霂,唱着荡漾晨舟的渔歌,沾着充盈夜窗的芬芳,回到久别的家乡。
我翻开解冻的泥土,挖出埋藏在这里的梦,让她沐浴灿烂的阳光,期待她慢慢长出枝蔓,结下向往已久的真爱的果实。
4、好好享受生活吧,每个人都是幸福的。
人生山一程,水一程,轻握一份懂得,将牵挂折叠,将幸福尽收,带着明媚,温暖前行,只要心是温润的,再遥远的路也会走的安然,回眸处,愿阳光时时明媚,愿生活处处晴好。
5、漂然月色,时光随风远逝,悄然又到雨季,花,依旧美;心,依旧静。
月的柔情,夜懂;心的清澈,雨懂;你的深情,我懂。
化工工艺图(工艺安装和指导生产的重要技术文件)工艺流程图(方案流程图和施工流程图)、设备布置图和管路布置图一、方案流程图1方案流程图(流程示意图或流程简图)初步设计阶段示意性的展开图,并加有必要的标注与说明①设备的画法:用细实线画出设备的大致轮廓或示意图,一般不按比例,但应保持它们的相对大小。
②各设备之间的高低位置及设备上重要接管口的位置,应大致符合情况。
③在方案流程图中,同样的设备可只画一套;备用设备可以省略不画。
2工艺流程图的画法①用粗实线画出主要物料的工艺流程线,用箭头标明物料流向,并在流程线的起始和终了位置注明物料的名称、来源或去向。
②如遇流程线之间、或流程线与设备之间发生交错或重叠,而实际并不相连时,应将其中一条断开或曲折绕过,以使各设备间流程线的表达清晰明了、排列整齐。
③在方案流程图中,一般只画出主要工艺流程线,其它辅助流程线不必一一画出。
3位号与名称注写在流程图的上方或下方和靠近设备图形的显著位置列出设备的位号及名称。
或可将设备依次编号,并在图纸空白处按编号顺序集中列出设备名称。
但对于流程简单、设备较少的方案流程图也可以不编号,而将名称直接注写在设备的图形上。
(为了给工艺方案的讨论和施工流程图的设计提供更为详细具体的资料,还常将工艺工艺流程图中关于流量、温度、压力、液面以及成分分析等测量控制点画在方案流程图上,这种图与施工流程图比较接近。
方案流程图的图幅一般不做规定。
图框和标题栏亦可省略。
)二、施工流程图1、(工艺管道及仪表流程图或带控制点管道安装流程图)。
这种流程图应画出所有的生产设备和全部管道。
它是设备布置图和管道布置图的设计依据,并为施工安装、生产操作提供参考。
施工流程图的表达一般应包括以下几项内容:①带设备位号、名称和接管口的各种设备示意图。
②带管道号、规格和阀门等管件以及仪表控制点(测温、测压、测流量、分析点等)的各种管道流程线。
③对阀门等管件和仪表控制点图例符号的说明。