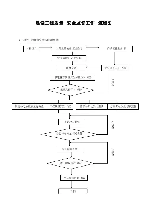
建设工程项目施工安全管理流程图
- 格式:doc
- 大小:57.00 KB
- 文档页数:3
一般化工建设项目安全手续办理程序简易流程图一般化工建设项目安全手续办理程序为切实加强全市化工建设项目的安全管理,规范建设项目的安全审查事项,保证安全生产,根据《中华人民共和国安全生产法》、国务院《危险化学品安全管理条例》,参照国家安监总局《危险化学品建设项目安全许可实施办法》(国家安监总局令第8号,以下简称《办法》)和省、苏州市安监局的有关要求,现将我市一般化工建设项目安全手续的办理程序告知如下:一、一般化工建设项目区域要求二、一般化工建设项目的范围一般化工建设项目主要为除危险化学品建设项目和危险程度较大的化工建设项目以外的化工建设项目。
三、一般化工建设项目办事程序1.安全条件论证建设项目在选址前,必须对项目设立进行安全条件论证,并编制《安全条件论证报告》。
《安全条件论证报告》中必须包含以下内容:(1)根据《办法》第六条要求,具体分析项目与周边环境的相互影响(如为厂区内建设项目的,须分析项目与其周边生产装置、储存装置的相互影响),并对项目选址是否符合国家标准规范要求作出明确结论;(2)对项目范围以列表形式进行说明,如包括哪些生产车间、储存场所或其他辅助设施等;列明项目的产品(副产品)、中间产品以及所使用的原辅材料(附MSDS),如属危化品的需对应列明危编号。
(3)对项目采用的生产工艺进行说明,对工艺成熟程度和安全可靠性进行分析,并作出明确结论;(4)对项目涉及的危险、有害因素和危险、有害程度进行分析。
《安全条件论证报告》由企业自行组织专家进行审查。
2.初步审批危险化学品建设项目须由建设单位向某市安监局(某市行政服务中心安监窗口)提请初步审批,具体提交以下资料:(1)《化工建设项目安全设施初步审批表》(一式3份,见附件2);(2)《安全条件论证报告》;(3)规划部门意见;(4)环保部门意见(也可为预审意见)。
市安监局受理上述资料后,将组织相关人员进行集中审议,作出同意或者不同意项目建设的初步审查意见。
一、工程项目部安全管理
组织机构图
二、安全生产保证体系框图
三、项目部安全保证体系图
四、安全检查流程图
五、工人三级安全教育流程图
六、安全事故处理流程图
七、施工现场平面布置流程图
八、基坑支护施工安全管理流程图
九、安全网架设与拆除安全管理流程图
十、高空作业安全管理流程图
十一、施工机械安全管理流程图
十二、临时用电安全管理流程图
十三、文明施工控制流程图1、现场围挡
2
3、施工场地
4、材料堆放
5、现场住宿
6、现场防火
7、治安综合治理
8、施工现场标牌
9、卫生设施
10、保健急救
11、社区服务
十四、环境管理体系流程图。
安全管理流程目录一、安全生产管理流程图二、安全生产管理控制图三、安全生产组织机构流程图四、安全生产责任制管理流程图五、安全教育培训流程图六、安全监督检查流程图七、应急预案及事故处理程序图八、环境保护管理体系流程图九、文明施工管理工作流程图十、高空坠落、物体打击、机械伤害等施工安全事故应急预案流程图十一、消防应急预案流程图十二、中毒、窒息应急预案流程图二、安全生产管理控制图三、安全生产组织机构流程图1、公司组织机构2、项目部组织机构四、安全生产责任制管理流程图五、安全教育培训流程图说明:1.一级安全教育:由安全部代表公司对新 入场人员进行一级安全教育。
2.二级安全教育:由工地劳资人员和安 全管理人员组织二级安全教育。
3.三级安全教育:由所在班长和兼职 安全员组织三级安全教育。
安全教育试题: 安全教育试题及答案.doc六、安全监督、检查流程图检查形成资料:1.检查记录(影视及纸质版资料)2.隐患整改通知单各类表格.doc3.处罚通知单各类表格.doc4.安全会议签到表各类表格.doc5.安全会议记录(影视及纸质版资料)6.整改反馈表各类表格.doc七、应急预案及事故处理程序图八、环境保护管理体系流程图 上报事故九、十、高空坠落、物体打击、机械伤害等施工安全事故应急预案一、组织机构及职责、分工组织机构图1、应急救援领导小组:2、通讯(宣传)联络组紧急抢险组3、4、疏导警戒组5、救护组二、应急预案程序(1)报告程序事故发现(目击)者可按下述途径,将事故情况以最快的速度报告。
(2)报告内容:具体位置、事故类型、人员伤亡情况及目击现场的情况等。
简单明了重复二次。
调协调组织十一、消防演练应急预案流程否不可控应急增援十二、中毒、窒息应急预案一、应急救援程序1、当施工现场有人员发生中毒时,现场知情人员应及时拨打电话报警(报警电话为项目内部应急救援号码),请求消防队到场实施救援。
2、抢险救援组接警后,立即赶赴现场,同时通知医务人员赶赴现场待命。
施工项目安全检查工作流程图
安全技术方案准备
1.熟悉设计图、施工平面图、法规、规范标准
2.编制施工组织设计、安全技术措施
3.制订公司、项目制度及管理流程
检查安全管理、现场安全文明
检查标准化 安全文明施工
检查日期、内容、人员计划
检查表格、器材、路线准备
隐患闭环管理
安全整改回复;资料闭合
制止违章 下发安全隐患整改单 全面检查施工现场、办公区、后勤区
人、机、料、法、环 协调整改
重大隐患重点管理,项目负责人督办; 直接管理员旁站; 监测、检测
危及安全时停止施工 检查 安全管理
检查组织机构、 责任制、制度落实
检查安全教育 检查安全技术交底
检查风险应急管理
检查班前安全活动 检查方案计划 检查事故管理 检查安全投入 检查安全奖惩 检查安全资料
现场优化、纠偏 整改完成,全面复检
安全检查治理总结。
建筑工程施工程序框图一、建筑工程施工程序框图的制定1.确定施工环节:首先需要确定建筑工程施工的各个环节,包括施工前准备、地基基础工程、结构工程、装饰工程等内容。
2.整理施工流程:针对每个施工环节,详细整理出工程的具体施工流程,包括施工前的准备工作、施工中的各项工艺流程、施工后的验收和收尾工作等。
3.确定责任主体:明确施工流程中的责任主体,包括施工单位、监理单位、业主代表等,确保每个环节都有明确的责任人员负责。
4.制定流程图:根据施工流程,绘制施工过程的流程图,按照先后顺序进行排列,清晰明了,方便施工人员参考和执行。
5.衔接各个环节:在绘制流程图时,需要确保各个环节之间的衔接和依赖关系,让施工工作有条不紊地进行。
二、建筑工程施工程序框图的内容要点1.施工前准备阶段:(1)搭建施工现场:包括搭建施工场地围栏、设立安全警示标志等。
(2)采购施工材料:根据施工图纸和设计要求,采购施工所需的各类材料和施工设备。
(3)组织施工人员:确定施工人员的岗位和任务,进行专业技术培训和安全教育。
2.地基基础工程:(1)进行场地勘察:对建筑工程的地基进行勘察和试验,确定地基承载力和土层情况。
(2)进行基础施工:根据设计要求施工地基基础,包括打桩、挖土、浇筑混凝土等工作。
3.结构工程:(1)搭建施工模板:按照设计图纸要求,搭建混凝土结构的施工模板。
(2)进行结构施工:在搭建好的模板上浇筑混凝土,进行梁柱、板梁等结构构件的施工。
4.装饰工程:(1)进行装修设计:根据业主要求和设计图纸,进行装饰设计和选材。
(2)进行装饰施工:包括墙面装饰、地面铺装、家具安装等工作。
5.收尾阶段:(1)进行建筑验收:根据设计要求和规范进行建筑验收,确保工程质量符合要求。
(2)撤除施工设备:清理施工现场,撤除各类施工设备和材料,保持建筑环境整洁。
以上就是建筑工程施工程序框图的制定和内容要点。
通过合理制定施工程序框图,可以确保施工工作的顺利进行,保证工程的质量和进度,提高工程的施工效率。
工程建设项目史上最完整的全流程图,必收藏备用!工程建设项目一直以来都是众人眼中的“老大难”,文中四大流程中的24张图带你全面了解工程建设项目的全流程!一、工程建设项目前期工作流程1.1 工程建设项目基本流程1.2工程建设项目建设项目投资决策(建议书、可研)流程1.3 工程建设项目建设项目设计阶段工作流程1.4 工程建设项目准备阶段工作流程二、工程建设项目管理流程2.1 工程建设项目管理基本流程2.2 招投标基本流程2.3 合同签订流程2.4 施工准备流程三、项目风险管理与信息管理流程3.1 项目风险管理流程3.2 项目信息管理流程3.3 竣工验收流程四、工程项目监理工作基本流程4.1 工程项目实施监理的总流程4.2 施工准备阶段监理工作流程4.3 施工阶段工程投资控制流程4.4 施工阶段工程进度控制流程4.5 施工阶段工程质量控制流程4.6 施工阶段安全监理控制流程4.7 合同管理控制流程4.8 信息管理控制流程4.9 组织协调控制流程4.10 工程质量问题及工程质量事故处理流程4.11 工程安全事故处理流程4.12 工程洽商控制及签证工作流程4.13 工程竣工验收控制流程一、工程建设项目前期工作流程1.1 工程建设项目基本流程1.2工程建设项目建设项目投资决策(建议书、可研)流程1.3 工程建设项目建设项目设计阶段工作流程1.4 工程建设项目准备阶段工作流程二、工程建设项目管理流程2.1 工程建设项目管理基本流程2.2 招投标基本流程三、项目风险管理与信息管理流程3.1 项目风险管理流程3.2 项目信息管理流程3.3 竣工验收流程四、工程项目监理工作基本流程4.1 工程项目实施监理的总流程4.6施工阶段安全监理控制流程4.7 合同管理控制流程4.8 信息管理控制流程4.9 组织协调控制流程4.10 工程质量问题及工程质量事故处理流程4.11 工程安全事故处理流程4.12 工程洽商控制及签证工作流程4.13 工程竣工验收控制流程。
完整版)安全管理流程图(通用版)患。
安全员、技术员、施工员、机械员、班组和后勤部门共同监督施工全过程的安全生产,并纠正违章行为,配合排除安全障碍。
项目生产经理负责制定安全技术措施和分项安全方案,解决施工中出现的安全隐患。
同时,负责安全技术交底,组织安全技术措施的实施、检查,及时消除安全隐患。
项目经理作为第一责任人,全面负责施工过程中的安全生产。
及监督建立环境保护管理体系明确环境保护目标和任务制定环境保护计划和措施实施环境保护措施监测环境保护效果评价环境保护效果改进环境保护管理体系建立环境保护档案定期进行环境保护培训严格执行环境保护法规加强环境保护宣传教育落实环境保护责任加强环境保护监督和检查加强环境保护投入和管理改善环境保护设施和条件高效地发布信息,保障社会公众的知情权。
协助指挥长指挥、协调;当无法与指挥长取得联系时,承担指挥长职责。
联系电话或方式副组长成员XXXXXXXXX3、救护组职务组长姓名XXX主要职责负责现场伤员的紧急救治,包括急救、转运等工作;同时,对现场人员进行疏散和警戒,保障现场秩序。
协助指挥长指挥、协调;当无法与指挥长取得联系时,承担指挥长职责。
联系电话或方式副组长成员XXXXXXXXX4、疏导警戒组职务组长姓名XXX主要职责负责现场人员的疏导和警戒工作,保障现场秩序;同时,对现场危险区域进行封锁和标识,防止不相关人员进入危险区域。
协助指挥长指挥、协调;当无法与指挥长取得联系时,承担指挥长职责。
联系电话或方式副组长成员XXXXXXXXX十一、文明施工管理工作流程文明施工管理是为了保护环境、保障人民群众的生命财产安全而进行的一项重要工作。
在施工过程中,需要制定文明施工管理制度,明确目标,并进行现场围栏、合理设施、悬挂理置、门牌全置、围及两标、挡宣图识等工作。
同时,还需要对施工现场进行管理,制定办公设置、临时水充、厕所保证卫生、饮水、垃圾清运、综合治理等措施,加强禁止黄赌毒等不良行为,教育工人注意噪音污染、水土污染、尘土控制等问题。
◆建 设 工 程 审 批 程 序公司管理层通过确定所实施项目委托有资质企业进行项目勘察、设计、方案评审、概预算编制报上级公司评审、立项批复报公司审核,立项通过委托编制可行性研究报告及初步设计工程处及相关部门对项目进行策划,编制项目建议书建设工程项目的审批程序:由公司管理层通过研究通过,确定将要实施的项目;由公司工程处及相关部门对该项目进行初步的策划、编制项目建议书;委托具有相关资质的单位进行项目的可行性研究报告及初步设计;将所要实施的项目及其可研设计资料报各级公司评审、批复;批复许可后再委托具有相关资质的单位进行项目勘察设计、评审预算并进行相关招投标工作;前期工作完成后进入项目的施工阶段,施工阶段由公司工程处及各相关部门进行质量、工期、技术、成本概算、安全等各方面的控制。
进入招投标程序工程处及相关部门进行项目管理工期控制质量控制安全管理重要材料控制设计变更控制成本控制◆招 标 工 作 程 序招标工作岗位职责招标人:由公司主管领导担任,负责招标的监督检查,评标定标的确认签字。
评标人:由公司相关部门领导及相关企业单位领导担任,负责招标的评标工作。
监标人:由公司纪委领导担任,负责招标工作的监督工作;现场的管理监督工作;评标定标的确认签字。
招标办主任:负责招标工作前期审查、相关指标的审定;负责招标工作的各方协调,保证招标的顺利进行,签订、发布中标通知书。
招标办成员:负责招标资料的拟定,投标单位及资料的审查,组织招标会的进行,执行相关招投标手续的办理。
公司领导管理层同意项目招标现场考察、标前答疑拟定招标文件,发布招标信息投标人编制投标文件及相关资料投标文件送达、投标截止投标单位资格预审招标工作的程序:通过公司决定的项目完成审批后进行各分部分项的招标工作,由公司招标办及相关部门拟定招标文件;委托招标代理机构进行招标前期工作并发布招标信息;由公司相关部门及招标公司审查通过的投标单位到现场考察答疑并编制投标文件及相关资料;由招标办及招标代理机构组织招标评委会进行现场招标、开标、定标;由招标办发布中标通知书;公司相关部门与中标单位签订相关业务合同。
安全管理流程目录一、安全生产管理流程图二、安全生产管理控制图三、安全生产组织机构流程图四、安全生产责任制管理流程图五、安全教育培训流程图六、安全监督检查流程图七、应急预案及事故处理程序图八、环境保护管理体系流程图九、文明施工管理工作流程图十、高空坠落、物体打击、机械伤害等施工安全事故应急预案流程图十一、消防应急预案流程图十二、中毒、窒息应急预案流程图三、安全生产组织机构流程图1、公司组织机构总经理:公司安全领导小组组长:所属项目部安全领导小组:项目经理2、项目部组织机构主管安全生产(副经理)安全生产管理小组安全生产救援组 织四、安全生产责任制管理流程图安全部 工程部技术质量部经营部安全部质检部财务部材料部设备部安全员项目经理(第一责任人)项目生产经理(直接负责人)技术员施工员机械员班组后勤部监督施工全过程的安全生产并纠正违配合章,排除安全障碍。
制定安全技术措施和分项安全方案,解决施工中安全隐患。
负责安全技术交底,组织安全技术措施的实施、检查、及时消除安全隐患。
发现问题及时解决并上报有关领导。
保证各类机械设备安全运行,监督机械操作人员持证违章作业。
认真执行安全生产规章制度及安全操作要求,对班组人员在生产中的安全和健康负责。
督促操作人员正确使用劳保防护用保证安全措施经费,负责卫生,环境保护、预防职业病。
安全员组织三级安全教育。
建立人员教育 台账、数据库五、安全教育培训流程图安全部门组织培训通知资料准备1. 入场安全教育幻灯片 项目经理 责任工程师2. 生产作业人员教育登记表3. 项目三级安全教育记录 技术负责人4. 安全培训教育考核试题 机电负责人说明:1.一级安全教育 : 由安全部代表公司对新 入场人员进行一级安全教育。
2. 二级安全教育:由工地劳资人员和安 考试考核全管理人员组织二级安全教育。
收集身份证、 人员体检、特种作业证等实施3. 三级安全教育:由所在班长和兼职上报监理、业主审批安全教育试题及答案 .doc 资料归档安全教育试题:六、安全监督、检查流程图3. 处罚通知单各类表格.doc4. 安全会议签到表各类表格.doc5. 安全会议记录(影视及纸质版资料)6. 整改反馈表各类表格.doc七、应急预案及事故处理程序图制订应急预案发生应急情况向外报警、并到修改预案主要路口迎接上报事故消防等人员公司内部应急小组成员立即到达现场根据情况八、环境保护管理体系流程图法规指导、教育、控制 制定制度、监督教育 自我控制、落实措施教育、贯彻、执行、控制 管理 层环境管理环境法规学习环 境 教 育统一思想提高认识水土控制噪音控制 尘土控制 环境卫生环卫部门奖罚环境监督环境部门监督上级单位项目部例行检查奖罚制度上级单位奖罚 项目经理月评奖罚 工程队自评奖罚九、文明施工管理工作流程建设文明施工管理体系制定文明制施工管理度掌握施工合同对文明施工要求实施文明施工管理明确目标签订责任状确定文明施工标准进行文明施工投入现场围栏施工现场管理制定办公设置综合治理噪音污染合理设置围挡设置大门及宣传设置七牌两图悬挂安全标识四通一平合理绿化主体挂密布网材料合理堆放设备合理防护两设保做区置证好分临卫垃开时生圾水饮清充厕所水运加做禁强好黄员现赌工场毒教看酒育护注意噪音控制加强尘源控制污水处理排放实施相关的检查验收达标注意保持未达标查明原因十、高空坠落、物体打击、机械伤害等施工安全事故应急预案一、组织机构及职责、分工组织机构图指挥长(xxx)紧急抢险组组长:XXX 副组长:XXXXXX 通讯(宣传)联络组组长:XXX 副组长:XXX救护组组长:XXX副组长:XXXXXX疏导警戒组组长:XXX副组长:XXX各施工班1、应急救援领导小组:2、通讯(宣传)联络组3、紧急抢险组4、疏导警戒组5、救护组二、应急预案程序(1)报告程序事故发现(目击)者可按下述途径,将事故情况以最快的速度报告。
安全质量管控流程
一、工程安全质量管控目的
1、保证企业安全标准化实施过程的科学性、全面性、有效性,组织性,保障企业生产安全;
2、规范、细化工程管理,提高工程质量及验收一次性通过率。
二、工程施工安全管控流程
在通信工程施工中,有80%安全事故源于高危环节施工,高危环节主要涉及跨路、跨河、与电力线交越作业三个高危环节以及杆塔、一般杆路等高处作业施工。
高危作业环节安全管控流程如下:
三、安全管控相关措施
说明:分公司综合办节点可设专职或兼职人员管理,根据分公司实际情况而定。
四、工程质量管控流程
工程质量管控分为八个环节管理及责任人,过程实施管控包含内部验收与外部验收两大部分,工程质量管控流程如下:
五、工程质量管控相关措施
注:考核分数由分公司自行拟定。
建设工程项目施工安全管理流程图This manuscript was revised by the office on December 10, 2020.1、公司依据成本及战略规划对项目部下达职业健康安全目标,并签订《项目职业健康安全责任书》,项目部依据《责任书》编制《项目职业健康和安全目标及实施策划》在项目策划中要体现CI形象策划、安全管理和文明施工的策划,策划文件报公司审批后执行。
2、项目计划阶段主要工作是安全管理体系建设,主要工作包括:项目安全管理人员配置,建立健全项目安全生产责任制,各类安全管理制度。
3、危险源辨识工作由项目技术部门和安全部门共同完成,主要针对工程结构特点以及工程所在地的地理、环境、气候等特点,参照公司《施工现场危险源辨识与评价一览表》找出本项目施工现场即将发生的危险源,按照公司《危险源识别与风险评价管理程序》对危险源进行评价,确定重大危险源,针对重大危险源编制《安全防范措施方案》或《专项施工方案》,相关方案应报公司工程部审批。
对于超过一定规模的危险性较大分部分项工程还应组织专家对专项施工方案进行论证。
4、项目实施过程的主要流程要根据人员、设备进场时间及时展开相关工作。
主要内容包括:施工现场文明安全施工规划、现场临水、临电规划、人员教育、机械设备验收以及“三宝”、“四口”、“五临边”的防护措施。
施工人员必须经过安全教育后方可进入现场施工,施工机械必须经过相关部门验收合格后方可施工,大型垂直运输设备(包括塔吊、施工电梯、物料提升机)的验收、检测、备案工作依据地方行业主管部门的要求执行。
5、安全技术交底工作由项目工长对施工人员进行书面安全技术交底,交底文件一式三份,工长本人、安全部门、施工班组各存一份。
6、现场安全控制过程包括班组自检、安全巡检、项目定期检查和公司检查,对查出的安全隐患按照“三定”原则落实整改,检查人员负责跟踪整改情况。
安全控制过程是一个循环过程,贯穿于项目施工的全过程。
施工组织设计管理流程图一、引言施工组织设计是指在工程建设过程中,根据工程项目的特点和要求,制定合理的施工组织方案,明确施工任务的分工、工序、工艺和施工方法,确保施工工作的有序进行。
本文将详细介绍施工组织设计管理的流程图,包括以下几个方面:项目准备、组织设计、施工方案编制、方案审批、施工组织实施和监督控制。
二、流程图1. 项目准备阶段项目准备阶段是施工组织设计的第一步,主要包括以下几个环节:1.1 确定项目需求:根据工程项目的性质和要求,明确项目的目标和需求。
1.2 采集项目信息:采集项目相关的技术资料、规划设计文件、法律法规等信息。
1.3 制定项目计划:制定项目的工期计划、资源计划、质量计划和安全计划等。
1.4 确定施工组织机构:确定项目的施工组织机构,明确各岗位职责和权限。
2. 组织设计阶段组织设计阶段是施工组织设计的核心部份,主要包括以下几个环节:2.1 制定施工任务书:根据项目需求,编制施工任务书,明确施工任务的范围和目标。
2.2 制定工序计划:根据施工任务书,制定详细的工序计划,确定施工任务的分工和工序顺序。
2.3 确定施工工艺:根据工序计划,确定适合的施工工艺,包括施工方法、施工工具和施工材料等。
2.4 制定施工组织方案:根据施工任务书和工序计划,制定合理的施工组织方案,明确施工过程中的组织管理措施。
3. 施工方案编制阶段施工方案编制阶段是根据施工组织方案,编制详细的施工方案,主要包括以下几个环节:3.1 制定施工图纸:根据施工组织方案,制定详细的施工图纸,包括平面图、剖面图和立面图等。
3.2 编制施工工序表:根据施工组织方案和施工图纸,编制详细的施工工序表,明确每一个工序的施工内容和要求。
3.3 制定施工工艺流程:根据施工组织方案和施工图纸,制定详细的施工工艺流程,明确每一个工序的施工方法和要点。
3.4 编制施工资源清单:根据施工组织方案和施工图纸,编制详细的施工资源清单,包括人力、物力和设备等资源的需求和安排。
项目安全文明施工管理流程图说明:
、公司依据成本及战略规划对项目部下达职业健康安全目标,并签订《项目职业健康安全责任书》,项目部依据《责任书》编制《项目职业健康和安全目标及实施策划》在项目策划中要体现 形象策划、安全管理和文明施工的策划,策划文件报公司审批后执行。
、项目计划阶段主要工作是安全管理体系建设,主要工作包括:项目安全管理人员配置,建立健全项目安全生产责任制,各类安全管理制度。
、危险源辨识工作由项目技术部门和安全部门共同完成,主要针对工程结构特点以及工程所在地的地理、环境、气候等特点,参照公司《施工现场危险源辨识与评价一览表》找出本项目施工现场即将发生的危险源,按照公司《危险源识别与风险评价管理程序》对危险源进行评价,确定重大危险源,针对重大危险源编制《安全防范措施方案》或《专项施工方案》,相关方案应报公司工程部审批。
对于超过一定规模的危险性较大分部分项工程还应组织专家对专项施工方案进行论证。
、项目实施过程的主要流程要根据人员、设备进场时间及时展开相关工作。
主要内容包括:施工现场文明安全施工规划、现场临水、临电规划、人员教育、机械设备验收以及“三宝”、“四口”、“五临边”的防护措施。
施工人员必须经过安全教育后方可进入现场施工,施工机械必须经过相关部门验收合格后方可施工,大型垂直运输设备(包括塔吊、施工电梯、物料提升机)的验收、检测、备案工作依据地方行业主管部门的要求执行。
、安全技术交底工作由项目工长对施工人员进行书面安全技术交底,交底文件一式三份,工长本人、安全部门、施工班组各存一份。
、现场安全控制过程包括班组自检、安全巡检、项目定期检查和公司检查,对查出的安全隐患按照“三定”原则落实整改,检查人员负责跟踪整改情况。
安全控制过程是一个循环过程,贯穿于项目施工的全过程。
、发生职业健康、安全事故的,要根据事故调查结果重新完善危险源辨识工作,制定整改和强化措施,杜绝事故再次发生。
工程竣工后要对本工程文明安全施工取得的经验、教训进行总结,对分包方(包括劳务分包、专业分包、材料分包)的工作能力、工作态度等情况进行评价,为后续工程分包方的选择提供参考。
、。