电路分析答案第二章
- 格式:doc
- 大小:770.00 KB
- 文档页数:11
第2章 电路的基本分析方法习题答案2-1 在8个灯泡串联的电路中,除4号灯不亮外其它7个灯都亮。
当把4号灯从灯座上取下后,剩下7个灯仍亮,问电路中有何故障?为什么?解:4号灯灯座短路。
如开路则所有灯泡都不亮。
2-2 额定电压相同、额定功率不等的两个白炽灯能否串联使用,那并联呢? 解:不能串联使用,因其电阻值不同,串联后分压不同,导致白炽灯无法正常工作。
在给定的电压等于额定电压的前提下,可以并联使用。
2-3 如图2-34所示,R 1=1Ω,R 2=5Ω,U =6V ,试求总电流强度I 以及电阻R 1、R 2上的电压。
图2-34 习题2-3图解:A 151621=++=R R U I=,V 551= V 111=2211=⨯==⨯=IR U IR U2-4 如图2-35所示,R 1=3Ω,R 2=6Ω,U =6V ,试求总电流I ;以及电阻R 1,R 2上的电流。
图2-35 习题2-4图解:总电阻为:Ω263632121=+⨯+=R R R R R=A 326=∴=R U I=由分流公式得:A 13633A 2363621122121=⨯++=⨯++I=R R R =I I=R R R =I2-5 电路如图2-36(a)~(f)所示,求各电路中a 、b 间的等效电阻R ab 。
(a) (b) (c)(d) (e) (f)2-36 习题2-5图解:(a) Ω4.3)6//4()2//2(ab =+=R(b) Ω2)33//()66//4ab =++(=R (c)Ω2)]6//3()6//3//[(13ab =++)(=R(d) Ω2)6//1)6//3(ab =+)(=R (e) Ω7)10//10(}6//6//]2)8//8{[(ab =++=R (f) Ω6}6//]64)4//4{[()4//4(ab =+++=R2-6 求图2-37所示电路中的电流I 和电压U 。
图2-37 习题2-6电路图解:图2-37等效变换可得:由上图可得;Ω8)816//)]}99//(6[5.7{=+++(总=RA 5.1812==总I 则根据并联电路分流作用可得:A 5.05.1)816()]99//(6[5.7)]99//(6[5.7=1=⨯++++++I则A 15.05.1=13=-=-I I I 总 I 3再次分流可得:A 75.0169999=4=⨯+++IA 25.016996=2=⨯++I所以I =0.75A ,U = U +-U - =9×I 2-8×I 1 = 9×0.25-8×0. 5=-1.75V2-7 电路如图2-38(a)~(g)所示,请用电源等效变换的方法进行化简。
第⼆章电路的分析⽅法(答案)第⼆章电路的分析⽅法本章以电阻电路为例,依据电路的基本定律,主要讨论了⽀路电流法、弥尔曼定理等电路的分析⽅法以及线性电路的两个基本定理:叠加定理和戴维宁定理。
1.线性电路的基本分析⽅法包括⽀路电流法和节点电压法等。
(1)⽀路电流法:以⽀路电流为未知量,根据基尔霍夫电流定律(KCL)和电压定律(KVL)列出所需的⽅程组,从中求解各⽀路电流,进⽽求解各元件的电压及功率。
适⽤于⽀路较少的电路计算。
(2)节点电压法:在电路中任选⼀个结点作参考节点,其它节点与参考节点之间的电压称为节点电压。
以节点电压作为未知量,列写节点电压的⽅程,求解节点电压,然后⽤欧姆定理求出⽀路电流。
本章只讨论电路中仅有两个节点的情况,此时的节点电压法称为弥尔曼定理。
2 .线性电路的基本定理包括叠加定理、戴维宁定理与诺顿定理,是分析线性电路的重要定理,也适⽤于交流电路。
(1)叠加定理:在由多个电源共同作⽤的线性电路中,任⼀⽀路电压(或电流)等于各个电源分别单独作⽤时在该⽀路上产⽣的电压(或电流)的叠加(代数和)。
①“除源”⽅法(a)电压源不作⽤:电压源短路即可。
(b)电流源不作⽤:电流源开路即可。
②叠加定理只适⽤于电压、电流的叠加,对功率不满⾜。
(2)等效电源定理包括戴维宁定理和诺顿定理。
它们将⼀个复杂的线性有源⼆端⽹络等效为⼀个电压源形式或电流源形式的简单电路。
在分析复杂电路某⼀⽀路时有重要意义。
①戴维宁定理:任何⼀个线性含源的⼆端⽹络,对外电路来说,可以⽤⼀个理想电压源和⼀个电阻的串联组合来等效代替,其中理想电压源的电压等于含源⼆端⽹络的开路电压,电阻等于该⼆端⽹络中全部独⽴电源置零以后的等效电阻。
②诺顿定理:任何⼀个线性含源的⼆端⽹络,对外电路来说,可以⽤⼀个理想电流源和⼀个电阻的并联组合来等效代替。
此理想电流源的电流等于含源⼆端⽹络的短路电流,电阻等于该⼆端⽹络中全部独⽴电源置零以后的等效电阻。
3 .含受控源电路的分析对含有受控源的电路,根据受控源的特点,选择相应的电路的分析⽅法进⾏分析。
2-2 (1)・求图示电路在开关K 断开和闭合两种状态下的等 效电阻R 曲解:先求开关K 断开后的等效电阻:R ah =(6 + 12)//(12 + 6)= 9Q再求开关K 闭合后的等效电阻:R lh =(6//12)+ (12//6)= 8Q2-2 (2)・求图示电路在开关K 断开和闭合两种状态下的等 效电阻R 曲解:先求开关K 断开后的等效电阻:心=4//(4 + 8)= 30再求开关K 闭合后的等效电阻:心严 4//4-2Q2-3-试求题图2—3所示电路的等效电阻解:bo180Q 300Q 1000 4000^=^1—1300Q 200Q 600Q160Q_______ ~~71300Q_____ I-----------------80Qa150Q160Qaobo_____ l -e-l ____ he-l ____ 卜3000I200011• ----------- r=J1000题图2-2(1)4Q题图2-2 (2)题图2-3 (a)(b)》a300Q_____—450Q9240QI80Qtit -------------360Q240Q心二2400〃3600 = 1440ahbo67 0bo题图2-3 (b)解:60Q20060Qbo180Q180Q240Qt ------- X24()0 360020040Q20040QE—<_Z]_I60Q200200 20Q60Q10Q600bo6003()0心=40Q2-25 (1)・求图示电路a、b两点间的等效电阻R ahO解:在图中画一条垂线,使左右两边对称,参见图中虚线所示。
显然虚线为等位线,没有电流流过,故图中电阻可去掉,其等效电阻为:R ah =[(8 + 8)//(8 + 8)]//8 = 4Q2-25 (2)・求图示电路a、b两点间的等效电阻R ah o题图2-25 (1) 解:此题与上题相同,只是其中电阻的阻值不同,但仍保持其对称性。
第2章 电路的基本分析方法习题答案2-1 在8个灯泡串联的电路中,除4号灯不亮外其它7个灯都亮。
当把4号灯从灯座上取下后,剩下7个灯仍亮,问电路中有何故障?为什么?解:4号灯灯座短路。
如开路则所有灯泡都不亮。
2-2 额定电压相同、额定功率不等的两个白炽灯能否串联使用,那并联呢? 解:不能串联使用,因其电阻值不同,串联后分压不同,导致白炽灯无法正常工作。
在给定的电压等于额定电压的前提下,可以并联使用。
2-3 如图2-34所示,R 1=1Ω,R 2=5Ω,U =6V ,试求总电流强度I 以及电阻R 1、R 2上的电压。
图2-34 习题2-3图解:A 151621=++=R R U I=,V 551= V 111=2211=⨯==⨯=IR U IR U2-4 如图2-35所示,R 1=3Ω,R 2=6Ω,U =6V ,试求总电流I ;以及电阻R 1,R 2上的电流。
图2-35 习题2-4图解:总电阻为:Ω263632121=+⨯+=R R R R R=A 326=∴=R U I=由分流公式得:A 13633A 2363621122121=⨯++=⨯++I=R R R =I I=R R R =I2-5 电路如图2-36(a)~(f)所示,求各电路中a 、b 间的等效电阻R ab 。
(a) (b) (c)(d) (e) (f)2-36 习题2-5图解:(a) Ω4.3)6//4()2//2(ab =+=R(b) Ω2)33//()66//4ab =++(=R (c)Ω2)]6//3()6//3//[(13ab =++)(=R(d) Ω2)6//1)6//3(ab =+)(=R (e) Ω7)10//10(}6//6//]2)8//8{[(ab =++=R (f) Ω6}6//]64)4//4{[()4//4(ab =+++=R2-6 求图2-37所示电路中的电流I 和电压U 。
图2-37 习题2-6电路图解:图2-37等效变换可得:由上图可得;Ω8)816//)]}99//(6[5.7{=+++(总=RA 5.1812==总I 则根据并联电路分流作用可得:A 5.05.1)816()]99//(6[5.7)]99//(6[5.7=1=⨯++++++I则A 15.05.1=13=-=-I I I 总 I 3再次分流可得:A 75.0169999=4=⨯+++IA 25.016996=2=⨯++I所以I =0.75A ,U = U +-U - =9×I 2-8×I 1 = 9×0.25-8×0. 5=-1.75V2-7 电路如图2-38(a)~(g)所示,请用电源等效变换的方法进行化简。
2.1 解:对节点列KCL 方程,得① 01=i② 032=+i i③ 0643=++i i i④ 6521i i i i =++⑤ 054=+i i对封闭面列KCL 方程,得②③④节点构成的闭合面:0541=++i i i③④⑤节点构成的闭合面:0321=++i i i②③④⑤节点构成的闭合面:01=i2.2 解:00543164218975645632432631521=+++=+-+=-+-=-+-=-++-=++-=++=++u u u u u u u u u u u u u u u u u u u u u u u u u u u2.3 解:对a 节点列KCL 方程,得A I I I I 123221441=-=-=+=对回路1列KVL 方程,得AI I I I I 45018212125062121255154==+++=+++ 对b 、c 、d 、节点列KCL 方程,得AI I I I I I A I I I I I I AI I I I I I 2)3(1143341623263512125546654=---=-==+-=-=-==+-=-=-=+=对回路2列KVL 方程,可求得UV U I I I U 242611236)3(4123646463=⨯-⨯++-⨯=++=+2.4 解:KCL :00521654431=-+-=++-=+-I I I I I I I I IKVL :23143205652643541=-+=++=--I I I I I I I I I2.5 解:利用支路电流法,对电路列出KCL 、KVL 方程,有 KCL :5644326210i i i i i i i i i =++==++KVL :333554411333222244666i R u i R i R i R u i R i R i R i R u i R s s s +=+=+++=+代入已知条件,解得:A i 956.05-=2.6 解:利用支路电流法,对电路列出KCL 、KVL 方程,有KCL : c b e I I I +=KVL :c c e e c ee b be b b b I R U I R U I R I R I R U ++=++=其中 b c I I β=代入已知条件,解方程得:AI A I AI e c b 3351016.11013.11027.2---⨯=⨯=⨯=2.7 解:假设网孔电流的参考方向如下图所示。
第二章 电路的分析方法2.1.1 在图2.01的电路中,V 6=E ,Ω=61R ,Ω=32R ,Ω=43R ,Ω=34R ,Ω=15R 。
试求3I 和4I 。
4I ↓图2.01解:图2.01电路可依次等效为图(a )和图(b )。
R 3R 1R(b)Ω=+×=+×=23636414114R R R R R Ω=+++×=+++×=2243)24(3)(14321432R R R R R R R A 22165=+=+=R R E IA 322363)(214323=×+=++=I R R R R IA 943263631414−=×+−=+−=I R R R I2.3.3 计算图2.12中的电流3I 。
Ω=1R A2S =图2.12解:根据电压源与电流源的等效变换,图2.12所示电路可依次等效为图(a )和图(b ),由图(b )可求得A 2.15.023=+=I由图(a )可求得:A 6.02.121213=×==I IΩ=1R V22=Ω=14R(b)Ω=12R2.6.1 在图2.19中,(1)当将开关S 合在a 点时,求电流1I ,2I 和3I ;(2)当将开关S 合在b 点时,利用(1)的结果,用叠加定理计算电流321,I I I 和 。
I图2.19I (a)I (b)解:(1)当将开关S 合在a 点时,图2.19所示电路即为图(a ),用支路电流法可得:=+=+=+12042130423231321I I I I I I I 解得:===A 25A 10A 15321I I I(2)开关S 合在b 点时,利用叠加原理图2.19所示电路可等效为图(a )和图(b ),其中图(a )电路中130V 和120V 两个电压源共同作用时所产生的电流已在(1)中求得,即:A 151=,I A 102=,I A 253=,I由图3(b )可求得:A 642422202=+×+=,,I A 464241−=×+−=,,IA26422=×+=则:A 11415111=−=+=,,,I I IA 16610,222=+=+=,,I I IA 27225333=+=+=,,,I I I2.6.2 电路如图2.20(a )所示,V 10ab ,,V 124321=====U R R R R E 。
电路分析试题及答案(第⼆章)节点、回路、⽀路分析法:1、如下图所⽰,应⽤节点电压法计算。
已知U s 1=60V ,U s 2=40V ,R 1=6Ω, 23456Ω,求I 1,I 2,I 3,I 4,I 5,I 6的值。
解:114432111111R U U R U R R R R s b a =-+++ 6246541111R U U R U R R R s a b =-???? ??++ U a =U b =24V ;I 1=6A ;I 2=2A ;I 3=4A ;I 4=0A ;I 5=4A ;I 6=-4A ;2、求下图电路的电压U.解:利⽤戴维南等效做,先求ab 两端开路电压:只有24V 的电压源⼯作时: U ‘ab =24/(6+3)=8V ;只有4A 的电流源⼯作时: U ‘‘ab =4×4=16V ; U ab = U ‘ab +U ‘‘ab =24V ;等效电阻R 0=6Ω;U= U ab /(6+2)×2=6V3、计算下图电路中的电压U 1与U 2.解:U 1=8×[4+(6//3)]/[18+4+(6//3)] ×18=36V; U 2=8×18/[18×4+(6//3)] ×3=12V .4、已知下图电路的回路⽅程为2I 1+I 2=4V 和4I 2=8V ,式中各电流的单位为安培。
求:(1)各元件的参数;(2)各电压源供出的功率;(3)改变U和U 的值,使各电阻的功率增加⼀倍。
解:(1)1+ R 3)I 1+R 3I 2+k U 1=Us 1 1+ R 3-k R 1)I 1+R 3I 2 =Us 1-k Us 1R 3I 1 + (R 2+ R 3)I 2+k U 1=Us 2U 1=Us 1- R 1I 1 3-k R 1) I 1+ (R 2+ R 3)I 2+k U 1=Us 2-k Us 1R 1=2Ω, R 2=3Ω, R 3=1Ω, Us 1=8V , Us 1=12V , k =0.5 (2)求解⽅程式,得到:I 1=1A, I 2=2A ,计算各电源功率:Us 1:P 1= Us 1 I 1=8W ; (发出) Us 2:P 2= Us 2 I 2=24W ;(发出) Ucs :Pcs= Ucs (I 1+I 2)=9W ;(吸收)(3)各电源增加2倍,则各电阻上的电流相应增加2倍,即可实现⽬的。
电路分析知到章节测试答案智慧树2023年最新上海电力大学第一章测试1.图示电路中,节点A和B之间的电压UAB为()V。
参考答案:-162.图示电路中I= 0 时,电位UA=()V。
参考答案:603.通常所说负载增加,是指负载()增加。
参考答案:功率4.图示电路中S断开时I1= 0A,I=2A。
S闭合时I1=( )A,I=( )A。
()参考答案:0;65.图示电路中,当IS=10A 时,电压U为()V,当IS=8A时电压U为()V。
()参考答案:12;166.电路理论分析的对象是电路模型而不是实际电路。
()参考答案:对7.欧姆定律可表示成U=RI,也可表示成U=-RI,这与采用的参考方向有关。
()参考答案:对8.在节点处各支路电流的方向不能均设为流向节点,否则将只有流入节点的电流而无流出节点的电流。
()参考答案:错9.在电压近似不变的供电系统中,负载增加相当于负载电阻减少。
()参考答案:对10.理想电压源的端电压是由它本身确定的,与外电路无关,因此流过它的电流则是一定的,也与外电路无关。
()参考答案:错第二章测试1.图示电路AB间的等效电阻为()。
参考答案:14Ω2.电路如图所示,A、B端的等效电阻R=()。
参考答案:4Ω3.电路如图所示,可化简为()参考答案:3Ω电阻4.如图所示电路中,当电阻R2增加时电流I将()。
参考答案:增加5.图示电路中,就其外特性而言,()。
参考答案:b、c等效6.两只额定电压为110V的电灯泡串联起来总可以接到220V的电压源上使用。
()参考答案:错7.电流相等的两个元件必属串联,电压相等的两个元件必属并联。
()参考答案:错8.一个不含独立源的电阻性线性二端网络(可以含受控源)总可以等效为一个线性电阻。
()参考答案:对9.一个含独立源的电阻性线性二端网络(可以含受控源)总可以等效为一个电压源与一个电阻串联或一个电流源与一个电阻并联。
()参考答案:对10.已知图示电路中A、B两点电位相等,则AB支路中必然电流为零。
电路分析第五版答案第一章:基本概念和电路定律练习题答案a.看图1.1.CircuitCircuitb.从图中可以看出,电流I分为两个路径,通过电阻R1和R2。
根据欧姆定律,我们可以计算出电流I的值。
从电源V1开始,沿着电流的流向,电流经过电阻R1,其电压降为V1 - I R1。
然后经过电阻R2,其电压降为(V1 - I R1) - I * R2。
根据基尔霍夫电压定律,这个电压降等于电源的电压V1。
所以我们可以得到方程(V1 - I*R1) - I * R2 = V1。
通过解这个方程,我们可以计算出电流I的值。
a.如果电流经过电阻R1和电流源I1,那么根据欧姆定律,我们可以得到电流I1的值为I1 = V1 / R1。
b.如果电流经过电流源I2,则根据欧姆定律,我们可以得到电流I2的值为I2 = V2 / R2。
c.根据基尔霍夫电流定律,两个电流源的总和等于流入节点的电流总和。
所以我们可以得到I1 + I2 = I。
综上所述,我们得到了电路中的电流和电阻之间的关系。
第二章:电路简化技术练习题答案a.直接串联与并联等效电阻的计算公式为:–直接串联:R = R1 + R2 + R3 + ...–直接并联:1 / R = 1 / R1 + 1 / R2 + 1 / R3 + ...b.根据以上公式,我们可以计算出串联和并联电路的等效电阻。
a.并联电路等效电阻的计算公式为:1 / R = 1/ R1 + 1 / R2。
b.代入R1=4欧姆和R2=5欧姆的值,我们可以计算得到1 / R = 1 / 4 + 1 / 5。
进一步计算可得1 / R = 0.45。
最后,通过倒数运算可以得到R= 2.22欧姆。
所以,电路中的等效电阻为2.22欧姆。
实验题答案a.看图2.1.Simplified CircuitSimplified Circuitb.根据电路简化技术,我们可以将电感L1和L2合并,并求得等效电感L。
通过串联和并联电感的公式,我们可以得到等效电感的计算公式:L = L1 + L2。
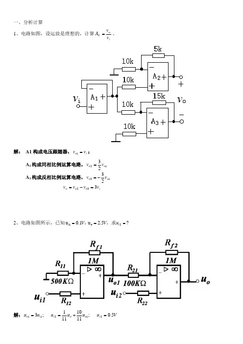
第2章电路的基本分析方法电路的基本分析方法贯穿了整个教材,只是在激励和响应的形式不同时,电路基本分析方法的应用形式也不同而已。
本章以欧姆定律和基尔霍夫定律为基础,寻求不同的电路分析方法,其中支路电流法是最基本的、直接应用基尔霍夫定律求解电路的方法;回路电流法和结点电压法是建立在欧姆定律和基尔霍夫定律之上的、根据电路结构特点总结出来的以减少方程式数目为目的的电路基本分析方法;叠加定理则阐明了线性电路的叠加性;戴维南定理在求解复杂网络中某一支路的电压或电流时则显得十分方便。
这些都是求解复杂电路问题的系统化方法。
本章的学习重点:●求解复杂电路的基本方法:支路电流法;●为减少方程式数目而寻求的回路电流法和结点电压法;●叠加定理及戴维南定理的理解和应用。
2.1 支路电流法1、学习指导支路电流法是以客观存在的支路电流为未知量,应用基尔霍夫定律列出与未知量个数相同的方程式,再联立求解的方法,是应用基尔霍夫定律的一种最直接的求解电路响应的方法。
学习支路电流法的关键是:要在理解独立结点和独立回路的基础上,在电路图中标示出各支路电流的参考方向及独立回路的绕行方向,正确应用KCL、KVL列写方程式联立求解。
支路电流法适用于支路数目不多的复杂电路。
2、学习检验结果解析(1)说说你对独立结点和独立回路的看法,你应用支路电流法求解电路时,根据什么原则选取独立结点和独立回路?解析:不能由其它结点电流方程(或回路电压方程)导出的结点(或回路)就是所谓的独立结点(或独立回路)。
应用支路电流法求解电路时,对于具有m条支路、n个结点的电路,独立结点较好选取,只需少取一个结点、即独立结点数是n-1个;独立回路选取的原则是其中至少有一条新的支路,独立回路数为m-n+1个,对平面电路图而言,其网孔数即等于独立回路数。
2.图2.2所示电路,有几个结点?几条支路?几个回路?几个网孔?若对该电路应用支路电流法进行求解,最少要列出几个独立的方程式?应用支路电流法,列出相应的方程式。
第二章习题2.1 如题2.1图所示有向拓扑图,试选2种树,并标出2种树所对应的基本(a) 树一1T 如图所示。
基本割集为:c1{1,2,4}, c2{1,3,7}, c3{1,3,6,8}, c4{1,3,6,5,4} 基本回路为:l1{5,6,8}, l2{2,4,5}, l3{3,5,8,7}, l4{1,2,5,8,7}(b) 树二2T 如图所示。
基本割集为:c1{4,5,8}, c2{5,7,8}, c3{1,3,7}, c4{4,2,3,7} 基本回路为:l1{2,4,5}, l2{5,6,8}, l3{1,2,3}, l4{1,2,6,7}2.2 题2.2图示电路,求支路电流1I 、2I 、3I解:列两个KVL 回路方程:051)54211=-+++I I I ( 021)510212=-+++I I I (整理为: 45921=+I I 115521=+I I 解得:A I 5.01= A I 1.02-=而 A I I I 4.0)213-=+-=(2.3 如题2.3图所示电路,已知电流A I 21=解:可列KVL 回路方程: 2I+2+(i-3)R=3已知 i=2A ,代入上式可得: R=3Ω2.4 如题2.4图所示电路,试选一种树,确定基本回路,仅用一个基本回路方程求解电流i 。
解:10(i-6)+5(0.4i+i)+13i=0 解得: i=2A2.5 如题2.5图所示电路,试选一种树,确定基本割集,仅用一个基本割集方程求解电压u 。
若用节点法,你将选择哪一个节点作参考点?试用一个节点方程求电压u 。
解:①② 选3为参考节点,列方程如下: 52018120124-=-+u u )(已知V u 122-=,代入上式,有: 52012812014-=++u )(解得节点点位: V u 324-=又可知 0124=++u u 得: V u u 201232124=-=--=2.6 如题2.6图所示电路,已知电流A i 21=,A i 12=,求电压bc u 、电阻R 及电压源S u 。
解:列三个网孔方程28)6=-+B A Ri i R(①33)43(-=-+++-C B A i i R Ri ②S C B u i i -=++3)323-( ③ 可知: 12==i i B 21==-i i i B A 可得: 32=+=B A i i由①式可得: 283)6=-+R R ( 解得: Ω=5R 由②式有: 33)57(35-=-++⨯-C i 解得: 0=C i 由③式有: S u -=33- 解得: V u S 6= 根据KVL 有: V i u bc 7432-=--=2.7 如题2.7图所示平面电路,各网孔电流如图中所标,试列写出可用来求解该电路的网孔方程。
解:各网孔方程如下:471414)4141--=-+++C B A i i i ( 5725)5214(14--=++++C B A i i i 354)354(54+-=++++-C B A i i i整理得:1041419-=-+C B A i i i 1052114-=++C B A i i i 21254=++-C B A i i i2.8 如题2.8图所示电路,设节点1、2的电位分别为1u 、2u ,试列写出可用来求解该电路的节点方程。
节点方程为: 45131)312131(21-+=-++u u124)4131(3121--=++-u u2.9 如题2.9图所示电路,求电压ab u 。
解:将电压源变换为电流源,列节点 方程如下:2411)3111(-=-+b a u u422)2111(11-+=++-b a u u整理得: 634=-b a u u032=+-b a u u 联解得: V u a 3= V u b 2= 所以有: V u u u b a ab 1=-=2.10 如题2.10图所示电路中,负载电阻L R 是阻值可变的电气设备。
它由一台直流发电机和一串联蓄电池组并联供电。
蓄电组常接在电路。
当用电设备需要大电流(L R 值变小)时蓄电池组放电;当用电设备需要小电流时(L R 值变大)时,蓄电池组充电。
设V U S 401=,阻Ω=5.01S R ,V U S 322=,阻Ω=2.02S R⑴ 如果用电设备的电阻Ω=1L R 时,求负载吸收的功率和蓄电池组所在支路的电流1I 。
这时蓄电池组是充电还是放电?⑵ 如果用电设备的电阻Ω=17L R 时,求负载吸收的功率和蓄电池组所在支路的电流1I 。
这时蓄电池组是充电还是放电?解:⑴ 当Ω=1L R ,设发电机支路电流为2I ,可列两个回路方程:1212120S S S S U I R U I R --+= 21212()0S S LU I R I I R --+=代入数据整理有:210.50.28I I -= 121.232I I +=联立求解得: 110I A = 220I A =所以有: 212()900L L P I I R W =+= 此时蓄电池组放电⑵ 当Ω=17L R ,代入上面方程,可得: 210.50.28I I -= 1217.21732I I +=联立求解得: 110I A =- 212I A =所以有: 212()68L L P I I R W =+= 此时蓄电池组充电2.11 如题2.11图所示电路,求图中受控源产生的功率P 受。
解:如图所示,有三个网孔①、②、③,设定 网孔电流巡回方向一致,列网孔方程:注意到网孔电流 3222A i i i ==,应而只需列网 孔①和②两个方程。
123(100100200)200100142i i i ++--=+ 12200(200300)2i i -++=- 1240040016i i -= 122005002i i -+=-解得: 22100i A =16100i A =受控源两端的电压为: 312146()100(2)100()1002100100u i i i i V =-=-=-=- 所以产生的功率为: 42(2)0.08100A P i u W =⨯=⨯-=受2.12 求如题2.12图所示电路中负载电阻R L 上吸收的功率P L 。
解:由于网孔3的网孔电流已知,为0.5i mA =-3 所以只需列两个网孔方程:123(1.53)3 1.56i i i +--=1233(113)0i i i -+++-= 将0.5i mA =-3代入,整理有:124.53 5.25i i -= 12350.5i i -+=- 联解得: 21i mA =可得: 221L L P i R mW =⨯=2.13 题2.13图示电路为晶体管等效电路,电路中各电阻及β均为已知,求电流放大系数i A (21/i A i i =),电压放大系数u A (21/u A u u =)。
解:设流过b R 的电流为/i ,则有: /1i i i b += 而 bfb be b R R i r i i )1(/β++=所以有: ])1(1[1bfbe b R R r i i β+++=而2i 是b i β的分流,为: LC Cb R R R i i +-=β2可得: fbe b b L C C i R r R R R R R i i A )1(12ββ+++⋅+-==又 LC LC b R R R R i u +-=β2 f b be b s R i r i u )1(β++=可得: fbe L C L C s u R r R R R R u u A )1(12ββ++⋅+-==2.14 如题2.14图所示电路,求电流i 1、i 2。
解:将电压源支路变换为电流源形式, 列一个节点方程:1111()103051110.5u +++=--- 解得 9u V =- 因而有: 291ui mA k ==-Ω154411u Vi mA k k +-===-ΩΩ2.15 求如题2.15图所示电路中电压U 、电流I 和电源U S 产生的功率P S 。
解:将电压源支路变换为电流源形式, 列两个节点方程:12111()22131U U +-=+ 12111()322112U U-++=-+ 联立求解得: 19U V = 28U V = 电压源支路电流为: 222S S U U I A -==- 可得: 28U U V ==1/33I U A ==4(2)8S S s P U I W ==⨯-=-2.16 如题2.16图所示电路,求电压U 。
解:将电压源支路变换为电流源形式, 列节点方程,有:1211111()()6132636U U ++-+=+ 1211111()()2136236U U -++++=-整理有:12214U U -=1222U U -+= 解得: 110U V = 26U V = 所以: 121064U U U V V V =-=-=2.17求如题2.17图所示电路中负载电阻R L 解:选三个节点如图所示,显然有:37U V = 列两个节点方程:1231111()71331U U U +--=-12311111()033212U U U -+++-=将37U V =代入,整理有:1241033U U -= 121117362U U -+=联立求解可得: 22U V =所以有: 22/4L L P U R W ==2.18 试设计一个电路,使其节点方程为如下方程: 12331u u u --= 123531u u u -+-=- 123351u u u --+=-式中,u 1、u 2、u 3分别为节点1、2、3的电位。
解:如图,节点4为参考节点。
2.19 如题2.19图所示电路中。
若/8i i =x ,试求电阻R x 的值。
解:该电路有三个网孔,已知有一个 网孔电流i i A =,所以列网孔方程为:0)15(10=-++-C x B x A i R i R i 0)10(5=++--C x B x A i R i R i已知: C B x i i i -= 和 )(88C B x A i i i i i -=== 带入方程,有0158080=-+++-C x B x B C B i R i R i i i ① 0104040=++-+-C x C B x C B i R i i R i i ② 两式相加,得: 0130105=+-C B i i 可有: 2126105130==C B i i 上面①式可变为: 0)(8065=-++-C B x C B i i R i i 进一步有: 0)1(8065=-++-CB xC B i iR i i 带入2126=C B i i ,解得 Ω=2x R2.20 如题2.20图所示电路,求电压u x 、电流i x2.21 求如题2.21图所示电路中的电流I解:该电路有四个网孔,如图所示, 已知网孔电流A 2=C i ,设1A 电流源上 的电压为/u ,方向与电流方向一致,可 列如下网孔方程:u i i C A -=-12 ① /2u u i B -+= ② 52/+=+-u i i D C ③由②式和③式消去/u ,可得 : u i i i D C B +=+-72 ④ 又已知: 2=C i 代入上式可得:u i A -=32 ⑤ u i i D B +=+92 ⑥由⑤式和⑥式消去u ,可得: 1222=++D B A i i i ⑦ 又已知: 3=-A B i i ⑧ 1=-D B i i ⑨ 联解⑦、⑧、⑨式,可得: A i A 1-= A i B 4= A i D 3= 显然有: A i i D 3==V i u A 523=-=2.22 求如题2.22图所示电路中的电压u x 。