医疗不良事件上报流程图
- 格式:doc
- 大小:32.50 KB
- 文档页数:1
医疗安全(不良)事件处理流程图
发生或发现医疗安全
(不良)事件
主管医护人员或值班医
师应立即采取措施,防报告科主任、护士长
止事件恶化
书面、电话、网络等方式,紧急情况立即电话上报
Ⅰ、Ⅱ级事件,及时上报医务处、Ⅲ、Ⅳ级事件,当事人报告科室负责护理部等职能科室。
当事科室在1人,在1-2个工作日内填报《医疗个工作日内填报《医疗质量安全(不质量安全(不良)事件报告表》良)事件报告表》
护理不良事件医疗不良事件
护理部(每月总结)医务处(每月总结)
护理质量安全管理委员会护理质量安全管理委员会(每季度总结)(每季度总结)
医院质量管理委员会(每半年总结)
制度或流程改进
奖惩建议
(相关只能科室)
(提交院办公会)。
西宁市第一医疗集团第二分院医疗(安全)不良事件报告制度与流程为了更好地保障医疗安全,减少医疗(安全)不良事件,确保患者安全,根据卫生部《二级综合医院评审标准(2012版)实施细则》,结合《医疗质量安全事件报告暂行规定》、《患者安全目标》,特制定我院医疗(安全)不良事件报告制度与流程,具体如下:一、医疗(安全)不良事件的定义和等级划分(一)定义本制度所称医疗(安全)不良事件指在临床诊疗活动中以及医院运行过程中,任何可能影响患者的诊疗结果、增加患者的痛苦和负担并可能引发医疗纠纷或医疗事故,以及影响医疗工作的正常运行和医务人员人身安全的因素和事件。
(二)等级划分医疗质量安全(不良)事件按事件的严重程度分4个等级:1.Ⅰ级事件(警告事件)——非预期的死亡,或是非疾病自然进展过程中造成永久性功能丧失。
分三个级别:(1)一般医疗质量安全事件:造成2人以下轻度残疾、器官组织损伤导致一般功能障碍或其他人身损害后果。
(2)重大医疗质量安全事件:造成2人以下死亡或中度以上残疾、器官组织损伤导致严重功能障碍;造成3人以上中度以下残疾、器官组织损伤或其他人身损害后果。
(3)特大医疗质量安全事件:造成3人以上重度残疾或死亡。
2.Ⅱ级事件(不良后果事件)——在疾病医疗过程中是因诊疗活动而非疾病本身造成的病人机体与功能损害。
3.Ⅲ级事件(未造成后果事件)——虽然发生了错误事实,但未给病人机体与功能造成任何损害,或有轻微后果而不需任何处理可完全康复。
4.Ⅳ级事件(隐患事件)——由于及时发现并修正错误,未形成事实。
Ⅰ、Ⅱ级为重大事件,Ⅲ、Ⅳ级为一般事件。
二、医疗质量安全(不良)事件报告的原则(一)Ⅰ级和Ⅱ级事件属于必须报告范畴,报告原则应遵照国务院《医疗事故处理条例》(国发[1987]63号)、卫生部《重大医疗过失行为和医疗事故报告制度的规定》(卫医发[2002]206号)以及卫生部《医疗质量安全事件报告暂行规定》执行。
(二)Ⅲ、Ⅳ级事件报告具有主动性和非处罚性的特点。
医疗质量安全事件报告规定(暂行)第一条为建立健全医疗质量安全事件报告制度,提高医疗质量安全事件信息报告的质量和效率,妥善处置医疗质量安全事件,推动医疗质量持续改进,切实保障医疗安全,根据《中华人民共和国执业医师法》、《医疗机构管理条例》、《医疗事故处理条例》及《医疗质量安全事件报告暂行规定》等规定,结合我院实际情况,制定本规定。
第二条医疗质量安全事件是指医院及其医务人员在医疗活动中,由于诊疗过错、医药产品缺陷等原因,造成患者死亡、残疾、器官组织损伤导致功能障碍等明显人身损害的事件。
第三条医务人员应当按照本规定报告医疗质量安全事件信息,不得瞒报、漏报、谎报、缓报。
第四条根据对患者人身造成的损害程度及损害人数,医疗质量安全事件分为三级:一般医疗质量安全事件:造成2 人以下轻度残疾、器官组织损伤导致一般功能障碍或其他人身损害后果。
重大医疗质量安全事件:(一)造成2 人以下死亡或中度以上残疾、器官组织损伤导致严重功能障碍;(二)造成3 人以上中度以下残疾、器官组织损伤或其他人身损害后果。
特大医疗质量安全事件:造成3 人以上死亡或重度残疾。
第五条医务人员在医疗活动中发生或者发现医疗质量安全事件、可能引起医疗质量安全事件的诊疗过错行为或者发生医疗质量安全事件争议的,应当立即以口头方式向所在科室(病区)负责人报告。
第六条科室(病区)负责人应当及时以口头方式向医务处报告,并立即组织和参与对患者的救治,督促医务人员及时完成相关病历资料的书写以及向医务处书面报告医疗质量安全事件中患者姓名、性别、年龄、国籍、就诊或入院时间、简要诊疗经过、目前状况、医疗质量安全事件发生的时间和经过、需要采取的医疗救治措施等。
报告时限按照一般医疗质量安全事件、重大医疗质量安全事件和特大医疗质量安全事件分别为5 日、6 小时和1 小时。
第七条医务处接到报告后,应当在科室(病区)负责人协助下立即展开调查、核实工作。
并将调查核实的有关情况如实向院领导报告,经院领导批准,按照一般医疗质量安全事件、重大医疗质量安全事件和特大医疗质量安全事件自事件发现之日(时)起15 日、12 小时和2 小时内上报有关信息。
WORD 格式
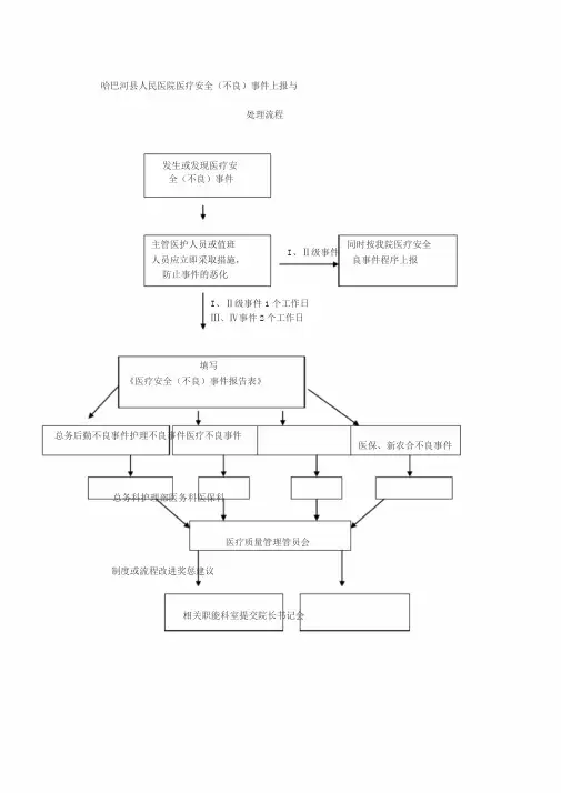
专业资料整理 哈巴河县人民医院医疗安全(不良)事件上报与
处理流程
发生或发现医疗安
全(不良)事件
主管医护人员或值班
人员应立即采取措施,
防止事件的恶化 I 、Ⅱ级事件 同时按我院医疗安全 良事件程序上报
I 、Ⅱ级事件1个工作日
Ⅲ、Ⅳ事件2个工作日
填写
《医疗安全(不良)事件报告表》
总务后勤不良事件护理不良事件医疗不良事件
医保、新农合不良事件
总务科护理部医务科医保科
医疗质量管理管员会
制度或流程改进奖惩建议
相关职能科室提交院长书记会。
西宁市第一医疗集团第二分院医疗(安全)不良事件报告制度与流程为了更好地保障医疗安全,减少医疗(安全)不良事件,确保患者安全,根据卫生部《二级综合医院评审标准(2012版)实施细则》,结合《医疗质量安全事件报告暂行规定》、《患者安全目标》,特制定我院医疗(安全)不良事件报告制度与流程,具体如下:一、医疗(安全)不良事件的定义和等级划分(一)定义本制度所称医疗(安全)不良事件指在临床诊疗活动中以及医院运行过程中,任何可能影响患者的诊疗结果、增加患者的痛苦和负担并可能引发医疗纠纷或医疗事故,以及影响医疗工作的正常运行和医务人员人身安全的因素和事件。
(二)等级划分医疗质量安全(不良)事件按事件的严重程度分4个等级:1.Ⅰ级事件(警告事件)——非预期的死亡,或是非疾病自然进展过程中造成永久性功能丧失。
分三个级别:(1)一般医疗质量安全事件:造成2人以下轻度残疾、器官组织损伤导致一般功能障碍或其他人身损害后果。
(2)重大医疗质量安全事件:造成2人以下死亡或中度以上残疾、器官组织损伤导致严重功能障碍;造成3人以上中度以下残疾、器官组织损伤或其他人身损害后果。
(3)特大医疗质量安全事件:造成3人以上重度残疾或死亡。
2.Ⅱ级事件(不良后果事件)——在疾病医疗过程中是因诊疗活动而非疾病本身造成的病人机体与功能损害。
3.Ⅲ级事件(未造成后果事件)——虽然发生了错误事实,但未给病人机体与功能造成任何损害,或有轻微后果而不需任何处理可完全康复。
4.Ⅳ级事件(隐患事件)——由于及时发现并修正错误,未形成事实。
Ⅰ、Ⅱ级为重大事件,Ⅲ、Ⅳ级为一般事件。
二、医疗质量安全(不良)事件报告的原则(一)Ⅰ级和Ⅱ级事件属于必须报告范畴,报告原则应遵照国务院《医疗事故处理条例》(国发[1987]63号)、卫生部《重大医疗过失行为和医疗事故报告制度的规定》(卫医发[2002]206号)以及卫生部《医疗质量安全事件报告暂行规定》执行。
(二)Ⅲ、Ⅳ级事件报告具有主动性和非处罚性的特点。
西宁市第一医疗集团第二分院医疗(安全)不良事件报告制度与流程为了更好地保障医疗安全,减少医疗(安全)不良事件,确保患者安全,根据卫生部《二级综合医院评审标准(2012版)实施细则》,结合《医疗质量安全事件报告暂行规定》、《患者安全目标》,特制定我院医疗(安全)不良事件报告制度与流程,具体如下:一、医疗(安全)不良事件的定义和等级划分(一)定义本制度所称医疗(安全)不良事件指在临床诊疗活动中以及医院运行过程中,任何可能影响患者的诊疗结果、增加患者的痛苦和负担并可能引发医疗纠纷或医疗事故,以及影响医疗工作的正常运行和医务人员人身安全的因素和事件。
(二)等级划分医疗质量安全(不良)事件按事件的严重程度分4个等级:1.Ⅰ级事件(警告事件)——非预期的死亡,或是非疾病自然进展过程中造成永久性功能丧失。
分三个级别:(1)一般医疗质量安全事件:造成2人以下轻度残疾、器官组织损伤导致一般功能障碍或其他人身损害后果。
(2)重大医疗质量安全事件:造成2人以下死亡或中度以上残疾、器官组织损伤导致严重功能障碍;造成3人以上中度以下残疾、器官组织损伤或其他人身损害后果。
(3)特大医疗质量安全事件:造成3人以上重度残疾或死亡。
2.Ⅱ级事件(不良后果事件)——在疾病医疗过程中是因诊疗活动而非疾病本身造成的病人机体与功能损害。
3.Ⅲ级事件(未造成后果事件)——虽然发生了错误事实,但未给病人机体与功能造成任何损害,或有轻微后果而不需任何处理可完全康复。
4.Ⅳ级事件(隐患事件)——由于及时发现并修正错误,未形成事实。
Ⅰ、Ⅱ级为重大事件,Ⅲ、Ⅳ级为一般事件。
二、医疗质量安全(不良)事件报告的原则(一)Ⅰ级和Ⅱ级事件属于必须报告范畴,报告原则应遵照国务院《医疗事故处理条例》(国发[1987]63号)、卫生部《重大医疗过失行为和医疗事故报告制度的规定》(卫医发[2002]206号)以及卫生部《医疗质量安全事件报告暂行规定》执行。
(二)Ⅲ、Ⅳ级事件报告具有主动性和非处罚性的特点。
医疗安全不良事件登记本科室:年度:涡阳县中医院目录医疗(安全)不良事件报告制度与处理流程医疗(安全)不良事件登记表医疗安全(不良)事件登记本为了更好地保障医疗安全,减少医疗(安全)良事件,确保病人安全,根据卫生部今年“以病人为中心,以提高医疗服务质量为主题”的医院管理年活动精神,结合中国医院协会《2009年度病人安全目标》,特制定长阳土家族自治县人民医院医疗(安全)不良事件报告制度,具体如下:一、医疗(安全)不良事件的定义本制度所称医疗(安全)不良事件指在临床诊疗活动中以及医院运行过程中,任何可能影响病人的诊疗结果、增加病人的痛苦和负担并可能引发医疗纠纷或医疗事故,以及影响医疗工作的正常运行和医务人员人身安全的因素和事件。
二、医疗(安全)不良事件类别根据医疗(安全)不良事件所属类别不同,划分为7类:1、病房诊治问题:包括错误诊断、严重漏诊、错误治疗、治疗不及时、院感染等。
2、不良治疗:包括错用药、多用药、漏用药、药物不良反应、输液反应、输血反应等。
3、意外事件:包括跌倒、坠床、烫伤、自残、自杀、失踪、猝死等。
4、辅助检查问题:包括报告错误、标本丢失、标本错误、检查过程中出现严重并发症等。
5、手术相关问题:如手术患者、部位和手术方式选择错误、患者术中死亡、术中术后出现并发症、手术器械遗留在体、住院期间同一病人的再次手术、麻醉相关事件等。
6、医患沟通:包括医患沟通不良、医患语言冲突、医患行为冲突等。
7、其他非上列导致医疗不良后果的事件。
说明:1、当发生不良事件后,当事人填写书面《医疗(安全)不良事件报告表》(具体见附件),记录事件发生的具体时间、地点、过程、采取的措施等容,一般不良事件要求24~48h报告,重大事件、情况紧急者应在处理的同时口头或上报告医务科,由其核实结果后再上报分管院领导。
2、职能科室接到报告后立即调查分析事件发生的原因、影响因素及管理等各个环节,制定对策及整改措施,督促相关科室限期整改,及时消除不良事件造成的影响,尽量将医疗纠纷消灭在萌芽状态。
市第二人民医院医疗安全(不良)事件上报制度和流程医疗安全(不良)事件报告是发现医疗过程中存在的安全隐患、防医疗事故、提高医疗质量、保障患者安全、促进医学发展和保护患者利益的重要措施。
为了更好地保障医疗安全,减少医疗(安全)不良事件,确保患者安全,根据卫生部“医疗质量万里行”活动方案文件精神,为达到卫生部提出的病人安全目标,落实建立与完善主动报告医疗安全(不良)事件的要求,特制定医院医疗(安全)不良事件报告制度,具体如下:一、医疗(安全)不良事件的目的规医疗安全(不良)事件的主动报告,增强风险防意识,及时发现医疗不良事件和安全隐患,将获取的医疗安全信息进行分析,反馈并从医院管理体系、运行机制与规章制度上进行有针对性的持续改进。
二、医疗(安全)不良事件的定义及等级划分(一)定义本制度所称医疗(安全)不良事件指在临床诊疗活动中以及医院运行过程中,任何可能影响患者的诊疗结果、增加患者的痛苦和负担并可能引发医疗纠纷或医疗事故,以及影响医疗工作的正常运行和医务人员人身安全的因素和事件。
(二)等级划分医疗安全(不良)事件按事件的严重程度分4个等级:Ⅰ级事件(警告事件)——非预期的死亡,或是非疾病自然进展过程中造成永久性功能丧失。
Ⅱ级事件(不良后果事件)——在疾病医疗过程中是因诊疗活动而非疾病本身造成的病人机体与功能损害。
Ⅲ级事件(未造成后果事件)——虽然发生了错误事实,但未给病人机体与功能造成任何损害,或有轻微后果而不需任何处理可完全康复。
Ⅳ级事件(隐患事件)——由于及时发现错误,但未形成事实。
三、医疗(安全)不良事件类别根据医疗(安全)不良事件所属类别不同,我院划分为9类:1、临床诊治类:包括错误诊断、严重漏诊、错误治疗、治疗不及时、手术患者部位和术式选择错误、患者术中死亡、术中术后出现并发症、手术器械遗留在体、住院期间同一手术的再次手术、麻醉相关事件等。
2、医技诊查类:包括报告错误、标本丢失、标本错误、检查过程中出现严重并发症等。