药品委托加工项目流程图
- 格式:pdf
- 大小:38.99 KB
- 文档页数:1
GMP 车间生产流程图
一、药品生产主流程图:
二、物料供应流程图:
1、定点供应商确认流程图:
供应商的质检报告
供应商基本请验单物料
情况调查表质检报告试生产单
不合格
2、物料定点采购流程图
3 、物料入库流程图
采购订单请验单
来料合格证取样证检验指令单
供应商检验报告取样记录分样记录
4、物料贮存流程图
不
合
格
5、物料发放流程图
下台帐
三、工艺用水系统流程图
不合格
不合格四、人员卫生和工艺卫生流程图
五、厂房设施空调系统流程图
否
六、设备管理流程图
. . word. .
.. . ...
.. . ...
七、药品生产和质量控制过程流程图
否
销
毁
合
.. . ...
格
否。
各制剂工艺流程图
清晰简洁
1.选料:原料的选择根据药物特性决定,以确保最终胶囊的质量符
合要求。
2.配料:胶囊的配料一般有:填料、润料、增粘剂,等等,根据不
同的药物要求选取合适的原料并进行混合配料。
3.过滤:将混合好的末上在筛网上过滤,以确保末的质量符合要求。
4.压药:将上述末投料到压片机机器腔内,按操作规程进行压制,
以形成胶囊壳片。
5.检验:检查压出的胶囊壳片的大小、质量和外观是否符合要求。
6.润湿:把经过检验合格的胶囊壳片放入润湿机中进行润湿,以使
得胶囊壳片的外表质量更佳。
7.自动充填:将润湿的胶囊壳片放入自动充填机中,按照操作规程
进行操作,使得胶囊壳片内表面均匀质量更佳。
8.检验:检查充填后的胶囊壳片的质量是否符合要求。
9.成型:将充填后的胶囊壳片放入成型机中进行成型,以确保最终
胶囊的质量。
10.检验:检查成型后的胶囊的质量是否符合要求。
11.包装:将验证合格的胶囊放入包装袋中进行包装、封口、称重和
中性化处理。
12.检验:确保最终的产品中无未检出污染物,同时检查包装袋的外观是否符合要求。
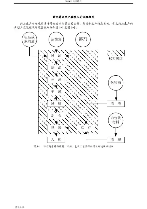
常见药品生产典型工艺流程框图
药品生产对环境的洁净等级要求与药品的品种、剂型和生产特点有关。
常见药品生产的典型工艺流程及环境区域划分如图1-1至图1-9。
图1-1 非无菌原料药精制、干燥、包装工艺流程框图及环境区域划分
图1-2 无菌原料药精制、干燥、包装工艺流程框图及环境区域划分
图1-3 片剂生产工艺流程框图及环境区域划分
图1-4 硬胶囊剂生产工艺流程框图及环境区域划分
图1-5 压制法软胶囊剂生产工艺流程框图及环境区域划分
图1-6 可灭菌小容量注射剂生产工艺流程框图及环境区域划分
图1-7 可灭菌大容量注射剂生产工艺流程框图及环境区域划分
图1-8 注射用无菌分装产品生产工艺流程框图及环境区域划分
图1-9 注射用冷冻干燥制品生产工艺流程框图及环境区域划分。
各制剂工艺流程图制剂工艺流程图是用于描述药物制剂生产过程中的各个环节和步骤的图示,主要用于指导药物制剂生产的操作和管理。
下面是一份完整版的制剂工艺流程图,用于生产一种口服片剂。
1.原料准备-准备活性成分-准备辅料-检查原料质量和数量是否符合要求2.混合-将活性成分和辅料分别加入混合机中-开始搅拌混合,使各原料均匀分布-混合时间和速度根据实际情况确定3.粉碎粉磨-将混合后的物料进入粉碎粉磨机-通过粉碎粉磨机的运转和设定,使物料达到所需颗粒大小和均匀度4.制粒-将粉碎粉磨的物料进入制粒机-通过制粒机的挤压和切割,将物料制成所需形状和大小的颗粒5.干燥-将制粒后的颗粒进入干燥设备-通过热风的吹送和控制,将颗粒中的水分蒸发,使其达到所需的含水量6.包衣-将干燥后的颗粒进入包衣机-首先进行底层涂衣,再进行上层涂衣-通过喷雾和旋转,使物料均匀地被包衣材料覆盖7.包装-将包衣后的片剂进入包装机-通过自动化的过程,将片剂装入包装袋、瓶子或其他包装容器中-根据需要,可能还要进行密封、贴标和喷码等处理8.检查和质控-对包装好的片剂进行质量检查-可能包括外观检查、尺寸测量、含量测定等-根据检查结果,判断是否符合质量要求9.炉后处理-将检查合格的片剂进行炉后处理-可能包括退火、贮存等步骤-这些处理有助于提高片剂的质量和稳定性10.包装成品-对炉后处理后的片剂进行最终包装-可能包括对片剂进行分装、组装和标记等操作-完成所有包装后,片剂即可称为成品以上是一份完整版的制剂工艺流程图,涵盖了药物制剂生产的主要流程和步骤。
根据实际情况,不同制剂的工艺流程可能会有所不同,但一般都包括原料准备、混合、粉碎粉磨、制粒、干燥、包衣、包装、检查和质控、炉后处理以及包装成品等环节。
制剂工艺流程图的目的是为了指导药物制剂生产中的操作和管理,使每一步都能得到正确执行,从而保证最终产品的质量和安全性。
常见药品生产典型工艺流程框图
药品生产对环境的洁净等级要求与药品的品种、剂型和生产特点有关。
常见药品生产的典型工艺流程及环境区域划分如图1-1至图1-9。
图1-1 非无菌原料药精制、干燥、包装工艺流程框图及环境区域划分
图1-2 无菌原料药精制、干燥、包装工艺流程框图及环境区域划分
图1-3 片剂生产工艺流程框图及环境区域划分
图1-4 硬胶囊剂生产工艺流程框图及环境区域划分
图1-5 压制法软胶囊剂生产工艺流程框图及环境区域划分
图1-6 可灭菌小容量注射剂生产工艺流程框图及环境区域划分
图1-7 可灭菌大容量注射剂生产工艺流程框图及环境区域划分
图1-8 注射用无菌分装产品生产工艺流程框图及环境区域划分
图1-9 注射用冷冻干燥制品生产工艺流程框图及环境区域划分。
制药企业工艺流程图1. 原料采购:从可靠的供应商处采购各种原料,如药物成分、原料药、添加剂等。
2. 原料检验:对采购的原料进行严格的检验,确保符合药品生产的质量要求。
3. 原料准备:对通过检验的原料进行必要的准备处理,如筛选、清洗、粉碎等。
4. 混合制备:将各种原料按配方比例混合,形成药物成分的混合物。
5. 反应制备:按照工艺要求进行各种反应制备,制备出原料药或中间体。
6. 加工制备:对反应制得的产物进行必要的加工,如结晶、干燥、研磨等。
7. 成品制备:将原料药按照配方要求进行成品制备,形成最终的制剂。
8. 包装:将制得的最终制剂进行包装,标注相关信息并进行最终质检。
9. 库存管理:对成品制剂进行库存管理,确保产品的质量和供应的充足性。
10. 质量控制:在整个生产过程中,对产品进行严格的质量控制,确保药品符合国家相关标准。
以上流程便是制药企业的工艺流程图,贯穿整个生产线,确保产品质量和产能的实现。
制药企业的工艺流程图是一个复杂而有序的系统,它涵盖了从原料采购到最终产品包装的整个生产过程。
在每一个环节都进行着严格的质量控制,确保产品的安全、有效性和质量。
下面将详细介绍制药企业工艺流程图中各个环节的相关内容。
原料采购环节是制药企业生产的第一步,原料的质量和来源直接影响着整个产品的质量。
因此,企业需要选择可靠的原料供应商和严格的原料采购标准,确保原料的纯度、稳定性和安全性。
采购的原料主要包括药物成分、原料药、添加剂等。
企业需要建立完善的原料采购管理系统,对原料进行严格的甄别和检验,排除质量不合格的原料。
原料检验环节是保证产品质量的重要环节之一。
对采购的原料进行严格的检验,包括外观检查、理化性质检测、微生物检验等,确保原料符合药品生产的质量要求。
同时,对原料进行严格的抽样检验和记录,确保原料质量数据可溯源。
原料准备环节是将通过检验的原料进行必要的准备处理,包括筛选、清洗、粉碎等。
这一环节的目的是为了使原料能够更好地投入到下一步的生产过程中,确保生产设备的正常运行和产品质量的稳定。
创作时间:二零二一年六月三十日
罕见药品生产典范工艺流程框图之马矢奏春创作
药品生产对环境的洁净品级要求与药品的品种、剂型和生产特点有关.罕见药品生产的典范工艺流程及环境区域划分如图11至图19.
图11 非无菌原料药精制、干燥、包装工艺流程框图及环境区域
划分
图12 无菌原料药精制、干燥、包装工艺流程框图及环境区域划
分
图13 片剂生产工艺流程框图及环境区域划分
图14 硬胶囊剂生产工艺流程框图及环境区域划分图15 压制法软胶囊剂生产工艺流程框图及环境区域划分
图16 可灭菌小容量注射剂生产工艺流程框图及环境区域划分图17 可灭菌年夜容量注射剂生产工艺流程框图及环境区域划分图18 注射用无菌分装产物生产工艺流程框图及环境区域划分图19 注射用冷冻干燥制品生产工艺流程框图及环境区域划分
创作时间:二零二一年六月三十日。
药品经营企业全套业务流程图药品采购管理程序包括首营企业、供货方、采购部、质量管理部和储运部等部门。
首营企业负责收集供货方的经营资格、质量信誉和履行合同能力等资料,并填写“首营企业审批表”进行审核。
同时,采购部对供货商销售人员的资格进行审查,包括委托授权书、身份证复印件和上岗证书复印件等。
质量管理部审核并建立合格供应商档案,包括生产批件或新药证书、质量标准或检验方法、包装、标签、说明书实样、药品检验报告单、药品批件、物价资料、样品等。
同时,质量管理部负责建立和归档药品质量档案,并签订质量保证协议,形成合格采购品种目录。
对于其他合格经营品种,采购部需要索取加盖供方质管机构原印章的《进品药品注册证》或《医药产品注册证》和《进口药品检验报告单》或《进口药品通关单》等相关文件。
在采购计划中,采购部需要制定采购计划,并与财务部进行付款协商,签订合同和采购订单,生成药品收货单。
储运部负责收货,验收员在待验区内进行品种、数量、批号、效期和外包装检查和质量抽验。
收货员需要检查来货运输条件、药品外观,核对药品收货单和来货随货同行单,并按随货同行单核对来货药品品种、批号、数量。
如果不符合质量问题、品种不符或效期违约等情况,需要拒收。
如果符合数量不符,采购部需要通知供货商确认并修改采购记录、随货同行单,按修改后的单据收货。
如果供货商不予确认,需要拒收。
如果经过质管部复查不合格,需要填写封箱复原并盖上“已抽验”,确认验收项目,生成验收入库单,并凭验收入库单与保管员办理入库交接手续。
验收记录需要注明不合格项目结论,并填写《拒收报告单》。
如果供货方质量违约,需要委托销毁或放入不合格品库。
对于不合格品,需要进行购进退出管理程序和不合格品管理程序。
药品入库储存管理程序需要保管员将药品按照入库通知单要求置入合格品区、冷库、阴凉库、常温库、不合格品区或退货区内。
同时,需要对服药品和外用药品进行信息编码、定位录入系统管理,以便进行药品在库养护管理程序。