审批流程图(财务)
- 格式:doc
- 大小:124.50 KB
- 文档页数:5
财务审批流程图概况财务审批流程图是为了确保公司内部财务决策的合规性和透明性而设计的。
通过明确的审批流程,可以保证财务决策的准确性和合理性。
流程图graph LRA(提交申请) --。
B{申请是否完整}B -- 完整 --。
C{申请金额是否超过预算}C -- 未超过 --。
D(审批通过)C -- 超过 --。
E{是否需要副总经理审批}E -- 需要 --。
F(副总经理审批)E -- 不需要 --。
DB -- 不完整 --。
G(驳回申请)G -- 返回 --。
A详细描述1.提交申请:员工向财务部门提交财务申请单。
2.申请是否完整:财务部门对申请单进行审查,检查是否填写完整,如有不完整之处,驳回申请并返回给员工。
3.申请金额是否超过预算:财务部门根据公司预算进行核对,判断申请金额是否超过预算。
4.未超过预算:财务部门将申请单转交给审批人员进行审批。
5.超过预算:申请单需被送至副总经理审批,副总经理根据公司财务状况和重要性进行决策。
6.需要副总经理审批:副总经理审批后,决策结果将呈报给财务部门。
7.不需要副总经理审批:申请单将由财务部门负责人进行最后的审批。
8.审批通过:财务部门将申请单标记为通过,并进行后续处理。
9.驳回申请:财务部门在审查中发现不合规的情况时,将驳回申请,需员工重新提交。
该财务审批流程图为简化版本,具体的财务审批规则和流程可能根据公司的内部政策和流程进行微调和修改。
财务费用报销流程图总结在详细分析《财务费用报销流程图》文档后,我们可以清晰地勾勒出财务费用报销的全流程及其关键环节。
以下是对该流程图的详细总结,确保涵盖所有关键步骤及细节信息。
报销发起与准备1. 报销单据整理与粘贴报销人员需依据公司费用报销制度,细心整理需报销的发票或单据,并进行规范粘贴。
这一步骤确保了后续审核流程的顺畅进行。
具体细节包括发票或单据的清晰度、完整性,以及是否符合财务规定的粘贴要求。
2. 填写《费用报销单》报销人员需使用规定的笔具,在《费用报销单》上准确填写报销信息,不得涂改。
对于采购物品的报销,还需附上总经理签字确认的《采购申请表》。
这一步骤确保了报销信息的准确无误,为后续审核提供了必要的信息基础。
部门内部审核3. 直接主管审核报销人员将准备好的《费用报销单》及相关单据提交给直接主管审核。
直接主管需对费用产生的原因及真实性、费用的合理性、票据及单据的规范性进行严格审核。
若发现不符合要求,直接主管需立即退还给报销人员重新整理提报。
这一环节强化了内部控制,确保报销费用的合理性和合规性。
财务部门审核4. 财务部门审核通过直接主管审核后,报销单据将提交至财务部门。
财务部门的会计人员将对报销费用进行进一步确认,审核内容主要包括费用是否符合报销标准、财务是否能及时安排此费用、单据或票据是否符合财务规范要求。
同样,若发现不符合要求,财务部门将立即退还给相关部门重新整理提报。
这一步骤确保了报销费用的准确性和合规性,符合公司财务管理规定。
高层审批5. 执行董事长批准财务部门审核通过后,报销单据将提交至执行董事长进行最终审批。
执行董事长需对报销单据进行全面审阅,并签署意见及时间。
若发现不符合要求,执行董事长将退回财务部跟进处理。
这一环节体现了公司高层对财务管理的高度重视和严格把关。
报销款项支付6. 出纳准备报销款项经过执行董事长批准后,财务部出纳将根据批准的报销单据准备报销款项。
出纳需确保支付金额的准确无误,并按照公司规定的方式进行支付。
财务审批权限流程图目录一、预算审批权限流程 (1)二、财务审批权限流程图一、企划费用类审批流程 (4)二、营运工程设备类审批流程 (5)三、信息维保、信息系统类审批流程……………………………………………………………………………………………6四、日常费用类审批流程 (7)五、退还押金类审批流程 (9)六、人力成本类审批流程 (10)七、股改及上市费用审批流程 (10)八、更换使用备用金类审批流程 (11)九、供应商货款审批流程 (12)十、财务类税费、费用审批流程 (13)十一、罚款审批流程 (14)十二、其他相关财务事项审批流程 (15)预算审批权限流程图门店、地区下发执行实分管副总裁审总部财务中心总部主管总监地区财务总监地区总经理审店长(部门经地区主管总监公司月度费使用部门申请Ys1: 施核总监审批审核权审核权核理)审核审核用资金预算总部月度费总部主管总监总部财务中心分管副总裁审下发执行实使用部门申请Ys2: 用资金预算审核权总监审批批施地区月度人力地区财务总监地区人力总监地区总经理审总部财务中心总部人力中心下发执行Ys3: 费用资金预算分管总裁审批审核审核核总监审批总监审核审批总部月度人力总部财务中心总部人力部门总部人力中心下发执行费用资金预算分管总裁审批Ys4: 总监审批汇总申请总监审核审批地区企划费地区总经理审总部企划中心地区企划总监地区财务总监分管副总裁审总部财务中心地区企划部门用、企划工程下发执行核审核审核总监审核Ys5: 批总监审批汇总申请类月度资金预算审批地采预付各地区公司采款、地采严采购副总裁地区总经理下发执行地区财务总监财务中心总监总部采购中心Ys6: 格帐期月度购总监审核权审核权审核实施审核权审批权总监审核权资金预算1统采预付款、Ys7: 下发执行实总部采购财务中心总监总部采购中心采购副总裁统采严格帐期施审核经理申请总监审核审核月度资金预算大帐期货款下发执行实会计总监审核财务中心总监财务副总裁审Ys8: 月度资金预结算会计提交施权审核核算新投资项目在未交接Ys9: 给地区公司前投资性下发执行实财务中心总监财务副总裁审基建办、行政中心、拓分管总裁审批付款:预付房租、基施审核批展中心总监审核权建、购置固资等月度资金预算备注:新投资项目未交接给地区公司前,各部门在支付质保金前的所有投资性付款时从该审批流进行提交审批。
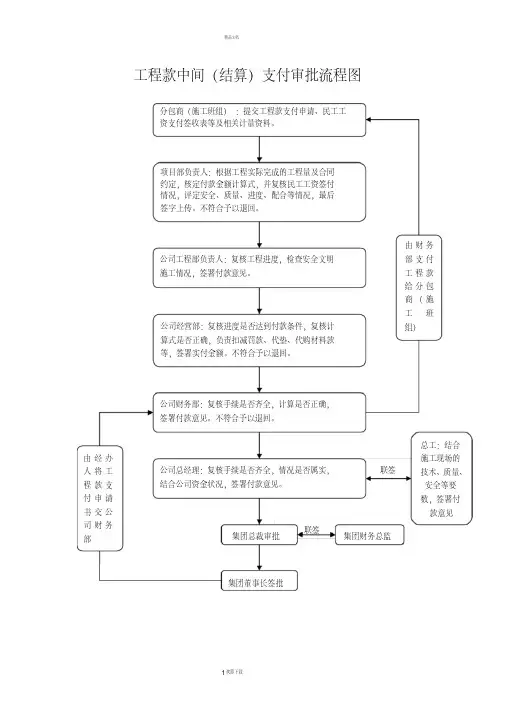
工程款中间(结算)支付审批流程图
联签联签分包商(施工班组):提交工程款支付申请、民工工
资支付签收表等及相关计量资料。
项目部负责人:根据工程实际完成的工程量及合同
约定,核定付款金额计算式,并复核民工工资签付
情况,评定安全、质量、进度、配合等情况,最后
签字上传。
不符合予以退回。
公司工程部负责人:复核工程进度,检查安全文明
施工情况,签署付款意见。
公司经营部:复核进度是否达到付款条件,复核计
算式是否正确,负责扣减罚款、代垫、代购材料款
等,签署实付金额。
不符合予以退回。
公司财务部:复核手续是否齐全,计算是否正确,
签署付款意见。
不符合予以退回。
公司总经理:复核手续是否齐全,情况是否属实,结合公司资金状况,签署付款意见。
集团总裁审批集团董事长签批
集团财务总监由经办
人将工
程款支
付申请
书交公
司财务
部由财务
部支付工程款
给分包
商(施
工
班
组)总工:结合
施工现场的技术、质量、安全等要数,签署付款意见
欢迎您的下载,
资料仅供参考!
致力为企业和个人提供合同协议,策划案计划书,学习资料等等
打造全网一站式需求。