项目投资基本流程图
- 格式:docx
- 大小:56.42 KB
- 文档页数:9
一 般 社 会 投 资 项 目 审 批 全 流 程 图
图
示
政府审批事项
招标服务事项 企业自主事项 第三方服务
可能发生事项 注:一般社会投资项目从立项到竣工验收行政审批服务耗时27.5个工作日,全流程跨度时间68.5-92.5个工作日(不含建设施工时间)。
联合验收阶段[3日]
(施行联合验收限时出具验收意见,同步完成验
收备案)
住建局 建设工程竣工验收 气象局 防雷装置验收
教育局 教育设施竣工验收 审批局 建设工程规划条件核实 住建局 1.建设工程档案验收 2.建设工程质量验收
测绘机构[5日] 工程竣工测绘
人防办 人防工程竣工验收 住建局 建设工程竣工消防验
收 资规局 建设工程土地复核验
收 项
目 开 工 前
项目单位竣工验收准备。
六、200万-3000万元政府投资项目基本建设程序流程图(市政)
45.分部工程验收(质量安全部、工程管理部、规划设计部)48.单位工程验收(质量安全部、工程管理部)49.审核竣工资料和竣工报告(工程管理部)50.工程整体竣工验收(质量安全部、工程管理部)
52.工程移交(工程管理部)
51.竣工结算(工程管理部、成本管理部及各相关部门)
53.财务决算(财务管理部)
46.规划验收(工程管理部、规划设计部、质量安全部)
47.消防、人防、防雷等其它专项验收(工程管理部、规划设计部、质量安全部)
注:1、单独选址项目亦适用此流程图,需在用地预审阶段提供地灾评估报告、压矿审查意见等。
2、所有招标活动视招标预算确定采用公开招标或摇珠的方式;
3、招标的过程除合同执行部门和招标采购部参与外,需成本管理部、法务部提供相关支持。
4、“初步设计”包括征求公司内部各部门意见、报公司技术专家委员会、征求公司外部(如交警支队、信息化处、电力、水务集团、大横琴城资、公交公司等)意见;
5、“施工图设计”包括征求公司内部各部门意见;
6、市政项目中若包含房建工程,则其规划、消防等的报批程序参照房建类报批程序执行;
7、海绵城市设施在方案设计和施工图设计中应增加海绵专项设计,报市海绵办进行审查,相关审批部门、审查机构将市海绵办的审查意见作为出具相关批复及施工图审查合格证的前置条件。
对搜集到的项目信息进行实地考察,签订《保密协议》,编制《项目考察报告》
项目考察后,向项目评审会,提交《项目考察报告》
经评审,认为可以对企业做进一步调查研究的,填写《项目立项申请审批表》报公司项目考评会批准立项
立项批准后,组织人员对项目进行尽职调查,编写《尽职调查报告》和《投资建议书》,提交投资决策委员会,进行投决。
完成《投资决策委员会表决书》,形成投资决议
通过投资决策的项目,经公司法律顾问审核相关合同协议后,由授权代表与合作对方签署《投资协议》
对项目企业进行跟踪管理、取得相关资料,参加重要会议,并编写《被投企业季度报告》
管理者提交《投资退出方案书》并组织实施、项目退出后完成《项目总结报告》。
1
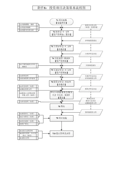
T2 初审会(一评)
【资产管理部、董办】
T3 立项评审会(二评)
【总裁办】
T4 尽职调查(如需)
【资产管理部】
T5 尽调评审会(三评)
【资产管理部】
T6 投资评审会(四评)
【总裁办】
T7 江山控股董事会/股东
大会(五评,如需)
【董办】
T8 签约
4.1 尽调实施及出具尽
调报告
立项评审会决议
9.1股权转让(如需)
9.2公司移交(如需)
9.3项目建设(如需)
T1 项目报备
【实施单位】
评审版投资建议
投资可行性文件
(如需)及投资建
议
尽职调查报告6.1补充谈判(如需)
1.1 现场踏勘、调研
1.2 收益率测算
5.1投资谈判
6.2确定投资文件
尽调评审会决议
评审版投资文件
投资评审会决议9.4资产移交
董事会决议
股东大会决议
定稿版投资文件1.3 投资可行性分析
5.2征求投资文件意见
T9 项目实施
签约版投资文件6.3准备江山控股决策
审批文件(如需)
7.1补充谈判(如需)
T10 投后管理及评价
10.1投后过程管理
10.2项目变更、中止及
终止(如有)
10.3投后评价。
工程建设项目史上最完整的全流程图2019.5.27shuilibu一、工程建设项目前期工作流程1.1 工程建设项目基本流程1.2工程建设项目建设项目投资决策(建议书、可研)流程1.3 工程建设项目建设项目设计阶段工作流程1.4 工程建设项目准备阶段工作流程二、工程建设项目管理流程2.1 工程建设项目管理基本流程2.2 招投标基本流程2.3 合同签订流程2.4 施工准备流程三、项目风险管理与信息管理流程3.1 项目风险管理流程3.2 项目信息管理流程3.3 竣工验收流程四、工程项目监理工作基本流程4.1 工程项目实施监理的总流程4.2 施工准备阶段监理工作流程4.3 施工阶段工程投资控制流程4.4 施工阶段工程进度控制流程4.5 施工阶段工程质量控制流程4.6 施工阶段安全监理控制流程4.7 合同管理控制流程4.8 信息管理控制流程4.9 组织协调控制流程4.10 工程质量问题及工程质量事故处理流程4.11 工程安全事故处理流程4.12 工程洽商控制及签证工作流程4.13 工程竣工验收控制流程1.1 工程建设项目基本流程1.2工程建设项目建设项目投资决策(建议书、可研)流程1.3 工程建设项目建设项目设计阶段工作流程1.4 工程建设项目准备阶段工作流程2.1 工程建设项目管理基本流程2.2 招投标基本流程2.3 合同签订流程2.4 施工准备流程3.3 竣工验收流程4.1 工程项目实施监理的总流程4.7 合同管理控制流程4.10 工程质量问题及工程质量事故处理流程4.11 工程安全事故处理流程4.12 工程洽商控制及签证工作流程4.13 工程竣工验收控制流程4.14 保修阶段监理工作流程。
工程建设项目全流程图一、工程建设项目前期工作流程1.1 工程建设项目基本流程1.2工程建设项目建设项目投资决策(建议书、可研)流程1.3 工程建设项目建设项目设计阶段工作流程1.4 工程建设项目准备阶段工作流程二、工程建设项目管理流程2.1 工程建设项目管理基本流程2.2 招投标基本流程2.3 合同签订流程2.4 施工准备流程三、项目风险管理与信息管理流程3.1 项目风险管理流程3.2 项目信息管理流程3.3 竣工验收流程四、工程项目监理工作基本流程4.1 工程项目实施监理的总流程4.2 施工准备阶段监理工作流程4.3 施工阶段工程投资控制流程4.4 施工阶段工程进度控制流程4.5 施工阶段工程质量控制流程4.6 施工阶段安全监理控制流程4.7 合同管理控制流程4.8 信息管理控制流程4.9 组织协调控制流程4.10 工程质量问题及工程质量事故处理流程4.11 工程安全事故处理流程4.12 工程洽商控制及签证工作流程4.13 工程竣工验收控制流程一、工程建设项目前期工作流程1.1工程建设项目基本流程1.2建设项目投资决策(建议书、可行性研究报告)流程政府投资项目企业投资项目1.3 工程建设项目建设项目设计阶段工作流程1.4 工程建设项目准备阶段工作流程二、工程项目建设管理流程2.1 工程建设项目管理基本流程三、项目风险管理与信息管理流程3.1 项目风险管理流程·消极保留·非保险转移·消极保留·积极保留·保险转移·减小风险3.2 项目信息管理流程3.3 竣工验收流程四、工程项目监理工作基本流程4.9 组织协调控制流程4.10 工程质量问题及工程质量事故处理流程4.11 工程安全事故处理流程4.12 工程洽商控制及签证工作流程4.13 工程竣工验收控制流程4.14 保修阶段监理工作流程。
政府投资项目建设流程图
市委、市政府直接指令
成立项目部,产生项目主任。
综合科下达任务。
项目部接受任务,做好交接准备。
项目部与业主进行交接,办理交接手续。
前期科办理前期各项手续及与相关部门的协调工作。
总师室负责勘察设计及建筑方案。
合同预算科负责投资估算、工程概算、工程量材
料清单及合同备案,配合工程招投标。
项目部组织工程招投标。
材料科参与编制材料设备供应计划。
财务科落实项目资金。
工程科配合做好开工前准备工作。
项目部负责质量、安全、进度及文明施工管理,
与相关单位协调,工程量变更、现场签证、中间
验收、单项验收等。
总师室负责工程技术管理。
合同预算科负责工程计量及造价控制。
材料科组织材料设备供应及调试。
前期科负责配套设施接入。
财务科负责工程款拨付。
项目部组织竣工验收及工程资料收集归档,与前
期科办理移交手续。
前期科组织工程备案、移交验收及工程资料收集档。
合同预算科组织工程结算。
财务科负责资金拨付。
前期科负责项目移交和信息反馈工作。
财务科负责资产移交。
工程科负责回访。
确定勘察、设计单位流程图
三通一平实施流程图
工程变更流程图
工程款支付
流程图
项目招标及订立合同流程图
材料设备采购流程图。
项目投资基本流程图Document number:PBGCG-0857-BTDO-0089-PTT1998立项环节过审环节投后管理结束立项注3 总裁办注2评审小组审核3天5天投资管理中心注1 总经理分/子公司管理层讨尽调评估注7 总裁办结束 注 6 评审小组评审 5天注5 投资管理中心 5天三方尽调报告法律尽调业务尽调10 天 财务尽调分/子公司洽谈、二次筛选分/子公司洽谈,筛选项目 项目来源高峰论坛、对接会 券商、律所、会所新三板企业 科技局、招商局行业协会银行…组织尽调 注4确定尽调时间及周期 7天确定尽调团队,进行预调分/子公司牵头签订并购意向书发送尽调清单5天注 14 注 13 注 12过审工商变更 交接新三会投后管理跟踪管理 投资退出签约>1500 万,股东会结束审批机构审批 注 10>300 万、≤1500 万 董事会项目联合评审注95天投资管理中心 7天≤300 万,总经理交易谈判、实施方案、并购协议、章20 天内反馈注8 资产评估摇珠申请 清产核资 摇珠申请流程小注: 1、 下级机构指向上级机构的箭头表示评审 通过,上报上级审批机构 2、 审批机构指向结束的箭头表示审批不通 过项目结束 3、 上级机构对下级机构的箭头表示需要对 项目进行反馈,修改后重新提报所需资料汇总清单注 1(立项阶段-分公司上报可行性报告至投资管理中心阶段):所需资料有一 可行性分析报告二 分/子公司管理层评审意见三 与目标公司签订的保密协议书四 附件资料(一) 财务资料无 提交时间1 公司最近 3 年一期经审计的财务报表及其附注; 2 公司最近 3 年一期的内部财务报表; 3 公司最近 3 年一期纳税申报表和纳税年度申报表; 4 如财务报表未经审计或虽审计但无附注则需提供近三年一期科目余额表(列至三级明细且含期初余额、本期发生额、期末余额 等);(二) 经营资料 1 公司业务情况详细说明:(以物业行业为例:包含但不限项目 (在管、已签未进场、跟进的意向性较强的项目)数量及清单、 项目面积、收费标准、近三年项目费用收缴率、合同额、合同时 间、产值规模、净利润、毛利率、近三年发展趋势等等); 2 公司目前有效的工商营业执照(包括正本和副本)及章程; 3 为设立公司及公司运营所必须取得的全部政府批准、登记备案及 许可文件,包括但不限于:公司设立和变更的批文(如有)、主 营业务相关的生产许可证、经营许可证等; 4 公司取得的全部与经营有关的许可证,资质证书、备案或其他证 书; 5 公司股权结构图、公司组织架构图;所需资料汇总清单注 2(立项阶段-评审小组评审后,上报可行性报告至总裁办阶段):所需资料有无一 评审小组审核意见二 注 1 资料提交时间所需资料汇总清单注 3(立项阶段-总裁办可行性报告审批结束阶段):所需资料 一 总裁办审核意见 二 注 2 资料有 无 提交时间所需资料汇总清单注 4(尽调阶段-组织尽调前阶段):所需资料 一 并购意向书有 无 提交时间所需资料汇总清单注 5(尽调阶段-投资管理中心提交尽调报告至评审小组阶段):所需资料有一 尽调报告(财务、法律、业务、整合)无 提交时间所需资料汇总清单注 6(尽调阶段-评审小组评审后,上报尽调报告至总裁办阶段):所需资料有无一 评审小组审核意见二 注 5 资料提交时间所需资料汇总清单注 7(尽调阶段-总裁办尽调报告审批结束阶段):所需资料 一 总裁办审核意见 二 注 6 资料有 无 提交时间所需资料汇总清单注 8(过审阶段-清产核资、资产评估阶段):所需资料 一 清产核资摇珠申请有 无 提交时间二 会计师事所合作协议 三 清产核资 四 资产评估摇珠申请 五 资产评估事务所合作协议 六 资产评估所需资料汇总清单注 9(过审阶段-投资管理中心提交联合评审小组阶段):所需资料有一 谈判1 交易方式2 交易价格3 并购协议4 并购后公司章程5 原股东的承诺书(如有)6 对赌协议(如有)二 清产核资报告三 资产评估报告所需资料汇总清单注 10(过审阶段-提交审批机构审议前阶段):所需资料有一 项目联合评审意见二 注 9 资料所需资料汇总清单注 11(过审阶段-签约前阶段):所需资料有一 审批机构审议意见(总经理、董事会、股东会)二 并购协议书三 注 10 资料无 提交时间无 提交时间 无 提交时间所需资料汇总清单注 12(过审阶段-新三会阶段):所需资料 一 董事、监事及财务负责人承诺书 二 新三会有 无 提交时间所需资料汇总清单注 13(过审阶段-交接阶段):所需资料 一 工作对接单有 无 提交时间所需资料汇总清单注 14(过审阶段-工商变更阶段):所需资料 一 工商变更有 无 提交时间附件一:尽职调查文件清单资料(含电子、纸质) 第一部分:公司成立一般情况公司目前有效的工商营业执照(包括正本和副本) 公司的工商内档材料(需有公司主管工商部门签章) 请说明公司注册资本实缴情况,并提供相应证明文件 公司自设立至今的审计报告、财务报告、评估报告(包 括但不限于公司设立、增资、重大重组、改制等行为 涉及的评估报告) 为设立公司及公司运营所必须取得的全部政府批准、 登记备案及许可文件,包括但不限于:公司设立和变 更的批文(如有)、主营业务相关的生产许可证、经 营许可证等 公司取得的全部与经营有关的许可证,资质证书、备 案或其他证书 公司股权结构和公司每位股东情况描述,包括姓名已提供 待提供 说明资料(含电子、纸质) (名称)、股权比例、成为公司股东的具体时间,如 是法人股东,还应包括业务范围、经营范围及法定代 表人等基本信息,并提供该法人股东现时有效的工商 营业执照复印件,或其它类型的法人注册登记文件。
立项环节过审环节投后管理结束立项注3 总裁办注2 评审小组审核投资管理中心注1 总经理3天 5天尽调评估注7 总裁办结束 注 6评审小组评审5天注5 投资管理中心5天三方尽调报告10 天分/子公司管理层讨法律尽调业务尽调财务尽调分/子公司洽谈、二次筛选分/子公司洽谈,筛选项目 项目来源高峰论坛、对接会 券商、律所、会所新三板企业 科技局、招商局行业协会银行…组织尽调 注4确定尽调时间及周期7天确定尽调团队,进行预调5天 分/子公司牵头签订并购意向书发送尽调清单注 14 注 13 注 12过审工商变更 交接新三会投后管理跟踪管理 投资退出签约结束审批机构审批注 105天项目联合评审注97天投资管理中心>1500 万,股东会>300 万、≤1500 万 董事会≤300 万,总经理20 天内反馈交易谈判、实施方案、并购协议、章程注8 资产评估摇珠申请 清产核资 摇珠申请流程小注: 1、 下级机构指向上级机构的箭头表示评审 通过,上报上级审批机构 2、 审批机构指向结束的箭头表示审批不通 过项目结束 3、 上级机构对下级机构的箭头表示需要对 项目进行反馈,修改后重新提报所需资料汇总清单注 1(立项阶段-分公司上报可行性报告至投资管理中心阶段):所需资料有一 可行性分析报告二 分/子公司管理层评审意见三 与目标公司签订的保密协议书四 附件资料(一) 财务资料1 公司最近 3 年一期经审计的财务报表及其附注; 2 公司最近 3 年一期的内部财务报表; 3 公司最近 3 年一期纳税申报表和纳税年度申报表;4 如财务报表未经审计或虽审计但无附注则需提供近三年一期科目余额表(列至三级明细且含期初余额、本期发生额、期末余额等);(二) 经营资料 1 公司业务情况详细说明:(以物业行业为例:包含但不限项目(在管、已签 未进场、跟进的意向性较强的项目)数量及清单、项目面积、收费标准、 近三年项目费用收缴率、合同额、合同时间、产值规模、净利润、毛利率、 近三年发展趋势等等); 2 公司目前有效的工商营业执照(包括正本和副本)及章程; 3 为设立公司及公司运营所必须取得的全部政府批准、登记备案及许可文件, 包括但不限于:公司设立和变更的批文(如有)、主营业务相关的生产许可 证、经营许可证等; 4 公司取得的全部与经营有关的许可证,资质证书、备案或其他证书; 5 公司股权结构图、公司组织架构图;所需资料汇总清单无 提交时间注 2(立项阶段-评审小组评审后,上报可行性报告至总裁办阶段):一 评审小组审核意见 二 注 1 资料所需资料所需资料汇总清单有 无 提交时间注 3(立项阶段-总裁办可行性报告审批结束阶段):一 总裁办审核意见 二 注 2 资料所需资料所需资料汇总清单有 无 提交时间注 4(尽调阶段-组织尽调前阶段):一 并购意向书所需资料所需资料汇总清单有 无 提交时间注 5(尽调阶段-投资管理中心提交尽调报告至评审小组阶段):所需资料一 尽调报告(财务、法律、业务、整合)所需资料汇总清单有 无 提交时间注 6(尽调阶段-评审小组评审后,上报尽调报告至总裁办阶段):一 评审小组审核意见 二 注 5 资料所需资料所需资料汇总清单有 无 提交时间注 7(尽调阶段-总裁办尽调报告审批结束阶段):一 总裁办审核意见 二 注 6 资料所需资料所需资料汇总清单有 无 提交时间注 8(过审阶段-清产核资、资产评估阶段):所需资料一 清产核资摇珠申请 二 会计师事所合作协议 三 清产核资 四 资产评估摇珠申请 五 资产评估事务所合作协议有 无 提交时间六 资产评估所需资料汇总清单注 9(过审阶段-投资管理中心提交联合评审小组阶段):所需资料一 谈判 1 交易方式 2 交易价格 3 并购协议 4 并购后公司章程 5 原股东的承诺书(如有) 6 对赌协议(如有) 二 清产核资报告 三 资产评估报告所需资料汇总清单注 10(过审阶段-提交审批机构审议前阶段):一 项目联合评审意见 二 注 9 资料所需资料所需资料汇总清单注 11(过审阶段-签约前阶段):所需资料一 审批机构审议意见(总经理、董事会、股东会) 二 并购协议书 三 注 10 资料有 无 提交时间有 无 提交时间 有 无 提交时间所需资料汇总清单注 12(过审阶段-新三会阶段):所需资料一 董事、监事及财务负责人承诺书 二 新三会所需资料汇总清单有 无 提交时间注 13(过审阶段-交接阶段):一 工作对接单所需资料所需资料汇总清单有 无 提交时间注 14(过审阶段-工商变更阶段):一 工商变更附件一:所需资料有 无 提交时间尽职调查文件清单资料(含电子、纸质) 第一部分:公司成立一般情况公司目前有效的工商营业执照(包括正本和副本) 公司的工商内档材料(需有公司主管工商部门签章) 请说明公司注册资本实缴情况,并提供相应证明文件 公司自设立至今的审计报告、财务报告、评估报告(包括但不限 于公司设立、增资、重大重组、改制等行为涉及的评估报告) 为设立公司及公司运营所必须取得的全部政府批准、登记备案 及许可文件,包括但不限于:公司设立和变更的批文(如有)、 主营业务相关的生产许可证、经营许可证等 公司取得的全部与经营有关的许可证,资质证书、备案或其他 证书 公司股权结构和公司每位股东情况描述,包括姓名(名称)、股 权比例、成为公司股东的具体时间,如是法人股东,还应包括 业务范围、经营范围及法定代表人等基本信息,并提供该法人 股东现时有效的工商营业执照复印件,或其它类型的法人注册 登记文件。
如股东间有非股权的关联关系(如亲属关系),请予 以注明并提供相关资料 公司股份转让的协议及其它股东同意转让股权及放弃优先购买已提供待提供说明资料(含电子、纸质) 权的函、第三方拥有抵押权的情况和相关文件(如适用) 公司股东投资的与公司属同一行业的企业、实体清单 就公司股东之间是否存在关联关系进行说明(如存在亲属关系 等)已提供待提供说明若公司的任何股东是国有企业或是具有国有股权成份的公司, 请指出并提供该股东股权结构的说明,同时提供公司的国有产 权登记证明文件(如适用) 公司的分、子公司清单,请提供该分、子公司的工商内档(需 有公司主管工商部门签章) 公司组织结构图,列明公司的全部董事、监事、高级管理人员、 主要管理人员、核心业务人员的姓名以及其相关职位的职权范 围的描述 公司成立以来历次股东决定/执行董事决定/ 监事/高层管理部 门等重大事项的决议记录及其文件 公司所有在管项目清单及详细情况说明(包括但不限于项目名 称、管理面积、收入、人员配置等) 公司主要业务的介绍,以及公司各项基本制度 公司享受的政策和税收优惠政策文件 第二部分:经营信息 公司的经营计划 公司产品的市场研究/报告 公司主要客户清单(包括名称、金额、占比等) 公司主要原材料供应商清单(包括名称、金额、占比等) 第三部分:合同 公司业务中使用的所有的格式合同(样本)及合同清单 公司及其分子公司的所有在有效期内的合同或该任何合同项下 义务尚未履行完毕的合同 公司与其股东、董事、监事及高级管理人员之间是否存在关联 交易(包括关联借款、关联担保等),公司与公司股东、董事、 监事及高级管理人员直接或间接持股或控制的企业(如有)是 否存在任何关联交易,并请提供前述关联交易相关的 2 合同、 协议等 所有其他重大融资的文件和协议,包括但不限于融资租赁、经 营租赁、以及分期付款的购买安排等(如有) 公司有关债权债务争议的有关文件(如有) 就任何上述合同的现有和潜在的违约情况说明 第四部分:财务信息(“近 3 年”指最近三个年度及截止本年度本期的数据)公司(含总公司及所有分子公司)单体及合并的最近 3 年经 审计的财务报表及其附注; 公司(含总公司及所有分子公司)单体及合并的最近 3 年的资料(含电子、纸质)已提供内部财务报表;公司(含总公司及所有分子公司)所有凭证、账册、单据等财务相关档案及资料;最近 3 年与公司合并或被公司收购的所有经济实体的经审计的财务报表;目前内部预算、财务计划与预测及所有长期预算、资本扩张、重组程序或战略性计划有关的书面报告或文件;每个季度的纳税申报表和纳税年度申报表(国地税);与报表期间一致的近三年科目余额表(列至末明细且含期初余额、本期发生额、期末余额等);近三年每年末的固定资产清单、折旧计算明细表(含固定资产类别、原值、启用时间、折旧年限、残值率、月折旧额、年初余额、本年折旧、累计折旧等信息);其中房屋建筑物需提供相关产权证书复印件,运输工具需提供行驶证复印件;无形资产清单,包括:专利、许可和批准,特许经营、土地使用权的相关产权证等;税务、工商、环保、质监、安监等行政处罚行为(如有),需说明原因及相应的解决结果和有关佐证文件;资本金变动及最近一期验资报告;中国人民银行征信中心出具近 1 个月内的征信报告,包括企业、法人代表、控股股东或实际控制人;最近三年企业所有银行账户及与企业运营有关的个人银行账户流水清单;每年末的银行对账单;公司债权、债务文件清单及有关文件,需提供全部借贷合同(银行借贷、股东贷款、企业拆借等)(如有)公司提供担保总额、清单和有关文件(如有)公司设定抵押、质押总额、清单和有关文件(如有)第五部分:资产不动产公司目前占用或使用的所有不动产的清单,包括:自有房产、土地使用权、在建工程、租赁房产,并提供所有相应的权属证书或文件公司若有在建工程,请提供所有的相关文件,包括但不限于立项文件、建设用地规划许可证、建设工程规划许可证、建筑工程施工许可证、环保文件等设备及其他有形资产设备及其净值清单车辆及其净值清单,提供车辆产权登记证复印件其他重要有形资产及净值清单(净值在人民币 1 万元以上)知识产权所有的商标和域名注册证待提供说明资料(含电子、纸质) 所有的专利证书 所有的着作权登记证书(包括计算机软件登记证书) 所有公司作为其中一方的着作权、品牌或其他知识产权(包括 专有技术(know-how))使用协议 公司拥有的但未经登记的知识产权(包括但不限于装潢、特 有名称,非注册商标等),及其转让或许可情况 第六部分:劳动人力资源 人力资源基本情况 员工花名册 上述员工为从事相关工作所持有之法律要求的所有专业证书 与所有员工签署的劳动合同、保密协议、不竞争协议,以及 劳务派遣协议、劳务雇佣协议等 与职工订立的集体劳动合同(如有) 雇用手册、员工手册、员工规章和守则,以及奖惩办法 公司工会成立情况及其相应批文、工会管理制度及工会各委 员会成员等资料(如有) 公司存在职业病因素岗位员工清单,并请提供相应的体检报 告,包括岗前、岗中和离岗体检(如有) 职业病的发病情况及原因说明,公司为避免职业病发生而采 取的措施及执行情况(如有) 高级管理成员(董事、监事、总经理及副总经理、各子公司 总经理及副总经理)的简历(姓名、年龄、包括学历和工作 经验在内的履历、资历等)及签署的劳动合同、保密协议等 社会保险金及住房公积金缴纳情况 社会保险金登记证 最近三年的社会保险金缴付凭证 住房公积金登记证/卡 最近三年的住房公积金缴付凭证 最近一期社保缴纳人员清单明细 第七部分:诉讼、仲裁、行政处罚 所有与公司有关的诉讼案件的司法文书 所有与公司有关的仲裁案件的仲裁文书 目前在审理阶段的所有诉讼/仲裁案件清单及文件已提供附:社保及公积金清单格式:待提供说明(1)社会保险缴费基数格式:年份基数2018 年 1-当前月养老(%)医疗(%) 工伤(%) 失业(%) 生育(%)201720162015 (2)住房公积金缴费基数格式:年份基数公司2018 年 1-当前月201720162015个人。