APQP产品质量先期策划管理程序(试行版)
- 格式:doc
- 大小:387.00 KB
- 文档页数:22
1目的本程序确定产品开发全过程的各个步骤,促进与所涉及的每个职能部门的联系,保证开发进程;尽早发现所需更改,确保产品使顾客满意。
2范围本程序适用于本公司所有新产品开发和顾客工程更改后须按PPAP规定重新送样的产品(如果客户有特殊要求,依照客户的特殊要求规定的流程进行新产品的开发)。
3术语和定义3.1APQP:产品质量先期策划3.2PPAP:生产件批准程序3.3DFMEA:设计失效模式及后果分析3.4PFMEA:过程潜在的失效模式及后果分析3.5MSA:测量系统分析3.6OTS:工装样件,采用生产用模具、夹具模拟生产工艺,可不用生产用的设备,不按生产节拍生产,用来评价产品和过程试验策划。
3.7SOP:批量生产件4作业流程5支持文件5.1潜在失效模式及后果分析控制程序6质量记录6.1 市场调查与可行性分析报告6.2 产品立项建议书6.3 立项评审表6.4 项目小组名单6.5 APQP计划6.6 设计任务书6.7 设计任务书评审表6.8 产品保证计划6.9 初始材料清单6.11 初始过程流程图6.12 产品和过程特殊特性初始清单6.13 培训计划和记录6.14 第一阶段评审输出报告6.15 设计验证报告6.16 技术质量协议6.17 采购合同/订单6.18 原材料样件认可报告6.19 样件控制计划6.20 样件检验规范/条件6.21 样件测试/确认报告6.22 新设备、工装和设施清单6.23 工装和试验设备检查表6.24 第二阶段输出评审报告6.25 过程流程图6.26 过程流程图检查表6.27 场地平面布置图6.28 场地平面布置图检查表6.29 PFMEA (试产)6.30 PFMEA检查表6.31 试生产控制计划6.32 控制计划检查表6.33 产品检验报告6.34 包装规程6.35 产品审核报告6.36 过程审核报告6.37 产品/过程质量体系评审检查表6.38 测量系统分析计划6.39 初始过程能力分析计划6.40 第三阶段输出评审报告6.41 小组可行性承诺报告6.42 工艺装备首件认可记录6.43 全尺寸检验报告6.44 初始过程能力指数PPK6.45 测量系统分析报告6.46 厂房、设备、设施布局有效性分析报告6.47 PFMEA(批产)6.48 正式生产控制计划6..49 控制检查表6.50 第四阶段评审报告6.51 质量策划认定报告6.53 持续改进计划6.54 顾客满意调查表6.55 量产采购订单。
1、目的:确保新产品从导入、样品制作至量产全过程中均能得到有效控制,使新产品能够保质保量的符合客户及市场的需求。
2、范围:凡本公司承接的新产品属于本程序控制范围。
3、权责:3.1 供销部(采购)负责试生产、量产原部品和原材料的采购3.2 生技部(技术)负责技术资料的评审及试制方案的审定、技术资料的整理、印发和模具供方的选定和发注;以及模具的接收评价;负负责APQP的总体策划和监督和成立APQP小组;责过程设计和开发的归口管理工作。
负责新产品、样品的鉴定后提交顾客进行评价3.3 生技部(生产)试模及样品的试作、量产3.4 品质部样件的全尺寸检验及尺寸报告编制3.5 APQP小组成员及相关部门负责开展APQP各阶段的具体活动。
4. 定义:4.1 特殊特性显著影响安全与法律法规和显著使顾客不满意的产品特性和过程特性。
4.2 产品特性在图纸或其他工程技术资料中所描述的零部件、总成的特点和性能。
4.3 过程特性是与产品特性具有因果关系的过程变量。
过程特性仅能在发生时才能测量出。
对于一个产品特性,可能有多个过程特性。
在某个过程中,一个过程特性可能影响到整个产品特性。
4.4 模具、工装可用来加工产品的治工具、模具、工装设备-仅限本程序的解释。
5. 流程6. 管理程序(以下内容覆盖模具的移模和自我开发制造的新产品导入内容)6.1 新产品导入的来源:6.1.1 供销部负责接受来自客户代表、总经理及其它渠道传来的真实的新产品导入信息或资料(电话通知、传真及客户确认的样品及图纸等);6.1.2 供销部资料获得后必要时将其完整的传达到技术部,技术部会同相关的生产部门和模具制造公司的模具报价制定出我们的“产品报价单”。
经总经理确认后向客户提交;6.2 新产品导入计划6.2.1 供销部接收到顾客的合同后,按照合同评审管理程序,召集相关部门对合同进行合同评审;6.2.2 合同签订后技术部组成小组,召开新产品导入会议,确定新机种引进计划/实施表(XX-QP-711-01)的模具开发、控制计划及所有事项后由总经理承认并按计划实施。
第7.1章产品质量先期策划(APQP)管理程序1目的2通过产品质量先期策划, 使公司产品的过程设计开发, 生产准备工作有序和顺利进行, 确保以最佳成本及时提供优质产品, 以满足顾客和相关法律、法规要求。
3范围本标准适用于各公司顾客提供产品设计图样的产品质量先期策划过程。
4职责4.1各公司负责技术工作的副总经理负责下达《产品质量先期策划任务书》, 负责相关技术文件的批准。
4.2各公司技术部负责APQP的总体策划和监督, 负责组织成立APQP小组, 并负责相关技术文件的标准化。
4.3技术部长负责相关技术文件的审核, 杜绝下发文件漏项发生。
4.4各公司APQP小组成员及相关部门负责开展APQP各阶段的具体工作。
5程序5.1计划和确定项目5.1.1计划和确定项目准备5.1.1.1各公司技术副总经理根据批准的《产品要求评审表》和顾客提供的产品图样和/或技术资料要求, 编制《产品质量先期策划(APQP)任务书》, 并下达给本公司的技术部。
5.1.1.2各公司技术部负责人负责组建APQP小组, 并担任小组组长。
APQP小组成员由本公司的技术部、品质部、供销部、生产部、设备部、财务部的人员和顾客代表组成。
必要时, 可邀请顾客及供方参加。
小组组长负责编制《产品质量先期策划(APQP)小组及分工表》, 呈报本公司技术副总经理批准。
5.1.1.3APQP小组组长首先对《产品质量先期策划(APQP)任务书》、顾客提供的图样和/或技术资料进行消化, 然后制定包括“产品名称”、“产品规格”、“顾客名称”、“计划日期”、“阶段划分”、“工作内容”、“输出”要求、“责任部门及责任人员”、“预计完成时间”的《新产品APQP开发计划》(初稿)。
a)由APQP小组组长召开APQP小组成员会议, 必要时邀请本公司技术副总经理和质量副总经理参加。
以:b)明确小组成员的作用和职责;c)确定顾客的要求;d)理解顾客的要求;e)确定制造成本、进度和限制条件;f)对产品图样和技术文件要求的产品性能和制造可行性进行评审;g)确定需要来自顾客的帮助;h)讨论并通过《新产品(项目)APQP开发计划》(初稿)。
1目的本程序确定产品开发全过程的各个步骤,促进与所涉及的每个职能部门的联系,保证开发进程,尽早发现所需更改,确保产品使顾客满意。
2范围职责本程序适用于本公司所有新产品开发和顾客工程更改后须按PPAP规定重新提交的产品。
3术语和定义3.1 APQP:即“Advanced Product Quality Planning”的缩写,中文为“产品质量先期策划”。
3.2 FMEA: 即“Potential Failure Mode and Effects Analysis”的缩写, 中文为“潜在失效模式和后果分析”。
3.3 PPAP: 即“Production Part Approval Process”的缩写, 中文为“生产件批准程序”。
3.4 CFT:即“Cross Function Team”缩写,中文为“横向小组”。
3.5 PSW:即“Part Submission Warrant”的缩写,中文为“零件递交保证书”。
4过程流程图5. 补充说明5.1 项目可行性分析包括以下内容:5.1.1技术可行性;5.1.2进度安排可行性;5.1.3成本可行性。
5.2 控制计划:分为三种5.2.1 样件控制计划5.2.1.1根据样件控制计划对样件在制造过程中的尺寸测量和材料与功能试验进行准确详细的描述。
5.2.2 试生产控制计划试生产控制计划的目的是为遏制初期生产运行过程中或之前的潜在不符合。
5.2.3生产控制计划5.2.3.1控制零件在生产过程的书面描述,根据实际的生产进行调整。
5.3 PPAP样品验证试验5.3.1 PPAP样件验证试验要根据顾客的需求,如顾客需要供应商做,供应商可以根据顾客的要求进行样件验证试验;如顾客不需要供应商做样件验证试验,供应商可不做。
6. 记录6.1 《APQP汇总表》6.2 《报价单》6.3 《新品分析表》6.4 《APQP实施计划》6.5 《新产品开发计划》6.6 《顾客特殊要求清单》6.7 《产品过程质量检查清单》6.8 《(PSW)零件保证书》6.9 《新品流转单》6.10《样品加工申请单》6.11《新品加工联络单》6.12《新品开发进度计划表》6.13《物料清单》6.14《过程流程图检查清单》6.15《FMEA检查清单》6.16《新品加工联络单》6.17《测量分析计划表》6.18《PPK分析计划》6.19《特殊特性矩阵图》6.20《厂区平面布置检查清单》7 附件8参考文件8.1《生产件批准(PPAP)管理程序》8.2《潜在失效模式及后果分析(FMEA)管理程序》8.3《持续改进管理程序》8.4《内部审核管理程序》8.5《顾客满意度调查管理程序》8.6《报价管理制度》8.7《顾客满意度调查管理程序》8.8《测量系统分析(MSA)》8.9《采购管理程序》8.10《生产计划管理程序》8.11《文件控制管理程序》。
IATF16949标准五大工具简介IATF(国际汽车行动组织)为了推动IATF16949标准的理解和运用,专门出版了五大核心工具应用指南,以此来推动五大工具的应用和推广。
以下向公司各位同仁作简要介绍。
1、 APQP(先期产品质量策划)APQP强调在产品量产之前,通过产品质量先期策划或项目管理等方法,对产品设计和制造过程设计进行管理,用来确定和制定让产品达到顾客满意所需的步骤。
产品质量策划的目标是保证产品质量和提高产品可靠性,它一般可分为以下五个阶段:一阶段:计划和确定项目(项目阶段);第二阶段:产品设计开发验证(设计及样车试制);第三阶段:过程设计开发验证(试生产阶段);第四阶段:产品和过程的确认(量产阶段);第五阶段:反馈、评定及纠正措施(量产阶段后)。
2、 FEMA(失效模式及后果分析)FEMA体现了防错的思想,要求在设计阶段和过程设计阶段,对构成产品的子系统、零件及过程中的各个工序逐一进行分析,找出所有潜在的失效模式,并分析其可能的后果,从而预先采用必要的措施,以提高产品的质量和可靠性的一种系统化的活动。
FEMA从失效模式的严重度(S)、频度(O)、探测度(D)三方面分析,得出风险顺序数RPN=S×O×D,对RPN及严重度较高的失效模式采取必要的预防措施。
FMEA能够消除或减少潜在失效发生的机会,是汽车业界认可的最能减少“召回”事件的质量预防工具。
3、MSA(测量系统分析)MSA是使用数理统计和图表的方法对测量系统的分辨率和误差进行分析,以评估测量系统的分辨率和误差对于被测量的参数来说是否合适,并确定测量系统误差的主要组成的方法。
测量系统的误差对稳定条件下运行的测量系统,通过多次测量数据的统计特性的偏倚和方差来表征。
一般来说,测量系统的分辨率应为获得测量参数的过程变差的十分之一,测量系统的相关指标有:重复性、再现性、线性、偏倚和稳定性等。
4、PPAP(生产件批准程序)PPAP是指在产品批量生产前,提供样品及必要的资料给客户承认和批准,来确定是否已经正确理解了顾客的设计要求和规范。
XXX有限公司
文件审批记录表
编号:
注:评审意见可附页说明。
1.目的:
为使本公司汽车产品先期质量策划有一系统化程序,确保产品从样件到量产均能满足客户需求及期望,特制定本程序。
2.范围:
本程序适用于汽车产品之先期质量策划控制全过程,非汽车产品可参照本程序开展先期质量策划活动,但不作强制要求(除非客户有要求)。
3.术语和定义:
3.1 质量策划:质量管理的一部分,致力于制定质量目标并规定必要的运行过程和相关资源以实
现质量目标。
3.2 特殊特性:可能影响产品的安全性或法规符合性、配合、功能、性能或其后续过程的产品特
性或制造过程参数。
3.3 多方论证方法:指一组人为完成一项任务提供咨询的活动,并结合所有相关知识和技能集中
考虑和决策的过程。
5.相关要求及注意事项:
5.1 产品先期质量策划的时机。
a)引进、试制新产品,采用新工艺或新材料,技术革新或技术改造。
b)销售合同中顾客对产品有特殊要求。
c)现有质量体系未能涵盖的特殊事项。
程序文件目的为满足顾客要求,早期识别缺陷,引导资源,以最低的成本及时提供优质产品,达到顾客满意及法令、法规、标准要求,特制定本程序。
2 范围本程序适用于自行研发产品、顾客提供图样及样件的产品、产品重大改进的质量策划的管理。
3 术语3.1 本程序引用ISO/TS16949:2009标准中的有关定义。
3.2 自行研发的产品:本公司根据市场调研及预测,通过公司决定开发的产品。
3.3 顾客提供图样及样件的产品:根据顾客的产品图样和样件,通过公司决定开发的产品。
3.4本公司产品最大改进(如:采用先进工艺、先进材料、性能及结构改变等)4 职责4.1 技术部是本程序的组织实施部门。
负责产品质量先期策划,组织实施自行研发的产品、顾客提供产品图样和样件、产品重大改进的产品先期质量策划活动。
4.2 销售部负责汽车行业发展动态、产品市场发展需求预测及分析、产品竞争对象、经营战略和实际情况,提出产品研发的方向。
4.3技术部根据公司决策及产品开发项目,负责识别顾客提供产品图样和样件、产品重大改进的产品先期质量策划活动。
4.4 技术部、财务部、质管部、生产部、销售部、质检部、设备科等相关部门参与质量策划活动,并负责所涉及相关活动的实施。
4.5公司总经理或副总经理负责批准自行研发的产品的立项,任命APQP小组的组长,并提供必要支持。
5 程序内容及要求5.1 实施先期质量策划的说明自行研发的产品的开发,完全采用本程序中规定的方法进行策划;顾客提供产品图样和样件的产品,销售部组织相关部门对其进行评审,评审结果报公司领导批准后,部分采用本程序中规定的方法进行策划;产品重大改进的产品根据更改的实际情况,应用本程序中规定的方法,进行相应部分的先期质量策划。
若顾客有要求,则采用顾客指定的方法。
5.2 先期质量策划的实施程序文件5.2.1 准备阶段5.2.1.1 自行研发的产品技术开发部和销售部根据汽车行业的发展动态、公司的经营战略以及公司的实际情况,向公司最高管理者提出新产品开发建议,可附以必要的建议说明;或由公司高层管理者直接提出新产品开发建议,经最高管理者初步确认后,指定以下部门收集编制可行性报告:a) 技术开发部收集编制设计制造可行性报告,包括现行同类产品的技术特点、本公司新产品的设计优势和公司现有能力的批量生产可行性分析等内容。
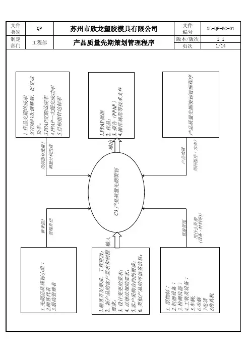
文件编号产品质量先期策划管理程序编制单位版本/版次总页码版本编制日期编制记要备注新版编制批准审核编制版本/版次编制日期产品质量先期策划管理控制过程乌龟图产品图样、技术规范、FMEA 文件;验收标准、作业指导文件、控制计划、评审记录市场需求和预测 公司发展规划 顾客的要求和期望、 国家相关法律和法规产品开发成功率 产品开发进度产品质量先期策划管理程序 APQP 手册控制图或其它质量统计技术计算机cad 、办公系统软件、加工设备、检验设备产品质量先期策划过程APQP 小组 设计人员 销售人员版本/版次编制日期1.目的:确保产品设计和开发质量以及顾客设计产品的过程开发质量,以满足顾客的要求。
2.范围:本程序适用于本公司所有汽车产品的质量先期策划及产品设计、开发的控制。
3.责任:3.1技术部负责组织有设计责任产品的策划、设计、评审、验证、确认,以及批产前的过程设计开发工作;参与顾客要求开发产品的评审、确认。
3.2生产车间负责对顾客要求开发产品的过程设计开发工作;参与有设计责任产品开发的设计、评审、验证、确认,以及批产过程设计开发工作。
3.3销售部负责收集产品信息及参与市场调研,可根据市场需求情况提出产品开发建议;参与产品设计和开发的评审、验证和确认,负责产品配套试装工作。
3.4财务部参与市场调研,参与编制《可行性分析报告》,以及新产品的成本核算。
3.5质量部参与产品设计和开发的评审、验证、确认。
3.6项目负责人是产品开发过程的总负责,项目小组负责实施产品设计、开发策划、验证、确认、更改全过程;未指定项目负责人的产品由生产该产品的车间技术主管负责。
3.7生产部负责组织产品样件试制或小批样件试制的生产准备工作。
4.术语和定义:4.1产品开发分类:按《产品零部件重要度分级表》Q/PJ0006-2001将产品分成A、B、C三类(包括成品、半成品、毛坯)。
技术部在年度项目计划上或开发任务书上确定项目类别。
4.2有设计责任产品:为了提高公司的竞争力和经济效益,公司根据产品信息,主动进行的设计或开发项目。
1.目的通过产品质量先期策划,使公司产品的生产过程设计开发、生产准备工作顺利地进行,以最低的成本及时提供优质产品,以满足顾客和有关法规的要求。
2.适用范围本程序适用于顾客提供设计图样的产品的先期质量策划工作。
3.职责3.1 技质部负责APQP的总体策划和监督,负责组织成立APQP小组,并负责相关文件的标准化,存档工作。
3.2 APQP小组成员及相关部门负责开展APQP各阶段的具体工作。
4.工作程序4.1 APQP小组的成立与APQP工作计划的编制4.1.1与顾客初步达成产品生产协议后,分管总经理下达“产品质量先期策划任务书”给技质部,据此成立APQP小组。
4.1.2 APQP小组的成员来自各车间、生产部、销售部、质量部、技质部、顾客代表等部门人员组成,必要时可邀请顾客及供方参加。
4.1.3 APQP小组组长由技质部部长担任,APQP小组组长负责小组内成员的职责及工作安排,负责APQP全过程的跟踪和监督,负责做好APQP各阶段的组织和协调工作。
4.1.4 APQP小组组长组织编写“APQP工作计划书”,经APQP小组成员讨论,报送分管总经理批准后,下发有关部门实施。
4.2计划和确定项目4.2.1 顾客产品设计的评审公司不进行产品设计,但要对顾客提供的产品图样、技术资料等进行评审。
APQP小组用“设计信息检查清单”对设计的可行性,有效性作出评价,对评审中发现的问题要及时与顾客联络解决。
APQP小组在评审中应确定是否进行先行试验及可靠性研究的项目。
4.2.2 APQP小组根据顾客的要求、项目目标及可靠性基准要求,制定可靠性目标和质量目标,并列入产品进度计划中。
4.2.3产品的保修记录和质量信息。
4.2.4 APQP小组以前的开发经验。
4.2.5 APQP小组对产品/过程设想。
4.2.6 APQP小组应对制造可行性进行分析,并形成相关文件,包括进行风险分析。
4.2.7技质部制定初始《过程流程图》来描述过程设想4.2.5初始材料清单4.2.9技质部应根据顾客要求的产品设想,可靠性目标的确定,预期的制造过程中确定的特殊特性(特殊特性符号:),及类似零件的FMEA制定《产品和过程特殊特性清单》(初始)4.2.10技质部制定《产品保证计划》,明确设计要求4.2.11 APQP小组在每一产品质量策划阶段结束时,应将新情况报告给高层管理者以保持其兴趣,并进一步促进他们的承诺和支持,必要时高层管理者参加产品质量策划会议。
XX有限公司文件编号:版本版次:制定部门:制定日期:总页次:会签:1.0 目的本程序规定了产品质量先期策划的工作方法,目的是为了贯彻实施本公司质量方针,预先对产品质量活动和措施进行统筹安排;促进对所需更改的早期识别;预防缺陷以达到本公司质量目标。
2.0 范围本程序适用于本公司汽车顾客新产品或更改产品的质量先期策划。
3.0 职责3.1 工程部负责组织成立APQP小组来进行产品质量先期策划活动;负责制定产品质量策划各阶段的进度计划;负责组织APQP小组会议,协调各部门及APQP小组开展APQP工作。
3.2 APQP小组负责监督APQP工作的进度。
参加对“产品质量策划总结和认定报告”的评审。
3.3 APQP小组负责完成相应产品的APQP工作。
3.4 品保部负责组织测量系统分析工作。
4.0 术语4.1 特殊特性─── 可能影响产品安全性或法规符合性、配合、功能、性能或其后续过程的产品特性或制造过程参数。
4.2 试生产─── 是应使用所有正式生产工装、过程、装置、环境、设施和周期来生产产品,对制造过程的有效性的验证。
4.3 同步技术─── 是一种为确保可制造性并节省时间,通过发挥横向职能小组作用,同步地设计产品和该产品制造过程的方法。
5.0 培训和资格产品质量先期策划人员应经过APQP、FMEA、SPC、MSA、PPAP及相关知识的培训。
6.0 程序内容6.1 基于新产品系列,应组成APQP多功能小组,由各部门核心人员组成,并具备明确职责,且由APQP检讨后形成APQP推行计划,明确各作业内容的作业要求与时间6.2 计划和立项阶段6.2.1 由市场部提供以下信息6.2.1.1 顾客的声音--市场研究:对顾客每年的调查和对顾客的采访--以往品质:顾客退货和拒收,顾客每月的品质反馈的分析,顾客的投诉及总结--小组经验:媒介的评论和分析:杂志和报刊报告等,合同评审,管理者的意见和指示;政府的要求和法规;由内部顾客报告的问题和议题6.2.1.2 本公司经营计划6.2.1.3客户要求6.2.2 普通新产品评审流程6.2.2.1 接收订单:指工程部签收市场下给工程部的内部订单,工程在签过订单后需要按照订单上写明的文件部名将客人给的资料复制作到指定服务器中的文件夹中,具体的操作细世按PEI002文件操作。
产品质量先期策划管理控制过程乌龟图
1.目的:
确保产品设计和开发质量以及顾客设计产品的过程开发质量,以满足顾客的要求。
2.范围:
本程序适用于本公司所有汽车产品的质量先期策划及产品设计、开发的控制。
3.责任:
3.1技术部负责组织有设计责任产品的策划、设计、评审、验证、确认,以及批产前的过程
设计开发工作;参与顾客要求开发产品的评审、确认。
3.2生产车间负责对顾客要求开发产品的过程设计开发工作;参与有设计责任产品开发的设
计、评审、验证、确认,以及批产过程设计开发工作。
3.3销售部负责收集产品信息及参与市场调研,可根据市场需求情况提出产品开发建议;参
与产品设计和开发的评审、验证和确认,负责产品配套试装工作。
3.4财务部参与市场调研,参与编制《可行性分析报告》,以及新产品的成本核算。
3.5质量部参与产品设计和开发的评审、验证、确认。
3.6项目负责人是产品开发过程的总负责,项目小组负责实施产品设计、开发策划、验证、
确认、更改全过程;未指定项目负责人的产品由生产该产品的车间技术主管负责。
3.7生产部负责组织产品样件试制或小批样件试制的生产准备工作。
4.术语和定义:
4.1产品开发分类:按《产品零部件重要度分级表》Q/PJ0006-2001将产品分成A、B、C三类(包括
成品、半成品、毛坯)。
技术部在年度项目计划上或开发任务书上确定项目类别。
4.2有设计责任产品:为了提高公司的竞争力和经济效益,公司根据产品信息,主动进行的
设计或开发项目。
4.3顾客要求开发:为了满足顾客要求而进行的产品开发。
5.产品质量先期策划控制工作流程及工作流程说明:
5.1工作流程(见下表)
5.2产品质量先期策划控制工作流程标准
6.相关文件/数据
7.质量记录表单
55TSJL/PJ94-Z X – R控制图(产品)各单位5年各单位56TSJL/PJ95-Z产品包装评价表各单位5年各单位57TSJL/PJ96-Z产品质量策划总结和认定
报告
各单位5年各单位58TSJL/PJ100-Z新产品过程策划和过程开发文
件/资料汇总一览表
各单位5年各单位59TSJL/PJ38—A重复性和再现性X-R分析数据表各单位5年各单位60TSJL/PJ39—A重复性和再现性X-R分析报告各单位5年各单位61TSJL/PJ40—A量具极差法分析表各单位5年各单位62TSJL/PJ41—A稳定性分析报告各单位5年各单位63TSJL/PJ42—A偏倚分析报告各单位5年各单位64TSJL/PJ43—A线性分析报告各单位5年各单位65TSJL/PJ44—A计数型量具小样法分析报告各单位5年各单位66TSJL/PJ45—A X – R控制图(量具)各单位5年各单位
8. 附加说明
8.1产品开发等级的分类
序号产品等级开发内容例如备注
1产品等级1.1包含产品开发和过程开发
需要进行新产品和新工艺的设计转向泵、硅油减震器、
2产品等级1.2包含产品的过程开发
顾客提供图样,只需要进行新工艺
的设计
单体泵、曲轴箱
3产品等级2.1没有产品设计,现有工艺开发新型
号产品飞轮壳、离合器壳、油管、油底壳
4产品等级2.2 现有工艺开发系列产品
在已认可的产品零件与认可的工
艺下开发的新型号产品。
(没有新
的使用情况)
转向泵系列产品
5产品等级 3 现有产品,采用新的工艺或作工艺
的部分调整
产品将不作修改 ! 铁型曲轴、飞轮动平衡
8.2产品开发等级分类工作内容要求 (必需, 可选, -不相关)
8.3说明:
8.3.1 一种产品是在某基本型产品的基础上做小规模改动而成定义为该基本型产品的变型产
品,如基本型产品已经进入小批试制阶段则其变型产品可直接进入小批产阶段。
8.3.2除自主设计产品和A、B类产品外,其余产品可直接进行小批试生产阶段。
8.3.3 同类型产品可以编制共同的技术条件,验收标准,产品维护、使用说明书、生产件批准
材料等。