(完整版)胶囊剂工艺流程图
- 格式:doc
- 大小:258.01 KB
- 文档页数:2
五、软胶囊及其它胶囊剂的制备有滴制法和压制法两种。
生产软胶囊剂时,填充药物与成型是同时进行的。
1. 滴制法滴制法制备软胶囊剂(亦称胶丸)的工作原理见示意图4-19 。
分别盛装于贮液槽中的油状药物与明胶液按不同速度通过滴制喷头从同心管喷出,明胶液从管的外层流下,药液从中心管流出,在管的下端流出口处,明胶将一定药液包裹起来,并滴入到另一种不相混溶的冷却液体(如液体石蜡)中。
由于表面张力作用,胶液接触冷却液后形成球状体,逐渐凝固成胶丸,如浓鱼肝油胶丸,亚油酸胶丸的制备。
本法生产的胶丸又称无缝胶丸,具有成品率高、装量差异小、产量大、成本较低的优点。
滴制法制备胶丸的影响因素有:(1)明胶的处方组成以明胶:甘油:水为1:(0.3~0.4):(0.7~1.4)为宜。
(2) 液体的密度为了保证胶丸在冷却液中有一定的沉降速度及足够的冷却成型时间,药液、胶液及冷却液三者应有适宜的密度,如鱼肝油胶丸制备时,三者的密度分别为0.9 g/ml、1.12 g/ml和0.86 g/ml。
(3) 温度胶液和药液均应保持在60℃,喷头处应保持在80℃,冷却液为13~17℃,胶丸干燥温度应为20~30℃,且配合鼓风条件。
2.压制法将明胶、甘油、水等溶解后制成胶皮,再将药物置于两块胶皮之间,用钢模压制而成。
其制备方法如图4-20所示。
由机械自动制出的两张胶皮以连续不断的形式向相反的方向移动,在达到旋转模之前逐渐接近,经下部加压而结合,此时药液则从填充泵经导管由追楔形注入管压入两胶皮之间。
由于旋转模的不停转动,遂将胶皮与药液压入模的凹槽中,使胶带全部扎压结合,而将药液包于其中,形成软胶囊剂。
剩余的胶皮自动被切割分离。
药液的数量由填充泵准确控制。
本法可连续化自动生产,成品率较高,产量大,装量差异较小。
图4-19 滴制法制备软胶囊工艺流程图图4-20 自动旋转扎囊机工艺流程图(三)其他胶囊剂胶囊剂通常口服给药。
根据临床不同用途和作用,还可制备特殊类型的胶囊剂,如肠溶胶囊、缓释胶囊、泡腾胶囊、吸入用胶囊和供腔道用胶囊等。
河南中医学院工艺设计说明书年产5亿粒诺氟沙星胶囊的工艺设计目录第一章工艺概述 (3)第二章工艺路线 (10)第三章工艺流程 (13)第四章物料衡算 (18)第五章设备选型 (20)第六章能量衡算 (26)能量平衡表 (27)第七章车间工艺平面布置说明 (28)第八章建厂条件及厂址选择 (32)第九章经济分析 (35)第一章工艺概述1.1 胶囊剂胶囊剂分为硬胶囊、软胶囊(胶丸)、肠溶胶囊、缓释胶囊与控释胶囊。
硬胶囊剂系指将药物,或加辅料制成的粉末、颗粒、速释或缓控释小球,充填于空心胶囊中制成;软胶囊剂系指将一定量的药液包封于球形或椭圆形的软质囊中,可用滴制法或压制法制备;肠溶胶囊剂系指硬胶囊或软胶囊用适宜肠溶材料制备而得,或用肠溶材料包衣的颗粒或小丸充填于胶囊制得,不溶于胃液,但能在肠液中崩解而释放活性成分。
胶囊剂一般供口服用,也可供其他部位如直肠、阴道、植入等使用。
胶囊剂的主要特点有:①可掩盖药物不良臭味和刺激性,外形整洁、便于识别、携带,使用方便;②药物分散、溶出快,血药浓度达峰时间比片剂短,有较高的生物利用度;③不稳定的药物,如维生素、抗生素等,装入胶囊后可提高稳定性;④药物可以不同形态装入胶囊,以适应不同性质药物的吸收和使用;⑤可制成速释、缓释、控释、肠溶等多种类型的胶囊剂,以满足各种医疗用途的需要。
但有些药物不能制成胶囊剂,如药物的水溶液或乙醇溶液、易溶性的刺激性药物、易风化的药物、吸湿性药物等。
药品标准规定胶囊剂应整洁,不得有粘结、变形、渗漏或破裂现象,并应无异臭;应按照《中国药典》进行装量差异、崩解时限、微生物限度及其他项目检查,应符合规定。
胶囊剂应密封贮存,存放环境温度不应过高,湿度适宜,以防止发霉、变质。
硬胶囊一般性质量要求(1)硬胶囊内容物的含水量中国药典2000版规定内容物含水量不得超过9.0﹪。
(2)空胶囊的质量根据GB 13731—92,对药用明胶囊的技术要求包括:外观质量、理化性能、微生物检查三大方面。
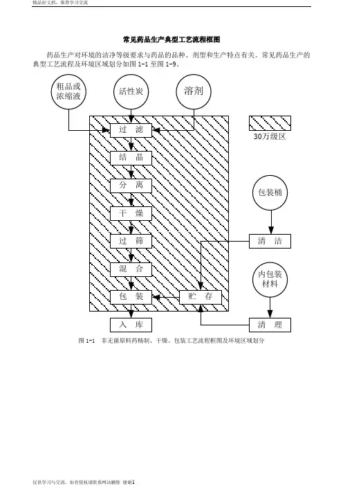
常见药品生产典型工艺流程框图
药品生产对环境的洁净等级要求与药品的品种、剂型和生产特点有关。
常见药品生产的典型工艺流程及环境区域划分如图1-1至图1-9。
图1-1 非无菌原料药精制、干燥、包装工艺流程框图及环境区域划分
图1-2 无菌原料药精制、干燥、包装工艺流程框图及环境区域划分
图1-3 片剂生产工艺流程框图及环境区域划分
图1-4 硬胶囊剂生产工艺流程框图及环境区域划分
图1-5 压制法软胶囊剂生产工艺流程框图及环境区域划分
图1-6 可灭菌小容量注射剂生产工艺流程框图及环境区域划分
图1-7 可灭菌大容量注射剂生产工艺流程框图及环境区域划分
图1-8 注射用无菌分装产品生产工艺流程框图及环境区域划分
图1-9 注射用冷冻干燥制品生产工艺流程框图及环境区域划分。
目录目录 (1)第1章胶囊剂工艺设计概述 (3)1.1项目概述 (3)1.2设计依据 (3)1.3设计内容 (4)1.4设计指导思想和设计原则 (4)第2章工艺流程及净化区域划分 (5)2.1生产方案、建设规模及包装方式 (5)2.1.1 生产方案 (5)2.1.2 生产制度 (5)2.1.3 生产规模 (5)2.1.4 胶囊剂的包装 (6)2.2生产工艺流程 (6)2.2.1生产工艺流程制定的原则 (6)2.2.2硬胶囊剂的常见生产工艺 (6)2.2.3工艺简介 (7)2.2.4工艺流程 (9)2.3胶囊剂洁净区域划分 (11)2.3.1厂房的洁净级别的划分以及洁净厂房的要求 (11)2.3.2洁净室(区)空气洁净度级别表 (11)2.3.3胶囊剂洁净区域划分 (11)第3章物料衡算 (12)3.1物料质量衡算 (12)3.2胶囊数量计算 (12)第4章工艺机械设备选择与说明 (14)4.1工艺设备选型的步骤 (14)4.1.1工艺设备选型依据 (14)4.1.2制药设备GMP设计通则的具体内容 (14)4.1.3设备选型说明 (15)4.2设备简介 (15)4.3设备的选型 (20)4.3.1粉碎设备 (20)4.3.2筛分设备 (20)4.3.3一步制粒设备 (20)4.3.4混合设备 (21)4.3.5整粒设备 (21)4.3.6全自动胶囊填充机 (21)4.3.7抛光机 (22)4.3.8铝塑包装机 (22)第5章工艺主要原材料及公用系统消耗 (23)5.1原料的技术规格 (23)5.2主要原材料消耗 (23)5.3公用系统消耗 (23)第6章车间(设备)布置 (25)6.1车间设计原则 (25)6.2车间平面布置 (25)6.2.1车间布置平面图 (25)6.2.2车间产尘的处理 (26)6.2.3车减排热、排湿及臭未处理 (26)6.2.4参观走廊的设置 (27)6.2.5安全门的设置 (27)6.3设备的安装 (27)6.4车间定员 (29)第7章采暖通风与空调公用工程 (31)7.1设计要求 (31)7.2设计参数 (31)7.3洁净室换气次数 (31)7.4洁净室压力 (32)7.5噪声 (32)7.6通气量 (32)第8章结束语 (33)参考文献 (34)附录 (35)第1章胶囊剂工艺设计概述1.1 项目概述胶囊剂(capsules)系指将药物填装于空心硬质胶囊中或密封于弹性软质胶囊中而制成的固体制剂;是目前临床应用最广泛的剂型之一。
各制剂工艺流程图1 、片剂生产工艺流程图2、颗粒剂生产工艺流程图3、胶囊剂生产工艺流程图4、合剂生产工艺流程图5、糖浆剂生产工艺流程图6, 丸剂生产工艺流程图2 、工艺流程说明2 . 1 、前处理工艺流程说明外购的药材经过挑、选、检、去杂质及非药用部位后,川选药机或不绣钢洗药池,将药材上的泥土、灰尘洗净,根据不同品种的要求湿润,以达到提取、榨油、细粉的标准。
用J 六提取的药材,采取切割的方法切片,后经多层带式}气燥机干燥,中药粉碎机粉碎,筛分得到合格粒度的药材,送到净药库。
用J 屯榨油的药材,经多层带式干燥机干燥后,直接送去榨汕。
榨油前,按配方要求混合,用中药粉碎机粗碎,经蒸汽湿润后进入螺旋榨油机榨油,榨出的油经过过滤,再送到综合伟lJ 剂车间。
用一于细粉的药材切片,经多层带式十燥机十燥后,送到双扇灭菌柜灭菌,再用高效粉碎机组和震荡筛粉碎,筛分合格后包装,转入综合制剂车间。
2 . 2 、热回流提取工艺流程说明来自净药库的药材,按配方配料,加入乙醇,用热回流抽提机组进行第· 次醉提,过滤后剩余的药渣,加上辅料,再进行次水提,使有效成分尽量提出。
醇体液静置后过滤,除去杂质,减压浓缩,回收乙醉,并得到醇提浸膏。
水提液静置后过滤,除去杂质,减压浓缩,并得到水提浸膏。
将醇提浸膏与水提浸膏混合,采用可倾式反应锅浓缩,得到稠浸膏,用周转桶送到综合制剂车间。
2 .3 、片剂工艺流程说明原料和辅料经过粉碎过筛,达到要求细度后,按配方称取配料。
配制好的物料,根据需要混合制粒、干燥、整粒、总棍后,再压片、包衣、抛光,经检验合格,按规定包装,送入成品库房。
2 . 4 、合剂工艺流程说明原料和辅料按处方称量后,加入纯化水配制成药液,经力热煮沸、冷却、过滤后,再灌装和轧盖,经过蒸汽检漏、晾瓶、灯检、贴签,检验合格后,装箱送入成品库房。
2 . 5 、糖浆剂工艺流程说明将原料和辅料按处方称量后,加入纯化水配制成药液,经力热煮沸、冷却、过滤、调整浓度后,再灌装和轧盖,经过幻检、贴签,检验合格后,装箱送入成品库房。
河南中医学院工艺设计说明书年产5亿粒诺氟沙星胶囊的工艺设计目录第一章工艺概述 (3)第二章工艺路线 (10)第三章工艺流程 (13)第四章物料衡算 (18)第五章设备选型 (20)第六章能量衡算 (26)能量平衡表 (27)第七章车间工艺平面布置说明 (28)第八章建厂条件及厂址选择 (32)第九章经济分析 (35)第一章工艺概述1.1 胶囊剂胶囊剂分为硬胶囊、软胶囊(胶丸)、肠溶胶囊、缓释胶囊与控释胶囊。
硬胶囊剂系指将药物,或加辅料制成的粉末、颗粒、速释或缓控释小球,充填于空心胶囊中制成;软胶囊剂系指将一定量的药液包封于球形或椭圆形的软质囊中,可用滴制法或压制法制备;肠溶胶囊剂系指硬胶囊或软胶囊用适宜肠溶材料制备而得,或用肠溶材料包衣的颗粒或小丸充填于胶囊制得,不溶于胃液,但能在肠液中崩解而释放活性成分。
胶囊剂一般供口服用,也可供其他部位如直肠、阴道、植入等使用。
胶囊剂的主要特点有:①可掩盖药物不良臭味和刺激性,外形整洁、便于识别、携带,使用方便;②药物分散、溶出快,血药浓度达峰时间比片剂短,有较高的生物利用度;③不稳定的药物,如维生素、抗生素等,装入胶囊后可提高稳定性;④药物可以不同形态装入胶囊,以适应不同性质药物的吸收和使用;⑤可制成速释、缓释、控释、肠溶等多种类型的胶囊剂,以满足各种医疗用途的需要。
但有些药物不能制成胶囊剂,如药物的水溶液或乙醇溶液、易溶性的刺激性药物、易风化的药物、吸湿性药物等。
药品标准规定胶囊剂应整洁,不得有粘结、变形、渗漏或破裂现象,并应无异臭;应按照《中国药典》进行装量差异、崩解时限、微生物限度及其他项目检查,应符合规定。
胶囊剂应密封贮存,存放环境温度不应过高,湿度适宜,以防止发霉、变质。
硬胶囊一般性质量要求(1)硬胶囊内容物的含水量中国药典2000版规定内容物含水量不得超过9.0﹪。
(2)空胶囊的质量根据GB 13731—92,对药用明胶囊的技术要求包括:外观质量、理化性能、微生物检查三大方面。
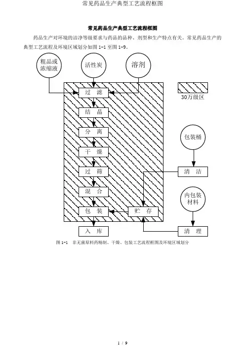
常见药品生产典型工艺流程框图
药品生产对环境的洁净等级要求与药品的品种、剂型和生产特点有关。
常见药品生产的典型工艺流程及环境区域划分如图1-1至图1-9。
图1-1 非无菌原料药精制、干燥、包装工艺流程框图及环境区域划分
图1-2 无菌原料药精制、干燥、包装工艺流程框图及环境区域划分
图1-3 片剂生产工艺流程框图及环境区域划分
图1-4 硬胶囊剂生产工艺流程框图及环境区域划分
图1-5 压制法软胶囊剂生产工艺流程框图及环境区域划分
图1-6 可灭菌小容量注射剂生产工艺流程框图及环境区域划分
图1-7 可灭菌大容量注射剂生产工艺流程框图及环境区域划分
图1-8 注射用无菌分装产品生产工艺流程框图及环境区域划分
图1-9 注射用冷冻干燥制品生产工艺流程框图及环境区域划分
如图,AB=12米,CA⊥AB于点A,DB⊥AB于点B,且AC=4米,点P从B向A运动,每分钟走1米,点Q从B点向D运动,每分钟走2米,P、Q两点同时出发,运动几分钟后,△CPA与△PQB全等?
如图①所示,在△ABC中,∠C=90°,AC=BC,过点C在△ABC外作直线MN,AM⊥MN于点M,BN⊥MN于点N.
(1)求证:MN=AM+BN.
(2)如图②.若过点C直线MN与线段AB相交,AM⊥MN于点M,BN⊥MN于N,(1)中的结论是否仍然成立?说明理由.
图①图②。
各制剂工艺流程图1 、片剂生产工艺流程图2、颗粒剂生产工艺流程图3、胶囊剂生产工艺流程图4、合剂生产工艺流程图2 、工艺流程说明2 . 1 、前处理工艺流程说明外购的药材经过挑、选、检、去杂质及非药用部位后,川选药机或不绣钢洗药池,将药材上的泥土、灰尘洗净,根据不同品种的要求湿润,以达到提取、榨油、细粉的标准。
用J 六提取的药材,采取切割的方法切片,后经多层带式}气燥机干燥,中药粉碎机粉碎,筛分得到合格粒度的药材,送到净药库。
用J 屯榨油的药材,经多层带式干燥机干燥后,直接送去榨汕。
榨油前,按配方要求混合,用中药粉碎机粗碎,经蒸汽湿润后进入螺旋榨油机榨油,榨出的油经过过滤,再送到综合伟lJ 剂车间。
用一于细粉的药材切片,经多层带式十燥机十燥后,送到双扇灭菌柜灭菌,再用高效粉碎机组和震荡筛粉碎,筛分合格后包装,转入综合制剂车间。
2 . 2 、热回流提取工艺流程说明来自净药库的药材,按配方配料,加入乙醇,用热回流抽提机组进行第·次醉提,过滤后剩余的药渣,加上辅料,再进行次水提,使有效成分尽量提出。
醇体液静置后过滤,除去杂质,减压浓缩,回收乙醉,并得到醇提浸膏。
水提液静置后过滤,除去杂质,减压浓缩,并得到水提浸膏。
将醇提浸膏与水提浸膏混合,采用可倾式反应锅浓缩,得到稠浸膏,用周转桶送到综合制剂车间。
2 .3 、片剂工艺流程说明原料和辅料经过粉碎过筛,达到要求细度后,按配方称取配料。
配制好的物料,根据需要混合制粒、干燥、整粒、总棍后,再压片、包衣、抛光,经检验合格,按规定包装,送入成品库房。
2 . 4 、合剂工艺流程说明原料和辅料按处方称量后,加入纯化水配制成药液,经力热煮沸、冷却、过滤后,再灌装和轧盖,经过蒸汽检漏、晾瓶、灯检、贴签,检验合格后,装箱送入成品库房。
2 . 5 、糖浆剂工艺流程说明将原料和辅料按处方称量后,加入纯化水配制成药液,经力热煮沸、冷却、过滤、调整浓度后,再灌装和轧盖,经过幻检、贴签,检验合格后,装箱送入成品库房。
胶囊生产工艺流程图胶囊是一种常用的药物包装形式,它由胶囊帽和胶囊体两部分组成,可以包装不同类型和形状的药物。
胶囊生产工艺流程包括胶囊帽和胶囊体的制备、药物填充、剂量检测、胶囊封装等环节。
下面将详细介绍胶囊生产工艺流程。
首先,胶囊帽和胶囊体的制备是胶囊生产的第一步。
制备材料包括胶囊壳材料、溶剂、填充剂等。
胶囊壳材料可以选择明胶或植物胶囊,根据药物的性质选择合适的壳材料。
制备过程中,首先需要将胶囊壳材料与溶剂进行混合搅拌,使其产生黏稠的液体状。
然后,将液体状的材料注入胶囊模具中,并通过加热或冷却使其凝固成固体。
最后,通过剥离模具,得到胶囊帽和胶囊体。
制备好胶囊壳材料后,接下来是药物填充环节。
药物是根据生产配方准备好的,填充过程中需要一定的精确度。
首先,将药物称量,并按照剂量要求填充到胶囊体中。
填充过程需要注意药物的纯度和容器的清洁,以确保被填充的药物的质量和安全性。
药物填充后,需要进行剂量检测。
剂量检测是保证胶囊药物剂量准确的重要环节。
这一过程中常用的检测方法有光学和化学方法。
光学方法主要包括红外光谱法、紫外光谱法等,通过检测光谱变化来判断药物的含量。
化学方法主要包括滴定法、比色法等,通过化学反应来确定药物的含量。
最后,胶囊需要进行封装。
封装是将胶囊帽和胶囊体有效地封闭起来,保护药物免受外界环境的影响。
封装过程中,使用一定的机械设备将胶囊帽和胶囊体放置在一起,并通过一定的形状设计和卡箍或熔接等方法,实现胶囊的封闭。
以上就是胶囊生产工艺流程的主要内容。
胶囊的生产工艺流程相对简单,但每个环节都需要高度精确,保证药物的质量和安全性。
因此,在胶囊生产过程中,需要严格按照工艺流程操作,并进行必要的检测和监控,以确保胶囊的质量合格。