组织与指导洪涝灾害应急处置流程图
- 格式:doc
- 大小:55.50 KB
- 文档页数:4
附件1省级防汛应急响应流程图汛情信息接收、处理信息— 15 —附件2省级抗旱应急响应流程图四级应急响应旱情信息接收处理信息会商研判启动应急响应二级应急响应一级应急响应响应行动,应急工作组指导工作会商研判提出调整响应等级或结束响应建议后期处置采取响应措施结束响应三级应急响应— 16 —附件3省防汛抗旱指挥部及其办公室、成员单位职责指挥机构职责指挥长分管应急管理工作的副省长省防指主要职责:贯彻落实党中央、国务院及省委、省政府关于水旱灾害防范应对工作的决策部署,统筹协调全省洪水防御、旱灾抗御工作,制定防汛抗旱总体规划、重要措施,指导协调水旱灾害风险防控、监测预警、调查评估和善后工作,组织指挥重大水旱灾害应急处置工作,决定重要河流洪水应急调度方案,落实省委、省政府及省应急救援总指挥部交办的防汛抗旱应急处置的其他重大事项。
省防办主要职责:承担防汛抗旱指挥部日常工作,制定、修订防汛抗旱专项应急预案,开展水旱灾害风险防控和监测预警工作,组织桌面推演、实兵演练等防汛抗旱专项演练,协调各方面力量参加防汛抗旱救援行动,协助省委、省政府指定的负责同志组织防汛抗旱应急处置工作,组织开展调查评估和协调推进善后处置工作,报告和发布防汛抗旱信息,指导市、县防汛抗旱应对等工作。
防汛会商小组职责:根据雨水情、工情、洪涝灾害等情况,适时组织会商研判,提出报告建议。
抗旱会商小组职责:负责定期召集成员单位会商旱情形势,实现信息共享。
分管水利工作的副省长副指挥长省政府协管副秘书长省应急厅主要负责人省水利厅主要负责人省农业农村厅主要负责人省气象局主要负责人省军区战备建设局副局长武警山西省总队副司令员省消防救援总队总队长— 17 —指挥机构职责成员单位省委宣传部按照省防指统一部署,组织协调新闻媒体做好防汛抗旱抢险救灾新闻报道工作,积极引导舆论。
省发展改革委指导防汛抗旱规划和建设工作,积极争取国家发展改革委水旱灾害应急资金;协调各部门开展应急物资储备调运相关工作。
防汛应急预案流程图【篇一:防台防汛应急预案流程图1】防台防汛应急预案流程图【篇二:防汛应急预案】长沙市轨道交通1号线一期工程7标防汛应急预案编制复核审核中铁二十五局集团有限公司二0一四年四月目录1总则 ....................................................................................................... . (1)1.1适用范围 ....................................................................................................... ...................... 1 1.2编制目的 ....................................................................................................... ...................... 1 1.3编制依据 ....................................................................................................... ...................... 1 1.4编制原则 ....................................................................................................... ...................... 1 1.5、适用条件 ....................................................................................................... ................... 1 2.工程概况及水文条件 ....................................................................................................... . (2)2.1工程概况 ....................................................................................................... ...................... 2 2.2水文地质情况 ....................................................................................................... .............. 2 3.组织机构及职责 ....................................................................................................... (2)3.1 应急组织体系 ........................ ............................................................................................ 24. 应急响应流程 ....................................................................................................... .. (3)4.1应急响应流程图 ....................................................................................................... ......... 4 4.2事故应急措施 ....................................................................................................... ............. 5 5.主要应急措施 ....................................................................................................... ......................... 6 6应急预案培训与演练 ....................................................................................................... ............. 6 7后期处理........................................................................................................ .. (7)7.1事故的调查 ....................................................................................................... .................. 7 7.2信息发布 ....................................................................................................... ...................... 7 7.3后期处置 ....................................................................................................... ...................... 8 附件一........................................................................................................ ............................... 9 附件二........................................................................................................ . (9)防汛应急预案1总则1.1适用范围适用于中铁二十五局集团有限公司长沙市轨道交通1号线一期工程7标段项目部防洪抢险应急救援指导工作。
防汛应急预案流程图【篇一:防台防汛应急预案流程图1】防台防汛应急预案流程图【篇二:防汛应急预案】长沙市轨道交通1号线一期工程7标防汛应急预案编制复核审核中铁二十五局集团有限公司二0一四年四月目录1总则 ....................................................................................................... . (1)1.1适用范围 ....................................................................................................... ...................... 1 1.2编制目的 ....................................................................................................... ...................... 1 1.3编制依据 ....................................................................................................... ...................... 1 1.4编制原则 ....................................................................................................... ...................... 1 1.5、适用条件 ....................................................................................................... ................... 1 2.工程概况及水文条件 ....................................................................................................... . (2)2.1工程概况 ....................................................................................................... ...................... 2 2.2水文地质情况 ....................................................................................................... .............. 2 3.组织机构及职责 ....................................................................................................... (2)3.1 应急组织体系 ........................ ............................................................................................ 24. 应急响应流程 ....................................................................................................... .. (3)4.1应急响应流程图 ....................................................................................................... ......... 4 4.2事故应急措施 ....................................................................................................... ............. 5 5.主要应急措施 ....................................................................................................... ......................... 6 6应急预案培训与演练 ....................................................................................................... ............. 6 7后期处理........................................................................................................ .. (7)7.1事故的调查 ....................................................................................................... .................. 7 7.2信息发布 ....................................................................................................... ...................... 7 7.3后期处置 ....................................................................................................... ...................... 8 附件一........................................................................................................ ............................... 9 附件二........................................................................................................ . (9)防汛应急预案1总则1.1适用范围适用于中铁二十五局集团有限公司长沙市轨道交通1号线一期工程7标段项目部防洪抢险应急救援指导工作。
防洪、防汛工作流程图实用文档(实用文档,可以直接使用,可编辑优秀版资料,欢迎下载)3。
5防洪、防汛工作流程图4 防汛、抢险工作部署4.1 工作内容抗汛抢险准备工作主要包括:培训防汛人员;检查防洪工程设施,消除隐患;制定度汛方案;备足防汛物料;建立健全洪水预报警报系统等方面的工作;及时了解气象水文状况,5.25.31)建筑物周围的围挡及排水设施2)施工材料的防雨、防汛措施3)施工机械设备的防雨、防汛措施4)施工道路的防雨、防汛措施5。
4 、主要管理措施1)建立防洪抗险领导小组,制定防汛计划和紧急预案措施。
2)项目部设专职的值班人员,保证昼夜有人值班并做好值班记录,同时要设置天气预报员,负责收听和发布天气情况。
3)做好施工人员的雨季施工培训工作,组织相关人员进行一次全面检查施工现场的准备工作,包括施工材料、临时设施、临电、机械设备、外架防护等项工作。
4)检查施工现场及生产生活基地的排水设施,疏通各种排水渠道,清理雨水排水口,保证雨天排水通畅.5)现场道路边设排水沟,保证不滑、不陷、不积水.清理现场障碍物,保持现场道路畅通。
道路两旁一定范围内不要堆放物品,且高度不宜超过1。
5m,保证视野开阔,道路畅通。
铜川市人民医院(南院)病案室工作流程图铜川市人民医院(南院)病案室工作流程1.病人出院,医生按要求完成病历书写,送交护士站登记。
2.病历回收组前往护士站核对当日出院信息登记造册,并回收已完成病历送交登记归档组.3.登记归档组对回收病历进行详细登记,标记2日归档病案及7日归档病案,以及未按时归档病历,送交整理装订组。
4.整理装订组对已登记病历进行项目查缺,有缺失项目及时催促医生及时补缺,无缺失项目后进行装订,递交编码维护组。
5.编码维护组核对病案首页基本信息,确保无空项目后完成首页疾病分类和手术操作编码,完成首页信息录入,送交病历回收组。
6.病历回收组做审阅病历登记,递交病案管理委员会审阅,并及时回收审阅病历,送交登记归档组。
某某水库抢险决策指挥程序图 (一)近期,某某地区出现了暴雨天气,多个水库水位上涨。
其中,某某水库水位高涨,面临泄洪抢险操作的重大局面。
在这个时机,指挥部需要制定行之有效的抢险决策,保障群众生命财产安全。
为此,我们设计了一套指挥程序图,以供相关部门应对抢险行动情况,应对不测之事,确保抢险纪律标准化,效率化,也为后续工作提供有力支持。
本程序图分为四个阶段,如下:一、信息收集阶段。
在得知某某水库水位高涨后,第一时间成立指挥部,确定抢险方案。
随后,相关部门需要提供本地区气候情况,水库水位数量、流量等信息,形成全面的聚合,以便后续抢险计划的建立和具体实施。
针对淹没区的情况进行分析,确定可能受到影响的地区和生命危险环节,要做好应急准备。
二、防汛预警阶段。
针对全局性的情况,水库管理人员应及时通知所在地区的河道观测站,以便及时掌握不温暖之事。
同时,应切实加强巡查管辖面积内重要的河道、沟渠等河道部位,并加强对潜在危险因素的巡查,使巡查频率达到最高值。
同时,指挥部中的河道安全应急预测唤起专家组将按照实际情况做好洪水演进预测工作,及时预警可能险情,提前进行现场工作的安排。
三、抢险应急响应阶段。
如情况迫切,针对局部区域可能出现严重的险情,应启动抢险应急响应程序。
在相关人员和物资集结完毕后,应按照指挥部的工作程序,组织好领导群众的力量,针对局部区域受灾情况进行抢险和救援工作。
此时,应加强人员组织,做好指挥,以最大的力度消除可能的灾害影响。
四、抢险后续程序。
在完成抢险任务后,还需要认真清理各种抢险用具和留存相关抢险资料,制定抢险总结报告,以便后续工作。
同时,还需要及时开展防汛减灾工作,提高灾害反应能力,使得水库抢险工作得到更有效的推进。
在抢险期间,应不断总结经验,随时修正决策,使其更为科学有效。
同时,也要加强一系列掌控任务的执行效率,确保不测之事得到及时响应,保障人民群众的生命财产安全。
这套指挥程序图为水库抢险工作提供了有力支持,也是地方政府和抢险队伍不可或缺的必要工具。
3.5防洪、防汛工作流程图
4 防汛、抢险工作部署
4.1 工作内容
抗汛抢险准备工作主要包括:培训防汛人员;检查防洪工程设施,消除隐患;制定度汛方案;备足防汛物料;建立健全洪水预报警报系统等方面的工作;及时了解气象水文状况,
5.2
5.3
1)建筑物周围的围挡及排水设施
2)施工材料的防雨、防汛措施
3)施工机械设备的防雨、防汛措施
4)施工道路的防雨、防汛措施
5.4 、主要管理措施
1)建立防洪抗险领导小组,制定防汛计划和紧急预案措施。
2)项目部设专职的值班人员,保证昼夜有人值班并做好值班记录,同时要设置天气预报员,负责收听和发布天气情况。
3)做好施工人员的雨季施工培训工作,组织相关人员进行一次全面检查施工现场的准备工作,包括施工材料、临时设施、临电、机械设备、外架防护等项工作。
4)检查施工现场及生产生活基地的排水设施,疏通各种排水渠道,清理雨水排水口,保证雨天排水通畅。
5)现场道路边设排水沟,保证不滑、不陷、不积水。
清理现场障碍物,保持现场道路畅通。
道路两旁一定范围内不要堆放物品,且高度不宜超过 1.5m,保证视野开阔,道路畅通。
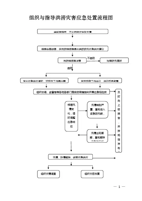
组织与指导洪涝灾害应急处置流程图启动备注:一、关于洪涝灾害事件分级(一)特别重大(Ⅰ级)事件1、较大范围内(一个设区市以上)24小时累计面雨量超过150毫米,或48小时累计面雨量超过230毫米,或72小时累计面雨量超过300毫米,并且省气象局(台)预报未来24小时仍有大暴雨或特大暴雨。
2、钱塘江干流及乌溪江、新安江、分水江、浦阳江等重要支流和瓯江干流、东苕溪干流等一条主要江河控制站或杭嘉湖平原河网代表站水位全面超过保证水位(危急水位)。
3、新安江水库水位达到106.5米,并预报将超过107米。
(二)重大(Ⅱ级)事件1、较大范围内(一个设区市以上)24小时累计面雨量达100—150毫米,或48小时累计面雨量达160—230毫米,或72小时累计面雨量达200—300毫米,并且省气象局(台)预报未来24小时仍有暴雨或大暴雨。
2、某一区域出现短历时强降雨,3小时超过300毫米,并出现重大灾害。
3、钱塘江干流及乌溪江、新安江、分水江、浦阳江等重要支流和瓯江干流、东苕溪干流等一条主要江河控制站或杭嘉湖平原河网代表站水位全面接近或部分达到保证水位(危急水位),并根据预报将超过保证水位(危急水位)。
4、新安江水库水位达到105米,并预报将超过106.5米。
(三)较大(Ⅲ级)事件1、较大范围内(一个设区市以上)24小时累计面雨量达80—100毫米,或48小时累计面雨量达120—160毫米,或72小时累计面雨量达150—200毫米,并且省气象局(台)预报未来24小时仍有暴雨或大暴雨。
2、某一区域出现短历时强降雨,3小时达200-300毫米,并出现较大灾害。
3、钱塘江干流及乌溪江、新安江、分水江、浦阳江等重要支流和瓯江干流、东苕溪干流等一条主要江河控制站或杭嘉湖平原河网代表站水位全面超过警戒水位,并根据预报水位仍将上涨。
4、新安江水库水位达到104.5米,并预报将超过105.5米。
(四)一般(Ⅳ级)事件1、较大范围内(一个设区市以上)24小时累计面雨量达50—80毫米,或48小时累计面雨量达80—120毫米,或72小时累计面雨量达100—150毫米,并且省气象局(台)预报未来24小时仍有大雨或暴雨。
大新发电分公司格强水电站防汛预警响应流程图
注:
应急机构
抢险抢修分队
队长:赵春洲副队长:农智峰
队员:许春锦麻立民周良革赵江河农勇才
抢险物质分队
队长:李刚副队长:赵忠明
队员:冯卫斌李春芬闭红英农山龙黄诚
抢险伤员分队
队长:李政才副队长:黄彩华
队员:唐兰春冯萍逸梁会芳覃丽玲
隔离维护分队
队长:农定忠副队长:李勇
队员:冯炼雄陈美芳农常丽
1、发布预警级别的洪水流量、降雨量、热带气旋等级、观测点的水位、其他险情等由各所属企
业视实际情况决定。
2、电站防汛小组成员、公司防汛组长、公司防汛副组长防汛办公室主任等名单电和话号码在流程图上明确。
3、公司防汛小组、电站抢险队伍、公司抢险队伍、防汛办公室成员名单在公司总部和电站上榜公布。
4、根据现场的实际情况,明确规定抢险队伍在接到抢险命令后到达指定位置的时间。
5、此防汛预警响应流程图仅供参考,各所属发电企业根据自身实际情况制定本公司(电站)的防汛预警响应流程图。
组织与指导洪涝灾害应急处置流程图
启动
备注:
一、关于洪涝灾害事件分级
(一)特别重大(Ⅰ级)事件
1、较大范围内(一个设区市以上)24小时累计面雨量超过150毫米,或48小时累计面雨量超过230毫米,或72小时累计面雨量超过300毫米,并且省气象局(台)预报未来24小时仍有大暴雨或特大暴雨。
2、钱塘江干流及乌溪江、新安江、分水江、浦阳江等重要支流和瓯江干流、东苕溪干流等一条主要江河控制站或杭嘉湖平原河网代表站水位全面超过保证水位(危急水位)。
3、新安江水库水位达到106.5米,并预报将超过107米。
(二)重大(Ⅱ级)事件
1、较大范围内(一个设区市以上)24小时累计面雨量达100—150毫米,或48小时累计面雨量达160—230毫米,或72小时累计面雨量达200—300毫米,并且省气象局(台)预报未来24小时仍有暴雨或大暴雨。
2、某一区域出现短历时强降雨,3小时超过300毫米,并出现重大灾害。
3、钱塘江干流及乌溪江、新安江、分水江、浦阳江等重要支流和瓯江干流、东苕溪干流等一条主要江河控制站或杭嘉湖平原河网代表站水位全面接近或部分达到保证水位(危急水位),并根据预报将超过保证水位(危急水位)。
4、新安江水库水位达到105米,并预报将超过106.5米。
(三)较大(Ⅲ级)事件
1、较大范围内(一个设区市以上)24小时累计面雨量达80—100毫米,或48小时累计面雨量达120—160毫米,或72小时累计面雨量达150—200毫米,并且省气象局(台)预报未来24小时仍有暴雨或大暴雨。
2、某一区域出现短历时强降雨,3小时达200-300毫米,并出现较大灾害。
3、钱塘江干流及乌溪江、新安江、分水江、浦阳江等重要支流和瓯江干流、东苕溪干流等一条主要江河控制站或杭嘉湖平原河网代表站水位全面超过警戒水位,并根据预报水位仍将上涨。
4、新安江水库水位达到104.5米,并预报将超过105.5米。
(四)一般(Ⅳ级)事件
1、较大范围内(一个设区市以上)24小时累计面雨量达50—80毫米,或48小时累计面雨量达80—120毫米,或72小时累计面雨量达100—150毫米,并且省气象局(台)预报未来24小时仍有大雨或暴雨。
2、某一区域出现短历时强降雨,3小时达100—200毫米,并出现灾害。
3、钱塘江干流及乌溪江、新安江、分水江、浦阳江等重要支流和瓯江干流、东苕溪干流等一条主要江河控制站水位达到警戒水位。
4、新安江水库水位达到103米,库区发生强降雨,水位迅速上升。
根据特别重大(Ⅰ级)、重大(Ⅱ级)、较大(Ⅲ级)、一般(Ⅳ级)的洪涝灾害事件分级,分别启动相应的Ⅰ级、Ⅱ级、Ⅲ级、Ⅳ级应急响应行动。
二、关于紧急防汛期
遇有下列情形之一,可以宣布进入紧急防汛期:(一)江河干流、湖泊的水情超过保证水位或者河道安全流量的;(二)大中型和重要小型水库水位超过设计洪水位的;(三)防洪工程设施发生重大险情的;(四)有其他严重影响生命、财产安全需要宣布进入紧急防汛期的情形。
在紧急防汛期,有权对壅水、阻水严重的桥梁、引道、码头和其他跨河工程设施作出紧急处置;可在其管辖范围内调用物资、设备、交通运输工具和人力,决定采取取土占地、砍伐林木、清除阻水障碍物、指定避灾临时安置点和其他必要的紧急措施;必要时,省防指可督促公安、交通运输等有关部门依法实施陆地和水面交通管制;有关部门和单位可采取停止户外集体活动、中小学校和幼儿园停课、工厂停工、市场停市以及交通管制等必要措施。
在紧急避险
通告或人员转移指令解除前,被转移人员不得擅自返回原处。