建设单位工程项目管理流程图完整版
- 格式:doc
- 大小:109.50 KB
- 文档页数:12
第十部分世博园区场馆工程项目管理工作流程目录:1、工程项目管理总流程2、建设工程政府部门审批流程3、招标工作程序4、监理工作程序5、质量控制程序6、工期控制程序7、成本控制程序8、重要材料控制程序9、设计变更程序10、隐蔽工程验收程序11、竣工验收程序12、合同订立程序13、信息、资料管理程序◆工程项目管理总流程行政办公室形象策划 项目策划 合同备签署项目管理(代建制)合同代建制公司提交项目管理策划委任项目经理、组建项管部收集有关资料,实施项目管理工作前 期 部办 理 前 期 手 续 项 目 勘 察、设 计、方 案 评 审 办 理 竣 工 验 收工程管理部工程监理 施工管理 质量鉴定 试运行 竣工验收质安部工程质量管理安全生产文明施工管理投资管理部招投标管理 概、预算审核 合同管理 材料、设备采购管理计划财务部专项账户用款计划 资金拨付 财务审计质量控制工期控制成本控制重要材料控制安全管理设计变更控制合同管理组织协调信息档案管理项目部负责现场管理竣 工 验 收建设工程审批流程↓↓↓↓↓↓↓↓↓↓↓↓↓↓↓◆招标工作程序投标人编制投标文件投标文件送达、投标截止开标评标定标发出中标通知签订合同◆监理工作程序总监理工程师建立项目监理部编制项目监理部监理规划按工程进度分专业编制监理实施细则参加业主主持召开的第一次工地会议实施工程监理组织工程预验收并提出工程质量评估报告参加竣工验收、交付使用监理实施阶段工作总结建立监理任务完成后质量控制程序质量控制事先控制质量预控制组织图纸会审和设计交审批施工组织审查质量体系检查监督组织机构工序管理质量自检上岗证施工设备测量定位工序质量跟踪控制事中控制施工控制检查原材料构配件审查设计变更工程更改检查验收隐蔽工程签认分部分项工程质量签订装饰工程样板分析处理质量事故竣工验收事后控制竣工控制组织初验整改编制竣工资料档案核定质量等级工期控制程序签订承包合同(业主与施工单位)编制施工进度计划(施工单位)基础工程主体工程安装工程 装饰装修工程审查施工进度计划(项目管理部)编制年/季/月度实施计划(施工单位)审查施工计划(项目管理部)实施进度计划(施工单位) 检查计划实施情况(项目管理部)修改实施进度计划实际值与计划值对比(项目管理部)偏离否编制下期实施性计划(施工单位)报出形象进度报表(施工单位)同意否NO YES同意否NO YESNOYES动态管理跟踪控制审查施工措施检查材料、施工检查劳动力落实情组织协调各方关系投资控制程序投资预控(事先)概、预算审查动态控制(事中)月末验工计价付款竣工验收决算(事后)实现投资控制目标重要材料控制程序材料进场前提出材料使用计划、村质试验报告专业监理工程师审查报告监理工程师发现疑问 则承包单位重新检验批准报告、同意材料进场专业监理工程师再次审查不批准承包单位用村, 指令并监督不合格材料运出现场申 报是再 次 申 报否业主抽查隐蔽工程验收程序设计变更程序设 计 单 位 提 出 设 计 变 更监 理 工 程 师 从 质 量 、进 度 、 投资 控 制角 度 审 查重 大 修 改 与 业 主 磋 商 并 取 得 业 主 的 认 可通 知 承 包 单 位 进 行 造 价 及 工 期 的 估 算根据合同条款核定承包单位的造价和工期的增减 批准承包单位实施设计变更是否承包单位自检合格监理工程师发现不符合要求时退回承包单位重新进行隐检报程 师 审 查 隐 检监 理 工 程 师 批 准 隐 检 记 录 并 签 字 认 可承 包 单 位 取 得 隐 检 认 可 后 进 入 下 道 工 序 施 工监 理 人 员 复 核 认可是隐蔽工程验收程序竣 工 验 收 程序承 包 单 位 验 收 合 格 后 报 送 验 收 资 料监 理 工 程 师 对 承 包 单 位 报 送 的 竣 工 资 料 进 行 审 查有问题总 监 理工 程 师 组 织 专 业 监 理 工 程 师 对 工 程 质 量 进 行 竣 工 预 验 收监 理 工 程 师 就 存 在 的 问 题 要 求 承 包 单 位 及 时 整 改否总 监 签 暑 工 程 竣 工 报 验 单 并 提 出 工 程 质 量 评 估 报 告承 包 单 位 提出 竣 工 验 收 申 请监理 工 程 师 审 查 申业 主组 织 竣 工 验 收专 项 核 验 ( 消 防 等 )总体核验施工、监理、设计单位参加对验收中提出的问题,监理机构应要求承包单位进行整改竣工验收意见报质监站备案总监会同参加验收的各方签署竣工验收报告合同订立程序信息、资料管理程序表示文件、档案资料的收集表示文件、档案资料的发送。
工程项目管理工作流程图
图1-1 项目管理工作总体流程(一)
图1-2 项目管理工作总体流程(二)
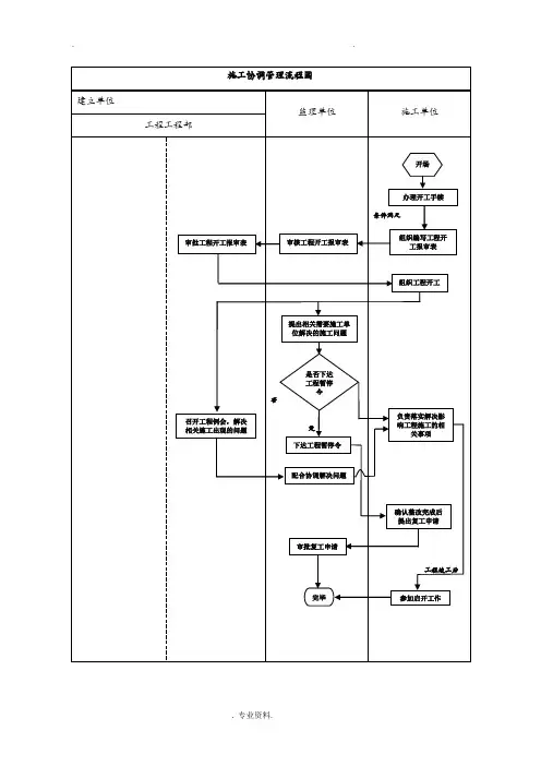
图1-3 施工协调管理流程
图1-4 工程建设月报上报流程
图1-5 档案信息管理流程
图2-1 项目安全管理工作总体流程(一)
图2-2 项目安全管理工作总体流程(二)
图3-1项目质量管理工作总体流程(一)
图3-2 项目质量管理工作总体流程(二)
图3-3
图4-1项目造价管理工作总体流程(一)
图4-2项目造价管理工作总体流程(二)
图4-3 工程进度款管理工作流程
图4-4 工程变更管理工作流程
图4-5 成本控制管理工作流程
图5-1 项目进度管理工作总体流程
图5-2 项目设备、材料供应计划管理流程
图5-3 材料进货检验(设备开箱)流程
图6-1 项目技术管理工作总体流程。
1、工程项目管理总流程2、建设工程政府部门审批流程3、招标工作程序4、监理工作程序5、质量控制程序6、工期控制程序7、成本控制程序8、重要材料控制程序9、设计变更程序10、隐蔽工程验收程序11、竣工验收程序12、合同订立程序13、信息、资料管理程序◆工程项目管理总流程建设工程审批流程◆招标工作程序◆监理工作程序总 监 理 工 程 师建 立 项 目 监 理 部编 制 监理规划按 工 程 进 度 分 专 业编 制 监 理 实 施 细 则参加业主主持召开的第一次工地会议建立监理任务完成后 向业主提交工程监理档案资料质量控制程序质 量 控 制事先控制质量预控制组织图纸会审和设计交底审批施工 组织设计 审查质量体系 检 查 监 督组织机构工序管理质量自检上 岗 证施工设备测量定位工序质量跟踪控制 事中控制施工控制 检查原材料构审查设计变工程更改检查验收隐蔽签认分部分项工程质量签订装饰工程分析处理质量工期控制程序签订承包合同(业主与施工单位)编制施工进度计划(施工单位)基础工程主体工程安装工程装饰装修工程审查施工进度计划(项目管理部)编制年/季/月度实施计划(施工单位)审查施工计划(项目管理部)➢同意否NO YES同意否 NO YES动态管➢➢ ➢ ➢➢投资控制程序投资预控(事先)重要材料控制程序 竣工验收决算(事后)实现投资控制目标材料进场前提出材料使用计划、村质试验报告专业监理工程师审查报告监理工程师发现疑问 则承包单位重新检验批准报告、同意材料进场专业监理工程师再次审查申 报是再次 申➢➢隐蔽工程验收程序设计变更程序设 计 单 位 提 出 设 计 变 更监 理 工 程 师 从 质 量 、 进 度 、 投 资 控 制 角 度 审 查➢重 大 修 改 与 业 主 磋 商 并 取 得 业 主 的 认 可通 知 承 包 单 位 进 行 造 价 及 工 期 的 估 算根据合同条款核定承包单位的造价和工期的增减批准承包单位实施设计变更➢是否隐蔽工程验收程序业主抽查竣工验收程序 承包单位验收合格后报送验收资料监理工程师对承包单位报送的竣工资料进行审查有问题总监理工程师组织专业监理工程师对工程质量进行竣工预验收监理工程师就存在的问题要求承包单位及时整改➢否总监签暑工程竣工报验单合同订立程序信息、资料管理程序表示文件、档案资料的收集表示文件、档案资料的发送。
工程项目建设管理全过程全套流程图
一、工程建设项目前期工作流程
1、基本流程
2、建设项目投资决策(建议书、可行性研究报告)流程
3、建设项目设计阶段工作流程
4、建设项目准备阶段工作流程
二、工程建设项目管理流程
1、项目管理基本流程
2、招投标基本流程
三、项目风险管理与信息管理流程
1、项目风险管理流程
2、项目信息管理流程
3、竣工验收流程
四、工程项目监理工作基本流程
1、工程项目实施监理的总流程
9、组织协调控制流程
10、工程质量问题及工程质量事故处理流程
11、工程安全事故处理流程
12、工程洽商控制及签证工作流程
13、工程竣工验收控制流程
14、保修阶段监理工作流程。
建设单位业主方工程项目管理工作流程图图1-4 工程建设月报上报流程图1-5 档案信息管理流程图 2-1 项目安全管理工作总体流程一图2-2 项目安全管理工作总体流程二图3-1项目质量管理工作总体流程一图3-2 项目质量管理工作总体流程二图3-3 施工质量控制管理流程图4-2项目造价管理工作总体流程二图4-3 工程进度款管理工作流程图4-4 工程变更管理工作流程图4-5 成本控制管理工作流程图5-1 项目进度管理工作总体流程图5-2 项目设备、材料供应计划管理流程图5-3 材料进货检验设备开箱流程图6-1 项目技术管理工作总体流程复制要替换的字库为将被替换的字库名,如:打开一幅图,提示未找到字体jd,你想用替换它,那么你可以去找AutoCAD字体文件夹font把里面的复制一份,重新命名为,然后在把放到font里面,在重新打开此图就可以了;以后如果你打开的图包含jd这样你机子里没有的字体,就再也不会不停的要你找字体替换了;1.如何替换找不到的原文复制要替换的字库为将被替换的字库名,如:打开一幅图,提示未找到字体jd,你想用替换它,那么你可以去找AutoCAD字体文件夹font把里面的复制一份,重新命名为,然后在把放到font里面,在重新打开此图就可以了;以后如果你打开的图包含jd这样你机子里没有的字体,就再也不会不停的要你找字体替换了;1.如何替换找不到的原文复制要替换的字库为将被替换的字库名,如:打开一幅图,提示未找到字体jd,你想用替换它,那么你可以去找AutoCAD字体文件夹font把里面的复制一份,重新命名为,然后在把放到font里面,在重新打开此图就可以了;以后如果你打开的图包含jd这样你机子里没有的字体,就再也不会不停的要你找字体替换了;1.如何替换找不到的原文复制要替换的字库为将被替换的字库名,如:打开一幅图,提示未找到字体jd,你想用替换它,那么你可以去找AutoCAD字体文件夹font把里面的复制一份,重新命名为,然后在把放到font里面,在重新打开此图就可以了;以后如果你打开的图包含jd这样你机子里没有的字体,就再也不会不停的要你找字体替换了;1.如何替换找不到的原文复制要替换的字库为将被替换的字库名,如:打开一幅图,提示未找到字体jd,你想用替换它,那么你可以去找AutoCAD字体文件夹font把里面的复制一份,重新命名为,然后在把放到font里面,在重新打开此图就可以了;以后如果你打开的图包含jd这样你机子里没有的字体,就再也不会不停的要你找字体替换了;1.如何替换找不到的原文复制要替换的字库为将被替换的字库名,如:打开一幅图,提示未找到字体jd,你想用替换它,那么你可以去找AutoCAD字体文件夹font把里面的复制一份,重新命名为,然后在把放到font里面,在重新打开此图就可以了;以后如果你打开的图包含jd这样你机子里没有的字体,就再也不复制要替换的字库为将被替换的字库名,如:打开一幅图,提示未找到字体jd,你想用替换它,那么你可以去找AutoCAD字体文件夹font把里面的复制一份,重新命名为,然后在把放到font里面,在重新打开此图就可以了;以后如果你打开的图包含jd这样你机子里没有的字体,就再也不会不停的要你找字体替换了;1.如何替换找不到的原文复制要替换的字库为将被替换的字库名,如:打开一幅图,提示未找到字体jd,你想用替换它,那么你可以去找AutoCAD字体文件夹font把里面的复制一份,重新命名为,然后在把放到font里面,在重新打开此图就可以了;以后如果你打开的图包含jd这样你机子里没有的字体,就再也不会不停的要你找字体替换了;1.如何替换找不到的原文复制要替换的字库为将被替换的字库名,如:打开一幅图,提示未找到字体jd,你想用替换它,那么你可以去找AutoCAD字体文件夹font把里面的复制一份,重新命名为,然后在把放到font里面,在重新打开此图就可以了;以后如果你打开的图包含jd这样你机子里没有的字体,就再也不会不停的要你找字体替换了;1.如何替换找不到的原文复制要替换的字库为将被替换的字库名,如:打开一幅图,提示未找到字体jd,你想用替换它,那么你可以去找AutoCAD字体文件夹font把里面的复制一份,重新命名为,然后在把放到font里面,在重新打开此图就可以了;以后如果你打开的图包含jd这样你机子里没有的字体,就再也不会不停的要你找字体替换了;1.如何替换找不到的原文复制要替换的字库为将被替换的字库名,如:打开一幅图,提示未找到字体jd,你想用替换它,那么你可以去找AutoCAD字体文件夹font把里面的复制一份,重新命名为,然后在把放到font里面,在重新打开此图就可以了;以后如果你打开的图包含jd这样你机子里没有的字体,就再也不会不停的要你找字体替换了;1.如何替换找不到的原文复制要替换的字库为将被替换的字库名,如:打开一幅图,提示未找到字体jd,你想用替换它,那么你可以去找AutoCAD字体文件夹font把里面的复制一份,重新命名为,然后在把放到font里面,在重新打开此图就可以了;以后如果你打开的图包含jd这样你机子里没有的字体,就再也不复制要替换的字库为将被替换的字库名,如:打开一幅图,提示未找到字体jd,你想用替换它,那么你可以去找AutoCAD字体文件夹font把里面的复制一份,重新命名为,然后在把放到font里面,在重新打开此图就可以了;以后如果你打开的图包含jd这样你机子里没有的字体,就再也不会不停的要你找字体替换了;1.如何替换找不到的原文复制要替换的字库为将被替换的字库名,如:打开一幅图,提示未找到字体jd,你想用替换它,那么你可以去找AutoCAD字体文件夹font把里面的复制一份,重新命名为,然后在把放到font里面,在重新打开此图就可以了;以后如果你打开的图包含jd这样你机子里没有的字体,就再也不会不停的要你找字体替换了;1.如何替换找不到的原文复制要替换的字库为将被替换的字库名,如:打开一幅图,提示未找到字体jd,你想用替换它,那么你可以去找AutoCAD字体文件夹font把里面的复制一份,重新命名为,然后在把放到font里面,在重新打开此图就可以了;以后如果你打开的图包含jd这样你机子里没有的字体,就再也不会不停的要你找字体替换了;1.如何替换找不到的原文复制要替换的字库为将被替换的字库名,如:打开一幅图,提示未找到字体jd,你想用替换它,那么你可以去找AutoCAD字体文件夹font把里面的复制一份,重新命名为,然后在把放到font里面,在重新打开此图就可以了;以后如果你打开的图包含jd这样你机子里没有的字体,就再也不会不停的要你找字体替换了;1.如何替换找不到的原文复制要替换的字库为将被替换的字库名,如:打开一幅图,提示未找到字体jd,你想用替换它,那么你可以去找AutoCAD字体文件夹font把里面的复制一份,重新命名为,然后在把放到font里面,在重新打开此图就可以了;以后如果你打开的图包含jd这样你机子里没有的字体,就再也不会不停的要你找字体替换了;1.如何替换找不到的原文复制要替换的字库为将被替换的字库名,如:打开一幅图,提示未找到字体jd,你想用替换它,那么你可以去找AutoCAD字体文件夹font把里面的复制一份,重新命名为,然后在把放到font里面,在重新打开此图就可以了;以后如果你打开的图包含jd这样你机子里没有的字体,就再也不复制要替换的字库为将被替换的字库名,如:打开一幅图,提示未找到字体jd,你想用替换它,那么你可以去找AutoCAD字体文件夹font把里面的复制一份,重新命名为,然后在把放到font里面,在重新打开此图就可以了;以后如果你打开的图包含jd这样你机子里没有的字体,就再也不会不停的要你找字体替换了;1.如何替换找不到的原文复制要替换的字库为将被替换的字库名,如:打开一幅图,提示未找到字体jd,你想用替换它,那么你可以去找AutoCAD字体文件夹font把里面的复制一份,重新命名为,然后在把放到font里面,在重新打开此图就可以了;以后如果你打开的图包含jd这样你机子里没有的字体,就再也不会不停的要你找字体替换了;1.如何替换找不到的原文复制要替换的字库为将被替换的字库名,如:打开一幅图,提示未找到字体jd,你想用替换它,那么你可以去找AutoCAD字体文件夹font把里面的复制一份,重新命名为,然后在把放到font里面,在重新打开此图就可以了;以后如果你打开的图包含jd这样你机子里没有的字体,就再也不会不停的要你找字体替换了;1.如何替换找不到的原文复制要替换的字库为将被替换的字库名,如:打开一幅图,提示未找到字体jd,你想用替换它,那么你可以去找AutoCAD字体文件夹font把里面的复制一份,重新命名为,然后在把放到font里面,在重新打开此图就可以了;以后如果你打开的图包含jd这样你机子里没有的字体,就再也不会不停的要你找字体替换了;1.如何替换找不到的原文复制要替换的字库为将被替换的字库名,如:打开一幅图,提示未找到字体jd,你想用替换它,那么你可以去找AutoCAD字体文件夹font把里面的复制一份,重新命名为,然后在把放到font里面,在重新打开此图就可以了;以后如果你打开的图包含jd这样你机子里没有的字体,就再也不会不停的要你找字体替换了;1.如何替换找不到的原文复制要替换的字库为将被替换的字库名,如:打开一幅图,提示未找到字体jd,你想用替换它,那么你可以去找AutoCAD字体文件夹font把里面的复制一份,重新命名为,然后在把放到font里面,在重新打开此图就可以了;以后如果你打开的图包含jd这样你机子里没有的字体,就再也不复制要替换的字库为将被替换的字库名,如:打开一幅图,提示未找到字体jd,你想用替换它,那么你可以去找AutoCAD字体文件夹font把里面的复制一份,重新命名为,然后在把放到font里面,在重新打开此图就可以了;以后如果你打开的图包含jd这样你机子里没有的字体,就再也不会不停的要你找字体替换了;1.如何替换找不到的原文复制要替换的字库为将被替换的字库名,如:打开一幅图,提示未找到字体jd,你想用替换它,那么你可以去找AutoCAD字体文件夹font把里面的复制一份,重新命名为,然后在把放到font里面,在重新打开此图就可以了;以后如果你打开的图包含jd这样你机子里没有的字体,就再也不会不停的要你找字体替换了;1.如何替换找不到的原文复制要替换的字库为将被替换的字库名,如:打开一幅图,提示未找到字体jd,你想用替换它,那么你可以去找AutoCAD字体文件夹font把里面的复制一份,重新命名为,然后在把放到font里面,在重新打开此图就可以了;以后如果你打开的图包含jd这样你机子里没有的字体,就再也不会不停的要你找字体替换了;1.如何替换找不到的原文复制要替换的字库为将被替换的字库名,如:打开一幅图,提示未找到字体jd,你想用替换它,那么你可以去找AutoCAD字体文件夹font把里面的复制一份,重新命名为,然后在把放到font里面,在重新打开此图就可以了;以后如果你打开的图包含jd这样你机子里没有的字体,就再也不会不停的要你找字体替换了;1.如何替换找不到的原文复制要替换的字库为将被替换的字库名,如:打开一幅图,提示未找到字体jd,你想用替换它,那么你可以去找AutoCAD字体文件夹font把里面的复制一份,重新命名为,然后在把放到font里面,在重新打开此图就可以了;以后如果你打开的图包含jd这样你机子里没有的字体,就再也不会不停的要你找字体替换了;1.如何替换找不到的原文复制要替换的字库为将被替换的字库名,如:打开一幅图,提示未找到字体jd,你想用替换它,那么你可以去找AutoCAD字体文件夹font把里面的复制一份,重新命名为,然后在把放到font里面,在重新打开此图就可以了;以后如果你打开的图包含jd这样你机子里没有的字体,就再也不复制要替换的字库为将被替换的字库名,如:打开一幅图,提示未找到字体jd,你想用替换它,那么你可以去找AutoCAD字体文件夹font把里面的复制一份,重新命名为,然后在把放到font里面,在重新打开此图就可以了;以后如果你打开的图包含jd这样你机子里没有的字体,就再也不会不停的要你找字体替换了;1.如何替换找不到的原文复制要替换的字库为将被替换的字库名,如:打开一幅图,提示未找到字体jd,你想用替换它,那么你可以去找AutoCAD字体文件夹font把里面的复制一份,重新命名为,然后在把放到font里面,在重新打开此图就可以了;以后如果你打开的图包含jd这样你机子里没有的字体,就再也不会不停的要你找字体替换了;1.如何替换找不到的原文复制要替换的字库为将被替换的字库名,如:打开一幅图,提示未找到字体jd,你想用替换它,那么你可以去找AutoCAD字体文件夹font把里面的复制一份,重新命名为,然后在把放到font里面,在重新打开此图就可以了;以后如果你打开的图包含jd这样你机子里没有的字体,就再也不会不停的要你找字体替换了;1.如何替换找不到的原文复制要替换的字库为将被替换的字库名,如:打开一幅图,提示未找到字体jd,你想用替换它,那么你可以去找AutoCAD字体文件夹font把里面的复制一份,重新命名为,然后在把放到font里面,在重新打开此图就可以了;以后如果你打开的图包含jd这样你机子里没有的字体,就再也不会不停的要你找字体替换了;1.如何替换找不到的原文复制要替换的字库为将被替换的字库名,如:打开一幅图,提示未找到字体jd,你想用替换它,那么你可以去找AutoCAD字体文件夹font把里面的复制一份,重新命名为,然后在把放到font里面,在重新打开此图就可以了;以后如果你打开的图包含jd这样你机子里没有的字体,就再也不会不停的要你找字体替换了;。
建设单位工程项目管理流程图Part 10: Project Management Process for Expo Park Venue n Projects1.General Project Management Processernment XXX3.Bidding Process4.n Process5.Quality Control Process6.le Control Process7.Cost Control Process8.XXX Process9.Design Change Process10.Hidden Engineering Acceptance Process11.XXX12.Contract Signing Process13.n and Data Management ProcessGeneral Project Management Process:Sign project management (agency n) contractAgency n company submits project management planXXXCollect relevant n。
carry out image planning。
project planning。
contract filing。
and n managementHandle n res。
such as project survey。
design。
and scheme reviewXXXEach department performs its respective tasks。
including engineering quality management。
safety n and civilized n management。
engineering management。
n n。
quality appraisal。
福建客家同元古镇开发有限公司工程项目管理工作流程编制人:谢镜华目录一、建设工程审批流程二、招标工作程序三、质量控制程序四、工期控制程序五、成本控制程序六、重要材料控制程序七、设计变更程序八、隐蔽工程验收程序九、竣工验收程序十、信息、资料管理程序一、建设工程审批流程二、招标(施工、设计、监理、勘探等)工作程序三、质量控制程序质 量 控 制事先控制质量预控制组织图纸会审 和设计交底审批施工 组织设计 审查质量体系 检 查 监 督组织机构工序管理质量自检上 岗 证施工设备测量定位工序质量跟踪控制 事中控制施工控制检查原材料构配件审查设计变更工程更改检查验收隐蔽工程签认分部分项工程质量签订装饰工程样板分析处理质量事故竣 工 验 收 事后控制竣工控制组织初验整编制竣工资料档案核定质量等四、工期控制程序签订承包合同(业主与施工单位)编制施工进度计划(施工单位)清表工程土方工程房建工程市政道路工程审查施工进度计划(项目管理部)编制年/季/月度/周实施计划(施工单位)审查施工计划(项目管理部)实施进度计划(施工单位)检查计划实施情况(项目管理部)修改实施进度计划实际值与计划值对比(项目管理部)偏离否同意否NOYES同意否NOYESYES动态管理跟踪控制审查施工措施检查材料、施工设施检查劳动力落实情况组织协调各方关系五、投资控制程序概、预算审查动态控制(事中)月末验工计价付款竣工验收决算(事后)六、重要材料控制程序实现投资控制目标 材料进场前提出材料使用计划、村质试验报告专业监理工程师审查报告监理工程师发现疑问则承包单位重新检验批准报告、同意材料进场专业监理工程师再次审查不批准承包单位用村, 指令并监督不合格材料运出现场申 报是再次 申报否业主抽查八、隐蔽工程验收程序七、设计变更程序设 计 单 位 提 出 设 计 变 更监 理 工 程 师 从 质 量 、 进 度、 投 资控 制 角 度 审 查重 大 修 改 与 业 主 磋 商 并 取 得 业 主 的 认 可通 知 承 包 单 位 进 行造 价 及 工 期 的 估 算根据合同条款核定承包单位的造价和工期的增减批准承包单位实施设计变更是否承包单位自检合格并监理工程师发现不符合要求时退回承包单位重新进行隐检报师 审 查 隐 检 记 录是监 理 工 程 师 批 准 隐 检 记 录 并 签 字 认 可承 包 单 位 取 得 隐 检 认 可 后进 入 下 道 工 序 施 工监 理 人 员 复 核 认 可是九、竣 工 验 收 程 序承 包 单 位 验 收 合 格 后 报 送 验 收 资 料监 理 工 程 师 对 承 包 单 位 报 送 的 竣 工 资 料 进 行 审 查有问题总 监 理 工 程 师 组 织 专 业 监 理 工 程 师对 工 程 质 量 进行 竣 工 预验 收监 理 工 程 师 就 存 在 的 问 题 要 求 承 包 单 位 及 时 整 改否总 监 签 暑 工 程 竣 工 报 验 单 并 提 出 工 程 质 量 评 估 报 告承 包 单 位 提 出 竣 工 验 收 申 请监 理工 程 师 审 查 申 请业 主 组 织 竣 工验收专 项 核 验 ( 消 防 等 )总体核验施工、监理、设计单位参加对验收中提出的问题,监理机构应要求承包单位进行整改 竣工验收意见报质监站备案总监会同参加验收的各方签署竣工验收报告十、信息、资料管理程序表示文件、档案资料的收集表示文件、档案资料的发送。
福建客家同元古镇开发有限公司
工
程
项
目
管
理
工
作
流
程
编制人:***
2013.11.20
目录
一、建设工程审批流程
二、招标工作程序
三、质量控制程序
四、工期控制程序
五、成本控制程序
六、重要材料控制程序
七、设计变更程序
八、隐蔽工程验收程序
九、竣工验收程序
十、信息、资料管理程序
一、建设工程审批流程
二、招标(施工、设计、监理、勘探等)工作程序
质 量 控 制
事先控制
质量预控制
组织图纸会审
和设计交底
审批施工 组织设计 审查质量体系 检 查 监 督
组织机构
工序管理
质
量自
检
上 岗 证
施工设备
测量定位
工序质量跟踪控制 事中控制
施工控制
检查原材料构配件
审查设计变更
工程更改
检查验收隐蔽工程 签认分部分项
工程质量
签订装饰工程样板
分析处理质量事故
竣 工 验 收 事后控制
竣工控制
组织初验整改
编
制竣工资
料
档案 核定质量等
级
质量达标、移交
➢
签订承包合同(业主与施工单位)
编制施工进度计划(施工单位)
清表工程
土方工程
房建工程
市政道路工程
审查施工进度计划(项目管理部)
编制年/季/月度/周实施计划(施工单位)
审查施工计划(项目管理部)
实施进度计划(施工单位)
检查计划实施情况(项目管理部)
修改实施进度计划
实际值与计划值对比(项目管理部)
偏离否
编制下期实施性计划(施工单位)
报出形象进度报表(施工单位)
➢
➢
同意否
NO YES
同意否 NO YES
NO
YES
动态
管理
跟踪控
制
审查施工措施 检查材料、施工设施 检查劳动力落实情况
组织协调各方关系 ➢
➢ ➢ ➢ ➢
➢
➢ ➢ ➢
➢
五、投资控制程序
投资预控(事先)
六、重要材料控制程序
材料进场前提出
材料使用计划、村质试验报告
专业监理工程师审查报告
监理工程师发现疑问 则承包单位重新检验
批准报告、同意材料进场
专业监理工程师再次审查
不批准承包单位用村,
指令并监督不合格材料运出现场
申 报
是
再
次 申
否
➢
➢ 业主抽查
八、隐蔽工程验收程序
七、设计变更程序
设 计 单 位 提 出 设 计 变 更
监 理 工 程 师 从 质 量 、 进 度 、 投 资 控 制 角 度 审 查
➢
重 大 修 改 与 业 主 磋 商 并 取 得 业 主 的 认 可
通 知 承 包 单 位 进 行 造 价 及 工 期 的 估 算
根据合同条款核定
承包单位的造价和工期的增减
批准承包单位实施设计变更
➢
是
否
承包单位自检合格
并
监理工程师发现不
符合要求时 退回承包单位重新进行隐检
监 理 工 程 师 批 准 隐 检 记 录 并 签 字 认 可
承 包 单 位 取 得 隐 检 认 可 后
进 入 下 道 工 序 施 工
监 理 人 员 复 核 认 可
是
九、竣 工 验 收 程 序
承 包 单 位 验 收 合 格 后 报 送 验 收 资 料
监 理 工 程 师 对 承 包 单 位 报 送 的 竣 工 资 料 进 行 审 查
有问题
总 监 理 工 程 师 组 织 专 业 监 理 工 程 师
对 工 程 质 量 进 行 竣 工 预 验 收
监 理 工 程 师 就 存 在 的 问 题 要 求 承 包 单 位 及 时 整 改
➢
否
总 监 签 暑 工 程 竣 工 报 验 单 并 提 出 工 程 质 量 评 估 报 告
承 包 单 位 提 出 竣 工 验 收 申 请
监 理 工 程 师 审 查 申 请
业 主 组 织 竣 工 验 收
专 项 核 验 ( 消 防 等 )
总体核验
施工、监理、设计单位参加
对验收中提出的问题,监理机构应要求
承包单位进行整改
竣工验收意见报质监站备案
总监会同参加验收的各方 签署竣工验收报告
➢
十、信息、资料管理程序
表示文件、档案资料的收集
表示文件、档案资料的发送
[此文档可自行编辑修改,如有侵权请告知删除,感谢您的支持,我们会努力把内容做得更好]。