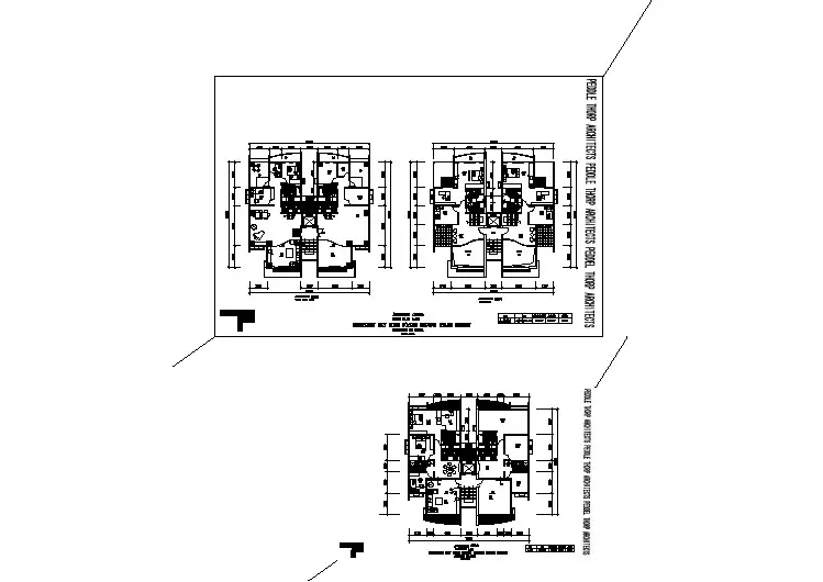
PEDDLE THORP ARCHITECTS PEDDLE THORP ARCHITECTS PEDDEL THORP ARCHITECTS48001840030003000SHENZHEN BAY COTE D'AZUR SECOND STAGE DESIGN18400J型复式上层平面图UNITS PLAN18400520018400(10#楼)1:100UNITS PLANJ型复式下层平面图1:1502000.8.11200ITS PLANJ型单元标准平面图阳台5.76书房9.12阳台190033003.0613.87 次卧室卫生间5.568.84 次卧室 主卧室19.50餐厅26.75客厅厨房6.7011.66阳台110011004.17卫生间1.87J型6.9130004100(10#楼)1:100SHENZHEN PR CHINA26002600SHENZHEN BAY COTE D'AZUR SECOND STAGE DESIGNSHENZHEN PR CHINAJ型复式平面图UNITS PLAN(10#楼)工人房1800520018400330026003000180031006.70厨房 次卧室5.56卫生间3.06阳台露台3.06阳台工人房28003900阳台阳台卫生间5.56厨房6.70餐厅上9.123.579.6716.389.12上3000 次卧室 次卧室240020503350门厅门厅26002700客厅客厅45.0845.08J型16200J型620033003900290028003100 主卧室阳台 露台18.182.7018.44家庭厅8.33 次卧室12.59书房 5.76阳台4.425.99卫生间卫生间下390028002700客厅上空18.1316200330033006200露台餐厅9.673.57 次卧室16.383100270016200PEDDLE THORP ARCHITECTS PEDDLE THORP ARCHITECTS PEDDEL THORP ARCHITECTS91.03%实用率144.47M 2建筑面积131.51M 2户型J,J'型编号四房二厅二卫套内建筑面积(10#楼)162008.841620027001620013.87 次卧室39003900 次卧室1.8718004.17卫生间91.03%实用率230.34M 2建筑面积209.68M 2户型J.J'型复式编号五房三厅三卫一工套内建筑面积阳台5.76上26.7528.946.70阳台客厅5.56卫生间餐厅11.70厨房 主卧室J'型6.9138001100110011003300330052002100410026001650卫生间阳台 主卧室48003100下卫生间18.185.994.42 次卧室2.70书房 12.59 露台8.335.76阳台28002900390018.5818.44家庭厅27002600客厅上空18.133300330016200