爱立信HLR交换指令的错误处理方式
- 格式:xls
- 大小:26.50 KB
- 文档页数:10
爱立信基站故障处理指导手册一、RBS2000系统概述 (3)(一)、RBS2000的总线分类 (4)(二)、DXU (4)(三)、TRU (5)(四)、COMB (5)(五)、合成和分配单元(CDU) (5)(六)、电源的控制单元(ECU) (6)二、爱立信基站故障级别分类 (6)三、基站处理故障流程 (7)四、基站硬件更换流程 (10)五、基站典型故障处理说明 (11)六、附录: (16)2一、RBS2000系统概述RBS2000系列基站是爱立信公司的新一代产品,广泛用于我国的GSM900MHz移动通信网,也适用于GSM1800MHz通信系统。
与RBS200型基站相比,2000系列基站采用了模块化设计,集成度进一步提高,一个基站基本上是由DXU、ECU、PSU、TRU和CDU等几个替换单元(Replacement Unit,RU)组成。
如果基站出现硬件故障,直接更换相应的RU即可;同时RBS2000基站具有良好的人机接口,可很方便地通过OMT软件实现笔记本和基站之间的通信,读取各种数据或进行相应的操作,所以维护起来很方便。
但在日常的维护工作中,有很多告警不易判断故障RU的位置或是否为硬件故障,因此我们需要熟练掌握基站工作原理进行认真分析,找出其真正原因,排除故障,提高网络质量。
RBS2202主要由风扇、温度传感器、IDM、TRU、CDU、PSU、ECU、DXU等组成。
下图为RBS2202的机柜结构图:34各部分硬件面板指示灯如下图:(一)、RBS2000总线分类本地总线 Local Bus 提供DXU 、TRU 和ECU 单元的内部通信连接。
时间总线 时间总路线从DXU 单元至TRU 单元间传送无线空间的时钟信息。
X 总线 X 总线在TRU 单元间以一个时隙为基础传送话音/数据信息。
它用于基带跳频。
CDU 总线 CDU 总线连接CDU 单元至各个TRU 单元,帮助实现接口和O&M 功能。
爱立信 WCDMA 基站常见告警处理方法1. PDH Loss of Signal:PDH信令丢失告警Maj PDH Loss of Sign loss_of_signalSubrack=1,Slot=1,PlugInUnit=1,Cbu=1,ExchangeTerminal=1,E1PhysPathTerm=pp4告警原因:传输不通。
2. Plug-In Unit General Problem:配置错误告警Maj Plug-In Unit General Problem replaceable_unit_problem Subrack=1,Slot=2,PlugInUnit=1告警原因:对应槽位没有板子,或板子读取不到。
处理方法:拔插相应槽位的板子,如拔插无效,则需更换板子。
3. AuxPlugInUnit_PiuConnectionLost:辅助单元设备告警Maj AuxPlugInUnit_PiuConnectionLost equipment_malfunction AuxPlugInUnit=1告警原因:外部告警先没接。
影响:无处理方法:由于现在外部告警线不需要接,可闭掉AuxPlugInUnit=1 这个MO,以消除告警。
4. AuxPlugInUnit_LossOfMains:RRU电源告警Maj AuxPlugInUnit_LossOfMains commerical_power_failure SectorAntenna=1,AuxPlugInUnit=RRU-1 告警原因:RRU掉电影响:该小区将退服。
处理方法:到现场检查RRU电源。
5. Carrier_RejectSignalFromHardware:Carrier_SignalNotReceivedWithinTime:载频告警Maj Carrier_RejectSignalFromHardware message_not_expected Sector=1,Carrier=1Maj Carrier_RejectSignalFromHardware message_not_expected Sector=2,Carrier=1Maj Carrier_SignalNotReceivedWithinTime timeout_expired Sector=2,Carrier=1告警原因:RU或RRU故障。
一.HLR部分:1.查看用户属性hgsdp:MSISDN=MSISDN号/IMSI号,all/loc;注:all-列出用户所有信息,loc-只列出用户登录的VLR地址信息该指令查看用户信息,不包括SIM卡鉴权信息,不包括智能网用户签约消息的scp信息和签约消息的业务。
例:hgsdp:MSISDN=8613030604990,all;用户数据部分常用一般用户属性(无需hgssi激活)cat-10 10 普通用户ts11-1 话务服务ts21-1 短信接收ts22-1 短信发送tcsi-1 ocsi-1 签约消息,智能网用户(通过hgcmp查看,团圆卡为pps用户)pwd-0000 密码prbt-1 炫铃obi-1 呼入限制obo-1 呼出限制obo-4 限制国际呼出clir-1 主叫隐藏(不发送主叫号码)clip-1 来电显示mpty-1 多方通话(前提已激活呼叫等待且提供呼叫保持)hold-1 呼叫保持(前提是已激活呼叫等待)socfu-0无应答呼转提示音(socfb,socfnry,socfnrc相同)obr-1 省内漫游(0:不限制,2:全国漫游,rsa-9马鞍山本地用户当前登陆地:查看VLR ADDRESS,查看VLR列表常用附加业务属性(需要hgssi激活)boic-1 国际长途限制caw-1 呼叫等待dcf-1 联通小秘书cfu-1 无条件呼转cfnrc-1 不可及呼转cfnry-1无应答呼转cfb-1 遇忙呼转baic-1 限制呼入baoc-1 限制呼出soclir-1 强制主叫号码隐藏soclip-1 强制来电号码显示2.改变用户参数hgsdc:MSISDN=MSISDN号,sud=属性-值;例:开关短信hgsdc:MSISDN=8613030604990,sud=ts21-1;hgsdc:MSISDN=8613030604990,sud=ts22-1;注:一般值为1,表示开通该业务;值为0,表示未开通该业务。
移动通信维护手册爱立信交换设备维护分册-故障处理版本号:1.0.02007-6-30发布2007-6-30实施中国移动通信有限公司分公司发布目录1 APZ部分: (1)1.1 故障描述:告警BACKUP INFORMA TION FAULT (1)1.2 故障描述:告警SIZE ALTERATION OF DATA FILES SIZE CHANGEREQUIRED (1)1.3 故障描述:告警AUDIT FUNCTION THRESHOLD SUPERVISION (2)1.4 故障描述:告警CP FAULT (2)1.5 故障描述:告警SOFTWARE ERROR (3)1.6 故障描述:告警SYSTEM RESTART (3)2 APT部分: (3)2.1 故障描述:告警ANAL YSIS DATA FAULT (3)2.2 故障描述:告警BLOCKING SUPERVISION (4)2.3 故障描述:告警CCITT7 DESTINATION INACCESSIBLE (5)2.4 故障描述:告警CCITT7 SIGNALLING LINK FAILURE (5)2.5 故障描述:告警CCITT7 LINK SET SUPERVISION (6)2.6 故障描述:告警DIGITAL PATH FAULT SUPERVISION (6)2.7 故障描述:告警DISTURBANCE SUPERVISION OF TRUNK ROUTES (7)2.8 故障描述:告警GROUP SWITCH FAULT (7)2.9 故障描述:告警SEMIPERMANENT CONNECTION FAULT (8)2.10 故障描述:告警SWITCHING NETWORK TERMINAL FAULT (9)2.11 故障描述:告警NM ROUTE LOAD STATE CHANGE (10)2.12 故障描述:告警RP FAULT (10)2.13 故障描述:告警SIGNALLING FAULT SUPERVISION (11)2.14 故障描述:告警SYNCHRONOUS DIGITAL PATH FAULT SUPERVISION (11)2.15 故障描述:告警NETWORK SYNCHRONIZATION FAULT (12)2.16 故障描述:告警EVENT REPORTING THRESHOLD REACHED,门限已达到80% (12)2.17 故障描述:告警M3UA DESTINA TION INACCESSIBLE (12)3 IOG部分: (13)3.1 故障描述:告警ALI FAULT MAG PCB ADDINFO ALI-0 - NO CONTACT (13)3.2 故障描述:告警PORT BLOCKED (14)3.3 故障描述:告警PVC SET-UP FAILURE (14)3.4 故障描述:告警LINE UNIT BLOCKED (15)3.5 故障描述:告警SP NODE AUTOMA TICALL Y BLOCKED (16)3.6、故障描述:告警SP TRANSIENT FAULT SUPERVISION (16)4 APG部分 (17)4.1 故障描述:告警AP LOG STATISTICS (17)4.2 故障描述:告警AP ANTIVIRUS FUNCTION FAULT (17)4.3 故障描述:告警AP FAULT (18)4.3.1 MIRRORED DISKS NOT REDUNDANT:磁盘镜像有问题引起。
爱立信常见交换机故障处理流程Document number:PBGCG-0857-BTDO-0089-PTT1998常见爱立信交换机故障处理流程TT计费停1)〈CHODP:FN=TT;连续看几次,如果指针不变,则确认TT计费停2)〈CHOFP:FN=TT;看那些计费子文件是CLOSE,那些计费子文件是OPEN 3)〈CHOFI:FN=TT,FILEID= ;打开另一个状态为CLOSE的计费子文件CHOFP:FILE=TTFILE03;4)〈CHODP:FN=TT;连续看几次,如果指针变,TT计费恢复正常;如果指针仍然不变,则重复3)、4)直到TT计费恢复正常;如果把所有的计费子文件都打开,指针仍然不变,则马上通知交换室。
(计费恢复正常后,除了能够正常计费子文件外,其他的计费子文件都要关闭,如果更改了计费子文件要通知立信计费中心)2.3.4.CP FAULT〈REPCI;测试出错部件。
〈REMCI:MAG= ,PCB= ;根据REPCI指令结果把最大怀疑坏的对应值填入。
〈RECCI;测试并复位。
如果CP FAULT不能消除,则报交换室。
5.RP(EM)FAULT〈REPRI:RP= ,(EM= );〈REMRI:RP= ,(EM= ),PCB= ;根据REPRI指令结果把最大怀疑坏的对应值填入。
〈RECRI :rp=;如果RP FAULT不能消除,则报交换室。
6.EMRP FAULT〈REPEI:EMG= ,EMRP= ;〈REMEI:EMG= ,MAG= ,PCB= ;〈RECEI:EMG= ,PCB= ;如果不能恢复,还可以进行如下操作:〈EXEDP:EMG= ,EM= ;〈BLODI:DEV= ;〈BLEEI:EMG= ,EM= ;〈BLEEE:EMG= ,EM= ;〈BLODE:DEV= ;如果EMRP FAULT不能消除,则报交换室。
7.TSM FAULT〈GSSTP;检查TSM的状态。
常见故障告警处理一. 硬件设备告警1、CP FAULTDPWSP;看CP状态。
REPCI;测试出错部件(排第一个是最可能出错的部件)。
REMCI:MAG=XX,PCB=XX;换板(可以再REMCI第二个部件)。
RECCI;测试并复位。
若修时出FC301说明交换机自己在修,此时CP状态为SE-FM(分离),无法人工修,只要等片刻就会发现CP状态变为UPDATING,再等就应该WORKING了。
2、RP FAULTEXRPP:RP=XX;看RP状态REPRI;测试出错部件(排第一个是最可能出错的部件)REMRI:RP=XX,PCB=XX;(也可以换第二个部件)RECRI;测试并复位闭解RP BLRPI/E:RP=XX;3、EMRP FAULT(emrp:Extension Module Regional Processor )REPEI:EMG=XX,EMRP=XX;REMEI:EMG=XX,MAG=XX,PCB=XX;RECEI:EMG=XX,PCB=XX;4、EM FAULTEXEMP:RP=X,EM=XX;看EM状态若无RPT时:REPRI:RP=XX,EM=XX;REMRI:RP=XX,EM=XX,PCB=XX;RECCI:RP=XX,EM=XX;若有RPT时:EXEMP:RP=XX,EM=XX;BLEMI:RP=XX,EM=XX,RPT=XX;BLEME:RP=XX,EM=XX,RPT=XX;若与TSM相关时:GSBLI: TSM=XX;进行(2)或(3)闭解EMGSBLE: TSM=XX;5、SWITCHING NETWORK TERMINAL FAULTNTSTP:SNT=XX;看SNT状态(常见FC38可闭解修好)NTCOP:SNT=XX;查DEV号对MSC:EXDRP:DEV=XX;查控制设备的RP号和EM号对BSC:RADAP:DEV=XX;查控制设备的RP号和EM号EXRPP:RP=XX;NTBLI:SNT=XX;闭NTTEI:SNT=XX;测NTBLE:SNT=XX;解若解不开,可试以下方法:EXEGP:EMG=XXXXX;查CICEXCLP:EQM=CLC-9;查对应的DEV,记下相关数据BLCLI:EQM=XX;闭CICEXCLE:EQM=XX;拆数据NTBLI:SNT=XX;闭NTBLE:SNT=XX;解EXCLI:EQM=XX,SPEED=XX,DEV=XX;重新定义原来的数据BLCLE:EQM=XX;解CIC6、GROUP SWITCH FAULT(TSM FAULT)(或GROUP SWITCH RESTRICTIONS)GSSTP:CLM/SPM/TSM=ALL;找出错部位(或用GSREP;列出故障的设备)。
(流程管理)爱立信常见交换机故障处理流程常见爱立信交换机故障处理流程TT计费停1)〈CHODP:FN=TT;连续看几次,如果指针不变,则确认TT计费停2)〈CHOFP:FN=TT;看那些计费子文件是CLOSE,那些计费子文件是OPEN3)〈CHOFI:FN=TT,FILEID= ;打开另一个状态为CLOSE的计费子文件CHOFP:FILE=TTFILE03;4)〈CHODP:FN=TT;连续看几次,如果指针变,TT计费恢复正常;如果指针仍然不变,则重复3)、4)直到TT计费恢复正常;如果把所有的计费子文件都打开,指针仍然不变,则马上通知交换室。
(计费恢复正常后,除了能够正常计费子文件外,其他的计费子文件都要关闭,如果更改了计费子文件要通知立信计费中心)2.CP FAULT〈REPCI;测试出错部件。
〈REMCI:MAG= ,PCB= ;根据REPCI指令结果把最大怀疑坏的对应值填入。
〈RECCI;测试并复位。
如果CP FAULT不能消除,则报交换室。
3.RP(EM)FAULT〈REPRI:RP= ,(EM= );〈REMRI:RP= ,(EM= ),PCB= ;根据REPRI指令结果把最大怀疑坏的对应值填入。
〈RECRI :rp=;如果RP FAULT不能消除,则报交换室。
4.EMRP FAULT〈REPEI:EMG= ,EMRP= ;〈REMEI:EMG= ,MAG= ,PCB= ;〈RECEI:EMG= ,PCB= ;如果不能恢复,还可以进行如下操作:〈EXEDP:EMG= ,EM= ;〈BLODI:DEV= ;〈BLEEI:EMG= ,EM= ;〈BLEEE:EMG= ,EM= ;〈BLODE:DEV= ;如果EMRP FAULT不能消除,则报交换室。
5.TSM FAULT〈GSSTP;检查TSM的状态。
〈GSDSP;清除干扰源。
〈GSBLI:TSM= ;闭TSM。
〈GSTEI:TSM= ;测TSM。
(注:在LSTP上闭塞或解开到故障HLR的MTP路由请参照流程“LSTP到HLR的闭路由操作”和“LSTP到HLR的解开路由操作”)LSTP到HLR的闭路由操作.docLSTP到HLR的解开路由操作.doc说明:HLR发生Reload之后,会自动的向登记在本HLR中的所有VLR地址发送一个RESET 信令(MAP信令),VLR对登记在本地的、属于该HLR上的用户进行一次Location Updating,HLR获得用户的最新位置信息。
正常情况下,HLR Reload完成之后不会对绝大部分的用户造成影响,少部分情况下,当用户在HLR Reload期间发生了VLR之间的位置切换,如果该HLR没有启用Redundancy 功能,那么HLR就会失去在该用户的位置信息;如果该HLR启用了Redundancy功能,用户的位置信息将更新到其备份HLR上。
如果HLR向登记在其数据库内的VLR发送的RESET信令丢失(由于信令链路原因等),那么将造成大量的用户无法做被叫,此时可以通过如下的流程来进行处理:1、在HLR上手动发送RESET信令:HGREI:VLRADDS=ALL;这条指令可以弥补HLR Reload之后自动发出的RESET信令丢失造成的影响。
2、在其备份HLR上手动发送RESET信令:HGREI:VLRADDS=ALL,REDHLR;这条指令可以弥补在HLR Reload期间用户发生了VLR地址切换造成的影响。
(注:这条指令使用的前提是HLR发生Reload时其Redundancy功能已经启用,且其备份HLR工作正常)3、在所有端局上将该HLR上的用户登记信息进行一次清除:MGSRE:HLRADDR=hlraddr;这条指令可以弥补HLR发出的RESET信令丢失造成的影响。
4、如果HLR在发生Reload的同时其备份HLR也发生了Reload,那么执行以上各步之后,仍有可能存在部分漫游在外地的用户位置信息没有更新,从而导致在其进行Location Updating(开关机或周期性登记)之前无法做被叫(仍能做主叫),但在用户投诉之前无法得知其IMSI或MSISDN,也无法通过短信等其他形式通知用户。
设备故障处理手册1、设备简介目前我公司使用的爱立信基站产品属于RBS2000(RadioBaseStation)系列。
从基站类型上分,RBS2000系列基站分宏蜂窝、微蜂窝、射频拉远基站三大类型;而从不同的频段分,则有GSM900,DCS1800和PCS1900等三种系列。
1.1、主要设备类型介绍宏蜂窝基站:RBS2202、RBS2207、RBS2206微蜂窝基站:RBS2302、RBS2309、RBS2308射频拉远基站:RBS2111、RBS21011.1.1、RBS2202介绍RBS2202设备是爱立信早期基站设备,广泛应用于容量站和覆盖站。
RBS2202单机架最大配置为6个载波,单小区最大配置为12个载波,2个机架分主辅架连接。
常用载波槽位配置有2+2+2,4+4+4,6+6+6,12+12+12。
插图(设备图示)●机柜尺寸:400mm×600mm×1900mm●重量:226kg●工作环境温度:+5℃—+40℃●最大功耗2400W●每个机柜最多能放6块载频。
●机柜既可以配置成EGSM900M的BTS,也可以配置成DCS1800M的BTS。
1.1.2、RBS2207介绍RBS2207设备适用DTRU,集成度较高,机架高度只有2206的一半,所占空间较小,但是每机架只有3个槽位,容量小,适用于郊区覆盖。
常用配置有2+2+2、4+2。
插图(设备图示)1.1.3、RBS2206介绍RBS2206设备适用DTRU,集成度较高,配置方式灵活,广泛应用于容量站和覆盖站。
每个机架有6个槽位,最大配置为12个载波。
常用槽位配置有4+4+4,6+6,8+4,12+12+12。
插图(设备图示)●机柜尺寸:400mm×600mm×1900mm●重量:230kg●工作环境温度:+5℃—+40℃●最大功耗4800W●每个机柜最多能放6块载频(dTRU)。
●机柜既可以配置成EGSM900M的BTS,也可以配置成DCS1800M的BTS。
关于爱立信交换机的一些指令总结一、系统例行检查指令1、ALLIP[:ALCAT=…,ACL=…];查看告警列表2、 DPWSP;查看CP状态3、 PLLDP;查看CP负荷(INT PLOAD CALIM OFFDO OFFDIFTCHDO FTCHDI OFFMPH OFFMPL FTCHMPH FTCHMPL,OFFTCAP,FTDTCAP)4、 GSSTP;查看选组级状态5、 GSCVP; 查看参考时钟的数值6、 NSSTP;查看时钟同步状态7、 CHODP:FN=TT;查看计费状态,如CDN持续变化则正常8、 IMMCT:SPG=0/1; 查看IOG状态IMCSP;END;9、 DTSTP:DIP=ALL[,STATE=ABL]; 查看传输DIP状态10、EXEGP:EMG=ALL; 查看RBS200 EMG状态11、R LCRP:CELL=ALL; 查看各小区资源情况12、C7LTP:LS=ALL; 查看信令链状态13、S TRSP:R=ALL; 检查路由设备情况二、日常例行工作(一)计费1、CHOFP:FN=TT; 查看计费输出文件的状态,记下状态为OPEN的FILEID号2、INFSP:FILE=TTFILE{FILEID},DEST=CHARGING{FILEID};查看计费文件的生成情3、INMCT:SPG=1;INMEI:NODE=…,IO=OD-1,VOL=…FORMAT=NSR02;END; 格式化OD,由交换室或潮阳技术室执行4、INMCT:SPG=1;INVOL:NODE=…,IO=OD-1; 挂卷END;5、INFMT:SPG=1,VOL1=…,DEST=CHARGING{FILEID};开始备份计费文件6、INMCT:SPG=1;INVOE:NODE=…,IO=OD-1; 卸卷END;(二)CP备份1、SYBUE; 去激活自动DUMP2、SYBFP:FILE; 检查后备文件,记录最后一个后备文件名(如RELFSW3)3、SYBUP:FILE=RELFSW3; 将系统信息备份至硬盘4、INMCT:SPG=0;INMEI:NOD E=…,IO=OD-1,VOL=…FORMAT=NSR02;END; 格式化OD,由交换室或潮阳技术室执行5、INMCT:SPG=0;INVOL:NODE=…,IO=OD-1; 挂卷END;6、SYMTP:SPG=0,FILE1=RELFSW3,NODE=…,IO2=OD-1,DIR=OUT;将备份文件拷贝至OD7、INMCT:SPG=0;INVOE:NODE=…,IO=OD-1; 卸卷END;8、SYTUC; 执行此步骤后,RELFSW3倒至RELFSW0,RELFSW0倒至1,依次类推9、SYBCI:FILE=RELFSW0; 对0文件做校验。
爱立信设备告警远程处理手册目录第一部分告警分析 (6)一、可以远程初步处理的告警 (6)§1、A1类告警 (6)§1.1 FILE PROCESS UTILITY AUTOMATIC TRANSFER FAILURE (6)§1.2 SWITCHING NETWORK TERMINAL FAULT (7)§1.3 CCITT7 SIGNALLING LINK FAILURE (7)§1.4 GROUP SWITCH FAULT (8)§1.5 DIGITAL PATH QUALITY SUPERVISION (9)DIGITAL PATH UNAVAILABLE STATE FAULT (9)§1.6 SYNCHRONOUS DIGITAL PATH QUALITY SUPERVISION (9)SYNCHRONOUS DIGITAL PATH F AULT(ET155硬件)9§1.7 RP INTERCOMMUNICATION GROUP FAULT (10)§1.8RADIO TRANSMISSION GB INTERFACE FAULT (10)§1.9 NM ROUTE ASR SUPERVISION (11)§2、A2类告警 (11)§2.1 INFINITE FILE END WARNING (11)§2.2 VOLUME LIMIT EXCEEDED (12)§2.3 LINE UNIT BLOCKED (13)§2.4 SIZE ALTERATION OF DATA FILES SIZE CHANGE REQUIRED (13)§2.5 RP FAULT (14)§2.6 EM FAULT (14)§2.7 BACKUP INFORMATION FAULT (15)§2.8 SOFTWARE ERROR (15)§2.9 APPLICATION DETECTED SOFTWARE ERROR (16)§2.10 PVC SET-UP FAILURE (16)§2.11 AUDIT FUNCTION THRESHOLD SUPERVISION (17)§3、A3类告警 (17)§3.1 CCITT7 DISTURBANCE SUPERVISION LIMIT REACHED (17)§3.2 DISTURBANCE SUPERVISION OF TRUNK ROUTES . 18 §3.3 HLR AUTHENTICATION DATA REQUEST FAULT (18)§3.4 MT FAILED AUTHENTICATION (19)§3.5 SEIZURE QUALITY SUPERVISION (19)§3.6 SIGNALLING FAULT SUPERVISION (19)§3.7 ALI FAULT (20)二、无法远程处理的告警 (20)§1、A1类告警 (20)§1.1 CP FAULT (20)§1.2 BLOCKING SUPERVISION (23)§1.3 CCITT7 DESTINATION INACCESSIBLE (23)§1.4 CCITT7 LINK SET SUPERVISION (23)§1.5 NETWORK SYNCHRONIZATION FAULT (24)§1.6 EXTERNAL ALARM (25)§1.7 CELL LOGICAL CHANNELS SEIZURE SUPERVISION.25 §1.8 CELL LOGICAL CHANNEL AVAILABILITY SUPERVISION (26)§1.9 SP UNIT FAULT (27)§1.10 COMMON CHARGING OUTPUT ERROR (28)§1.11 RADIO TRANSMISSION TRANSCODER POOL IDLE LEVEL SUPERVISION (30)§1.12 NM ROUTE LOAD STATE CHANGE (31)§1.13 SP TRANSIENT FAULT SUPERVISION (32)§1.14 EMG CONTROL DOWN (32)§2、A2类告警 (33)§2.1 SEMIPERMANENT CONNECTION FAULT (33)§2.2 PORT BLOCKED (34)§2.3 BLOCKING SUPERVISION OF DEVICE (35)§2.4 COMMAND LOG BLOCKED (35)§2.5 RADIO INTERFACE LAPD CONCENTRATORPROCESSOR OVERLOAD SUPERVISION (36)§2.6 STATISTIC DATA COUNTER COLLECTION TIME LIMIT SUPERVISION (36)§2.7 HLR SUBSCRIBERS WITH INCOMPATIBLE DATA SUPERVISION (37)§3、O1类告警 (37)§3.1 ROUTE RESTRICTION ACTIVATED (37)第二部分部分SUPERVISION告警级别定义标准 (38)第一部分告警分析一、可以远程初步处理的告警§1、A1类告警§1.1 FILE PROCESS UTILITY AUTOMATIC TRANSFER FAILURE一、告警产生原因:具有FPU功能的文件自动传送失败。
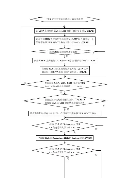
HLR 设备异常应急方案引言:当HLR设备发生故障时,影响是非常大的。
HLR Redundancy的主要作用是当一个HLR 出现故障时,另外一个配对的HLR能够平滑地接管起这个HLR工作,使这个HLR上的用户能够正常使用。
目前深圳现网所有的爱立信HLR都支持HLR Redundancy功能。
应急方案启动条件:当突发事件导致HLR设备出现软硬件故障,从而使HLR运行不稳定或宕机时应启动此应急方案。
应急方案执行原则:处理HLR故障时,应按照“先抢通、后抢修”的原则,暂不维修主用HLR,尽快将业务从主用HLR切换至备用HLR,再进行故障的进一步处理。
网络结构现状:目前深圳GSM网络HLR设备都为爱立信设备,软件版本一般都为R10版本,亦有R12版本。
破坏原因及破坏结果分析:HLR的故障会影响用户功能的去激活,本应急方案的预防保障措施中局数据制作部分由省网维资源配置室负责组织实施;应急抢通工作由HLR物理所在地的市公司负责组织实施。
应急措施准备工作:1、知道与故障HLR备份的HLR是哪个,可以用C7LTP:LS=ALL;2、故障HLR及备份HLR的健康检查;3、准备与故障HLR直连的所有网元维护人员的联系方式(包括IT中心维护人员)4、准备DT,与故障HLR有直联的所有网元(包括LSTP)中闭掉到故障HLR的信令路由或者链路的DT。
监控室有相关的OPS?5、记录配对HLR中当前COMMANG LOG子文件号6、准备归属于两个HLR的拨测卡应急措施关键步骤描述:1、闭塞至故障HLR的所有信令路由/链路;(注意顺序)2、检查闭塞效果,信令路由是否均已闭塞;3、主备HLR的数据应同步;倒回:1、倒回时应使主备HLR数据同步;2、解开闭塞的信令链;(注意顺序)3、恢复COMMAND LOG。
应急措施实施方法:当判定一个HLR出现故障,决定需要由另外一个HLR承载所有的业务时,必须遵守以下的流程进行故障处理工作:1、通知IT中心闭掉BOSS到故障HLR的端口。
爱立信常见交换机故障处理流程Document number:PBGCG-0857-BTDO-0089-PTT1998常见爱立信交换机故障处理流程TT计费停1)〈CHODP:FN=TT;连续看几次,如果指针不变,则确认TT计费停2)〈CHOFP:FN=TT;看那些计费子文件是CLOSE,那些计费子文件是OPEN 3)〈CHOFI:FN=TT,FILEID= ;打开另一个状态为CLOSE的计费子文件CHOFP:FILE=TTFILE03;4)〈CHODP:FN=TT;连续看几次,如果指针变,TT计费恢复正常;如果指针仍然不变,则重复3)、4)直到TT计费恢复正常;如果把所有的计费子文件都打开,指针仍然不变,则马上通知交换室。
(计费恢复正常后,除了能够正常计费子文件外,其他的计费子文件都要关闭,如果更改了计费子文件要通知立信计费中心)2.3.4.CP FAULT〈REPCI;测试出错部件。
〈REMCI:MAG= ,PCB= ;根据REPCI指令结果把最大怀疑坏的对应值填入。
〈RECCI;测试并复位。
如果CP FAULT不能消除,则报交换室。
5.RP(EM)FAULT〈REPRI:RP= ,(EM= );〈REMRI:RP= ,(EM= ),PCB= ;根据REPRI指令结果把最大怀疑坏的对应值填入。
〈RECRI :rp=;如果RP FAULT不能消除,则报交换室。
6.EMRP FAULT〈REPEI:EMG= ,EMRP= ;〈REMEI:EMG= ,MAG= ,PCB= ;〈RECEI:EMG= ,PCB= ;如果不能恢复,还可以进行如下操作:〈EXEDP:EMG= ,EM= ;〈BLODI:DEV= ;〈BLEEI:EMG= ,EM= ;〈BLEEE:EMG= ,EM= ;〈BLODE:DEV= ;如果EMRP FAULT不能消除,则报交换室。
7.TSM FAULT〈GSSTP;检查TSM的状态。