第二章轴向拉伸与压缩练习题
- 格式:doc
- 大小:88.00 KB
- 文档页数:4
轴向拉伸压缩练习题一、判断题:1.在弹性范围内,杆件的正应力和正应变成正比。
(对)2.轴向拉压杆横截面上,只有一种内力,有两种应力。
(对)3.胡克定律仅适用于杆件的弹性变形范围(对)4.低碳钢受拉破坏时有屈服阶段,中碳钢和合金钢都没有屈服阶段。
(错)5.铸铁扭转破坏沿45度螺旋面断裂是因剪应力先达到极限所致。
(错)6.低碳钢扭转破坏沿轴横截面断裂是因剪应力先达到极限所致。
(对)7.低碳钢压缩实验曲线一直是上扬的,因此极限强度为无穷。
(错)8. 弹性极限是材料保持弹性的最大极限值,可以不保持线性。
(错)9.比例极限是材料能保持线性的最大值,必在材料的弹性范围内。
(错)10.构件内力的大小不但与外力大小有关,还与材料的截面形状有关(错)11.杆件的某横截面上,若各点的正应力均为零,则该截面上的轴力为零。
(对)12.两根材料、长度都相同的等直柱子,一根的横截面积为A1,另一根为A2,且A2>A1 如图所示。
两杆都受自重作用。
则两杆最大压应力相等,最大压缩量也相等。
(对)13. 受集中力轴向拉伸的等直杆,在变形中任意两个横截面一定保持平行。
所以纵向纤维的伸长量都相等,从而在横截面上的内力是均匀分布的。
(错)14. 若受力物体内某电测得x和y方向都有线应变εx和εy,则x和y方向肯定有正应力σx 和σy。
(错)二、选择题1 塑性材料冷作硬化后,材料的力学性能发生了变化。
试判断以下结论哪一个是正确的:__ (A) 屈服应力提高,弹性模量降低;(B) 屈服应力提高,塑性降低;(C) 屈服应力不变,弹性模量不变;(D) 屈服应力不变,塑性不变。
2 低碳钢材料在拉伸实验过程中,不发生明显的塑性变形时,承受的最大应力应当小于的数值,有以下4种答案,请判断哪一个是正确的:_B_ (A) 比例极限;(B) 屈服极限;(C) 强度极限;(D) 许用应力。
3.关于低碳钢试样拉伸至屈服时,有以下结论,请判断哪一个是正确的:__ _ (A) 应力和塑性变形很快增加,因而认为材料失效;(B) 应力和塑性变形虽然很快增加,但不意味着材料失效;(C) 应力不增加,塑性变形很快增加,因而认为材料失效;(D) 应力不增加,塑性变形很快增加,但不意味着材料失效。
轴向拉伸与压缩练习题在材料力学中,轴向拉伸与压缩是一种常见的载荷方式,它们用于研究材料的强度、刚度和变形特性。
这些练习题旨在帮助学生加深对轴向拉伸与压缩的理解,并提供实践应用的机会。
以下是一些典型的练习题,通过解答这些问题,我们可以更好地理解这一领域的概念和原理。
1. 假设一根钢杆的长度为L,直径为D,已知拉伸载荷为F,求该杆的应力和应变。
2. 一根弹性体的长度为L,横截面积为A,已知施加在该体上的拉伸载荷为F,它的徐变模量为E,求该体的应变。
3. 如果一根杆材受到的拉伸载荷逐渐增加,最终达到其屈服强度,该杆材会发生什么样的变形?4. 如果一根杆材受到的压缩载荷逐渐增加,最终达到其屈服强度,该杆材会发生什么样的变形?5. 如果一根杆材同时受到轴向拉伸和压缩两种载荷,该杆材会如何变形?6. 一根弹性体的长度为L,横截面积为A,已知施加在该体上的拉伸载荷为F,计算该体的应力。
7. 一块材料在受到拉伸载荷时,其应力与应变之间的关系可以通过应力-应变曲线来表示,请描述应力-应变曲线的特点。
8. 如果一根杆材在受到轴向拉伸时断裂,这可能是由于哪些原因导致的?9. 一根杆材经过轴向拉伸后恢复原状的能力被称为什么?10. 在材料力学中,有一种称为胶黏剪切的变形模式,你了解它吗?请简要描述一下。
以上是一些典型的轴向拉伸与压缩练习题,通过解答这些问题,我们可以更好地理解轴向拉伸与压缩的基本概念和应用。
在解答问题的过程中,我们也可以运用公式和原理来计算并分析材料的应力、应变和变形等性质。
同时,通过这些练习题,我们可以培养应用知识解决实际问题的能力。
要提醒的是,在进行轴向拉伸与压缩练习题时,我们应该注意准确的计算和合理的分析。
在解答问题时,可以尝试用不同的方法和途径来验证答案,以加深对知识的理解和掌握。
同时,在实践中,我们也可以通过学习和研究更多的相关材料,来进一步拓展和深化对轴向拉伸与压缩的理解。
通过轴向拉伸与压缩练习题的学习与实践,我们可以更好地掌握这一领域的知识和技能。
第二章轴向拉压一、选择题1.图1所示拉杆的外表面上有一斜线,当拉杆变形时,斜线将( D)A.平动B.转动C.不动D.平动加转动2.轴向拉伸细长杆件如图2所示,其中1-1面靠近集中力作用的左端面,则正确的说法应是( C)A.1-1、2-2面上应力皆均匀分布B.1-1、2-2面上应力皆非均匀分布C.1-1面上应力非均匀分布,2-2面上应力均匀分布D.1-1面上应力均匀分布,2-2面上应力非均匀分布(图1)(图2)3.有A、B、C三种材料,其拉伸应力—应变实验曲线如图3所示,曲线( B)材料的弹性模量E大,曲线( A )材料的强度高,曲线( C)材料的塑性好。
4.材料经过冷作硬化后,其( D)。
A.弹性模量提高,塑性降低B.弹性模量降低,塑性提高C.比例极限提高,塑性提高D.比例极限提高,塑性降低5.现有钢、铸铁两种杆材,其直径相同。
从承载能力与经济效益两个方面考虑,图4所示结构中两种合理选择方案是( A)。
A.1杆为钢,2杆为铸铁B.1杆为铸铁,2杆为钢C.2杆均为钢D.2杆均为铸铁(图3)(图4)(图5)6.在低碳钢的拉伸试验中,材料的应力变化不大而变形显著增加的是(B)。
A. 弹性阶段;B.屈服阶段;C.强化阶段;D.局部变形阶段。
7.铸铁试件压缩破坏(B)。
A. 断口与轴线垂直;B. 断口为与轴线大致呈450~550倾角的斜面;C. 断口呈螺旋面;D. 以上皆有可能。
8.为使材料有一定的强度储备,安全系数取值应( A )。
A .大于1; B. 等于1; C.小于1; D. 都有可能。
9. 等截面直杆在两个外力的作用下发生轴向压缩变形时,这对外力所具备的特点一定是等值、( C )。
A 反向、共线B 反向,过截面形心C 方向相对,作用线与杆轴线重合D 方向相对,沿同一直线作用10. 图6所示一阶梯形杆件受拉力P的作用,其截面1-1,2-2,3-3上的内力分别为N 1,N 2和N 3,三者的关系为( B )。
轴向拉伸与压缩习题一、填空题1. 在工程设计中,构件不仅要满足、刚度和稳定性的要求,同时还必须符合经济方面的要求。
2.杆件受外力而变形时,杆件内部材料的颗粒之间,因相对位置改变而产生的相互作用力,称为。
3.某材料的σ- ε曲线如图,则材料的(1)屈服极限σ s=_______________Mpa(2)强度极限σ b=_______________Mpa(3)弹性模量 E=________________Gpa(4)强度计算时,若取安全系数为2,那么材料的许用应力 [ σ]=___________Mpa4. 如图所示,右端固定的阶梯形圆截面杆ABC,同时承受轴向荷载F1 与 F2 作用,已知 F1= 20 kN,F2=50 kN,AB 段直径 d1=20 mm, BC段直径 d2=30 mm。
则杆内最大的轴力(绝对值)发生在段,其大小为;杆内横截面上最大的正应力发生在段,其大小为。
5.阶梯形拉杆, L1 段为铜, L2 段为铝, L3 段为钢,在力 F 的作用下应变分别为ε1, ε2, ε3,则杆 AD的总变形L=________________。
6.现有钢、铸铁两种棒材,其直径相同。
已知钢的许用拉应力 [ σ ]=100Mpa,铸铁的许用压应力 [ σY]=120Mpa,从承载能力和经济效益两方面考虑,图示结构中两杆的合理选材方案是:(1)1 杆为_______________(2)2 杆为_______________二、选择题1.等截面直杆在两个外力的作用下发生压缩变形时,这时外力所具备的特点一定是等值()A、反向、共线;B、反向过截面形心;C、方向相对,作用线与杆轴线主合;D方向相对,沿同一直线作用;2. 一阶梯开杆件受拉力 F 的作用,其截面1-1 ,2-2 ,3-3上的内力分别为N1,N2 和 N3,三者的关系为:()A、N1>N2>N3B、N1<N<N3C、N1=N2=N3D、不能判断3. 一等直杆在两端承受拉力作用,若其一半为钢,许用应力为[ σ ]=100MPa,一半为铝, 许用应力为[ σ ]=80MPa,则两段的()。
第二章轴向拉伸与压缩练习题•单项选择题1、 在轴向拉伸或压缩杆件上正应力为零的截面是( )A 、横截面B 、与轴线成一定交角的斜截面C 、沿轴线的截面D 、不存在的2、 一圆杆受拉,在其弹性变形范围内,将直径增加一倍,则杆的相对变形将变为原 来的( )倍。
1 1A 、4 ;B 2 ;C 、1 ;D 2变形的范围内两者的轴力相同,这时产生的应变的比值 2应力为( )A 、3B 、1 ;C 2;D 、35、 所有脆性材料,它与塑性材料相比,其拉伸力学性能的最大特点是( )。
A 、 强度低,对应力集中不敏感;B 、 相同拉力作用下变形小;C 、 断裂前几乎没有塑性变形;D 、 应力-应变关系严格遵循胡克定律6、 构件具有足够的抵抗破坏的能力,我们就说构件具有足够的 ( )A 、刚度,B 、稳定性,C 、硬度,D 、强度。
7、 构件具有足够的抵抗变形的能力,我们就说构件具有足够的 ( )A 、强度,B 、稳定性,C 、刚度,D 、硬度。
&单位面积上的内力称之为 ( ) 为( )Pl 4Pl Pl Pl Pl PlA、 EA 3EA • B 0, EA ; C 2EA 3EA 5 D EA ,03、 由两杆铰接而成的三角架(如图所示) ,杆的横截面面积为 A ,弹性模量为E ,当在节点C 处受到铅垂载荷 P 作用时,铅垂杆 AC 和斜杆BC 的变形应分别4、几何尺寸相同的两根杆件, 其弹性模量分别为 E 仁180Gpa,E2=60 Gpa 在弹性A、正应力,B、应力,9、与截面垂直的应力称之为( )C、拉应力,D压应力。
A、正应力,B、拉应力,C、压应力,D切应力。
10、轴向拉伸和压缩时,杆件横截面上产生的应力为( )A、正应力,B、拉应力,C、压应力,D切应力。
二、填空题1、杆件轴向拉伸或压缩时,其受力特点是:作用于杆件外力的合力的作用线与杆件轴线相________ 。
2、轴向拉伸或压缩杆件的轴力垂直于杆件横截面,并通过截面________ 。
轴向拉伸与压缩习题及解答Prepared on 22 November 2020轴向拉伸与压缩习题及解答一、判断改错1、构件内力的大小不但与外力大小有关,还与材料的截面形状有关。
答:错。
静定构件内力的大小之与外力的大小有关,与材料的截面无关。
2、杆件的某横截面上,若各点的正应力均为零,则该截面上的轴力为零。
答:对。
3、两根材料、长度都相同的等直柱子,一根的横截面积为1A ,另一根为2A ,且21A A >。
如图所示。
两杆都受自重作用。
则两杆最大压应力相等,最大压缩量也相等。
答:对。
自重作用时,最大压应力在两杆底端,即max max N All A Aνσν=== 也就是说,最大应力与面积无关,只与杆长有关。
所以两者的最大压应力相等。
最大压缩量为 2max max22N Al l l l A EA Eνν⋅∆===即最大压缩量与面积无关,只与杆长有关。
所以两杆的最大压缩量也相等。
A 1(a) (b)4、受集中力轴向拉伸的等直杆,在变形中任意两个横截面一定保持平行。
所以宗乡纤维的伸长量都相等,从而在横截面上的内力是均匀分布的。
答:错 。
在变形中,离开荷载作用处较远的两个横截面才保持平行,在荷载作用处,横截面不再保持平面,纵向纤维伸长不相等,应力分布复杂,不是均匀分布的。
5、若受力物体内某电测得x 和y 方向都有线应变x ε和y ε,则x 和y 方向肯定有正应力x σ和y σ。
答:错, 不一定。
由于横向效应作用,轴在x 方向受拉(压),则有x σ;y 方向不受力,但横向效应使y 方向产生线应变,y x εενε'==-。
二、填空题1、轴向拉伸的等直杆,杆内的任一点处最大剪应力的方向与轴线成(45)2、受轴向拉伸的等直杆,在变形后其体积将(增大)3、低碳钢经过冷做硬化处理后,它的(比例)极限得到了明显的提高。
4、工程上通常把延伸率δ>(5%)的材料成为塑性材料。
5、 一空心圆截面直杆,其内、外径之比为,两端承受力力作用,如将内外径增加一倍,则其抗拉刚度将是原来的(4)倍。
轴向拉伸和压缩 第二次 作业1. 低碳钢轴向拉伸的整个过程可分为 弹性阶段 、 屈服阶段 、 强化阶段 、 局部变形阶段 四个阶段。
2. 工作段长度100 mm l =,直径10 mm d =的Q235钢拉伸试样,在常温静载下的拉伸图如图所示。
当荷载F = 10kN 时,工作段的伸长∆l = 0.0607mm ,直径的缩小∆d = 0.0017mm 。
则材料弹性模量E = 210 GPa ,强度极限σb = 382 MPa ,泊松比μ = 0.28 ,断后伸长率δ = 25% ,该材料为 塑性 材料。
∆l / mmO0.0607253. 一木柱受力如图所示。
柱的横截面为边长20mm 的正方形,材料的弹性模量E =10GPa 。
不计自重,试求 (1)作轴力图;(2)各段柱横截面上的应力;(3)各段柱的纵向线应变;(4)柱端A 的位移。
100kN260kN解:(1)轴力图如图所示 (2)AC 段 310010250MPa 2020NAC AC AC F A σ-⨯===-⨯ CB 段 326010650MPa 2020NCB CB CB F A σ-⨯===-⨯ (3)AC 段 69250100.0251010NAC AC AC AC F EA E σε-⨯====-⨯ CB 段 69650100.0651010NCB CB CBCB F EA E σε-⨯====-⨯ (4)AC 段 0.025150037.5mm NAC ACAC AC AC ACF l l l EA ε∆===-⨯=- CB 段 0.065150097.5mm NCB CBCB CB CB CBF l l l EA ε∆===-⨯=- 柱端A 的位移 37.597.5135mm A AC CB l l ∆=∆+∆=--=-(向下)4. 简易起重设备的计算简图如图所示。
已知斜杆AB 用两根63×40×4不等边角钢组成,63×40×4不等边角钢的截面面积为A = 4.058cm 2,钢的许用应力[σ] = 170 MPa 。
拉伸与压缩试题————————————————————————————————作者:————————————————————————————————日期:第二章 拉伸与压缩一、是非题2-1 、当作用于杆件两端的一对外力等值反向共线时则杆件产生轴向拉伸或压缩变形。
( ) 2-2 、关于轴力有下列几种说法: 1、轴力是作用于杆件轴线上的载荷( ) 2、轴力是轴向拉伸或压缩时杆件横截面上分布内力系的合力( )3、轴力的大小与杆件的横截面面积有关( )4、轴力的大小与杆件的材料无关( )2-3、 同一材料制成的阶梯杆及其受力如图2-1CD 段的横截面面积为ABC 和DE 段均为2A 分别用和表示截面上的轴力和正应力则有1、轴力321N N N F F F >> 。
( )2、正应力1σ>2σ>3σ。
( )2-4、 轴力越大,杆件越容易拉断,因此轴力的大小可以用来判断杆件的强度。
( )2-5 、一轴向拉伸的钢杆材料弹性模量E =200GP a,比例极限p σ=200MP a ,今测得其轴向线应变ε=0.0015,则由胡克定律得其应力εσE ==300MP a 。
( ) 2-6 、关于材料的弹性模量E,有下列几种说法:1、E 的量纲与应力的量纲相同。
( )2、E 表示弹性变形能力的大小。
( )3、各种牌号钢材的E 值相差不大。
( )4、橡皮的E 比钢材的E值要大。
( )5、从某材料制成的轴向拉伸试样,测的应力和相应的应变,即可求的其εσ=E 。
( ) 2-7 、关于横向变形系数(泊松比)μ,有下列几种说法:1、为杆件轴向拉、压时,横向应变ε'与纵向应变ε之比的绝对值。
( )2、 μ值越大,其横向变形能力越差。
( )3、各种材料的μ值都满足:0<μ≤0.5。
( )2-8、 受轴向拉、压的等直杆,若其总伸长为零,则有1、杆内各处的应变必为零。
( )2、杆内各点的位移必为零。
( )3、杆内各点的正应力必为零。
第二章 轴向拉伸和压缩 第一节 轴向拉压杆的内力1.1 工程实际中的轴向受拉杆和轴向受压杆在工程实际中,经常有承受轴向拉伸荷载或轴向压缩荷载的等直杆。
例如图2-1a 所示桁架的竖杆、斜杆和上、下弦杆,图2-1b 所示起重机构架的各杆及起吊重物的钢索,图2-1c 所示的钢筋混凝土电杆上支承架空电缆的横担结构,BC 、AB 杆,此外,千斤顶的螺杆,连接气缸的螺栓及活塞连杆等都是轴间拉压杆。
钢木组合桁架d起重机图工程实际中的轴向受拉(压)杆1.2 轴向拉压杆的内力——轴力和轴力图bcx图用截面法求杆的内力为设计轴向拉压杆,需首先研究杆件的内力,为了显示杆中存在的内力和计算其大小,我们采用在上章中介绍过的截面法。
(如图2-2a )所示等直杆,假想地用一截面m -m 将杆分割为I 和II 两部分。
取其中的任一部分(例如I )为脱离体,并将另一部分(例如II )对脱离体部分的作用,用在截开面上的内力的合力N 来代替(图2-2b ),则可由静力学平衡条件:0 0X N P =-=∑求得内力N P =同样,若以部分II 为脱离体(图2-2c ),也可求得代表部分I 对部分II 作用的内力为N =P ,它与代表部分II 对部分I 的作用的内力等值而反向,因内力N 的作用线通过截面形心 即沿杆轴线作用,故称为轴力..。
轴力量纲为[力],在国际单位制中常用的单位是N (牛)或kN (千牛)。
为区别拉伸和压缩,并使同一截面内力符号一致,我们规定:轴力的指向离开截面时为正号轴力;指向朝向截面时为负号轴力。
即拉力符号为正,压力符号为负。
据此规定,图2-2所示m-m 截面的轴力无论取左脱离体还是右脱离体,其符号均为正。
1.3 轴力图当杆受多个轴向外力作用时,杆不同截面上的轴力各不相同。
为了形象表示轴力沿杆轴线的变化情况,以便于对杆进行强度计算,需要作出轴力图,通常用平行于杆轴线的坐标表示截面位置,用垂直杆轴线的坐标表示截面上轴力大小,从而给出表示轴力沿截面位置关系的图例,即为轴力图...。
第二章 轴向拉伸和压缩2-1一圆截面直杆,其直径d =20mm,长L =40m ,材料的弹性模量E =200GPa ,容重γ=80kN/m 3,杆的上端固定,下端作用有拉力F =4KN ,试求此杆的:⑴最大正应力; ⑵最大线应变; ⑶最大切应力;⑷下端处横截面的位移∆。
解:首先作直杆的轴力图⑴最大的轴向拉力为232N,max 80100.024*********.8N 44d F V F L F ππγγ=+=+=⨯⨯⨯⨯+= 故最大正应力为:N,maxN,maxN,maxmax 222445004.8=15.94MPa 3.140.024F F F Addσππ⨯====⨯⑵最大线应变为:64maxmax915.94100.7971020010E σε-⨯===⨯⨯ ⑶当α(α为杆内斜截面与横截面的夹角)为45︒时,maxmax 7.97MPa 2ασττ===⑷取A 点为x 轴起点,2N (25.124000)N 4d F Vx F x F x πγγ=+=+=+故下端处横截面的位移为:240N 0025.1240001d d (12.564000)2.87mm LL F x x x x x EA EA EA+∆===⋅+=⎰⎰2-2试求垂直悬挂且仅受自重作用的等截面直杆的总伸长△L 。
已知杆横截面面积为A ,长度为L ,材料的容重为γ。
解:距离A 为x 处的轴力为 所以总伸长2N 00()L d d 2LL F x Ax L x x EA EA Eγγ∆===⎰⎰ 2-3图示结构,已知两杆的横截面面积均为A =200mm 2,材料的弹性模量E =200GPa 。
在结点A 处受荷载F 作用,今通过试验测得两杆的纵向线应变分别为ε1=4×10-4,ε2=2×10-4,试确定荷载P 及其方位角θ的大小。
解:由胡克定律得 相应杆上的轴力为取A 节点为研究对象,由力的平衡方程得解上述方程组得2-4图示杆受轴向荷载F 1、F 2作用,且F 1=F 2=F ,已知杆的横截面面积为A ,材料的应力-应变关系为ε=c σn,其中c 、n 为由试验测定的常数。
第二章 轴向拉伸和压缩2.1 求图示杆11-、22-、及33-截面上的轴力。
解:11-截面,取右段如)(a 由0=∑x F ,得 01=N F22-截面,取右段如)(b 由0=∑x F ,得 P F N -=233-截面,取右段如)(c由0=∑x F ,得 03=N F2.2 图示杆件截面为正方形,边长cm a 20=,杆长m l 4=,kN P 10=,比重3/2m kN =γ。
在考虑杆本身自重时,11-和22-截面上的轴力。
解:11-截面,取右段如)(a 由0=∑x F ,得kN la F N 08.04/21==γ22-截面,取右段如)(b 由0=∑xF,得kN P la F N 24.104/322=+=γ2.3 横截面为210cm 的钢杆如图所示,已知kN P 20=,kN Q 20=。
试作轴力图并求杆的总伸长及杆下端横截面上的正应力。
GPa E 200=钢。
解:轴力图如图。
杆的总伸长:m EA l F l N 59102001.0102001.02000022-⨯-=⨯⨯⨯-⨯==∆ 杆下端横截面上的正应力:MPa A F N 20100020000-=-==σ 2.4 两种材料组成的圆杆如图所示,已知直径mm d 40=,杆的总伸长cm l 21026.1-⨯=∆。
试求荷载P 及在P 作用下杆内的最大正应力。
(GPa E 80=铜,GPa E 200=钢)。
解:由∑=∆EAl F l N ,得)104010806.0410********.04(1026.16296294---⨯⨯⨯⨯⨯+⨯⨯⨯⨯⨯=⨯ππP 解得: kN P 7.16=杆内的最大正应力:4/4/4/4/)(a )(b )(c 2N1N )(a kNkN图NF cm cmcmMPa A F N 3.13401670042=⨯⨯==πσ 2.5 在作轴向压缩试验时,在试件的某处分别安装两个杆件变形仪,其放大倍数各为1200=A k ,1000=B k ,标距长为cm s 20=,受压后变形仪的读数增量为mm n A 36-=∆,mm n B 10=∆,试求此材料的横向变形系数ν(即泊松比)。
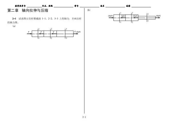
第二章 轴向拉伸与压缩1、试求图示各杆1-1和2-2横截面上的轴力,并做轴力图。
(1) (2)2、图示拉杆承受轴向拉力F =10kN ,杆的横截面面积A =100mm 2。
如以α表示斜截面与横截面的夹角,试求当α=10°,30°,45°,60°,90°时各斜截面上的正应力和切应力,并用图表示其方向。
3、一木桩受力如图所示。
柱的横截面为边长200mm 的正方形,材料可认为符合胡克定律,其弹性模量E =10GPa 。
如不计柱的自重,试求:(1)作轴力图;(2)各段柱横截面上的应力; (3)各段柱的纵向线应变;(4)柱的总变形。
4、(1)试证明受轴向拉伸(压缩)的圆截面杆横截面沿圆周方向的线应变d ε,等于直径方向的线应变d ε。
(2)一根直径为d =10mm 的圆截面杆,在轴向拉力F 作用下,直径减小0.0025mm 。
如材料的弹性摸量E =210GPa ,泊松比ν=0.3,试求轴向拉力F 。
(3)空心圆截面钢杆,外直径D =120mm,内直径d =60mm,材料的泊松比ν=0.3。
当其受轴向拉伸时, 已知纵向线应变ε=0.001,试求其变形后的壁厚δ。
5、图示A和B两点之间原有水平方向的一根直径d=1mm的钢丝,在钢丝的中点C加一竖直荷载F。
已知钢丝产生的线应变为ε=0.0035,其材料的弹性模量E=210GPa,钢丝的自重不计。
试求:(1) 钢丝横截面上的应力(假设钢丝经过冷拉,在断裂前可认为符合胡克定律);(2) 钢丝在C点下降的距离∆;(3) 荷载F的值。
6、简易起重设备的计算简图如图所示.一直斜杆AB应用两根63mm×40mm×4mm不等边角钢组[σ=170MPa。
试问在提起重量为P=15kN的重物时,斜杆AB是否满足强度成,钢的许用应力]条件?7、一结构受力如图所示,杆件AB,AD均由两根等边角钢组成。
已知材料的许用应力[σ=170MPa,试选择杆AB,AD的角钢型号。
材料力学作业Company number:【0089WT-8898YT-W8CCB-BUUT-202108】第一章 绪论1. 试求图示结构m-m 和n-n 两截面上的内力,并指出AB 和BC 两杆的变形属于何类基本变形。
2. 拉伸试样上A ,B 两点的距离l 称为标距。
受拉力作用后,用变形仪量出两点距离的增量为mm l 2105-⨯=∆。
若l 的原长为l =100mm ,试求A 与B 两点间的平均应变m ε。
第二章 轴向拉伸和压缩与剪切 一、选择题1.等直杆受力如图,其横截面面积A=1002mm ,则横截面mk上的正应力为( )。
(A)50MPa(压应力); (B)40MPa(压应力); (C)90MPa(压应力); (D)90MPa(拉应力)。
2.低碳钢拉伸经过冷作硬化后,以下四种指标中哪种得到提高( ): (A)强度极限; (B)比例极限;(C)断面收缩率; (D)伸长率(延伸率)。
3.图示等直杆,杆长为3a ,材料的抗拉刚度为EA ,受力如图。
杆中点横截面的铅垂位移为( )。
(A)0;(B)Pa/(EA);(C)2 Pa/(EA);(D)3 Pa/(EA)。
4.图示铆钉联接,铆钉的挤压应力bs σ是( )。
(A )2P/(2d π); (B )P/2dt;(C)P/2bt; (D)4p/(2d π)。
5.铆钉受力如图,其压力的计算有( )(A )bs σ=p/(td);(B)bs σ=p/(dt/2);(C)bs σ=p/(πdt/2);(D)bs σ=p/(πdt/4)。
6.图示A 和B 的直径都为d,则两面三刀者中最大剪应力为( )(A)4bp/(2d απ); (B)4(αb +)P/(2d απ); (C)4(a b +)P/(2b d π); (D)4αP/(2b d π). 7.图示两木杆(I 和II )连接接头,承受轴向拉力作用,错误的是( ).(A )1-1截面偏心受拉; (B )2-2为受剪面;(C )3-3为挤压面; (D )4-4为挤压面。
轴向拉伸与压缩习题一、填空题1.在工程设计中,构件不仅要满足、和稳定性的要求,同时还必须符合经济方面的要求。
2、在式σ=eε中,比例系数e称作材料的拉压_______,相同材料的e值相同;它充分反映某种材料抵抗变形的能力,在其他条件相同时,ea越大,杆件的变形__________。
3、构件工作应力的最高极限叫做__________。
材料能承受的最大应力叫做材料__________。
4、材料抵抗弹性变形能力的指标就是____和_______。
5.在低碳钢的拉伸试验中,材料的应力变化不大而变形显著增加的现象称为。
二、选择题1.轴向弯曲或放大时,直杆横截面上的内力称作轴力,则表示为:()a.fnb.fsfqc.d.fjy2.材料的塑性指标有:()a.σu和δb.σs和ψc.σb和δd.δ和ψ3.截面上的内力大大,()a.与截面的尺寸和形状无关b.与截面的尺寸有关,但与截面的形状无关c.与截面的尺寸无关,但与截面的形状有关d.与截面的尺寸和形状都有关4.等横截面直杆在两个外力的促进作用下出现轴向放大变形时,这对外力所具有的特点一定就是等值、()。
a逆向、共线b反向,过截面形心c方向相对,促进作用线与杆轴线重合d方向相对,沿同一直线促进作用5.一阶梯形杆件受拉力p的作用,其截面1-1,2-2,3-3上的内力分别为n1,n2和n3,三者的关系为()。
an1≠n2n2≠n3bn1=n2n2=n3cn1=n2n2>n3dn1=n2n2<n36.图示阶梯形杆,cd段为铝,横截面面积为a;bc和de段为钢,横截面面积均为2a。
设1-1、2-2、3-3截面上的正应力分别为σ1、σ2、σ3,则其大小次序为()。
aσ1>σ2>σ3bσ2>σ3>σ1cσ3>σ1>σ2dσ2>σ1>σ37.轴向拉伸杆,正应力最大的截面和剪应力最大的截面()a分别是横截面、450斜截面b都是横截面c分别是450斜截面、横截面d都是450斜截面10.由变形公式δl=pl/ea即e=pl/aδl可知,弹性模量()a与载荷、杆长、横截面面积毫无关系b与载荷成正比c与杆长成正比d与横截面面积成正比11.在以下观点,()就是恰当的。
第二章 轴向拉伸与压缩练习题
一.单项选择题
1、在轴向拉伸或压缩杆件上正应力为零的截面是( )
A 、横截面
B 、与轴线成一定交角的斜截面
C 、沿轴线的截面
D 、不存在的
2、一圆杆受拉,在其弹性变形范围内,将直径增加一倍,则杆的相对变形将变为原来的( )倍。
A 、41;
B 、21
; C 、1; D 、2
3、由两杆铰接而成的三角架(如图所示),杆的横截面面积为A ,弹性模量为E ,当在节点C 处受到铅垂载荷P 作用时,铅垂杆AC 和斜杆BC 的变形应分别为( )
A 、EA Pl ,EA Pl 34;
B 、0, EA Pl ;
C 、EA Pl 2,EA Pl 3
D 、EA Pl
,0
4、几何尺寸相同的两根杆件,其弹性模量分别为E1=180Gpa,E2=60 Gpa,在弹性变形的范围内两者的轴力相同,这时产生的应变的比值21
εε 应力为( )
A 、31
B 、1;
C 、2;
D 、3
5、所有脆性材料,它与塑性材料相比,其拉伸力学性能的最大特点是( )。
A 、强度低,对应力集中不敏感;
B 、相同拉力作用下变形小;
C 、断裂前几乎没有塑性变形;
D 、应力-应变关系严格遵循胡克定律
6、构件具有足够的抵抗破坏的能力,我们就说构件具有足够的( )
A 、刚度,
B 、稳定性,
C 、硬度,
D 、强度。
7、构件具有足够的抵抗变形的能力,我们就说构件具有足够的( )
A 、强度,
B 、稳定性,
C 、刚度,
D 、硬度。
8、单位面积上的内力称之为( )
A 、正应力,
B 、应力,
C 、拉应力,
D 、压应力。
9、与截面垂直的应力称之为( )
A、正应力,
B、拉应力,
C、压应力,
D、切应力。
10、轴向拉伸和压缩时,杆件横截面上产生的应力为( )
A、正应力,
B、拉应力,
C、压应力,
D、切应力。
二、填空题
1、杆件轴向拉伸或压缩时,其受力特点是:作用于杆件外力的合力的作用线与杆件轴线相________。
2、轴向拉伸或压缩杆件的轴力垂直于杆件横截面,并通过截面________。
3、杆件轴向拉伸或压缩时,其横截面上的正应力是________分布的。
4、胡克定律的应力适用范围若更精确地讲则就是应力不超过材料的________极限。
5、杆件的弹必模量E表征了杆件材料抵抗弹性变形的能力,这说明杆件材料的弹性模量E值越大,其变形就越________。
6、在国际单位制中,弹性模量E的单位为________。
7、在应力不超过材料比例极限的范围内,若杆的抗拉(或抗压)刚度越________,则变形就越小。
8、为了保证构件安全,可靠地工作在工程设计时通常把________应力作为构件实际工作应力的最高限度。
9、安全系数取值大于1的目的是为了使工程构件具有足够的________储备。
10、设计构件时,若片面地强调安全而采用过大的________,则不仅浪费材料而且会使所设计的结构物笨重。
11、正方形截而的低碳钢直拉杆,其轴向向拉力3600N,若许用应力为100Mpa,由此拉杆横截面边长至少应为________mm。
12、轴力是指通过横截面形心垂直于横截面作用的内力,而求轴力的基本方法是_______________。
13、在低碳钢拉伸曲线中,其变形破坏全过程可分为______个变形阶段,它们依次
是____________、______________、__________________和__________________。
14、用塑性材料的低碳钢标准试件在做拉伸实验过程中,将会出现四个重要的极限应力;其中保持材料中应力与应变成线性关系的最大应力为__________;使材料保持纯弹性变形的最大应力为______________;应力只作微小波动而变形迅速增加时的应力为______________;材料达到所能承受的最大载荷时的应力为____________。
15、通过低碳钢拉伸破坏试验可测定强度指标________和___________;塑性指标_____________和_______________。
16、延伸率(伸长率)δ是代表材料塑性的性能指标。
一般δ>5﹪的材料称为___________材料,δ<5﹪的材料称为_________材料。
17、在制造零件的过程中,对零件施加载荷使其塑性变形,材料的比例极限和屈服极限提高,塑性下降的现象称为________________。
18、温度改变而引起的应力的变化称为________________。
三、计算题
1、图所示支架,AB为钢杆,横截面积A AB=600mm2;BC为木杆,横截面积A BC=300cm2。
钢的许用应力[σ]=140Mpa,木材的许用拉应力[σL]=8Mpa,许用压应力[σy]=4Mpa。
求支架的许可载荷。
2、如图所示结构中,杆1材料为碳钢,横截面面积为2
1mm 200=A ,许用应力MPa 160][1=σ;杆2的材料为铜合金,横截面积22m m 300=A ,许用应力
MPa 100][2=σ,试求此结构许可载荷[P]。
3、图示钢制阶梯形直杆的[σ] = 260 Mpa ,各截面面积分别为A1=A3=400mm2 ,A2=300mm2 ,。