胶囊剂片剂工艺流程图
- 格式:doc
- 大小:74.00 KB
- 文档页数:4
常见药品生产典型工艺流程框图
药品生产对环境的洁净等级要求与药品的品种、剂型和生产特点有关。
常见药品生产的典型工艺流程及环境区域划分如图1-1至图1-9。
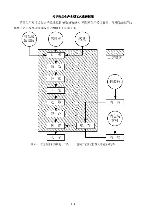
图1-1 非无菌原料药精制、干燥、包装工艺流程框图及环境区域划分
图1-2 无菌原料药精制、干燥、包装工艺流程框图及环境区域划分
图1-3 片剂生产工艺流程框图及环境区域划分
图1-4 硬胶囊剂生产工艺流程框图及环境区域划分
图1-5 压制法软胶囊剂生产工艺流程框图及环境区域划分
图1-6 可灭菌小容量注射剂生产工艺流程框图及环境区域划分
图1-7 可灭菌大容量注射剂生产工艺流程框图及环境区域划分
图1-8 注射用无菌分装产品生产工艺流程框图及环境区域划分
图1-9 注射用冷冻干燥制品生产工艺流程框图及环境区域划分。
常见药品生产典型工艺流程框图
药品生产对环境的洁净等级要求与药品的品种、剂型和生产特点有关。
常见药品生产的典型工艺流程及环境区域划分如图1-1至图1-9。
图1-1 非无菌原料药精制、干燥、包装工艺流程框图及环境区域划分
图1-2 无菌原料药精制、干燥、包装工艺流程框图及环境区域划分
图1-3 片剂生产工艺流程框图及环境区域划分
图1-4 硬胶囊剂生产工艺流程框图及环境区域划分
图1-5 压制法软胶囊剂生产工艺流程框图及环境区域划分
图1-6 可灭菌小容量注射剂生产工艺流程框图及环境区域划分
图1-7 可灭菌大容量注射剂生产工艺流程框图及环境区域划分
图1-8 注射用无菌分装产品生产工艺流程框图及环境区域划分
图1-9 注射用冷冻干燥制品生产工艺流程框图及环境区域划分。
各制剂工艺流程图1 、片剂生产工艺流程图2、颗粒剂生产工艺流程图3、胶囊剂生产工艺流程图4、合剂生产工艺流程图5、糖浆剂生产工艺流程图6, 丸剂生产工艺流程图2 、工艺流程说明2 . 1 、前处理工艺流程说明外购的药材经过挑、选、检、去杂质及非药用部位后,川选药机或不绣钢洗药池,将药材上的泥土、灰尘洗净,根据不同品种的要求湿润,以达到提取、榨油、细粉的标准。
用J 六提取的药材,采取切割的方法切片,后经多层带式}气燥机干燥,中药粉碎机粉碎,筛分得到合格粒度的药材,送到净药库。
用J 屯榨油的药材,经多层带式干燥机干燥后,直接送去榨汕。
榨油前,按配方要求混合,用中药粉碎机粗碎,经蒸汽湿润后进入螺旋榨油机榨油,榨出的油经过过滤,再送到综合伟lJ 剂车间。
用一于细粉的药材切片,经多层带式十燥机十燥后,送到双扇灭菌柜灭菌,再用高效粉碎机组和震荡筛粉碎,筛分合格后包装,转入综合制剂车间。
2 . 2 、热回流提取工艺流程说明来自净药库的药材,按配方配料,加入乙醇,用热回流抽提机组进行第· 次醉提,过滤后剩余的药渣,加上辅料,再进行次水提,使有效成分尽量提出。
醇体液静置后过滤,除去杂质,减压浓缩,回收乙醉,并得到醇提浸膏。
水提液静置后过滤,除去杂质,减压浓缩,并得到水提浸膏。
将醇提浸膏与水提浸膏混合,采用可倾式反应锅浓缩,得到稠浸膏,用周转桶送到综合制剂车间。
2 .3 、片剂工艺流程说明原料和辅料经过粉碎过筛,达到要求细度后,按配方称取配料。
配制好的物料,根据需要混合制粒、干燥、整粒、总棍后,再压片、包衣、抛光,经检验合格,按规定包装,送入成品库房。
2 . 4 、合剂工艺流程说明原料和辅料按处方称量后,加入纯化水配制成药液,经力热煮沸、冷却、过滤后,再灌装和轧盖,经过蒸汽检漏、晾瓶、灯检、贴签,检验合格后,装箱送入成品库房。
2 . 5 、糖浆剂工艺流程说明将原料和辅料按处方称量后,加入纯化水配制成药液,经力热煮沸、冷却、过滤、调整浓度后,再灌装和轧盖,经过幻检、贴签,检验合格后,装箱送入成品库房。
创作时间:二零二一年六月三十日
罕见药品生产典范工艺流程框图之马矢奏春创作
药品生产对环境的洁净品级要求与药品的品种、剂型和生产特点有关.罕见药品生产的典范工艺流程及环境区域划分如图11至图19.
图11 非无菌原料药精制、干燥、包装工艺流程框图及环境区域
划分
图12 无菌原料药精制、干燥、包装工艺流程框图及环境区域划
分
图13 片剂生产工艺流程框图及环境区域划分
图14 硬胶囊剂生产工艺流程框图及环境区域划分图15 压制法软胶囊剂生产工艺流程框图及环境区域划分
图16 可灭菌小容量注射剂生产工艺流程框图及环境区域划分图17 可灭菌年夜容量注射剂生产工艺流程框图及环境区域划分图18 注射用无菌分装产物生产工艺流程框图及环境区域划分图19 注射用冷冻干燥制品生产工艺流程框图及环境区域划分
创作时间:二零二一年六月三十日。
第四章固体制剂-1〔散剂、颗粒剂、片剂、片剂的包衣〕固体制剂常用的固体制剂包括:散剂、颗粒剂、片剂、胶囊剂、滴丸剂、膜剂等固体制剂的共性:〔1〕物理、化学稳定性比液体制剂好,生产制造本钞票较低,服用与携带方便;〔2〕制备过程前处理的单元操作经历相同;〔3〕药物在体内首先溶解后才能透过生理膜,被汲取进血。
固体剂型的制备工艺流程图关于固体制剂来讲药物需溶解后才能被胃肠道所汲取,特殊是对一些口服制剂汲取的快慢顺序:溶液剂>混悬剂>散剂>颗粒剂>胶囊剂>片剂>丸剂三、Noyes-Whitney方程●药物溶出速度可用Noyes-Whitney方程描述:dC/dt=KS(C S-C)K=D/Vδ式中:K-溶出速度常数S-溶出界面面积D-药物的扩散系数CS-药物的溶解度δ-扩散边界层厚C-药物的浓度V-溶出介质的量改善药物溶出速度的措施:〔1〕增大药物的溶出面积〔粉碎,崩解〕〔2〕增大溶解速度常数〔加强搅拌〕〔3〕提高药物的溶解度〔提高温度,改变晶型,制成固体分散物等〕粉碎技术、药物的固体分散技术、药物的包合技术等能够有效地提高药物的溶解度或溶出外表积。
关于难溶性药物提高溶出度的有效方法是:第二节散剂●散剂〔Powders〕系指一种或数种药物均匀混合而制成的粉末状制剂,可外用也可内服。
特点:①粉碎程度大,比外表积大、易于分散、起效快;②外用覆盖面积大,能够同时发扬保卫和收敛等作用;③贮存、运输、携带对比方便;④制备工艺简单,剂量易于操纵,便于婴幼儿服用。
此外还有飞散性、附着性、团聚性、吸湿性等特点散剂的制备物料前处理→粉碎→过筛→混合→分剂量→质量检查→包装储存●固体药物的粉碎是将大块物料借助机械力破裂成适宜大小的颗粒或细粉的操作。
●粉碎度或粉碎比〔n〕n=D1/D2D1粉碎前的粒度D2粉碎后的粒度粉碎操作的意义:●有利于提高难溶性药物的溶出速度以及生物利用度;●有利于各成分的混合均匀;●有利于提高固体药物在液体、半固体、气体中的分散度;●有助于从天然药物中提取有效成分等。
各制剂工艺流程图1 、片剂生产工艺流程图2、颗粒剂生产工艺流程图3、胶囊剂生产工艺流程图4、合剂生产工艺流程图2 、工艺流程说明2 . 1 、前处理工艺流程说明外购的药材经过挑、选、检、去杂质及非药用部位后,川选药机或不绣钢洗药池,将药材上的泥土、灰尘洗净,根据不同品种的要求湿润,以达到提取、榨油、细粉的标准。
用J 六提取的药材,采取切割的方法切片,后经多层带式}气燥机干燥,中药粉碎机粉碎,筛分得到合格粒度的药材,送到净药库。
用J 屯榨油的药材,经多层带式干燥机干燥后,直接送去榨汕。
榨油前,按配方要求混合,用中药粉碎机粗碎,经蒸汽湿润后进入螺旋榨油机榨油,榨出的油经过过滤,再送到综合伟lJ 剂车间。
用一于细粉的药材切片,经多层带式十燥机十燥后,送到双扇灭菌柜灭菌,再用高效粉碎机组和震荡筛粉碎,筛分合格后包装,转入综合制剂车间。
2 . 2 、热回流提取工艺流程说明来自净药库的药材,按配方配料,加入乙醇,用热回流抽提机组进行第·次醉提,过滤后剩余的药渣,加上辅料,再进行次水提,使有效成分尽量提出。
醇体液静置后过滤,除去杂质,减压浓缩,回收乙醉,并得到醇提浸膏。
水提液静置后过滤,除去杂质,减压浓缩,并得到水提浸膏。
将醇提浸膏与水提浸膏混合,采用可倾式反应锅浓缩,得到稠浸膏,用周转桶送到综合制剂车间。
2 .3 、片剂工艺流程说明原料和辅料经过粉碎过筛,达到要求细度后,按配方称取配料。
配制好的物料,根据需要混合制粒、干燥、整粒、总棍后,再压片、包衣、抛光,经检验合格,按规定包装,送入成品库房。
2 . 4 、合剂工艺流程说明原料和辅料按处方称量后,加入纯化水配制成药液,经力热煮沸、冷却、过滤后,再灌装和轧盖,经过蒸汽检漏、晾瓶、灯检、贴签,检验合格后,装箱送入成品库房。
2 . 5 、糖浆剂工艺流程说明将原料和辅料按处方称量后,加入纯化水配制成药液,经力热煮沸、冷却、过滤、调整浓度后,再灌装和轧盖,经过幻检、贴签,检验合格后,装箱送入成品库房。
常见药品生产典型工艺流程框图药品生产对环境的洁净等级要求与药品的品种、剂型和生产特点有关。
常见药品生产的典型工艺流程及环境区域划分如图1-1至图1-9。
图1-1 非无菌原料药精制、干燥、包装工艺流程框图及环境区域划分图1-2 无菌原料药精制、干燥、包装工艺流程框图及环境区域划分图1-3 片剂生产工艺流程框图及环境区域划分图1-4 硬胶囊剂生产工艺流程框图及环境区域划分图1-5 压制法软胶囊剂生产工艺流程框图及环境区域划分图1-6 可灭菌小容量注射剂生产工艺流程框图及环境区域划分图1-7 可灭菌大容量注射剂生产工艺流程框图及环境区域划分图1-8 注射用无菌分装产品生产工艺流程框图及环境区域划分图1-9 注射用冷冻干燥制品生产工艺流程框图及环境区域划分中考必考文学常识汇总1、鲁迅(1881--1936)原名周树人,字豫才,浙江绍兴人。
是我国现代伟大的文学家、思想家、革命家,中国无产阶级现代文化的奠基人。
1918年5月在《新青年》上发表《狂人日记》,著名短篇小说《呐喊》、《彷徨》,散文集《朝花夕拾》,散文诗集《野草》,杂文记《而已集》、《二心集》、《三闲集》等。
《朝花夕拾》是鲁讯写于1926年2月间的散文集,共10篇。
《故乡》选自小说集《呐喊》;课文《从百草园到三味书屋》就选自《朝花夕拾》;课文《雪》选自《野草》(《鲁讯全集》第2卷);《阿Q正传》是现代文学史上的杰作。
2、胡适(1891-1962) 原名胡洪骍,字适之,安徽绩溪人,现代作家、学者、教育家。
是中国现代文化的奠基人之一。
著有《胡适文存》、《中国哲学史大纲》、《白话文学史》、《胡适文集》、《胡适作品集》等。
3、郭沫若(1892--1978)原名郭开贞,沫若为笔名。
四川乐山人。
现代诗人、剧作家、历史学家、考古学家、古文学家、社会活动家。
主要文学作品有“诗集《女神》、《星空》、《蔡文姬》等。
《天上的街市》《净夜》选自《郭沫若全集》。
4、巴金:1904年生,原名李尧棠,字芾甘,男,四川成都人。