环保管理措施图文稿
- 格式:docx
- 大小:266.70 KB
- 文档页数:3
环境保护管理体系图
环境保护、水土保持体系
技术方案、措施保证
检查保证
思想保证
项目部每月一次检查
队每周一次检查 严格按设计和环保要求实施
对特殊工种制定强有力防范措施
按国家和地方相关部门法规规定办事
环保 部门 日常 监督
项 目 部 定 期 检 查
工班每日一次检查 班组每工序检查,材料、运渣车每辆检查
对施工现场环境和道路卫生有破坏、污染和水土保持工作未作到的逐一落实解决
项目经理部环保、水保
工作领导小组
用科学、合理的技术措施、方案来保证环境保护和水土保持目标的实现
综合办公室
专职环保检查员
队环保、水保领导小组 义务检查员
班组长 开展环境保护、水土保持周
制定科学合理的方案施工现场布局合理采用有效措施确保运输车辆不污染道路卫生、施工废水不影响水土流失
普 及 教 育
专
业 教 育
特 殊 工 种 教 育
法 制 法 规 教 育
强化环保意识 增强预防能力
保护施工现场环境及临时住地、既有道路卫生
组织保证。
环境保护管理体系及措施环境保护管理体系及措施根据GB/T__《环境管理体系规范及使用指南》(ISO__)及OHSMS__《职业卫生安全管理体系标准》,我公司编制的《环境和职业安全卫生管理手册》及相关程序文件,本工程将严格按相关要求管理施工,确保文明施工、环境保护等各项目标的实现1 环境保护目标该项目进场施工后,坚持资源的高效利用为核心,以环保优先为原则的指导思想,追求高效、低耗、环保,统筹兼顾,实现经济、社会、环保(生态)综合效益最大化的绿色施工模式。
绿色施工目标见表1所示。
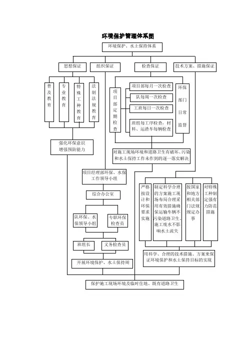
表1 环境保护目标环境保护管理体系见图2所示。
图2 环境保护管理体系3 环境保护措施1 大气污染控制措施1)我公司应遵守政府有关主管部门对环境保护的管理规定。
2)严格控制施工现场的粉尘、消除大气污染,及时邀请各职能部门来我公司施工现场监督检查,凡能解决和克服的必须立即解决。
执行国家、地方、行业有关环保的法律、法规、及现场的管理制度。
3)粉尘较多的分项工程,单独围护施工,施工时尽力减少粉尘污染,减轻对人身健康的危害,更要避免影响周边环境,造成环境污染。
4)针对粉尘污染对人体的危害性,我公司将严格要求施工人员在施工期间必须带口罩,手套,并注意保持空气的流通。
5)禁止使用易挥发、易对人、环境造成污染有害的化工原料和放射性材料。
6)工地使用油漆等国家允许使用的符合环保规定的化工原料,施工中要妥善保管,垃圾要按规定处理。
7)水泥和其它易飞扬的细颗粒散体材料应尽量安排库内存放。
露天存放时要严密遮盖,运输和卸运时防止遗洒飞扬,以减少扬尘。
2 水污染控制措施1)排放的废水要排入沉淀池内,经二次沉淀后,方可排入市政污水管线或回收用于洒水降尘。
2)处理的泥浆水,严禁直接排入城市排水设施。
3)施工现场要设置专用的油漆油料库,库内严禁放置其它物资,库房地面和墙面要做防渗漏的特殊处理,储存、使用和保管要专人负责,防止油料的跑、冒、滴、漏、污染水体。
4)禁止将有毒有害废弃物用作土方回填,以免污染地下水和环境。
环境保护管理体系与措施通过我公司在以往工程施工中的实践及经验,充分认识到文明施工在项目管理中的重要作用。
在本工程施工中,我们将严格贯彻执行国家有关文明施工、环境保护的标准、规范,接受业主及监理工程师的指导、监督,切实把建设项目的文明施工、环境保护与主体工程建设紧密结合,把环境保护和文明施工措施落到实处。
一、环境保护措施我公司标段合同工程施工中,将坚持“保护和改善环境”的方针,坚决执行国家环境保护的三大基本政策:“预防为主”“谁污染谁治理”“强化环境管理”。
实施“三同时”制度,注重“预防为主”的原则,推行清洁生产技术和清洁生产,成立环境保护领导与实施机构,并建立环保专项资金。
(一)、环境保护制度保证1、为保证本项目的施工环保,项目经理部由项目经理组织编制《环境保护管理条例及实施细则》并严格执行。
2、坚持监督、检查制度项目部环保小组专职人员,对各工区的环保设施、措施执行情况,每日进行巡视、检查,并做好巡视日记,发现问题,及时初具“环保通知书”,提醒注意或责令整改;每月进行一次大检查,严格按照《管理条例》进行处理。
^3、严格“三同时制度”在工程施工过程中,将防治环境污染和生态破坏的设施,与主体工程同时设计、同时施工、同时投产和使用的环境保护管理制度。
4、加强开工前教育,通过专题会议和生产例会,对全体职工进行环保教育,提高环保意识,做到动工前明确化,施工过程中管理制度化、标准化,环境保护实施具体化。
(二)、环境保护措施1、原有管线保护方案及措施为避免在施工过程中破坏原有地下管线,我司将采取如下保护方案及措施:(1)首先利用地质雷达探测出地下原有管线的位置和高程,在现场用木桩或灰线标识清楚,并绘制管线分布图,为日后管线恢复提供技术支持。
(2)在沟槽开挖至地下管线附近时,则停止机械开挖,采用人工开挖,并对开挖出的管线及时进行支护和保护。
-(3)由于部分排水管正处于沟槽开挖区域,对此部分管道,我司将先予以拆除,并进行妥善保管,待管道安装完毕和回填至管基底时,再按照原设计要求进行恢复。
《环境保护管理制度和措施》环境管理制度一、总则二、组织机构和职责三、环保宣传教育四、办公区域环境管理五、采购管理六、施工噪声管理七、易燃易爆物及化学品管理八、固体废弃物管理九、能源、资源管理十、污水排放管理十一、施工扬尘管理十二、有毒有害气体控制十三、环境因素识别、评价十四、环境经费计划管理十五、监督检查十六、事故报告与调查处理十七、奖励处罚目录一、总则1、为贯彻落实《中华人民共和国环境保》,减少或防止对自然环境的破坏和污染,保护和改善环境,满足环境保护方面法律法规的要求,特制定。
2、环境保护管理的依据是。
国家、行业及地方的有关法律、法规、标准;上级的有关规定;设计文件。
3、环境保护工作遵循“预防为主,防治结合”、“谁污染谁治理”、“强化过程控制”的原则,实施“纵到底,横到边”的管理体系。
二、组织机构和职责1、在公司总工领导下成立生产技术部,设立一名专职环境岗位,具体负责施工中环境保护的日常管理工作。
2、公司总工职责。
负责环境保护领导工作;制定环境保护方针和目标、指标;审批环境保护管理制度;对重大污染源的治理方案进行研究,做出决定;评估环境保护整体状况;保证环境保护资源配置;对环境保护做出显著成绩和贡献的员工做出表彰奖励决定;负责确定有关人员配合政府主管部门调查、处理环境事故。
生产技术部通报我公司环境保护工作的情况,分析研究重要环境因素的控制效果,并做出进一步改进环境保护工作决定与要求,制定下一年度环境保护工作的重点和目标、指标。
3、生产技术部负责传达贯彻国家及地方政府相关的法律、法规和上级的有关规章制度,负责环境保护管理制度的起草修订,并指导实施,监督检查治理方案的执行情况,参加重大环境保护事件调查。
4、各职能部门根据各自工作职责范围,收集国家、地方政府、行业环境保护的信息及行业标准,并负责贯彻落实,针对特殊施工环境、关键过程、特种作业设备对环境保护的影响,制定与环境保护有关的管理制度、控制措施,并指导实施及检查落实情况同时做好记录。
环境保护管理体系与措施环境保护是我国的一项基本国策,针对本工程自然地理环境特点,施工现场环保工作,应严格按照《环境保护法》的要求,重点考虑,全面规划,因地制宜,积极维护当地自然环境和居民的生活劳动环境,最大限度地减少施工对自然生态的破坏,保护环境,本工程地处即有居民小区,环境保护要求较高,因此在工程施工中对环境保护提出了更高的要求。
在施工时制定专项环境保护措施,做到全面规划,合理布局,切实作足作好环境保护,为工程修建一条绿色环保通道。
第一节环境保护措施制定指导思想在本工程的施工全过程中,我们将全面运行ISO14000环境保护体系标准,系统的采用和实施一系列环境保护管理手段,以期得到最优化的结果。
我们在建设施工的全过程中,根据客观存在的粉尘、污水、噪声和固体废物等环境因素,实施全过程污染预防控制,尽可能的减少或防止不利的环境影响。
预防为主,加强宣传,全面规划,合理布局,改进工艺,节约资源,为企业争取最佳经济效益和环境效益。
第二节环境保护目标环境保护目标:确保国家、地方有关环保法律法规标准和业主的要求得到有效识别和贯彻执行。
环境方针:遵纪守法,提高素质;健全制度,加强预防和报告;强化教育,持续改进。
改善工作环境,提高职工满意度。
第三节环境保护保证体系1、建立健全环境保护管理机构项目全面环境管理领导小组组长:项目经理副组长:总工程师、技术负责人、成员:质检员、施工员、各班组组长2、建立健全环境保护保证体系制定环境保护制度,加强环境保护基础工作,加强监督检查,落实各项工作责任制,形成环境保护保证体系,实现环保目标。
环境保护见下图环保体系图第四节环境保护技术措施结合本工程情况,明确本工程环保工作的要点后,项目部将采取如下环境保护措施:1、有害物质的存放和处理(1)施工剩余的橡胶、塑料、沥青、油毡等下脚料,要统一回收作废旧物资处理,不得焚烧、掩埋,不得与土渣等建筑垃圾混在一起丢弃。
(2)汽油、机油、香蕉水、油漆等易燃、易爆、易挥发的材料,要妥善保管,防止泄漏、外流,对环境造成污染。
***********公司环境管理制度及措施第一章目的第一条为了保护公司生活和生产环境,防治污染,保障职工身体健康,确保全面完成污染减排指标,实施可持续发展战略并逐步实现清洁生产,特制定本制度。
第二章适用范围第二条 **公司范围内的办公、生活区及施工现场。
第三章职责第三条总经理是公司最高管理者,是公司环境保护工作的第一责任人,应认真遵守国家环保法律法规和方针、政策,加强环境保护和污染防治工作,把环境保护工作列入公司重要议事日程,不定期召开公司级会议,解决有关环境保护的重大问题,并对本制度的贯彻落实负领导责任。
第四条公司领导实行环境保护“一把手”负责制,对本单位环境保护工作负责,制定环境保护目标,并进行内部考核。
组织本单位职工专业技能培训,确保职工按照岗位操作规程进行操作,避免因错误或习惯性操作引发污染事故。
第五条公司建立适应企业发展需要的、健全的环境保护管理体系和从事环境保护工作的专业队伍,建立健全环境保护制度。
第六条公司安全科负责具体贯彻实施国家有关环保法律、法规、方针和政策,配合工程科推进公司清洁生产工作,对公司环境保护工作实施统一监督管理,对各劳务班组生产环境进行考核,负责组织对生产环境事故的调查。
第七条各劳务班组组织生产过程中,必须将保护环境放在重要位置,确保环保设施与生产设施同步运行,并对生产过程中的污染环境事件负责。
第八条各班组在施工过程中排放废水及建筑垃圾时,应避免发生污染环境事故。
第四章管理第九条公司各班组要重视环境保护、节能减排方面知识的宣传教育,提高职工的环境保护意识。
安全科负责编制环保培训教材,定期对职工进行培训。
第十条安全科对公司及施工现场环境状况和环境保护工作进行统计调查,并汇总上报公司领导。
第十一条公司各班组现场生产工序应积极采用清洁生产工艺,努力实现废物综合利用。
第十二条加强污水处理设施的管理,同时加强节水管理,避免浪费水资源现象。
固体废弃物及建筑垃圾应积极回收利用,禁止乱排乱堆现象,杜绝污染环境事故。
环保管理措施
集团文件版本号:(M928-T898-M248-WU2669-I2896-DQ586-M1988)
环保管理措施
我公司将严格按照ISO14001环保标准实施现场管理。
施工现场严格执行与文明施工和环境保护相关的法律、、性文件和标准。
为此我们制定环保管理措施如下;
2.1.控制施工场地的噪声污染
1) 建立环境保护领导体系,分工明确,划分环境保护责任区,落实到人,管理必须到位。
2) 对新入场参施人员进行环境保护教育,并针对季节性的不同变化进行相应的环境保护教育。
3) 施工现场水泥、白灰、渣土等易飞扬的颗粒材料,散体材料必须进行覆盖。
4) 现场设冲洗池,带泥、土车辆出入必须冲洗,避免道路遗撒。
5) 施工现场采用低噪声设备,严禁野蛮施工,必须严格控制噪声,以防施工扰民。
6) 施工现场油料存放设专库,库内必须采取防渗漏措施
2.2 严格控制粉尘排放
本工程临近正在运营的机场跑道,为了保证飞机运行安全和减少环境污染,必须严格控制粉尘飘扬,其控制措施如下:
1)施工场地派专人洒水降尘。
2)施工期间作业面采用排风吸尘器吸尘。
3)楼上垃圾分类袋装好后应尽可能集中临时堆放在楼梯间的房间内,并在每天晚上规定时间运至现场垃圾池,定期对各种垃圾及时按有关规定清运到场外垃圾场。
4)对易起尘砂裸露的砂堆、水泥等,活完后必须用苫布覆盖。
2.3 严格控制固体废弃物及污水的排放
1)废旧材料及回收利用。
2)防止不合格材料进场。
3)加强质量控制,并严格制定执行成品保护措施,以免造成不必要的返工修补产生固体废弃物。
4)清洗机械排出的污水要有排放措施,不得随地流淌。
2.4 严格控制烟气污染
现场不得焚烧产生有毒、有害、烟尘等有害健康的物资。
对有毒、有害废弃物要本着"减量化、无害化、回用化"三化原则处理固体废弃物,贯彻公司环境方针,实现固废控制目标、指标。
及时回收,并集中按《固体废弃物排放控制作业指导书》有关规定处理。
2.5 尽量减少社会影响
为了确保周边的生活、工作秩序不受影响,应加强垂直水平运输组织管理。
具体应根据施工进度计划制订详细的材料进场计划;严格控制材料进场时间,以减轻垂直水平运输及堆放场地紧张的压力;此外,垃圾及材料运输应尽可能安排在晚上规定时间进行,并注意"活完脚下清"。