设计管理制度汇编(附流程图及附表)
- 格式:doc
- 大小:53.65 KB
- 文档页数:33
设计管理制度的流程图与角色职责在一个组织或企业中,高效的管理制度是其成功与发展的重要支撑。
设计管理制度的流程图与明确角色的职责可以帮助组织形成明确的工作流程,明确责任,提高工作效率。
本文将从制度设计的步骤、流程图的制作、角色职责的明确等方面展开回答。
一、制度设计的步骤制度设计是一个需要经过详细思考与规划的过程,下面是一个典型的制度设计步骤的示例:1.明确目标和需求:首先要明确制度设计的目标和所需要解决的问题。
通过调研和分析,确定制度应涵盖的范围和关联的流程。
2.制定草案:根据目标和需求,制定初步的设计草案。
草案应包含制度的基本框架、流程步骤和相关角色。
3.讨论与反馈:将草案与涉及的相关人员进行讨论,听取不同意见和建议。
这有助于更好地发现问题,并提供更全面和有效的解决方案。
4.制度改进:根据讨论和反馈的结果,对草案进行修改和完善。
确保制度设计能够满足组织的实际需求和实施过程中的各种挑战。
5.审批与批准:最终的制度草案需要得到上级领导或相关部门的批准。
他们会根据企业或组织的整体战略和目标来评估制度设计的合理性和可行性。
二、流程图的制作流程图是制度设计中的重要工具,可以清晰地表达工作流程和各个环节之间的关系。
制作流程图时,应注意以下几点:1.明确流程起点和终点:确定流程的开始和结束,以便清楚地标示出工作流程的边界。
2.绘制流程步骤:根据制度设计草案中确定的步骤,将每个步骤图形化表示出来。
可以使用符号、文字等方式来贴合实际工作情境。
3.添加流程连接线:将各个步骤按照前后关系连接起来,形成流程图的主线。
4.标示决策点和条件分支:如果在流程中存在决策点和条件分支,应使用适当的符号和文字来表示,使流程图更加清晰易懂。
5.审查与完善:制作完成后,应对流程图进行审查,并征求相关人员的反馈。
根据反馈,对流程图进行修改和完善,确保其能准确地反映出实际工作流程。
三、角色职责的明确在制度中,不同的角色承担着不同的职责。
明确角色的职责可以帮助各个角色在工作中更好地配合和协作。
设计管理制度目录岗位职责及任职要求(文件编号:Q/JXY-C01-2013)0 引言本规定的目的是为了明确本公司各级生产管理体系的岗位职责及项目组人员的任职要求。
1 围本规定适用于公司专业室的组织机构形式。
2 规性引用文件下列文件中的条款通过本标准的引用而成为本标准的条款。
凡是注日期的引用文件,其随后所有的修改单或修订版均不适用于本标准,然而,鼓励根据本标准达成协议的各方研究是否可使用这些文件的最新版本。
凡是不注日期的引用文件,其最新版本适用于本标准。
Q/JXY-A01-2013 《管理手册》3公司级管理人员职责3.1 总经理1) 批准发布管理方针、管理目标和管理手册,采取措施使全体职工理解并贯彻执行;2) 委任管理者代表,指派相应级别的有关管理人员,明确其职责和权限;3) 主持管理评审,确保管理体系持续的适宜性、充分性和有效性;4) 对管理体系的组织结构和资源配置做出决策;5)为质量、环境、职业健康安全第一责任人;6) 负责组织公司质量、环境、职业健康安全事故的调查、处理。
副总经理及各科室主任协助总经理工作,对分管工作负责。
3.2 总工程师1) 贯彻管理方针,实现管理目标,执行管理体系文件的各项规定;2) 决定设计的主要技术原则和方案(包括环境和职业健康安全措施),按规定签署设计文件;3) 负责组织对重大不合格品的评审、处置,主持设计质量事故的分析处理;4) 负责本公司技术资源开发和人员培训工作;5) 组织编制公司年度质量工作计划和年度质量工作总结,报总经理批准;6) 组织学习新标准规并贯彻执行。
7)领导开展科技活动,推动本公司的学术工作。
4 技术质量管理人员职责4.1 综合办公室主任1) 在总经理和总工程师领导下,负责组织协调、督促检查本公司的质量、环境和职业健康安全管理工作。
2) 在总经理主持下组织制订公司管理方针和管理目标,组织编制公司管理体系文件,并组织实施,检查管理体系执行情况并组织考核和奖罚。
设计管理制度和流程轨道工程事业部设计部1目录第一章总则 .............................................1.1目的 ............................................................. 1.2职责 .............................................................第二章设计招标管理 .....................................2. 1设计招标原则2.2招标程序和内容 (2)2.2.1设计计划 (2)2. 2.2设计任务书 (2)2.2.2.1方案设计任务书 (2)2. 2. 2. 2初步设计说明 (2)2.2. 2. 3扩初设计说明 (2)2. 2.3招标邀请函 (2)2. 2.4设计单位推荐 (2)2.2.5设计单位初选 (2)2. 2.6 发标 (2)2. 2.7 评标 (3)2. 2.8 签约 (3)第三章设计过程控制管理3. 1工程设计计划 (3)3.2设计过程跟踪控制 (3)3. 3设计评审 (4)3. 3.1方案设计审査 (4)1.3 适用范3. 3.2初步设计审查 (4)3. 3.3扩初设计审査 (4)3. 3.4施工图设计审査3.4设计输出文件的审査与验收 ..........................................3. 7文件归档 3.8附表3.&1《工程项目设计任务》 ........................................3. 8.2《设计任务修改审批表》 (6)3. 8.3《设计跟踪检査记录单》 (7)3.&4《设计输出文件审査表》 (8)3・&5《施工组织设计报审表》 (9)3・&6《工程施工进度计划表》 (9)3・&7《进度调整计划审批表》 (10)章 设计变更管理流程 (11)4.1概述 (11)4.1.1 目的 (11)4.1.2适用范围 (11)4.1.3 定义 (11)4.1.4 原则 (11)4.2设计变更分类 (11)4. 2.1使用单位原因 (11)4. 2.2施工单位原因 (11)4. 2.3设计单位原因 (11)4. 2.4公司领导要求 (11)4. 3设计变更流程 ................................................... 12 3. 5设计控制总结3. 6工法审核 .........................................................564. 3.1设计变更提出阶段 (12)4. 3. 2设计变更审批阶段 (12)4. 3. 3设计变更的实施阶段 (12)4.4附表 (12)4.4.1《设计变更审批单》 (12)4.4.2《设计变更通知单》 (14)第五章施工图管理 第六章设计图纸自审制度 第七章新技术研究7.1轨道技术研究 7. 2工法的研究与开发 7. 3 BIM 研究 第八章设计管理工作流程& 1设计管理流程8.1.1设计招标管理工作流程 (16)8.1・2总体设计管理工作流程 ................................... 18 8.1.3初步设计管理工作流程 ..................................... 19 8.1.4施工图设计管理工作流程 .. (20)设计审査流程 8. 2.1总体设计、总体技术标准和技术要求审査工作流程 (21)8. 2.2初步设计审查工作流程 (22)8. 2.3重大技术方案审査工作流程 (23)8.2.4施工图审査及会审工作流程 (23)& 3设计变更流程 (24)& 4工法审核流程 (25)15151616 16 161616 21第一章总则1・1目的(1)加强公司云轨项目的设计管理工作,规范项目建设过程中设计管理人员的匸作职贞、工作内容和工作程序,提高项目技术质量和设计管理水平,建立技术管理体系。
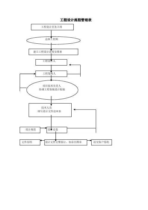
工程设计流程管理表施工技术方案1 施工实施程序根据监控系统工程的施工特点,施工程序可分为施工准备阶段、施工安装阶段、施工测试阶段、系统竣工验收阶段。
1.1 施工准备阶段这一阶段主要做各种施工准备工作,内容主要包括:对图纸的深化设计、熟悉施工现场,编制工程实施总体方案,其中含有:各子系统相应的施工进度计划、工程劳动力需要量计划、设备材料进出场计划等,并采购材料,安排劳动力逐步进场,实施培训。
为下一步工程实施做好人力、物力、资料等各方面的准备工作。
1.2 施工安装阶段各系统施工工作铺开,进入安装高峰期。
施工人员、机具、材料进场,各方面的措施都能满足施工要求,现场方面环境、交叉施工过程中要在规范化管理的基础上采用总体项目并行施工,各子系统流水作业,结合现场实际情况,最大限度地合理利用劳动力资源。
1.3 施工测试阶段根据要求进行系统布线测试的工作,并每日做好测试记录。
保证将来有据可查。
为一次验收合格、创优良工程创造条件。
1.4 系统竣工验收阶段经自检合格后,整理好工程竣工验收资料,报甲方验收。
验收完毕后,做好工程竣工资料的制作,将完整的竣工资料交付业主使用。
2 现场配合和协调2.1 与甲方的协调配合1.企业依存于顾客,我公司在整个智能化系统工程实施过程中,始终把理解顾客当前和未来的需求,满足顾客要求并争取超越顾客期望为服务宗旨。
在工程实施过程中与建设单位紧密配合。
2.指派负责人在施工现场,听取建设单位指令、意见、并认真执行。
3.及时交流信息,紧密配合建设单位在工程实施过程中一切活动。
4.认真对待建设单位的需求变化,并积极协商解决办法,最大限度的满足顾客需求,不贻误施工时机。
5.及时向建设单位通报施工中出现的问题和乙方需求,并通过协商寻求解决办法。
2.2 与建筑设计单位的协调配合1.指派一名技术负责人作为与相关设计单位的联系接口。
2.在图纸会审时,应充分了解土建、设备安装图纸,提出图纸中的疑点,以及工程实施中的不适之处,寻求解决办法。
设计院管理制度及流程表一、总则1.1 本管理制度适用于设计院内部所有员工,包括管理人员和基层员工。
1.2 设计院的管理目标是实现优质高效的设计服务,满足客户需求,提升市场竞争力。
1.3 设计院将建立健全的管理制度和流程,确保每位员工都能按照规定的程序和标准进行工作。
1.4 设计院将严格执行管理制度,对违反规定的个人将依法追究责任。
二、管理机构2.1 设计院设立管理委员会,负责制定管理政策和规章制度,监督和检查各部门的工作。
2.2 设计院设立综合办公室,负责日常办公事务的协调和管理。
2.3 设计院设立设计部、市场部、工程部等专业部门,负责具体的设计、市场推广和工程管理工作。
2.4 设计院设立财务部、人力资源部等职能部门,负责财务管理和员工招聘等事务。
三、管理制度3.1 设计院实行目标管理制度,明确各部门的工作目标和责任,定期评估和调整。
3.2 设计院实行绩效考核制度,对员工的工作表现进行评估,奖惩分明。
3.3 设计院实行薪酬激励制度,根据员工的工作表现和贡献给予相应的薪资和福利。
3.4 设计院建立健全的培训体系,对员工进行定期的培训和技能提升。
3.5 设计院建立员工奖励制度,对优秀员工进行表彰和奖励。
四、管理流程4.1 设计院项目管理流程4.1.1 项目接收:设计院接受客户委托的项目,确认项目需求和要求。
4.1.2 项目分配:设计院根据项目特点和员工技能进行项目分配。
4.1.3 项目执行:设计师按照客户要求和设计标准进行设计工作。
4.1.4 项目复核:设计师完成设计后由领导进行项目复核,确认符合要求。
4.1.5 项目交付:设计成果提交给客户,确保客户满意。
4.2 设计院财务管理流程4.2.1 预算编制:财务部门根据设计院的运营需求编制年度预算。
4.2.2 资金管理:财务部门负责设计院的资金管理,确保资金安全。
4.2.3 成本控制:财务部门负责设计院成本控制工作,提高效益。
4.2.4 结算管理:财务部门对设计院的收入和支出进行结算和分析。
(流程管理)施工图设计流
程及表格
绘图规定
建筑施工图设计部工作流程图
与业主沟通信息表
-1)
工程名称:日期:年月日
施工图设计工作计划表(建筑-2)
设计修改任务单(建筑-3)
4、修改涉及专业:
5、专业负责人会签:
日期:
6、商定修改情况变化记:
记录人:日期:
注:1、本表由提出部门负责人填写,交部门经理归档。
2、修改情况变化时,应记录且通知部门经理及关联专业设计人签署认可。
3、本表作为年度产值统计依据。
注:1、归档日期应以设计文件通过审图公司后壹周内进行。
2、设计文件由设计人整理完善后交专业负责人审核,且由部门经理签字后交行政部保管。
3、该记录壹式俩份,壹份应粘贴于归楼的文件袋封面上,另壹份由部门经
理保管以便随时备查。
流程管理制度汇编模板一、总则1.1 为规范和优化企业内部运营流程,提升工作效率和服务质量,制定本《流程管理制度汇编》。
1.2 本制度适用于公司内部所有部门和岗位,凡涉及流程操作相关事宜均需遵守。
1.3 此制度为公司内部管理规范的重要组成部分,违反者将受到相应的处理。
二、流程管理制度2.1 流程设计与优化管理2.1.1 企业各项主要流程应进行设计与优化,确保流程合理、高效、可控。
2.1.2 流程设计与优化应充分考虑各环节的协同配合,避免流程中断和冗余。
2.1.3 对于优化后的流程,需进行验证和评估,确保实施效果符合预期。
2.2 流程规范执行管理2.2.1 每个部门负责人应定期审查部门内部流程执行情况,并及时纠正不当操作。
2.2.2 员工在执行流程时,需按照相应的操作规程进行,不得擅自修改或遗漏流程环节。
2.2.3 流程执行过程中如有异常情况,员工应及时上报,管理人员应积极协助解决。
2.3 流程监控与评估2.3.1 公司设立专门流程监控与评估组织机构,负责对各项流程的执行情况进行跟踪和评定。
2.3.2 监控评估结果应及时向部门负责人和管理层报告,便于及时调整和优化。
2.3.3 针对流程执行效果较差的部门或环节,应加强监控与评估,确保改进措施有效实施。
2.4 流程信息化管理2.4.1 公司应建立完善的流程信息化系统,实现流程自动化、智能化管理。
2.4.2 员工需接受相关流程信息化系统的培训,熟练操作系统,做到熟练掌握。
2.4.3 流程信息化系统管理员应定期更新和维护系统,确保系统正常运行。
三、流程管理制度执行3.1 公司组织相关部门负责人和员工进行流程管理制度培训,确保各方了解并遵守。
3.2 部门负责人应向员工宣传流程管理制度的重要性和操作规范,推动制度的有效执行。
3.3 管理层应定期对公司内部流程管理情况进行抽查和检查,确保制度执行无漏洞。
3.4 对于违反流程管理制度的人员,公司将按照相应纪律处分程序进行处理。
建筑施工图设计管理制度一、总则准确反应施工图设计的意图,为工程实施提供准确的设计依据。
二、适用范围本制度适用于XXXXXXXXXX有限公司。
三、职责(一)策划部负责提供市场调研报告、可行性研究报告、项目设计建议书。
(二)技术部负责施工图设计技术规范的控制,负责与设计单位进行有效的沟通。
(三)工程部负责对有关施工工艺要求、施工限制性进行评审。
(四)合约部负责提供施工图设计的经济性指标,并对施工图的经济性指标进行评审。
四、程序流程图:(一)设计输入1、技术部负责按审批通过的初设文件及图纸编制施工图设计任务书。
2、技术部负责提供勘察设计点位,协助现场勘察工作,工程部负责组织勘察设计单位进行勘察设计,并提供详勘勘察报告。
3、技术部组织设计任务书评审会议,参加人员包括:公司领导、技术、工程、合约、预算等部门负责人。
技术部负责完成评审结论,并按技术部负责人、公司领导的顺序,逐级确认。
4、技术部门负责人是该步骤的控制者,专业设计师和内业为协作者。
(二)施工图设计及跟踪1、签订施工图设计合同,该合同需经律师确认。
2、向设计供方提供基础设计资料,并在设计前与供方进行沟通。
3、进入设计阶段,技术部应定期了解设计进度,及时处理设计供方反馈意见,并形成记录。
必要时,可到供方所在地监督设计进展。
(三)施工图设计评审及修改1、施工图设计阶段产生阶段性成果或设计完成时,均应组织评审会议,评审前应检查供方阶段性成果的完整性和准确性。
2、评审由技术部负责组织。
参加人员应包括:供方设计人员、技术、工程、合约、预算等部门人员,技术部负责完成评审结论,并按技术部、预算部、合约部、工程部的顺序,依次确认。
3、按评审结论的要求,技术部应及时组织设计供方修改设计,直至达到评审要求。
4、对完成内部评审并修改完成的施工图设计成果,技术部应向发展部输出,并配合发展部开展施工图审查工作。
取得审批通过的施工图审查意见书是该步骤的重要目的。
(四)设计成果输出施工图设计成果必须经技术部门负责人同意,方可对外发布。
设计管理制度汇编(附流程图及) 附表.页 35 共页 2 第1.目的1.1.为强化集团公司房地产开发设计管理,促进项目设计管理标准化、规范化,提高设计管理水平,实现房地产最佳经营运作模式,获得最佳的投资效益。
1.2.设计管理应本着“统一规划、合理布局、因地制宜、综合开发、配套建设”的方针,做到“定位准确、设计创新、安全美观、环境协调”,充分发挥项目的社会效益、经济效益和环境效益。
1.3.规划设计管控的重点是“功能布局、面积指标、重大效果、成本控制”四大项内容。
1.4.集团房地产板块(地产事业部)的设计管理工作分为二级管理。
集团总部的设计管理部门为集团地产事业部规划设计部,集团所属城市公司的设计管理部门为设计管理部。
2.适用范围2.1.本办法适用于集团房地产板块,其他(多元化)产业板块中的涉及设计管理工作的参照本办法。
2.2.集团、城市公司,以及各合作控股公司必须遵守本管理办法。
3.职责界面3.1.集团地产事业部规划设计部:页 35 共页 2 第3.1.1.负责集团及城市公司所有项目的概念规划方案、建筑方案、园林景观方案、室内精装修方案、泛光照明方案的设计管理。
3.1.2.督导、配合城市公司完成专业报建图、初步设计、施工图设计以及相关专业顾问设计的设计管理以及现场技术支持工作。
3.1.3.负责集团产品线的研究和设计技术标准的制定。
3.1.4.协调各方开展工作,包括内部外部协调以及平行协调。
3.2.城市公司设计管理部职责:3.2.1.负责报建图、初步设计阶段、施工图阶段的设计管理以及现场技术管理工作。
3.2.2.参与城市公司项目的概念规划方案、建筑方案、园林景观方案、室内精装修方案、泛光照明方案的设计管理,根据项目所在地相关技术规范,提供专业意见。
3.2.3.配合集团产品线的研究和设计技术标准的制定。
4.制度内容4.1.概念规划设计管理4.1.1.为满足集团创新的经营模式需要,概念规划设计应在获得土地前开始。
4.1.2.项目的概念规划设计包括总体规划、概念规划,以及配合项目拓展、项目策划策划的相关方案等。
页 35 共页 3 第4.1.3.概念规划设计前由集团地产事业部需求部门按《项目建议书》及设计基础资料(包括地形图、用地边界图、用地面积、周边情况、拟开发用地规划限制条件、当地政府的政策导向及相关要求等),提出项目构成及总体构想。
4.1.4.规划设计部编制设计任务书并组织设计。
4.1.5.规划设计部按节点计划组织方案汇报、评审和修改审定。
4.1.6.最终概念规划设计成果报请集团总裁审批。
4.2.方案设计管理4.2.1.方案设计必须以集团审批确定的概念规划方案为依据。
4.2.2.方案设计阶段,规划设计部通过与限额设计指标的对比,从功能、效果、成本等方面对设计文件进行综合评审。
4.2.3.单体方案设计的评审侧重从建筑形态、使用功能要求、建筑装饰材料、结构形式及设备系统的选用等方面对各造价构成指标进行分析。
4.2.4.规划、建筑单体、交楼标准、外立面、景观、客户接待中心精装样板间方案设计由规划设计部组织集团地产事业部策划发展部、专业设计单位、城市公司相关部门进行评审。
4.2.5.设计方案由规划设计部组织会议审核确定,最终方案由规划设计部报集团地产事业部总监理、集团总裁审定。
4.2.7.复杂地基和特殊建筑的基础及上部结构页 35 共页 4 第方案、大型(复杂)非标设备系统选型方案,必要时由规划设计部组织专家进行评审确定。
4.2.8.方案评审过程中如发现设计方案的主要造价指标无法满足限额设计指标的需要,必须及时优化设计。
为满足一定功能、效果而导致必须突破限额设计指标的,必须报集团地产事业部总经理审批同意,批复文件应作为下阶段设计工作的依据。
4.2.9.方案设计经审核(评审)后,专业设计单位必须按评审意见进行修改。
复核无误后规划设计部应按合同约定对设计文件进行验收确认,作为下阶段设计以及设计费支付、结算的依据。
4.2.10.方案设计经集团总裁审批确认后,再提出的修改,应根据改动大小重新进行审批或备案。
4.3.报建图管理4.3.1.专业设计单位提供的各阶段、各专业报建图必须符合国家、地区的相关法律、法规和标准。
4.3.2.方案批复阶段的报建图设计由规划设计中心负责组织审核,由城市公司设计管理部向城市公司前期开发部提供符合报建技术要求的报建图纸。
4.3.3.工程规划许可证阶段的报建图(包括人防、消防、园林、交通等)由城市公司设计管理部负责向前期开发部提供符合报建技术要求的报建图纸。
4.3.4.报建图批复后,如果政府部门提出修改的,按如下程序管理:页 35 共页 5 第4.3.4.1.所作修改与原方案相比,对重要技术经济指标和外观效果影响较小的(如:设备用房,局部功能调整等),由开发部门报送主管领导及城市公司第一责任人批准后,设计管理部门委托专业设计单位进行修改。
4.3.4.2.所作修改与原方案相比,对重要技术经济指标和外观效果影响较大的(如:立面效果,户型,容积率,面积指标、层高等),经城市公司第一负责人确认,开发部门报集团总裁批准后,设计管理部门委托专业设计单位进行修改。
4.3.5.报建批复文件作为项目经营方案编制的依据之一。
4.3.6.经政府部门批复的报建图及文件,由城市公司开发部门送档案室归档,批文抄送规划设计部、城市公司设计管理部、营销策划部。
4.4.施工图设计管理4.4.1.专业设计单位完成的施工图,须满足国家和地方的相关法律、法规和标准的要求,同时符合合同规定的施工图深度要求、设计要求以及限额设计指标。
4.4.2.设计施工图由城市公司设计管理部组织各专业进行综合会审(内部评审),根据会审意见调整完的施工图必须经规划设计部确认后方可出图。
4.4.3.各专业设计方案、市政管线、基坑支护设计方案由城市公司设计管理部参与审核。
4.4.4.施工图(含二次深化设计)正式出图前由页 35 共页 6 第集团及城市公司成本部根据集团成本管理中心下发的施工图成本关键限额设计指标进行审核,审核后符合限额设计指标要求的才能正式发图。
4.4.5.施工图超出限额设计指标要求又确实无法优化的,经规划设计部各专业确认后,报规划设计部职能负责人、营销策划职能负责人、成本管理职能负责人、地产事业部总经理、集团主管副总裁和集团总裁最终审批同意方可正式发图。
4.4.6.施工图审核时应关注建筑、结构、水暖、电气、装修,景观各专业指标与限额设计指标的对比分析。
4.4.7.施工图正式出图必须加盖专业设计单位相关印章,并由城市公司设计管理部负责施工图的收发。
4.4.8.施工图电子文件由城市公司设计管理部负责按照规定的范围发放,电子文件必须只能查看,不能修改。
4.4.9.施工图必须进行施工图综合会审(技术交底)后才能用于施工,以减少各专业矛盾及工程变更,图纸会审由城市公司设计部组织相关部门进行,图纸会审记录经城市公司设计管理部专业工程师审批后报规划设计中心备案。
根据会审意见由专业设计单位修改(补充)设计文件,并经规划设计部审核确认后下发,作为施工图的补充,此部分内容不作为签证依据。
4.5.设计变更、工程洽商管理4.5.1.设计管理部门对设计变更要严格控制,原页 35 共页 7 第则上争取不变更,尽量少变更,严控大变更。
无论哪个部门在进行设计变更时该部门4.5.2.都应了解现场的材料进场及施工情况,并在《设变更原因、计变更审批表》中列明现场施工状况、费用增减情况及已购材料如何处理等内容:.由于设计原因引起的设计变更,增加4.5.2.1万元以下的由城市公司设(减少)工程成本在万计管理部负责审核,由城市公司总经理审批;元以上的由规划设计部职能负责人负责审批;.由于销售原因而引起的工程变更,增4.5.2.2万元(由城市公司和集加(减少)工程成本在团各个中心各自填写)以下的由城市公司营销部万元负责审核,由城市公司总经理审批;(由城市公司和集团各个中心各自填写)以上的由集团营销策划职能负责人负责审批;.由于施工单位原因引起的工程变更,4.5.2.3增加(减少)工程成本在万元(由城市公司和集团各个中心各自填写)以下的由城市公司工程部负责审核,由城市公司总经理审批;万元(由城市公司和集团各个中心各自填写)以上的由集团工程管理职能负责人负责审批;4.5.2.4.经审批后的设计变更由城市公司设计管理部通知专业设计单位出图,并报规划设计部备案。
4.5.3.由于设计变更导致销售面积发生改变而影响到销售合同的,城市公司设计管理部须书面通知城市公司营销策划部和客户服务部。
页 35 共页 8 第4.5.4.城市公司设计管理部必须建立设计变更台帐,并根据授权分类进行统计。
4.6.材料定板及设备选型4.6.1.施工图设计开始后,进行材料定板及设备选型工作。
4.6.2.专业设计单位应提供设计的主要材料样板和主要材料表,不得在施工图纸中标明生产厂家及品牌。
4.6.3.材料定板和设备选型由城市公司设计管理部负责组织相关部门评审,影响效果的材料及重要设备必须由规划设计部、发展策划部和成本管理部审核,由规划设计部职能负责人审定。
4.6.4.主要装饰材料必须限定品牌范围或提供材料样板、技术标准,城市公司会同规划设计部、发展策划部、成本管理部讨论后由总裁批准。
4.6.5.材料、设备选用必须以“安全、合理、经济”为原则,以“价廉物美”为标准进行选用,避免材料、设备选用不合理造成的浪费。
4.6.6.原则上主要的材料、设备应在集团、地区年度中标产品中选用。
4.6.7.设计选板应在满足使用要求和装饰效果的同时,考虑建筑成本方面的承受能力,不能超出限额设计。
4.6.8.集团层面参与选定的材料样板由集团分管设计负责人或城市公司设计管理部负责人背面签名确认(含日期)后,由城市公司管理存档。
4.6.9.招标完成后,不能随意变更材料、设备,页 35 共页 9 第如因特殊情况确实需要变更的,须经城市公司第一负责人和成本管理部、规划设计部批准。
4.7.客户接待中心的设计管理4.7.1.客户接待中心方案由规划设计部负责,施工图设计管理由城市公司设计管理部负责。
4.7.2.客户接待中心包括销售接待区、客户体验区、样板间展示区。
4.7.3.由城市公司营销策划部提出立项,并提供《项目定位书》。
4.7.4.客户接待中心设计应该包含建筑设计、装修设计、软装设计、示范区景观设计及销售包装等,必须按照集团下发的客户接待中心限额设计指标标准进行。
4.7.6.客户接待中心工程完工后由城市公司工程部组织设计管理部、营销部等相关部门进行初验,由集团相关职能部门验收合格后开放。
4.8.标准图库及设计资料档案管理4.8.1.设计管理部门在设计文件审核确认完成后,负责将项目所有设计资料上传到集团信息化系统中的项目图库。