专项规划办事流程示意图
- 格式:doc
- 大小:51.50 KB
- 文档页数:4
专项规划办事流程示意图
市政设施专项规划审批办理流程图
本项目组织编制单位为:田东县市政管理局
本项目负责审批的行政部门为:自治区住房城乡建设厅
本项目设计单位为:广西创宇规划设计公司
(一) 专项规划审批事项准予批准的条件:
1)田东县市政管理局(简称管理局)上报材料齐全,包括上报请示、规划成果(文本、图纸、附件)、部门及专家意见采纳情况的报告,以及公众意见汇总和采纳情况的报告;
2)专项规划的组织编制主体为管理局。
3)管理局在编制过程中,听取了与该专业系统相关的专家和相关部门的意见,并获得专家和相关部门的原则同意。
4)管理局在编制过程中,按照《城乡规划条例》的要求对专项规划进行了规划公示,并对公众意见进行了专题研究和合理吸纳;
5)规划内容符合百色市田东县总体规划上位规划的要求;
6)规划内容符合地区发展的要求,与相关地区规划相一致,并符合市政交通项目实际建设要求。
7)规划深度符合国家、行业、地方标准和成果管理的要求。
(二) 专项规划审批事项不予批准的情形:
1)上报材料不齐全;
2)规划编制主体、程序不符合国家法律法规;
3)规划内容符合不上位规划要求;
4)规划内容不符合地区发展要求或市政交通项目实际建设需求;
2)规划编制不符合国家、行业、地方标准和成果管理的要求。
(三) 申请材料
1)形式标准
文本用A3或A4纸打印,胶装装订。
文件用A4纸打印。
2)行政审批申请材料目录
3)申请文书名称
关于请予审批《专项规划》的请示。
规划办建设项目审批流程图申请现场勘测并绘制四面总布局图规划办审核不符合规划要求重新编制方案提交申请符合规划要求未通过提交规划委员会划拨项目通过出让项目规划办核发国土局出具用地的选址意见书函规划办核发规划设计条件提交相关材料提交相关材料核发建设用地核发建设用地规划规划许可证许可证由国土局办理用地手续交费并提交相关材料办理建设工程规划许可证验收工程竣工验收备案建工办建设项目管理流程图建设工程报建勘察设计委托初步设计检查外进勘察设计单位资质备案委托监理施工图审查外进建筑企业资质备案委托招标代理外进监理公司资质备案招标投标招投标监督工程质量监督协议建造师、五大员合同备案工程安全监督协议押证施工许可证工程验收备案廉租住房分配工作流程图申请人提出申请证件资料不全的一次性告知接受申请登记退回原部门申请人补全并说明原因材料进行审查,并到民政,房屋产权审核不合格的补充齐全登记部门进行核实按申请顺序排号,进行公示分批进行公开摇号分配住房公示无异议后,想申请人安排住房材料存档《燃气经营许可证》申报流程↓燃气企业提出申请↓1.城市燃气企业资质申请表2.企业法定代表人职务证明,安全技术负责人职务、职称证明3.项目批准文件、施工图或者施工安装竣工验收资料、工艺图、设备配置明细表、压力容器合格证、安全及消防设施资料等4.供气协议5.建设用地规划许可证6.建设用地批准书7.建筑工程消防验收意见书8.气瓶充装注册登记证9.组织机构代码证10.营业执照11.压力容器鉴定检验报告书12.压力容器使用证13.压力容器产品合格证14.生产经营单位主要负责人安全资格证书15.充装人员上岗证16.上岗人员消防安全培训证17.事故应急救援预案18.液化石油气地面贮配站工程质量证明书19.岗位责任制度20.各种规章制度21.安全管理流程图22.消防器材配量表23.防雷装置合格证24.安全评价报告25.依法参加工伤社会保险,为从业人员交纳保险↓上报市住建委审批危房改造补助对象审批流程符合补贴对象要求的农户到当地村委会填写鄂伦春自治旗农村危房改造申请表↓旗质量监督站出具的农村房屋安全鉴定报告↓在各乡镇危房改造工作领导小组的指导下,由确定的补贴建房农户填写农村危房改造农户纸质档案表,同时提供拆旧房协议,建房户身份证和户口复印件、居委会出具证明,五保户供养证,低保金领取证复印件,或贫困证明↓住房补贴发放流程受理申请低收入、住房困难家庭认定廉租房对象初审复审审批登记核发资金。
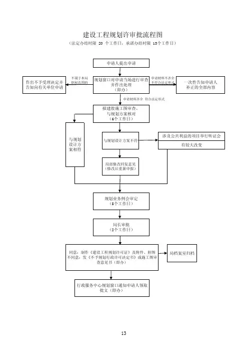
建设工程规划许审批流程图
(法定办结时限 20 个工作日,承诺办结时限 13个工作日)
城市规划竣工核实流程图
(法定办结时限 20 个工作日,承诺办结时限 9 个工作日)
建设项目选址意见书、规划条件审批流程图(法定办结时限 20 个工作日,承诺办结时限 10 个工作日)
建设用地规划许可审批流程图
(法定办结时限 20 个工作日,承诺办结时限 8 个工作日)一次性告知申请人补正的全部内容
申请材料齐全 符合法定形式
申请人提出申请
作出不予受理决定
并告知向有关单位
申请行政服务中心规划窗口通知申请人领取批文
(即办)
报建股现场查勘、审查
(2个工作日)规划业务例会审定
(5个工作日)
不属于本局职权范围的申请材料不齐全部符合法定形式规划窗口对申请当场进行审查并作出处理(即办)局档案室归档
局长审批
(1个工作日)
制作批文或建设用地规划许可证
(即办)涉及公共利益的项目举行听证会
(法定办结时限 20 个工作日,承诺办结时限 10 个工作日)
申请人提出申请
乡村建设规划许可审批流程图
作出不予受理决定并告知向有关单位申请
服务窗口对申请当场进行审查
并作出处理
(即办)
一次性告知申请人
补正的全部内容
不属于本局
职权范围的
申请材料不齐全
不符合法定形式
申请材料齐全 符合法定形式
报建股现场踏勘、审查
(4个工作日)
规划业务例会审定
(5个工作日)
涉及公共利益的项目举
行听证会
服务窗口通知申请人领取决定文件
(即办)
局长审批
(1个工作日)
制作决定文件
(即办)。
专项规划办事流程示意图-标准化文件发布号:(9456-EUATWK-MWUB-WUNN-INNUL-DDQTY-KII
专项规划办事流程示意图
市政设施专项规划审批办理流程图
本项目组织编制单位为:田东县市政管理局
本项目负责审批的行政部门为:自治区住房城乡建设厅
本项目设计单位为:广西创宇规划设计公司
(一) 专项规划审批事项准予批准的条件:
1)田东县市政管理局(简称管理局)上报材料齐全,包括上报请示、规划成果(文本、图纸、附件)、部门及专家意见采纳情况的报告,以及公众意见汇总和采纳情况的报告;
2)专项规划的组织编制主体为管理局。
3)管理局在编制过程中,听取了与该专业系统相关的专家和相关部门的意见,并获得专家和相关部门的原则同意。
4)管理局在编制过程中,按照《城乡规划条例》的要求对专项规划进行了规划公示,并对公众意见进行了专题研究和合理吸纳;
5)规划内容符合百色市田东县总体规划上位规划的要求;
6)规划内容符合地区发展的要求,与相关地区规划相一致,并符合市政交通项目实际建设要求。
7)规划深度符合国家、行业、地方标准和成果管理的要求。
(二) 专项规划审批事项不予批准的情形:
1)上报材料不齐全;
2)规划编制主体、程序不符合国家法律法规;
3)规划内容符合不上位规划要求;
4)规划内容不符合地区发展要求或市政交通项目实际建设需求;
2)规划编制不符合国家、行业、地方标准和成果管理的要求。
(三) 申请材料
1)形式标准
文本用A3或A4纸打印,胶装装订。
文件用A4纸打印。
2)行政审批申请材料目录
3)申请文书名称
关于请予审批《专项规划》的请示。
规划审批程序流程图(一)建设项目选址意见书核发流程图(二)建设用地规划许可流程图(三)建设工程规划许可流程图(四)建设工程设计方案审查流程图(并联)(五)建设工程竣工规划核实流程图丰都县规划局行政审批服务指南窗口:县行政服务大厅规划局办公(咨询)电话:(023)70702444审批项目:一、建设项目选址意见书核发二、建设用地规划条件函核发三、建设用地规划许可四、建设工程规划许可五、乡村建设工程规划许可六、特殊建设项目规划许可(一)城镇房屋解危改造规划许可(二)临时建设工程规划许可七、建设工程竣工规划核实项目名称:一、建设项目选址意见书核发实施主体:丰都县规划局主要审批依据:1.《中华人民共和国城乡规划法》第三十六条;2.《重庆市城乡规划条例》第七条、第四十一条;办理范围:1.需要有关主管部门批准或核准的建设项目,以划拨方式提供国有土地使用权或已取得国有土地使用权的建设项目;2.项目位于城乡规划确定的建设用地范围内,且符合城乡规划。
办理内容:核发《建设项目选址意见书》及附件、附图。
受理机关:县规划局。
决定机关:县规划局。
办理程序:申请→受理→审查→决定→颁发→公布。
申请条件:1、建设项目需要有关主管部门批准或核准;2、建设项目已取得国有土地使用权;3、项目位于城乡规划确定的建设用地范围内,且符合城乡规划。
申请材料:1.《建设项目选址意见书》报建申请表(原件1份);2.申请人、委托人身份证明材料(复印件1份,核原件);3.项目立项或相关批准文件(复印件1份、核原件);4.国土房管部门出具的建设项目用地预审报告(预审意见)(原件1份)或《房地产权证》、《国有土地使用证》(复印件1份,核原件);5.有资质的测绘单位出具的拟选址范围的1:500(长距离市政工程视情况可为1:1000—1:10000)实测现状地形图(含地下管网及地下建构筑物)(原件1份、电子文档1份);6.经审查合格的拟选址范围的地灾评估报告(仅限未做地灾评估的区域,复印件1份、核原件、电子文档1份);7.建设项目所在辖区镇乡人民政府的审查意见(县城规划区建设用地范围除外,原件1份);8.相关法律法规及政策规定的其他材料。
专项规划办事流程示意图-标准化文件发布号:(9456-EUATWK-MWUB-WUNN-INNUL-DDQTY-KII
专项规划办事流程示意图
市政设施专项规划审批办理流程图
本项目组织编制单位为:田东县市政管理局
本项目负责审批的行政部门为:自治区住房城乡建设厅
本项目设计单位为:广西创宇规划设计公司
(一) 专项规划审批事项准予批准的条件:
1)田东县市政管理局(简称管理局)上报材料齐全,包括上报请示、规划成果(文本、图纸、附件)、部门及专家意见采纳情况的报告,以及公众意见汇总和采纳情况的报告;
2)专项规划的组织编制主体为管理局。
3)管理局在编制过程中,听取了与该专业系统相关的专家和相关部门的意见,并获得专家和相关部门的原则同意。
4)管理局在编制过程中,按照《城乡规划条例》的要求对专项规划进行了规划公示,并对公众意见进行了专题研究和合理吸纳;
5)规划内容符合百色市田东县总体规划上位规划的要求;
6)规划内容符合地区发展的要求,与相关地区规划相一致,并符合市政交通项目实际建设要求。
7)规划深度符合国家、行业、地方标准和成果管理的要求。
(二) 专项规划审批事项不予批准的情形:
1)上报材料不齐全;
2)规划编制主体、程序不符合国家法律法规;
3)规划内容符合不上位规划要求;
4)规划内容不符合地区发展要求或市政交通项目实际建设需求;
2)规划编制不符合国家、行业、地方标准和成果管理的要求。
(三) 申请材料
1)形式标准
文本用A3或A4纸打印,胶装装订。
文件用A4纸打印。
2)行政审批申请材料目录
3)申请文书名称
关于请予审批《专项规划》的请示。
受理条件:
项目可行性研究报告及其批复、或计划许可批复文件、或计划许可受理(备案登记)通知书;二、土地预审意见(含附图),或国有土地挂牌出让、公开拍卖公告和出让、转让合同(含附图),或有效的土地使用权属证明(含附图);三、项目涉及的相关部门(环保、水利、交通、文保等)书面审查意见
办理材料:
新建项目用地规划许可申请表
(用地性质分类包括:居住用地、公共管理与公共服务设施用地、商业服务业设施
代办注意要点:
新建项目工程规划许可申请表
扩改建项目工程规划许可申请表。
修建性详细规划及建筑方案审批办件流程图修建性详细规划及建筑方案的审批办件流程是指在规划和建筑方案制定阶段,经过相关部门的审核和确认后,确保建筑项目的合法性、规范性和安全性,以保障城市建设的有序进行。
本文将介绍修建性详细规划及建筑方案审批的具体流程。
修建性详细规划审批流程1.规划申请:业主或开发商向相关部门提交修建性详细规划申请,并提供相关资料,包括用地规划许可、土地权属证明、规划设计说明等。
2.初审:相关部门对申请资料进行初步审核,检查是否符合规划法规要求,是否存在严重违规情况。
3.现场勘查:部门进行现场勘查,验证申请资料的真实性和可行性,了解建筑环境情况,如地理位置、土地利用状况等。
4.专家评审:邀请相关领域专家对规划方案进行评审,包括建筑设计、环境保护等专业领域。
5.意见反馈:部门将专家评审意见与业主或开发商进行沟通,协商修改规划方案,确保符合法规和技术要求。
6.批复:经过前期审核和修改后,部门会出具修建性详细规划审批意见,批复通过后,可以进入建筑方案审批流程。
建筑方案审批办件流程1.方案编制:业主或开发商根据修建性详细规划的要求,编制建筑方案,包括建筑布局、结构设计、材料选用等内容。
2.方案提交:提交建筑方案申请资料,包括建筑设计说明、结构设计说明、消防设计说明等,同时附上修建性详细规划批复文件。
3.初审:相关部门对建筑方案申请资料进行初步审核,检查是否符合法规和规划要求。
4.专家审查:邀请建筑设计师、结构工程师等专家对建筑方案进行审查,评估其合理性和可行性。
5.规划衔接:确认建筑方案与修建性详细规划的衔接情况,保证方案符合规划要求。
6.意见整合:整合专家审查意见和部门初审意见,与业主或开发商进行沟通,协商修正建筑方案。
7.审批:经过意见整合和修改后,部门出具建筑方案审批意见,审批通过后,业主或开发商可以开始施工。
修建性详细规划及建筑方案审批办件流程图如下:修建性详细规划审批流程1. 规划申请2. 初审3. 现场勘查4. 专家评审5. 意见反馈6. 批复建筑方案审批办件流程1. 方案编制2. 方案提交3. 初审4. 专家审查5. 规划衔接6. 意见整合7. 审批通过以上流程,修建性详细规划及建筑方案审批办件可以在相关部门的协助下顺利进行,确保城市建设规划和建筑质量的合理性和可行性。
1
贵阳市城乡规划审批流程图
说明:1、本流程以建筑工程(不含市政工程、乡村规划许可)规划管理为主,其他专业部门流程和要求未列完整。
其中蓝色框图内流程为规划部门流程(因建设工程各具特点而相对有所区别,故具体项目若因建设工程具体情况,需适当调整,造成流程变化的,应当以具体申报要求为准)。
2、市政工程规划管理参照本流程办理。
3、由市规划局与市土储中心共同组织编制的重要地块城市设计和修建性详细规划需按照本流程修建性详细规划审批程序办理。
4、以上流程中各环节中,属于《贵州省城乡规划条例》、《贵阳市城乡规划条例》中规定情形的,应当按要求开展规划公示,具体参见《贵州省城乡规划条例》、《贵阳市城乡规划条例》。
5、以上流程中各环节中,不包含规划调整,规划调整程序按照《城乡规划法》、《贵州省城乡规划条例》、《贵阳市城乡规划条例》相关规定办理。
6、本流程图自年月日起施行。
在此之前仍按照原有规定执行。
贵阳市规划局对本流程图具有最终解释权,并具有随上位法和有关政策变更或工作需要调整或修改流程图的权利。
2
3
4。
专项规划办事流程示意图
市政设施专项规划审批办理流程图
本项目组织编制单位为:田东县市政管理局
本项目负责审批的行政部门为:自治区住房城乡建设厅
本项目设计单位为:广西创宇规划设计公司
(一) 专项规划审批事项准予批准的条件:
1)田东县市政管理局(简称管理局)上报材料齐全,包括上报请示、规划成果(文本、图纸、附件)、部门及专家意见采纳情况的报告,以及公众意见汇总和采纳情况的报告;
2)专项规划的组织编制主体为管理局。
3)管理局在编制过程中,听取了与该专业系统相关的专家和相关部门的意见,并获得专家和相关部门的原则同意。
4)管理局在编制过程中,按照《城乡规划条例》的要求对专项规划进行了规划公示,并对公众意见进行了专题研究和合理吸纳;
5)规划内容符合百色市田东县总体规划上位规划的要求;
6)规划内容符合地区发展的要求,与相关地区规划相一致,并符合市政交通项目实际建设要求。
7)规划深度符合国家、行业、地方标准和成果管理的要求。
(二) 专项规划审批事项不予批准的情形:
1)上报材料不齐全;
2)规划编制主体、程序不符合国家法律法规;
3)规划内容符合不上位规划要求;
4)规划内容不符合地区发展要求或市政交通项目实际建设需求;
2)规划编制不符合国家、行业、地方标准和成果管理的要求。
(三) 申请材料
1)形式标准
文本用A3或A4纸打印,胶装装订。
文件用A4纸打印。
2)行政审批申请材料目录
3)申请文书名称
关于请予审批《专项规划》的请示。