流程图—发文处理流程图(内部)
- 格式:pdf
- 大小:150.32 KB
- 文档页数:3
发文工作流程图.立卷归档。
丿1. 2. 3.V 审核校对\ 1•审核是否确实需要行文 2•注意公文的内容、体式、 文字的核查。
对文件的主要内容 好和基本要素进行 记录1. 同一份文件只有 个发文字号。
2. 年份应标全数。
3. 用六角括号括入。
厂;'故到上不压正文,下要骑年盖月。
2. 印迹要清晰可辨。
3. 要以签发为依据,领导签 I 发的文件才可用印。
以签发的定稿为依据,从文字到格 式,都不得擅自改动。
严格按规定的公文格式制版。
在规定的时间范围内印制完成。
1. 审批、签发手续受否完备2. 附件材料是否齐全3. 格式是否统一等1. 文件分数准确2. 书写正确3. 封口牢固4. 发送安全5. 确认收文。
1. 逐字逐句、逐个标点地进行校对。
2. 注意字体、字号、格式的统一。
3. 使用统一的校对符号进行校 对。
草拟制文阶段签发编号缮印用印分发. _______________ J根据文件的类 型,给相应的领 导签名制发阶段收文工作流程图i•清点2•核查3•签字签收登记注意事项:1•是否由本机关办理2•是否符合行文规则1•登记时不能漏项,不可任意删减。
2•填写收文号时不要空号、重号。
3•书写时字迹工整、规范,不得随意涂抹。
审核3.内容是否符合国家法律、法规及其他有关规定4•文种使用、公文格式是否规范1•及时2•准确。
办公室发文流程图一、背景介绍办公室发文是指在日常工作中,办公室内部或与外部单位进行信息交流和沟通的一种方式。
为了保证发文工作的高效和规范,需要建立一套清晰的发文流程图,以确保文件的准确、及时传达,并确保文件的安全性和机密性。
二、发文流程图1. 收集信息- 首先,办公室需要收集相关的信息和材料,包括发文的目的、内容、收件人等。
- 可以通过会议记录、邮件、电话等方式获取相关信息。
2. 起草文件- 根据收集到的信息,起草发文文件。
- 文件应包括标题、正文、附件等内容,确保内容准确、清晰、简洁。
3. 审核与修改- 完成起草后,将文件提交给主管领导或相关部门进行审核。
- 审核包括对文件的内容、格式、用词等方面进行检查,确保文件符合规范和要求。
- 如有需要,根据审核意见进行修改和完善。
4. 签批- 审核通过后,文件需要进行签批。
- 根据公司的规定,确定签批的人员和顺序。
- 签批人员应对文件内容进行仔细阅读,并在文件上签署姓名、职务、日期等信息。
5. 盖章- 签批完成后,文件需要进行盖章。
- 盖章是为了确保文件的真实性和合法性。
- 盖章应按照公司的章程和章程进行操作,确保章印的规范和准确。
6. 分发与传达- 盖章完成后,文件需要进行分发与传达。
- 根据文件的性质和内容,确定需要分发的对象。
- 可以通过邮件、传真、快递等方式进行传达。
7. 归档- 文件传达完毕后,需要进行归档。
- 根据公司的归档规定,将文件存档,以备后续查阅和使用。
- 归档时应注明文件的标题、日期、归档位置等信息,以便查找和管理。
三、发文流程图的意义1. 规范流程- 发文流程图能够规范办公室的发文工作流程,确保每一步都按照规定进行,减少错误和遗漏的发生。
2. 提高效率- 通过发文流程图,可以清晰地了解每个环节的职责和操作要求,从而提高工作效率,减少重复劳动。
3. 保证准确性- 发文流程图明确了每个环节的审核和修改要求,确保发文文件的准确性和规范性。
部门:综合部
公司内部发文工作流程
公司内部发文工作流程图说明
1.功能说明:此图表示省分公司内部形成的文件的发文过程。
此业务经常不定期发生。
2.部门说明:主管部门——综合部;相关部门——省分公司各部室、各地市分公司。
3.管理级别:B级。
4.图序说明:
(1)各部室撰稿(根据会议要求或工作计划安排规定时限);
(2)发文部门经理审核(1小时);
(3)综合部秘书核稿(20分钟);
(4)如需会签,综合部秘书分发各会签部门(5分钟);
(5)公司主管副总经理对其签批(20分钟);
(6)如需总经理签发,报总经理签(20分钟);
(7)综合部文书取号,发送文件(5分钟)。
(1)公文收文处理流程图
发文办理流程
(3 )立卷归档流程图
(4 )会议组织流程图
(5)接待工作流程图
(6)拨打电话流程图
(7)接听电话流程图
(8)签字仪式流程图
合
同
签
约
仪
式
流
程
图(9)信息工作流程图
申请人通过网络、传真、信函提出申请信息
公开
受理
部门
接受
申请
在15
个工
作日
内
(
特
殊情
况经
批准
可再
延长
15个
工作
日:
)
提
出
属于本机关主
动公开信息
申请的信息内
容明确
出具〈〈不整申
请通知书》
―►
申请的信息部属于
本机关学握的信息
-------- ►
出具〈〈非本机
关申请报告书
书》
f
申请的信息不
存在
(10
出具〈〈政府信息
部存在告知书》
秘书工作流程图
I可以免费提供的信
彳息直接发送给申请
I人
需要收取工本费的
信息向申请人出具
〈〈信息公开告知书》
> 和收费方式
根据申请人付费
情况和需求方式
在15个工作日
内(特殊情况可
再延长15个工
作日)提供信息
(10)秘书工作流程图_
领导文具、茶水准备、家具、物品有序摆放
提前到达上班
下班时间向领导征询需办事项
确定是否陪领导或在家加班
检查文件、锁具、电器、电源情况后下班。
收文处理工作流程表
说明:
1、收文由综合办公室归口管理,其他部门不能擅自收文和留存文件,以免文件遗失或造成管理混乱;
2、文件办理完毕后由综合办档案室存档,其他部门可根据需要按档案管理相关规定查阅或复印文件。
发文处理工作流程表
说明:
1、发文由综合办公室归口管理,其他部门不能擅自发文,以免文件遗失或造成管理混乱;
2、综合办可以把发文电子版(保密文件除外)共享出来,或发到每个人的邮箱,方便大家查阅。
收文处理流程示意图
发文处理流程示意图。
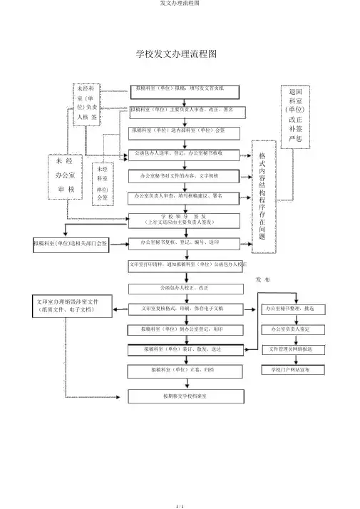
发文办理流程图
1 / 1
学校发文办理流程图
未经科 室 ( 单 位) 负责 人核 签
未 经
办公室
未经
科室
审 核
(单位)
会签
拟稿科室( 单位)送相关部门会签
拟稿科室(单位)拟稿,填写发文首页纸
拟稿科室(单位)主要负责人审查、改正、署名
拟稿科室(单位)送内部科室(单位)会签
公函包办人送审、登记,办公室秘书核收
办公室秘书对文件的内容、文字初核
办公室负责人审查,填写核稿建议、署名
学 校 领 导 签 发
(上行文还应由主要负责人签发)
办公室秘书复核、登记、编号、送印
文印室打印清样,通知拟稿科室(单位)公函包办人校正
退回 科室
( 单位) 改正
补签 严惩
格 式 内 容 结 构 程 序 存 在 问 题
文印室办理销毁涉密文件(纸质文件、电子文档)
发 布
公函包办人校正、改正
文印室复核格式,印刷,保存电子文稿 办公室秘书整理,挑选
拟稿科室(单位)到办公室登记,用印 办公室负责人鉴定
拟稿科室(单位)装订、散发、送达 文件管理员网络报送
拟稿科室(单位)立卷,归档 学校门户网站宣布
按期移交学校档案室。
办公室发文流程图一、背景介绍办公室发文是指在组织内部进行信息传递和沟通的过程,通过发文可以使组织内部的工作流程更加规范化和高效化。
为了确保办公室发文的准确性和一致性,制定了相应的发文流程图,以指导工作人员在发文过程中的操作步骤。
二、发文流程图以下是办公室发文的标准流程图,包括六个主要步骤:1. 核对发文要求:- 收到发文申请后,办公室工作人员首先需要核对发文要求,包括发文类型、发文目的、发文截止日期等。
如果有任何疑问或者需要补充信息,工作人员应及时与申请人联系。
2. 撰写发文稿:- 在核对发文要求后,工作人员开始撰写发文稿。
发文稿应包括标题、正文、附件等内容,确保语言准确、简明扼要,并且符合组织的发文规范。
3. 审核发文稿:- 完成发文稿的撰写后,工作人员需要将发文稿提交给主管领导或者审核人员进行审核。
审核人员将对发文稿进行审查,确保内容准确、合规,并提出修改意见或者建议。
4. 修订发文稿:- 根据审核人员的意见或者建议,工作人员需要对发文稿进行修订。
修订后的发文稿应再次提交给审核人员进行确认,直到达到审核通过的标准。
5. 盖章并分发:- 完成发文稿的修订后,工作人员将按照组织的规定进行盖章。
盖章后,发文稿将被分发给相关部门或者人员,确保信息的传递和执行。
6. 归档和跟踪:- 发文流程的最后一步是归档和跟踪。
已发出的文稿将被归档,以备后续查阅和追踪。
同时,工作人员需要跟踪发文的执行情况,确保发文的目的和要求得到有效地落实。
三、发文流程图的优势发文流程图的制定和实施对办公室工作具有以下优势:1. 规范流程:发文流程图明确了每一个步骤的操作要求和责任人,有助于规范办公室工作流程,减少工作中的混乱和错误。
2. 提高效率:通过发文流程图,工作人员可以清晰地了解每一个步骤的顺序和要求,从而能够更加高效地完成发文工作,节省时间和精力。
3. 保证准确性:发文流程图确保了发文稿的准确性和一致性,通过审核和修订的环节,能够及时发现和纠正错误,避免因错误信息而产生的问题和误解。