电梯安全检验合格证粘贴指引
- 格式:pdf
- 大小:73.14 KB
- 文档页数:2
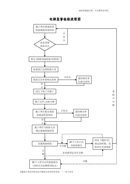
电梯监督检验流程图未直接判定为不合格合 格不合格合格复 检 不 合 格符合不符合符合不符合填写《特种设备检验/受理单》业务受理资料齐全 施工单位准备监督检验报检所需资料检验部门安排检验人员检验人员审查相关资料进行下道工序施工施工完毕,自检合格 施工单位与检验人员确认现场检验时间施工单位提交现场检验前所需资料实施现场检验10个工作日出具检验报告 (同时出具电梯使用标志)到达《通知书》 规定的时限;受检单位申请复检不齐全 通知相关单位提交资料通知相关单位提交资料10个工作日出具检验报告电梯监督检验检验须知根据《中华人民共和国特种设备安全法》,电梯须经监督检验合格后方可投入使用,为方便相关单位,现将电梯监督检验相关事项告知如下:1)电梯施工单位应当在施工前将拟进行的电梯安装、改造、修理情况告知负责特种设备安全监督管理的部门,方可到我院申报监督检验,填写特种设备检验申请/受理单,并提交相关资料(依据相应的电梯检验规程提供资料),资料审查合格后,方可进行施工。
施工单位在前台报检时须提交的资料至少包含以下内容:①电梯制造许可证复印件(盖施工单位公章)②电梯产品合格证复印件(盖施工单位公章)③电梯安装改造维修许可证复印件(盖施工单位公章)④特种设备安装改造维修告知书⑤改造或重大维修施工方案⑥特种设备检验申请/受理单2)现场检验时的条件确认对电梯整机进行检验时,检验现场应当具备以下检验条件:①机房空气温度应保持在5~40℃之间,湿度应保持在电梯及检验所允许的范围内;②电网输入电压应正常,电压波动(包括电梯启制动时)应在额定电压值±7%的范围内;③环境空气中不应含有腐蚀性和易燃性气体及导电尘埃,特种电梯工作环境中腐蚀性和易燃性气体及导电尘埃不应超过该电梯额定指标;④检验现场(主要指机房或者机器设备间、井道、轿顶和底坑)应整洁,没有与电梯工作无关的物品和设备,基站、相关层站等检验现场应放置表明正在进行检验的警示牌;⑤对井道进行了必要的封闭;⑥应有电梯施工单位的2名以上持证专业人员配合检验;⑦特殊情况下,电梯设计文件对温度、湿度、电压、环境空气条件等进行了专门规定的,检验现场的温度、湿度、电压、环境空气条件等应当符合电梯设计文件的规定。
电梯验收操作指引第一篇:电梯验收操作指引电梯验收操作指引——重庆片区操作指引电梯安装厂家调试合格不合格厂家综合检查合格电梯使用单位向特检所提出验收申请特检所、检验所安排检验时间,并通知相关单位电梯申请检验之前必须填写《曳引与强制驱动电梯自检报告》和《电梯安装监督检验报检申请单》,且需使用单位负责人签名,盖使用单位公章报检后10个工作日内检验员出具特种设备安全监督检查整改通知单,整改后复检,同时报市局安全检查机构不合格资料审查现场检验3—5个工作日严重缺陷问题时(带*项目或一般项目超过3项)出具《电梯验收检验报告》检验员出具特种设备安全监督检验整改通知单,10个工作日完成整改不合格合格检验员10个工作日出具监督检验报告、监督检验证书一般缺陷问题(非带*项目或一般项目不超过3项)领取电梯验收合格证电梯进场安装、验收前置条件和需求明细详见备注备注:1、电、扶梯进场安装必备条件1.1扶梯:1.1.1电梯井道按《平面图》施工完成,所有尺寸及要求与图纸一致。
1.1.2井道清理干净,不得有杂物及积水。
1.1.3确保现场有足够的工作场地及进出通道(21米货车进出)。
1.1.4提供调试、验收用正式电源。
1.1.5完成扶梯装饰工作。
1.1.6完成扶梯周边防护设施。
1.2普通电梯1.2.1电梯井道、底坑、机房部份按《平面图》施工完成,所有尺寸及要求与图纸一致。
1.2.2井道清理干净,不得有杂物及积水。
1.2.3井道厅门口防护有效。
1.2.4厅门安装标高线已完成。
1.2.5机房内的施工电源已到位。
(三相380V)1.2.6每幢楼至少要有一个配件库房。
(面积按电梯数量定)1.2.7提供必要的塔吊及提升机卸货。
1.2.8主体完工后进行土建修补,回填工作。
1.2.9提供调试、验收用(正式)电源。
1.2.10完成五方对讲线的敷设。
1.2.11完成电梯卫士的合同签定(如有)。
2电梯验收前置条件:2.1电网输入电压应正常、电压波动应在额定电压值±7%的范围内;2.2清理机房、厅外、井道、底坑等场所卫生;3、资料审查内容3.1制造、安装重大维修、改造相关资料;3.2查阅制造单位提供产品质量证明及随机技术文件;2.3查阅安装单位的施工过程记录、自检报告、事故记录;3.4查阅安装过程监督检验报告书;3.5电梯安全管理制度建立落实情况;3.6电梯操作人员培训持证情况;4、现场检验内容4.1落实电梯检验现场配合人员及安全保障措施。
未直接判定为不合格合格不合格合格复检 不 合 格符合不符合符合不符合填写《特种设备检验/受理单》业务受理 资料齐全施工单位准备监督检验报检所需资料检验部门安排检验人员检验人员审查相关资料进行下道工序施工施工完毕,自检合格施工单位与检验人员确认现场检验时间施工单位提交现场检验前所需资料实施现场检验10个工作日出具检验报告(同时出具电梯使用标志)到达《通知书》 规定的时限;受检单位申请复检不齐全通知相关单位提交资料通知相关单位提交资料 10个工作日出具检验报告根据《中华人民共和国特种设备安全法》,电梯须经监督检验合格后方可投入使用,为方便相关单位,现将电梯监督检验相关事项告知如下:1)电梯施工单位应当在施工前将拟进行的电梯安装、改造、修理情况告知负责特种设备安全监督管理的部门,方可到我院申报监督检验,填写特种设备检验申请/受理单,并提交相关资料(依据相应的电梯检验规程提供资料),资料审查合格后,方可进行施工。
施工单位在前台报检时须提交的资料至少包含以下内容:①电梯制造许可证复印件(盖施工单位公章)②电梯产品合格证复印件(盖施工单位公章)③电梯安装改造维修许可证复印件(盖施工单位公章)④特种设备安装改造维修告知书⑤改造或重大维修施工方案⑥特种设备检验申请/受理单2)现场检验时的条件确认对电梯整机进行检验时,检验现场应当具备以下检验条件:①机房空气温度应保持在5~40℃之间,湿度应保持在电梯及检验所允许的范围内;②电网输入电压应正常,电压波动(包括电梯启制动时)应在额定电压值±7%的范围内;③环境空气中不应含有腐蚀性和易燃性气体及导电尘埃,特种电梯工作环境中腐蚀性和易燃性气体及导电尘埃不应超过该电梯额定指标;④检验现场(主要指机房或者机器设备间、井道、轿顶和底坑)应整洁,没有与电梯工作无关的物品和设备,基站、相关层站等检验现场应放置表明正在进行检验的警示牌;⑤对井道进行了必要的封闭;⑥应有电梯施工单位的2名以上持证专业人员配合检验;⑦特殊情况下,电梯设计文件对温度、湿度、电压、环境空气条件等进行了专门规定的,检验现场的温度、湿度、电压、环境空气条件等应当符合电梯设计文件的规定。
电梯常规检查制度为了贯彻国家及技术监督局相关文件规定的要求,结合实际情况,特制定常规检查制度。
1、每月组织有关部门人员进行对有关电梯使用、运行工作状况的抽查。
发现问题填写“整改意见书”,制定纠正和预防措施,保证检查工作的实效性;2、每月对在进行使用的电梯进行专检和抽检,确保电梯正常使用并满足标准要求。
对在次月需要进行年度检验的电梯进行年度最终检验,保证年检电梯符合检验要求规范;3、电梯有关维修人员每天必须对自己管辖的电梯进行巡检,发现问题及时处理并做好故障记录,处理不了的问题及时上报主管人员,由电梯主管人中组织人员解决;4、电梯主管人员每月对电梯有关部门、人员的工作状况进行检查,对维修保养记录的填写状况如内容、签字、日期等进行检查,如有未签字或漏维修保养交记录的,按相关制度处理;5、每周要对电梯维保员的工作状况、仪表、仪容、运行记录等进行检查,协调有关人员做好电梯维保员的服务工作,主管人员每周至少一次对有关人员进行巡查,发现问题及时解决;6、主管人员每周对相关部门人员的工作进行检查,布置下周工作,切实做到本周工作本周完成。
常规检查工作是一项很重要的工作,它需要有关人员积极的协调与配合,将电梯运行中的质量问题和不安全因素消灭在检查与整改中,以保证电梯的正常运行。
电梯机房管理制度1、电梯专用机房应做到随时上锁,门锁钥匙应由主管人员或专门人员保管;2、机房应通风良好,照明满足要求,门窗关闭灵活,任何季节机房内温度应保持在摄氏5度——40度之间;3、机房内应保持干净、整洁、严禁存放易燃易爆或危险物品,不准堆放其他杂物;4、机房内消防器材应放在显著位置,并保证设备良好,并在有效期内;5、电梯机房应每周打扫一次卫生;6、闲杂人员不准进入机房,若因工作需要确定进入时,须经主管人员批准,并在专业人员陪同下进入机房;7、未取得《特种设备操作证》的人员,不得随意动用,操作电梯设备;8、由专业人员依据《安全操作规程》规定,保持机房内设备设施表面无积尘、无锈蚀、无油渍、无污物。
电梯安全管理制度单位名称:_____________有限公司编制人员:_____________制定日期:_____年____月_____日第一章:行政管理制度一、员工守则二、安全守则三、办公行为规范四、培训、考核制度五、车辆管理制度第二章:电梯运行管理制度一、电梯管理制度总则二、电梯设备技术档案管理制度三、电梯机房管理制度四、电梯钥匙管理制度五、电梯维修保养制度六、电梯安全运行管理制度第三章:各部门岗职岗责一、电梯公司经理岗职岗责二、工程师岗职岗责三、维修班长岗职岗责四、维修工岗职岗责第四章:应急措施和救援预案一、紧急救援方法二、电梯应急救援预案第一章行政管理制度一、员工守则1、学习并遵守国家的法律法规。
2、与公司荣辱与共,树立公司形象、维护公司利益。
3、树立“团队、竞争、协作、责任”的公司精神。
4、树立“安全第一”的思想。
5、服从领导听指挥,全面优质完成本职工作和领导交办的一切任务。
6、严守纪律,不迟到早退。
工作时间不串岗,不损公肥私、不做有损团结的事。
7、注重仪表,虚心倾听用户意见、接听电话和为用户服务时使用“您好”等礼貌用语。
8、勤俭节约、爱护公物、降耗节能。
二、安全守则1、牢记“安全第一、预防为主”的安全方针,把安全工作放在第一位,在事前做好安全工作。
2、坚持“工作必须安全,安全是为了工作”的原则。
做到安全、工作两不误。
3、树立“我要安全”的主动安全观,克服“要我安全”的错误认识,提高做好安全工作的自觉性。
4、遵章守纪听指挥、听从分配服管理,虚心接受监督。
5、自觉学习安全知识和技术、积极参加安全教育和培训。
6、招修服务不迟到,驻点工作不睡岗、不溜岗、不串岗,不做与工作无关的事。
7、上班禁止喝酒。
8、工作结束、办公室或宿舍无人要切断电源。
9、工作中做到“不伤害自己、不伤害他人、不被人伤害”。
10、骑电动车、摩托车须带头盔,行车遵守道路交通法规。
11、遵守公共安全法律法规。
12、发现存在安全隐患立即报告上级领导。
特种设备安全检验合格标志及第一篇:特种设备安全检验合格标志及附录5 特种设备《安全检验合格》标志及厂内机动车辆牌照制作规则一、专用于小型特种设备的《安全检验合格》标志(厂内机动车辆限用此标志)1.标志材料:采用高强度、防水、抗酸脂、耐高温(170℃以上)的聚脂(PET)标签专用材料。
2.固定材料:采用能够防水、耐高温、抗酸脂的丙烯酸类胶膜(应已附着于标志背面),其操作温度不高于15℃,允许的使用温度应当在-40℃到170℃之间,粘接的有效期至少应保证3年。
3.标志打印:此标志签可用普通激光打印机进行打印,建议采用惠普系列激光打印机。
4.标志基本尺寸及制作参数见图一及图二。
其中,标志内中偏右侧区域(60mm×26mm)为打印区,背景为防伪图案。
5.《安全检验合格》标志上的“质量技术监督行徽”符合《技术监督行徽使用管理规定》(技监局法函[1995]262号)的要求,行徽等边三角形边长为12mm。
6.《安全检验合格》标志内字体、字号、颜色、文字内容、图样、位置参数及表面加工形态以实际样品为准。
二、专用于中型特种设备的《安全检验合格》标志(电梯限用此标志)1.标志材料:不锈钢板或其它与特种设备使用环境相适应的硬质材料。
2.固定材料:采用高强度、防水、耐高温、抗酸脂的双面胶,操作温度应不高于15℃,允许的使用温度应当在-40℃到200℃之间,粘接的有效期至少应保证3年。
3.项目标签及其固定材料:与小型特种设备《安全检验合格》标志的相关要求相同。
4.《安全检验合格》标志主要尺寸及制作参数见图三。
其中:⑴基板尺寸为140mm×90mm,板厚0.5-0.8mm,边框线外缘尺寸为135mm×85mm,边框线粗0.5mm;⑵项目坑尺寸为75mm×40mm,项目内容应打印在项目标签上并粘贴在项目坑内;⑶项目标签尺寸为75mm×40mm;⑷固定材料四块一组,每块20mm×20mm,粘接面积1600mm,粘接设计强度大于15KG,粘接的有效期至少应保证3年。
国家质量监督检验检疫总局关于认真做好更换电梯等特种设备检验合格标志的通知文章属性•【制定机关】国家质量监督检验检疫总局(已撤销)•【公布日期】2003.10.15•【文号】•【施行日期】2003.10.15•【效力等级】部门规范性文件•【时效性】现行有效•【主题分类】质量管理和监督正文国家质量监督检验检疫总局关于认真做好更换电梯等特种设备检验合格标志的通知各省、自治区、直辖市质量技术监督局:2003年3月28日,总局发出《更换特种设备<安全检验合格>标志的通知》(国质检锅函〔2003〕233号),要求停止使用原国家质量技术监督局制定的电梯等特种设备的《安全检验合格》标志,及时更换新的《安全检验合格》标志。
截至到10月10日,全国182335部电梯更换了《安全检验合格》标志(更换进度表见附件),更换率为50.9%。
其中上海市、天津市、吉林省组织得力,基本更换完毕;但部分省(自治区、直辖市)工作存在差距,有的更换率不足20%。
为确保完成标志更换工作,现再次提出如下要求:一、各局必须充分认识更换标志工作的重要性。
总局领导高度重视电梯等特种设备《安全检验合格》标志的更换工作,总局就此多次发出通知,做出工作部署,提出明确要求。
各地要认真落实总局要求,要以更换特种设备检验合格标志向社会宣传质检部门承担特种设备安全监察工作的职能,培育公众安全意识,接受社会监督。
标志更换工作反映质检系统的全局意识,各级质检部门务必予以足够重视。
二、要集中力量开展标志更换工作。
要优先更换机场、车站、码头、政府机关、星级饭店、大型商场、医院和游乐园等公众场所电梯、游乐设施的《安全检验合格》标志,上述场所的标志更换工作必须在10月底前完成。
其他场所特种设备《安全检验合格》标志更换工作必须在11月底前完成。
三、要加强对更换标志工作的监督和检查,及时掌握更换进度。
各地要分别于10月31日、11月14日、11月28日,向总局锅炉局上报更换进度。
特种设备检验合格挂牌明示制度范本第一章总则第一条为规范特种设备的检验工作,确保特种设备安全运行,根据《特种设备安全法》等法律法规,制定本制度。
第二章适用范围第二条本制度适用于特种设备的检验工作,包括以下特种设备:(一)锅炉(二)压力容器(三)压力管道(四)电梯(五)起重机械(六)客运索道(七)大型游乐设施(八)爆炸性环境用电设备等其他特种设备。
第三章挂牌明示的程序第三条特种设备检验合格后,应当进行挂牌明示,程序如下:(一)特种设备检验机构根据特种设备的检验结果出具正式的检验合格证书;(二)特种设备使用单位在30日内将检验合格证书报送特种设备监管部门;(三)特种设备监管部门核对检验合格证书的真实性及完整性,与特种设备使用单位核对特种设备的实际使用情况;(四)核对无误后,特种设备监管部门将特种设备的检验合格信息填写进相关的挂牌明示记录表,并予以公示;(五)特种设备使用单位在特种设备上进行挂牌明示,确保公众能够看清特种设备的检验合格信息。
第四章挂牌明示的内容第四条特种设备的挂牌明示内容应当包括以下基本信息:(一)特种设备的名称、型号、制造单位、制造日期等相关基本信息;(二)特种设备的检验合格证书编号;(三)特种设备的检验合格日期;(四)特种设备的有效期限。
第五章挂牌明示的方式第五条特种设备的挂牌明示可以采用以下方式之一:(一)在特种设备的显著位置设置挂牌明示牌;(二)在特种设备监管部门的相关平台上公示特种设备的挂牌明示信息。
第六章监督检查第六条特种设备监管部门应当定期进行特种设备挂牌明示的监督检查,检查内容包括但不限于:(一)特种设备的挂牌明示信息是否真实有效;(二)特种设备使用单位是否按时进行特种设备的挂牌明示;(三)特种设备的挂牌明示牌是否清晰可辨认;(四)特种设备使用单位是否按照规定的方式进行特种设备的挂牌明示。
第七章违规处理第七条对于特种设备使用单位违反本制度的规定,特种设备监管部门可以采取以下处理措施:(一)责令其限期改正;(二)暂停特种设备使用单位的特种设备使用许可证;(三)吊销特种设备使用单位的特种设备使用许可证;(四)法律法规另有规定的,依法给予相应的处理。
未直接判定为不合格合格不合格合格复检 不 合 格符合不符合符合不符合填写《特种设备检验/受理单》业务受理 资料齐全施工单位准备监督检验报检所需资料检验部门安排检验人员检验人员审查相关资料进行下道工序施工施工完毕,自检合格施工单位与检验人员确认现场检验时间施工单位提交现场检验前所需资料实施现场检验10个工作日出具检验报告(同时出具电梯使用标志)到达《通知书》 规定的时限;受检单位申请复检不齐全通知相关单位提交资料通知相关单位提交资料 10个工作日出具检验报告根据《中华人民共和国特种设备安全法》,电梯须经监督检验合格后方可投入使用,为方便相关单位,现将电梯监督检验相关事项告知如下:1)电梯施工单位应当在施工前将拟进行的电梯安装、改造、修理情况告知负责特种设备安全监督管理的部门,方可到我院申报监督检验,填写特种设备检验申请/受理单,并提交相关资料(依据相应的电梯检验规程提供资料),资料审查合格后,方可进行施工。
施工单位在前台报检时须提交的资料至少包含以下内容:①电梯制造许可证复印件(盖施工单位公章)②电梯产品合格证复印件(盖施工单位公章)③电梯安装改造维修许可证复印件(盖施工单位公章)④特种设备安装改造维修告知书⑤改造或重大维修施工方案⑥特种设备检验申请/受理单2)现场检验时的条件确认对电梯整机进行检验时,检验现场应当具备以下检验条件:①机房空气温度应保持在5~40℃之间,湿度应保持在电梯及检验所允许的范围内;②电网输入电压应正常,电压波动(包括电梯启制动时)应在额定电压值±7%的范围内;③环境空气中不应含有腐蚀性和易燃性气体及导电尘埃,特种电梯工作环境中腐蚀性和易燃性气体及导电尘埃不应超过该电梯额定指标;④检验现场(主要指机房或者机器设备间、井道、轿顶和底坑)应整洁,没有与电梯工作无关的物品和设备,基站、相关层站等检验现场应放置表明正在进行检验的警示牌;⑤对井道进行了必要的封闭;⑥应有电梯施工单位的2名以上持证专业人员配合检验;⑦特殊情况下,电梯设计文件对温度、湿度、电压、环境空气条件等进行了专门规定的,检验现场的温度、湿度、电压、环境空气条件等应当符合电梯设计文件的规定。
电梯年检检测操作标准第一章总则第一条为了加强公司电梯安装、维修保养和使用单位的安全管理,防止电梯运行时发生伤害事故,确保人身安全,根据省府《电梯安全管理暂行管理》,并依据GB 7588—5《电梯制造与安装安全规范》极其它有关电梯的国家标准,特制定本规程。
第二条凡乘客电梯、载货电梯,属下列情况之一的,应实施安全检测:1、新装或更新的电梯在交付使用前。
2、再用电梯每年一次。
3、重大改造或事故后。
第二章电梯安全检测前必须具备的条件第三条电梯安全检测时应提供的资料和文件。
1、制造厂或供应商应提供的资料和文件(其中1~8项验收后移交使用单位)。
(1)产品出厂合格证书。
(2)电梯机房井道图。
(3)电梯使用维护说明书。
(4)电梯的电器原理图及其符号说明。
(5)电梯电气接线图。
(6)电梯部件安装图。
(7)电梯安装调试说明书。
①层门锁闭装置。
②限速器。
③安全钳。
④缓冲器。
2、电梯安装单位应提供的资料和文件。
(1)国家建设部颁发的电梯生产许可证、安装许可证或省级劳动部门颁发的电梯制造、安装安全认可书证书副本。
(2)电梯安装合同。
(3)按安装规范验收的自验报告。
3、变更设计时,电梯使用单位应提供经制造厂或土建设计部门同意的变更设计的证明文件。
第四条电梯正常工作应符合GB 10058—8中3.2条的规定。
第五条己方地面平整,门窗应防风雨灰尘,机房入口楼梯或爬梯应设扶手,通往己方的道路应畅通,电梯不应使用临时电源线供电,并应对电梯进行清理和加润滑油。
第六条各部件铭牌上的参数应与安装的电梯参数相符。
第七条电梯安全检测时,安装单位或维修保养单位应派专人到现场配合。
第三章电梯的安全检测第八条机房1、机房应设固定照明和一个或多个电源插座。
2、应设停止电梯运行的非自动复位的红色“停止”开关。
第九条控制屏柜1、控制屏柜的安装尺寸应符合GB 7588—5中6.3条及GB 100603中4.1.5条的规定。
2、应设断相、错相保护及过载保护。
电梯年检检测操作标准第一章总则第一条为了加强公司电梯安装、维修保养和使用单位的安全管理,防止电梯运行时发生伤害事故,确保人身安全,根据省府《电梯安全管理暂行管理》,并依据GB 7588—5《电梯制造与安装安全规范》极其它有关电梯的国家标准,特制定本规程。
第二条凡乘客电梯、载货电梯,属下列情况之一的,应实施安全检测:1、新装或更新的电梯在交付使用前。
2、再用电梯每年一次。
3、重大改造或事故后。
第二章电梯安全检测前必须具备的条件第三条电梯安全检测时应提供的资料和文件。
1、制造厂或供应商应提供的资料和文件(其中1~8项验收后移交使用单位)。
(1)产品出厂合格证书。
(2)电梯机房井道图。
(3)电梯使用维护说明书。
(4)电梯的电器原理图及其符号说明。
(5)电梯电气接线图。
(6)电梯部件安装图。
(7)电梯安装调试说明书。
①层门锁闭装置。
②限速器。
③安全钳。
④缓冲器。
2、电梯安装单位应提供的资料和文件。
(1)国家建设部颁发的电梯生产许可证、安装许可证或省级劳动部门颁发的电梯制造、安装安全认可书证书副本。
(2)电梯安装合同。
(3)按安装规范验收的自验报告。
3、变更设计时,电梯使用单位应提供经制造厂或土建设计部门同意的变更设计的证明文件。
第四条电梯正常工作应符合GB 10058—8中3.2条的规定。
第五条己方地面平整,门窗应防风雨灰尘,机房入口楼梯或爬梯应设扶手,通往己方的道路应畅通,电梯不应使用临时电源线供电,并应对电梯进行清理和加润滑油。
第六条各部件铭牌上的参数应与安装的电梯参数相符。
第七条电梯安全检测时,安装单位或维修保养单位应派专人到现场配合。
第三章电梯的安全检测第八条机房1、机房应设固定照明和一个或多个电源插座。
2、应设停止电梯运行的非自动复位的红色“停止”开关。
第九条控制屏柜1、控制屏柜的安装尺寸应符合GB 7588—5中6.3条及GB 100603中4.1.5条的规定。
2、应设断相、错相保护及过载保护。
电梯检验合格证电梯检验合格证是指对电梯进行定期检验,并经过合格评定后颁发的证书。
该证书是电梯安全运行的重要凭证,也是保障乘客安全的一项重要措施。
下面将从电梯检验合格证的背景、作用、申请流程以及注意事项等方面进行详细介绍。
一、背景电梯作为现代城市交通工具和建筑物必备设施之一,承担着大量人员和物品的运输任务。
然而,由于长期使用和自然磨损等原因,电梯存在着一定的安全隐患。
为了确保乘客的人身安全和财产安全,各国纷纷制定了相关法律法规,并规定了电梯必须定期进行检验和评估。
二、作用1. 保障乘客安全:电梯检验合格证是对电梯是否符合安全标准的评估结果,其颁发意味着该电梯可以正常运行且不存在明显的安全隐患。
持有该证书可以增加乘客对于乘坐该电梯时人身安全的信心。
2. 遵守法律法规:电梯检验合格证是电梯是否符合法律法规的重要凭证。
持有该证书意味着电梯所有人或运营方已经按照相关要求进行了定期检验和维护,符合法律法规的要求。
三、申请流程1. 选择检验机构:根据当地相关法律法规的要求,选择具备资质和信誉良好的电梯检验机构。
2. 提交申请材料:联系选定的检验机构,提供相关的申请材料,包括电梯基本信息、使用年限、维护记录等。
3. 安排检验时间:根据双方协商确定具体的检验时间,并确保电梯处于正常运行状态。
4. 进行现场检验:由专业人员对电梯各项指标进行全面检查和测试,包括但不限于载重能力、安全装置、紧急救援系统等。
5. 验收评估:根据现场检测结果和相关标准,评估电梯是否符合安全要求,并出具相应的评估报告。
6. 颁发合格证书:符合安全要求的电梯将获得电梯检验合格证书,并由相应部门进行认证和签字盖章。
四、注意事项1. 定期检验:根据相关法律法规的要求,电梯应定期进行检验。
一般情况下,新安装的电梯在首次投入使用后需要进行初次检验,之后每隔一段时间(如每年或每两年)进行定期检验。
2. 检验机构资质:选择具备资质和信誉良好的电梯检验机构进行检验。
电梯维修人员工作守则1、必须持有北京市质量技术监督局颁发的特种设备操作证上岗;2、应具有所承担的维修工作相适应的技术能力与水平;3、努力学习和掌握国家技术监督局关于电梯维保、维修工作的有关技术规范及要求,钻研专业知识和维修技术;4、模范遵守和执行维保、修理单位的各种规章制度;5、熟知维修保养工作的安全操作规程及有关日、周、月、季的保养内容;6、服从工作安排,严格执行本单位的各项管理制度;7、工作中应与有关人员司机及其他的维修人员密切配合,做到不违章操作,严禁各种事故的发生;8、工作中,不做与自己本职工作无关的其他事情,确保安全施工;电梯常规检查制度为了贯彻国家及技术监督局相关文件规定的要求,结合实际情况,特制定常规检查制度;1、每月组织有关部门人员进行对有关电梯使用、运行工作状况的抽查;发现问题填写“整改意见书”,制定纠正和预防措施,保证检查工作的实效性;2、每月对在进行使用的电梯进行专检和抽检,确保电梯正常使用并满足标准要求;对在次月需要进行年度检验的电梯进行年度最终检验,保证年检电梯符合检验要求规范;3、电梯有关维修人员每天必须对自己管辖的电梯进行巡检,发现问题及时处理并做好故障记录,处理不了的问题及时上报主管人员,由电梯主管人中组织人员解决;4、电梯主管人员每月对电梯有关部门、人员的工作状况进行检查,对维修保养记录的填写状况如内容、签字、日期等进行检查,如有未签字或漏维修保养交记录的,按相关制度处理;5、每周要对电梯司机的工作状况、仪表、仪容、运行记录等进行检查,协调有关人员做好电梯司机的服务工作,主管人员每周至少一次对有关司机进行巡查,发现问题及时解决;6、主管人员每周对相关部门人员的工作进行检查,布置下周工作,切实做到本周工作本周完成;常规检查工作是一项很重要的工作,它需要有关人员积极的协调与配合,将电梯运行中的质量问题和不安全因素消灭在检查与整改中,以保证电梯的正常运行;电梯维修保养制度为保证电梯维修和保养工作各环节密切相连,做到随时维护巡检,每周保养,每月保养,每年度保养等特制定本维修、保养制度;1、每日对电梯进行巡检,发现问题及时处理并填写“故障维修记录单”;2、每周对电梯进行周保养,填写“周保养工作单”,主管人员应核实情况后,在“周保养工作单”上签字认可;3、每月最后一周进行月保养,将电梯的维修状况,故障及解决情况汇总,与其他质量记录等一并上交主管人员;4、每季度对电梯进行季度保养,需由主管人员配合,填写“季度保养工作单”,每部电梯每季度必须保养一次;5、每年在技术监督局检验之前,由主管人员及维保单位维修人员进行年度保养,填写“年度维保工作单”或“自检记录报告”;6、当电梯发生故障时,需两人进行操作电梯司机予以配合,电梯修复后要先进行试运行,确认无误后再投入运行,将修复状况填入“电梯维修工作单”并要求报修人员或配合维修人员确认签字;电梯机房管理制度1、电梯专用机房应做到随时上锁,门锁钥匙应由主管人员或专门人员保管;2、机房应通风良好,照明满足要求,门窗关闭灵活,任何季节机房内温度应保持在摄氏5度——40度之间;3、机房内应保持干净、整洁、严禁存放易燃易爆或危险物品,不准堆放其他杂物;4、机房内消防器材应放在显着位置,并保证齐备良好,并在有效期内;5、电梯机房应每周打扫一次卫生;6、闲杂人员不准进入机房,若因工作需要确定进入时,须经主管人员批准,并在专业人员陪同下进入机房;7、未取得特种设备操作证的人员,不得随意动用,操作电梯设备;8、由专业人员依据安全操作规程规定,保持机房内设备设施表面无积尘、无锈蚀、无油渍、无污物;保证电梯的正常运行;9、电梯机房因维修、保养等造成停梯时,应在基站挂出告示牌;电梯维修保养安全操作规程为贯彻执行国务院颁发的特种设备监察条例,国家总局及市质量技术监督局的有关规定,根据特种设备维修、保养的具体要求,编制该操作规程;凡从事本专业的工作人员应严格遵守执行;一、一般安全规定:1、凡上岗人员要取得特种设备操作证后方能参与维修、保养工作;2、凡是正式上岗人员一定要熟知维修、保养人员安全操作规程;3、严禁酒后操作和连续长时间工作;4、对电梯进行维修、保养作业,必须放置“保养、检修”警示牌;5、电梯维修应以检修速度运行电梯,维修完毕后以正常速度试车时;工作人员应撤离维修现场或站在安全的位置上;6、维修、保养工作至少应由两名持证人员进行;7、工作前必须穿戴好工作服,穿好绝缘鞋,严禁穿拖鞋、高跟鞋或赤脚作业;8、电梯在维修、保养期间严禁载客;9、电梯在盘车运行时,严禁任何人出入轿厢;10、维修人员应熟悉自己维护、保养电梯的型号、规格及一般故障的解决办法;11、严禁同时在机房、轿顶、轿内、底坑任何两部位同时进时维修和保养工作;二、维修、保养人员安全操作规程:在轿厢内工作时:1、进入轿厢前,首先看清轿厢是否停在本层,切不可只看楼层显示即进入层门、轿门,防止踏空坠落;2、进入轿厢后,要检查操纵盘各按钮是否灵活可靠,急停开关是否起作用,轿内照明是否正常;3、在轿厢内检修维护时,严禁将层门敞开走车,如检查门锁时,检查完毕应及时将门关闭,以免他人坠落;4、因故障层门暂不能关闭时,必须派专人监护或安好防护栏,挂好明显警示标志,防止他人误入井道;5、在轿厢内工作时,身体各部位不得超越轿厢地坎以外,若必须将身体某部位伸出时,一定要断开急停开关;6、无论何种情况严禁将身体站在轿厢与层门外之间的位置,以防“剪切”事故的发生;在机房内工作时:1、在机房内进行维修工作时,必须将电源开关切断除因工作需要,且有绝对把握外,挂好明显标记如严禁合闸并派专人看守;2、在机房操纵轿厢运行时必须与轿厢内或轿顶上、底坑下人员联系好,将层门、轿门关闭完好,门锁作用正常,方可操纵运行;严禁在层门敞开的情况下移动轿厢;3、在机房盘车前,必须与轿厢内,轿顶上、底坑下的人员联系好,为防止抱闸打开时轿厢产生意外溜车,操纵盘车人员应断续工作,并做好随时刹车准备;4、接近带电体工作时,要有防护触电措施并有专人监护;5、检查、维修控制柜内各电器元件时,必须断电工作;6、维修用手持电动工具须由专业人员保管,使用时按规定做好接零保护;在轿顶上工作时:1、在轿顶工作必须戴好安全帽,穿好绝缘鞋,袖口、裤口均应扣紧;2、在轿顶上不应超过三人同时工作;3、在轿顶上工作不准开快车,必须用检修速度运行,且应由轿顶控制开或停;4、轿厢行驶时,不准将身体任何部位探出安全护栏外;5、在进入轿厢顶部之前,首先看清楚轿厢是否在本层理想的位置上,不可只看楼层指示灯;即进入轿顶,防止踏空坠落;6、在任何情况下,不可将身体跨于层门之间工作,更不可将身体某部位探于中间梁下、层门口下及各种支架下进行工作;若确实因工作需要;应具有切实可行的安全措施并切断总电源;7、在对电梯进行维护时,相邻电梯应相互呼应,以确保安全,如果确实难以达到安全要求时,应将相邻电梯关闭;8、在轿顶工作时,轿内操作人员必须听从轿顶操作人员指挥;9、在轿顶维修完毕,离开轿厢时,操作人员应把层门关好,轿顶各开关恢复正常;在底坑工作时:1、在底坑内工作应戴好安全帽,将急停开关断开,禁止在电缆、绳索或导轨上滑行、摇荡或攀爬;2、工作时需要用上、下底坑使用爬梯时,梯脚要落在实处,梯子上端不得靠在导轨上;3、在检查换速、限位和极限开关等安全开关时,维修人员必须注意选好安全可靠的身体位置,司机配合要精神集中,听从维修人员的统一指挥,开车前一定要重复口令;4、在底坑工作确需要开车时,维修人员一定要站在安全位置;以防被电缆、轿厢护脚板及平衡链兜碰倒;5、底坑在有维修人员工作时,轿厢就停止运行,如需要启动电梯上、下行时,启动之前,维修人员一定要注意站在安全位置;6、在底坑工作完毕后,维修人员应恢复各开关,确认完全正常后,方可爬出底坑,关好层门后,进行试运行;7、工作完毕后,在爬出底坑时,电梯轿厢至少应停靠距最低层三层以上,以确保维修人员安全撤离;应急措施和救援预案应急措施和救援预案是特种设备——电梯的管理、运行过程中不可缺少的一项,具体制度与要求在国务院第373号令即特种设备监察条例第三十一条中明确规定:特种设备作用单位应当制定特种设备的事故应急措施和救援预案,由此可见其重要性,故特编制此;一、紧急电话1、急救中心 120或9992、火警 1193、报警服务 1104、维保人员电话罗建国5、维保单位电话维保部二、时间:接到救援信息后,维修工必须在5分钟之内赶到现场;三、因停电造成电梯停梯时的措施运行中的电梯将会因供电线路的故障或限电等原因造成突然停梯,将乘客困在轿厢内,则应采取如下方法处理:1、如果有司机操作,司机应对乘客说明原因,使乘客保持镇静并与维修人员联系,进行断电拉闸盘车放人操作,详见故障状态救援操作规程;2、如无司机操作,维修人员到达现场后应与轿厢内被困人员取得联系,说明原因,使乘客保持镇静等待;有备用电源的应及时启用备用电源;3、若恢复送电需要较长时间,则应进行盘车放人操作,解救被困乘客,盘车方法详见故障状态救援操作规程;4、恢复送电后,及时与轿厢内乘客联系,重新选层恢复电梯正常运行;四、因电梯故障停梯时的措施电梯运行过程中,因电梯故障等原因而突然停梯,将乘客困在轿厢内时,维修人员应安慰乘客安静等待,等待救援,不要擅自行动,以免发生不必要的危险;为解救被困乘客,应由维修人员或在专业人员指导下进行盘车放人操作,具体操作内容见故障状态救援操作规程;在解困之前主管、维修人员应做好下列工作:1、若有司机操作,司机应安慰乘客镇静等待,劝阻乘客不要强行扒动轿门;2、告之乘客不要倚靠轿门,不要在轿内吸烟、吵闹;3、必须听从应救援人员指挥;五、发生火灾时的措施建筑物或电梯间发生火灾后应以立即中止电梯运行为原则,并采取如下措施:1、及时与消防部门取得联系,告之火情实际情况,如:地区位置、楼层高低、灾情大小、有无困人等等情况;2、及时通报单位领导及救援小组组长等相关人员;3、发生火灾时,对有消防运行功能的电梯,应立即砸开消防功能玻璃,并按动“消防按钮”使电梯进入消防状态;此消防状态启用后一般人不允许再启动电梯,而只供消防人员及有资格的人员使用;4、对于无消防功能电梯应立即将电梯直驶或选层到基站并切断电源或将电梯停于火情尚未蔓延的楼层;5、有关人员组织疏导乘客尽快离开轿厢,在步行楼梯安全撤离;并将电梯至于“停止运行”状态,用手关闭轿门并切断总电源;6、井道内或轿厢发生火灾时,应立即停止运行并疏导乘客尽快撤离,切断电源,用干粉灭火器进行灭火扑救;7、共用井道中发生火灾情况时,其余相邻电梯应立即停于远离火情区,供专业人员或消防人员灭火使用;8、相邻建筑物发生火灾时,也应立即停梯,以免因火灾停电造成电梯停电而造成困人事故;六、电梯漏水时的措施电梯机房一般处于建筑物的最高层,底坑处于建筑物的最低层,井道通过层站与楼道相连接,机房会因屋顶或门窗漏雨而进水,底坑除因建筑物防水层处理不好而渗水外,还会因暖气、上下水管道、家庭用水及因施工不当的跑水等、使水从楼层经井道流入底坑;发生洪水时,井道轿厢及底坑各设施、电器开关等也会遭遇水淹;发生漏水事故除从建筑设施上采取堵漏措施外,还应采取应急措施:1、当底坑内出现少量水或渗水较多时,应将电梯停在二层以上,中止运行并切断总电源;2、当楼层发生跑水、水淹而使井道或底坑进水时,应将轿厢停于进水层的上一层,中止运行,切断总电源,以防止轿厢进水;3、当机房或底坑进水较多,应立即停梯,切断总电源,以防止发生短路触电事故;4、当发生漏水时,应尽快切断漏水源,以保证电器设备不沾水或少沾水;5、漏水电梯在正常使用前应进行除湿处理,如采取擦拭,热风吹干,自然通风,更新管线及有关部件等方法,确认湿水消除,绝缘电阻经重新测试符合要求并经试运行无异常后,方可投入运行;6、电梯恢复运行后,对漏水原因、处理方法、防范措施等应记录并存档备查;七、发生地震时的措施1、当接到有省、自治区、直辖市人民政府发布临震预报时,由主管领导通知乘客按照国务院发布的破坏性地震应急条例执行;当地震已经发生,其震级为四级以下,烈度为六度以下时,应对电梯进行如下检测:(1)检查测试电梯供电系统有无异常;(2)电梯主结构,如机房、井道、轿厢有无异常;(3)电梯以检修速度上、下全程运行若干次,发现异常立即停梯,并使电梯停靠在基站,由专业维修人员检查修理;(4)电梯以检修速度上、下全程运行若干次无异常现象时,方可进行试运行,经多次试运行一切正常后,方可投入使用;(5)当地震震级为四级含四级以上,烈度为六度以上时,应由专业人员对电梯进行全面安全检验,无异常现象或对电梯进行检修后方可做试运行;(6)试运行正常后,应由特种设备检验部门的专业检测人员进行全面的安全检测,经检测合格领取电梯安全检验合格证后方可正常运行 ;故障状态救援操作规程电梯运行中因电梯故障或供电中断等到原因突然停驶,将乘客困在轿厢内,应由维修人员及有关人员进行紧急救援,特制定本操作规程;1、电梯在故障状态救援须由专业维修人员进行;2、救援人员需要保持镇静,及时与单位及有关人员取得联系,告之具体情况;3、电梯司机应向乘客说明故障原因,使乘客镇静等待,并劝阻乘客不要强行扒轿门或企图出入轿厢,并与维修人员取得联系;4、不准从轿厢的安全窗撤离被困人员,以防发生人身伤害事故;5、确定统一指挥、监护、操作人员;6、指挥人员、维修人员应了解被困人数及健康情况,轿厢内应急灯是否完好,轿厢所停层站位置,以便开始救援操作;7、在救援工作开始前,必须先检查各层门是否关闭;8、在救援操作前先通知被困人员,救援操作将开始,请司机或乘客予以配合;9、在机房应拆去曳引电动机轴尾的防护罩若有的情况下;10、按照电梯手动盘车须知程序进行操作;11、当轿厢未超出顶层或底层平层位置时,可向较省力的方向移动轿厢;当电梯超出顶层或底层的平层位置时,则应向顶层或底层的反方向移动轿厢;12、故障状态下救援工作结束后,应由维修人员全面检查故障原因,并及时处理恢复电梯的正常运行;13、维修人员及有关人员应将故障原因及排除方法记录在事故记录本上备查;电梯手动盘车须知1、手动盘车前必须切断电梯主电源开关;必须保持轿门关闭;2、通过对讲电话或其它办法告之轿厢内乘客,不要依靠在轿厢门上,尽量远离轿厢门,听从操作人员指挥;3、手动盘车操作至少应由三人以上进行,一人用开闸搬手一松一紧的释放制动器,另外二人进行盘车;4、盘车时应缓慢进行,尤其当轿厢轻载状态下,往上盘车时防止因对重侧重,造成溜车;5、当将轿厢盘至就近层站平层时,应停止盘车,并使制动器复位;6、确认制动可靠后,手应放开或拿下盘车手轮;7、从曳引绳层标及其他措施确认轿厢平层位置后,维修人员到轿厢停站楼层,用外开机械钥匙打开层、轿门放出被困人员;8、对无变速齿轮箱的电梯进行盘车时,应加倍小心,防止因电梯轿厢的总重量所产生的重力加速过大而失去控制;9、当电梯冲顶闸车时,应由专业人员用吊链将轿厢向上吊起,使安全钳自然复位;然后再进行手动盘车;10、救援结束后,检查电梯故障原因,清除故障,恢复正常运行;。
电梯验收合格牌简介电梯验收合格牌是指在电梯安装完成后,经过合格的检测和验收后所颁发的一种证明。
它的目的是为了确保电梯能够安全运行并满足相关法规和标准的要求。
电梯验收合格牌的重要性电梯是公共场所或住宅楼中常见的交通工具之一,它的安全性对于人们的生命财产安全至关重要。
电梯验收合格牌的发放可以确保以下几个方面的重要性:1. 安全性保障:电梯验收合格牌的发放代表该电梯已经经过了严格的检测和验收,符合运行的安全要求。
这将确保乘客在搭乘电梯时不会遇到安全问题。
2. 法规要求:电梯行业有一系列的法规和标准,对于电梯的设计、安装和维护等方面都有具体的规定。
电梯验收合格牌的发放是对这些法规要求的遵循和证明。
3. 信任建立:电梯验收合格牌是对电梯供应商、安装商和维护商的信任建立。
乘客通过看到电梯上的合格牌,可以放心地使用该电梯,因为他们知道该电梯已经通过了专业检测和验收。
电梯验收合格牌的要求电梯验收合格牌的发放需要满足以下一些要求:1. 合格的检测和验收:电梯安装完成后需由专业的机构或相关部门进行检测和验收。
他们会对电梯的各项功能进行测试和评估,确保其能够正常运行和满足相关要求。
2. 相关证明文件:除了检测和验收报告外,还需要提交一些相关证明文件,如电梯设计方案、安装合同等。
这些文件将作为验收的依据和参考。
3. 合格牌规定:电梯验收合格牌需要符合特定的规定。
通常包括合格牌的尺寸、颜色、标志等要求。
这些规定旨在使合格牌易于辨认和识别。
4. 定期更新:电梯验收合格牌通常有有效期限制。
一般来说,合格牌需要定期更新,以确保电梯的安全性和功能仍然符合要求。
总结电梯验收合格牌在保障电梯安全、遵循法规要求和建立信任方面起着重要作用。
在使用电梯时,乘客可以通过观察合格牌来判断电梯的安全性和可靠性。
因此,电梯验收合格牌的发放和定期更新是电梯行业中一个必要且重要的环节。
电梯年检检测操作标准第一章总则第一条为了加强公司电梯安装、维修保养和使用单位的安全管理,防止电梯运行时发生伤害事故,确保人身安全,根据省府《电梯安全管理暂行管理》,并依据GB 7588—5《电梯制造与安装安全规范》极其它有关电梯的国家标准,特制定本规程。
第二条凡乘客电梯、载货电梯,属下列情况之一的,应实施安全检测:1、新装或更新的电梯在交付使用前。
2、再用电梯每年一次。
3、重大改造或事故后。
第二章电梯安全检测前必须具备的条件第三条电梯安全检测时应提供的资料和文件。
1、制造厂或供应商应提供的资料和文件(其中1~8项验收后移交使用单位)。
(1)产品出厂合格证书。
(2)电梯机房井道图。
(3)电梯使用维护说明书。
(4)电梯的电器原理图及其符号说明。
(5)电梯电气接线图。
(6)电梯部件安装图。
(7)电梯安装调试说明书。
①层门锁闭装置。
②限速器。
③安全钳。
④缓冲器。
2、电梯安装单位应提供的资料和文件。
(1)国家建设部颁发的电梯生产许可证、安装许可证或省级劳动部门颁发的电梯制造、安装安全认可书证书副本。
(2)电梯安装合同。
(3)按安装规范验收的自验报告。
3、变更设计时,电梯使用单位应提供经制造厂或土建设计部门同意的变更设计的证明文件。
第四条电梯正常工作应符合GB 10058—8中3.2条的规定。
第五条己方地面平整,门窗应防风雨灰尘,机房入口楼梯或爬梯应设扶手,通往己方的道路应畅通,电梯不应使用临时电源线供电,并应对电梯进行清理和加润滑油。
第六条各部件铭牌上的参数应与安装的电梯参数相符。
第七条电梯安全检测时,安装单位或维修保养单位应派专人到现场配合。
第三章电梯的安全检测第八条机房1、机房应设固定照明和一个或多个电源插座。
2、应设停止电梯运行的非自动复位的红色“停止”开关。
第九条控制屏柜1、控制屏柜的安装尺寸应符合GB 7588—5中6.3条及GB 100603中4.1.5条的规定。
2、应设断相、错相保护及过载保护。
电梯机房管理制度1、电梯专用机房应做到随时上锁,门锁钥匙应由主管人员或专门人员保管;2、机房应通风良好,照明满足要求,门窗关闭灵活,任何季节机房内温度应保持在摄氏5度—40度之间;3、机房内应保持干净、整洁,严禁存放易燃易爆或危险物品,不准堆放其它杂物;4、机房内消防器材应放在显着位置,并保证设备良好,在有效期内;5、电梯机房应每周打扫一次卫生;6、闲杂人员不准进入机房,若因工作需要进入时,须经主管人员批准,并在专业人员陪同下进入机房;7、未取得特种设备操作证人员,不得随意动用,操作电梯设备;8、由专业人员依据安全操作规程规定,保持机房内设备设施表面无积尘、无锈蚀、无油污.保证电梯正常运行;9、电梯机房因维修、保养等造成停梯时,应在基站挂出告示牌.应急措施和救援预案应急措施和救援预案是特种设备—电梯在管理、运行过程中不可缺少的一项,具体制度与要求在国务院第549号令即特种设备监察条例规定:特种设备使用单位应当制定特种设备的事故应急措施和救援预案,由此可见其重要性,故特编制此.一、紧急1、急救 1202、火警 1193、报警服务 1104、维保单位救援:5、维保人员:6、节假日值班:二、时间:接到救援信息后30分钟之内;三、因停电造成电梯停梯时的措施运行中的电梯将会因供电线路的故障或限电等原因造成突然停梯,将乘客困在轿箱内,则应采取如下方法处理:1、如果有司机操作,司机应对乘客说明原因,使乘客保持镇静并与维修人员联系,进行断电拉闸盘车放人操作,详见故障状态救援操作规程;2、如无司机操作,维修人员到达现场后应与轿箱内被困人员取得联系,说明原因,使乘客保持镇静等待.有备用电源的应及时启用备用电源;3、若恢复送电需要较长时间,则应进行盘车放人操作,解救被困乘客,盘车方法详见故障状态救援操作规程;4、恢复送电后,及时与轿箱内乘客联系,重新选层恢复电梯正常运行四因电梯故障停梯时的措施电梯运行过程中,因电梯故障等原因而突然停梯,将乘客困在轿厢内时,维修人员应安慰乘客安静等待,等待救援,不要擅自行动,以免发生不必要的危险.为解救被困乘客,应由维修人员或在专业人员指导下进行盘车放人操作,具体操作内容故障状态救援操作规程.在解困之前,主管、维修人员应该做好下列工作:1、若有司机操作,司机应按为乘客镇静等待,劝阻乘客不要强行扒动轿门;2、告知乘客不要依靠轿门,不要在轿厢内吸烟、吵闹:3、必须听从应急救援人员指挥.五、发生火灾时的措施建筑物或电梯间发火灾后应以立即终止电梯运行为原则,并采取如下措施:1、及时与消防部门取得联系,告知火情实际情况,如:地区位置、楼层高低,灾情大小、有无困人等等情况;2、及时通报单位领导及救援小组组长等相关人员;3、发生火灾时,对有消防运行功能的电梯,应立即砸开消防功能玻璃,并按动“消防按钮”使电梯进入消防状态.此消防状态启用后一般人不允许再启动电梯,而只供消防人员及有资格人员使用;4、对于无消防功能电梯应立即将电梯直驶或选层到基站并切断电源或将电梯停于火情尚未蔓延的楼层;5、有关人员组织数到乘客尽快离开较厢,在不行楼梯安全撤离.并将电梯至于“停止运行”状态,用手关闭较门并切断总电源;6、井道内或较厢发生火灾时,应立即停止运行并疏导乘客尽快撤离,切断电源,用干粉灭火器进行灭火扑救i;7、共用井道中发生火灾情况时,其余相邻电梯应立即停于远离火情区,供专业人员或消防人员灭火使用;8、相邻建筑物发生火灾时,也应立即停梯,以免火灾停电造成电梯停电而造成困人事故;六、电梯漏水时的措施电梯机房一般处于建筑物的最高层,低坑处于建筑物的最底层,井道通过层站与楼道相连,机房会因房屋顶或门窗漏雨而进水,地坑处因建筑物防水层处理不好而渗水外,还会因暖气、上下水管道、家庭用水及因施工不当的跑水等,使水从楼层经井道流入底坑.发生洪水时,井道较厢及低坑各设施、电器开关等也会遭遇水淹.发生漏水事故除从建筑设施上采用堵漏措施外,还应采取应急措施:1、当低坑内出现少量水或渗水较多时,应将电梯停在二层以上,终止运行并切断总电源;2、当楼层发生跑水,水淹而使井道或底坑进水时,应将轿厢停与进水层的上一层,终止运行,切断总电源,以防止轿厢进水;3、当机房或底坑进水较多,应立即停梯,切断总电源,以防止发生短路触电事故;4、当发生漏水时,应尽快切断漏水源,以保证电器设备不沾水或少沾水;5、漏水电梯在正常使用前应进行除湿处理,如采取擦拭,热风吹干,自然通风,更新管线及有关部件等方法,确认湿水消除,绝缘电阻经重新测试符合要求并经试运行无异常后,方可投入运行;6、电梯恢复运行后,对漏水原因、处理方法、防范措施等应记录清楚并存档备案.七、发生地震时的措施1、当接到有省、自治区、直辖市人民政府发布临震预报时,由主管领导通知乘客按照国务院发布的破坏性地震应急条例执行2、当地震已经发生,其震级为四级以下,烈度为六度以下时,应对电梯进行如下检测:1检查测试电梯供电系统有无异常;2电梯主结构机房、井道、轿厢有无异常;3电梯以检修速度上下全程运行若干次,发现异常立即停梯,并使电梯停靠在基站,由专业维修人员检查修理;4电梯以检修速度上、下全过程运行若干次无异常现象时,方可进行试运行,经多次试运行一切正常后,方可投入使用;5当地震震级为四级含四级以上,烈度为六度以上时,应由专业人员对电梯进行全面安全检查,无异常现象或对电梯进行检修后方可正常运行;6试运行正常后,应由特种设备检验部门的专业检测人员进行全面的安全检测,经检测合格领取电梯安全检验合格证后方可正常运行.机房紧急救援操作程序一、救护人员需要保持镇静,及时与所在地服务中心取得联系,并告之具体情况.二、与乘客取得联络,稳定其情绪,并告诉乘客已采取急救措施.三、确定统一指挥、监护、操作人员.四、切断机房主电源,确认厅门、轿门是否关闭.通知轿箱内人员不要进轿门,注意避免被货物碰伤、砸伤.五、机房人员与其它救援人员保持良好联系,操作前先通知各有关人员,得到应答后方可操作.六、确认电梯急停位置,定下电梯救援楼层,一人在那与机房联系配合放人.七、机房两人操作,一人操作下降阀或手动上升装置,一人负责与救援层人联系,确认电梯停靠在合适位置.八、通知有关人员机房操作完毕,打开电梯厅门、轿门放人或卸货.九、查看是否有乘客受伤,货物受伤.电梯管理制度为确保电梯安全运行,保障人身和财产的安全,依据特种设备质量监督与安全监督规定,特规定如下:1、电梯使用单位必须对电梯使用运行的安全负责,应至少设电梯安全管理人员一名.并建立健全电梯设备技术档案及有关管理制度.2、电梯使用单位必须委托有市质量技术监督局签发的有资质许可的电梯专业维修保养单位对电梯设备进行维修、保养,以保证电梯的安全运行.3、在用电梯实行定期检验制度,检验有效期为一年,为经检验或超过检验周期或经检验不合格的电梯不得继续使用.4、电梯安全检验合格证应粘贴在电梯轿箱内明显位置.每台电梯都应有明显的安全乘客须知或电梯使用须知.5、严格执行电梯设备的常规检查制度,当发现电梯有异常情况时,必须立即整改,严禁带故障运行,各种检查应均有记录,并存档备查.6、电梯使用单位负责人每年至少组织一次电梯电梯救援预案演习,并记录在案备查.7、新装、大修、改造电梯前,应到市或辖区质量技术监督机构办理告之手续,方可交付使用.8、电梯维修、保养人员及司机必须经专业培训和考核,取得特种设备作业人员资格证书后,方可从事相应工作.9、电梯司机应做到①严格遵守有关规章制度②认真执行安全操作规程和工作守则③及时制止违章乘梯,宣传安全乘梯使用须知.10、电梯发生严重事故或致使人员伤亡事故,使用单位要保护号现场,并应采取紧急救援措施立即报告特种设备安全监察部门.。