手术室工作流程图
- 格式:doc
- 大小:73.00 KB
- 文档页数:25
围手术期服务规范及流程图
一、规范要求:
按医嘱对病人进行合理而周密的围手术期服务。
二、规范程序:
1.核对医嘱,通知责任护士。
2.责任护士对病人及家属进行全面评估,做好术前健康宣教。
3.为病人做好各项术前准备工作(检查、备皮、皮试、发放手术衣裤)。
4.通知手术室,及时进行手术病人术前访视。
5.书写护病记录,与夜班交班。
6.夜班护士再次评估病人,按医嘱给予相应的术前晚准备工作。
7.手术当日晨再次评估病人整体情况,测T、P、R、BP等,更换手术衣,
按
医嘱给术前用药。
8.送手术室前检查其贵重物品是否保管好。
1.护送病人至手术室,与手术室护士核对病人的腕带,做好术前用药、病历
资料等交接工作。
10.回病房准备好床单位及病人手术后的准备工作。
三、规范标准:
1.做好病人及家属健康宣教工作,减轻对手术的恐惧感。
2.做好病人各项术前准备工作。
3.保持记录准确、完整。
围术期护理流程图。
手术室护理工作程序及操作流程图目录第一部分、手术室专科护理工作程序与流程一、外科手消毒程序二、洗手护士工作程序三、巡回护士工作流程四、接患者至手术室工作流程五、术后送患者回病房或ICU工作流程六、取血程序七、输血过程八、标本处理程序九、手术后器械、敷料处理程序十、基础护理技术操作程序和流程1、无菌技术操作流程2、静脉留置针输液操作程序3、女性留置导尿或导尿术操作程序第二部分、手术室护理常规操作流程图1、外科洗手流程图 (01)2、洗手护士工作流程图 (02)3、巡回护士工作流程图 (04)4、手术标本去向流程图 (06)5、手术室接病人流程图 (07)6、手术室送病人流程图 (08)7、一般器械清洗流程图 (09)8、感染器械清洗流程图 (10)9、手术室输血流程图 (11)10、手术风险评估流程图 (12)11、手术安全核查工作流程 (13)12、手术部位识别标示流程图 (14)13、腹腔镜胆囊切除手术配合常规流程图 (15)14、腹股沟斜疝修补手术配合常规流程图 (16)15、阑尾切除术手术配合常规流程图 (17)16、肾切除术手术配合常规流程图 (18)17、输尿管切开取石术手术配合常规流程图 (19)18、全子宫切除术手术配合常规流程图 (20)19、卵巢囊肿剔除术手术配合常规流程图 (21)20、股骨下端骨折切开复位术手术配合常规流程图 (22)21、人工全髋关节置换术手术配合常规流程图 (23)22、内固定取出术手术配合常规流程图 (24)23、鼻中隔偏曲矫正手术配合常规流程图 (25)24、支撑喉镜下声带息肉摘除术手术配合常规流程图 (26)25、混合痔切除术手术配合常规流程图 (27)26、肛瘘切除术手术配合常规流程图 (28)第一部分、手术室专科护理工作程序与流程二、外科手消毒程序(一)清洗双手、前臂及上臂下1/31.洗手之前应当先摘除手部饰物,并按要求修剪指甲。
2.取适量清洗剂,按洗手的揉搓顺序揉搓双手的每个部位、前臂和上臂下1/3。
手术室与病房交接流程图交接流程图是一种图形化的工具,用于展示手术室与病房之间的交接过程。
通过该流程图,可以清晰地了解手术室与病房之间的工作流程,确保患者在手术室和病房之间的安全和顺利转移。
以下是手术室与病房交接流程图的标准格式:1. 开始:手术室准备交接- 手术室护士和病房护士在指定的时间和地点集合。
- 手术室护士向病房护士提供手术室的相关信息,如患者姓名、手术类型、手术时间等。
- 手术室护士与病房护士一起核对患者的身份和手术准备情况。
2. 手术室准备- 手术室护士核对手术室设备和药品的完整性和有效性。
- 手术室护士与麻醉师一起核对麻醉药品和设备的准备情况。
- 手术室护士准备手术室,确保手术室的清洁和无菌。
3. 病房准备- 病房护士核对病房设备和药品的完整性和有效性。
- 病房护士与患者进行交流,告知患者即将进行手术的相关信息,如手术时间、手术室位置等。
- 病房护士协助患者进行必要的准备工作,如测量体温、清洁等。
4. 手术室与病房之间的交接- 手术室护士将患者从病房推送到手术室,确保患者的安全和舒适。
- 手术室护士与病房护士一起核对患者的身份和手术准备情况。
- 手术室护士将患者交接给手术室的麻醉师,并告知麻醉师患者的相关信息。
5. 手术室准备- 麻醉师与手术室护士一起核对麻醉药品和设备的准备情况。
- 麻醉师与手术室护士一起准备患者的麻醉。
- 手术室护士核对手术室设备和药品的完整性和有效性。
6. 手术进行- 医生进行手术操作,麻醉师对患者进行麻醉监护。
- 手术室护士协助医生进行手术操作,确保手术的顺利进行。
7. 手术结束- 医生完成手术操作,麻醉师停止麻醉。
- 手术室护士清点手术室设备和药品,确保没有遗漏。
- 手术室护士将患者从手术室推送到病房,确保患者的安全和舒适。
8. 病房接收- 病房护士接收患者,并核对患者的身份和手术准备情况。
- 病房护士将患者安置在病房床位上,并进行必要的护理工作。
- 病房护士向手术室护士反馈患者的情况和病房的准备情况。
手术室各种工作流程洗手护士工作流程手术前一天了解手术名称、熟悉手术步骤,认真做好术前准备↓手术当日认真查对病人,消除病人紧张情绪↓严格查对物品执行无菌操作技术,铺无菌台,保证物品齐全↓按要求刷手、穿无菌手术衣、戴无菌手套、整理器械台↓与巡回护士认真清点物品↓协助医师穿手术衣、戴手套、铺无菌巾↓术中认真配合,严格管理物品↓监督指导无菌操作↓认真核对,保管好病理标本↓关闭体腔前后和皮肤完全缝合后,与巡回护士认真清点物品↓认真做好始末处理(器械整理、标本处理),物品归位巡回护士工作流程手术前一天进行手术前访视,认真做好术前准备↓手术当日,认真查对病人,安慰、体贴病人↓协助麻醉师进行麻醉↓按要求认真做好手术前准备↓严格无菌操作↓与洗手护士认真清点物品↓协助医师消毒、穿手术衣↓监督、指导医务人员的无菌操作↓随时供应手术中所需物品,认真核对严密观察病情,标记好病理标本↓关闭体腔前后和皮肤完全缝合后,与洗手护士认真清点↓按要求做好终末处理,整理手术间物归原处洗手护士急诊手术工作流程洗手护士接到急诊手术通知后,立即准备手术物品↓待病人接进手术间后,评估病情↓↓洗手配合手术与巡回护士一起抢救(以下同常规手术配合)巡回护士常规手术工作流程根据手术通知单核对病人(科别姓名性别年龄手术名称手术部位手术间)↓接病人至手术间,协助病人安全平卧于手术床上↓根据手术部位,评估.选择并建立外周静脉通路↓协助麻醉医生麻醉↓协助手术医生摆好病人体位↓对好无影灯,摆好托盘,连接吸引器.电刀↓与洗手护士清点物品并正确记录,协助并监督手术医生常规消毒铺单,协助手术人员穿手术衣↓负责供应手术台上所有无菌物品,并监督手术人员无菌操作.执行麻醉医师的医嘱↓关闭胸腹腔前.后与洗手护士清点物品(如无洗手护士应与手术医生清点)↓手术结束协助覆盖伤口,将病人安全移至手术平车上并送出手术间↓整理手术间,补充物品,所有物品物归原处注:术中执行医嘱时,应口头核对两遍并经两人核对安剖后方可执行.巡回护士急诊手术工作流程急诊手术通知后,立即与麻醉医生联系并通知手术室工人接病人↓准备手术用物↓核对手术病人后接至手术间↓帮助病人安全平卧与手术床上↓根据手术部位,评估并选择建立外周静脉(以下同常规手术配合)穿.脱手术衣操作流程着洗手衣裤.xx口罩,帽子↓┝用物:对开始无菌手术衣┝环境:足够的空间↓穿衣→取手术衣→手持衣领,轻轻抖开→向上轻掷→双手和前臂顺势伸入衣袖内→双臂向前平行伸展→巡回护士协助拉衣.系带→双手摆放胸前↓脱衣→巡回忽视协助松解背部系带→左手抓住右肩手术衣外面,自上而下,将衣袖外翻.下拉至肘部→同法,右手抓住左肩手术衣,自上而下脱去→侧衣袖→左手脱去右手衣袖,脱去手套→扔于污物袋内(全过程保持双手几手臂不被污染)xx.脱无菌手套操作流程着洗手衣裤.xx口罩,帽子,修剪指甲┝用物:无菌手套┝环境:清洁↓戴手套→查手套规格.有效期.包装→打开手套袋→捏提手套袋的外侧面,显露手套,查看手套放置方向→右手拇指.示指捏住手套反折部(拇指相对),顺势从手套袋捏提出手套→右手拿手套反折处(不能触及手套外面)→左手四指张开伸入手套内,最后伸入拇指,戴好左手套→已戴手套的左手四指伸入右手手套的反折部里面,撑开手套(左手不可触及手套内面及未戴手套的手)→同法,戴好右手套→将衣袖口稍向下拉,手套反折部套住衣袖口→用无菌盐水将手套上残留滑石粉冲洗干净,双手置于胸前.↓脱手套→流动水洗净手套表面血迹→右手拇指.示指握住左侧手套边缘,外翻手套,反折至大鱼际肌处→同法,左手将右手手套反折,并顺势脱下手套→已脱手套的右手拇指,伸入左手手套内面将手套脱下(报纸双手不触及手套外面,避免污染)↓整理→整理用物,放归原处.穿针引线操作流程着装整齐.修剪指甲.xx手套用物:针.线.持针器操作步骤→右手拇指.环指拿持针器→夹持缝针→放于左手上→右手拇指与示指或中指示持线→穿针→拇指指腹顶住针尾,示指将线头带出→拇指.示指.中指的合力→并将回头线卡入持针器前端开口处,固定缝线→放针(针尖朝上)刷手操作流程着洗手衣裤.xx口罩.帽子.修剪指甲用物:刷子毛巾洗手液擦手液↓清洗双手→取肥皂或洗手液→清洗双手→腕部→前臂→肘→上臂下段→流动水冲洗干净↓机械刷手→拿出无菌毛刷→取洗手液适量(约5ml)→刷指尖.指镤→指缝.手掌.手背→前臂→肘→上臂下段(以上各步为左右手交替进行)↓冲洗手臂→放下刷子→冲洗双侧手指→微握双手.双手稍抬高→水顺手.上臂想肘部淋下,不可倒流↓擦干手臂→取无菌毛巾→擦干双手→将毛巾对折成三角形搭在一侧手背→另一只手握住两角顺势向上至肘部擦干→反转毛巾,同法擦干另一侧↓消毒手臂→取消毒液适量(约5ML)→用力充分揉搓双手掌.手臂.肘部至干燥→双手合拢,置于胸前.常用无菌技术操作流程着洗手衣裤戴口罩帽子修剪指甲┝用物:无菌器械包无菌持物钳无菌剪刀生理盐水┝环境:整洁安静↓开无菌器械包→查器械包明称.有效期.化学指示胶带→解绳.缠绕置于包的下面→双手捏住包布反折边,按”先对侧后近侧”顺序打开第一层包布→右手持无菌钳打开第二层包布(顺序同第一层)→将碗.弯盘.杯子等物品定位放置.摆放整齐↓使用无菌持物钳→取放时,钳端闭合,不可触及容器口边缘及液面以上的容器内壁;使用时.保持钳端向下,不可向上,以免消毒液倒流污染;远处取物时,应将钳子连同容器一并搬移,就地取出使用;使用后,立即将钳子放回容器内.↓倒无菌溶液→检查药品名称.质量.有效期→取铝盖→消毒瓶口→去瓶塞→冲洗瓶口→倒液:要求瓶签向着掌心,液体自冲洗后的瓶口流出.沿碗壁徐徐流下至需要量,不可液体四溅↓整理→将固定绳子.器械标签.液体瓶等,定位放置整齐注意:舞剧持物钳用1台1换;手术历时长,每4小时更换1套连台手术之间手术间的处理流程第一台手术结束后,待病人送出手术间↓洗手护士将前台手术所用的布类丢入门外的污衣桶内↓洗手护士将前台手术术后器械整理后放到外走廊↓保洁工立即回收所有垃圾出手术间↓巡回护士更换床单↓保洁工用含氯制剂擦拭手术间所有台面↓保洁工用含氯制剂拖拭地面↓巡回护士用遥控启动动态消毒机进行一小时的空气消毒工作人员进入手术室流程入口管理处登记、交胸牌↓领取鞋柜、衣柜钥匙、隔离鞋、洗手衣裤、口罩、帽子↓换鞋处更换隔离器,进入更衣室↓戴好帽子、口罩,穿好洗手衣↓经过隔离门,进入手术区域工作人员出手术室流程手术结束,在手术间脱去手术衣,手套↓在洗手池采用“七步洗手法”洗手↓经过隔离门出手术室区域↓在更衣室取下帽子、口子在放入黄色垃圾桶内,洗手衣裤放入黄色污衣车内↓换鞋处换鞋,将隔离鞋放入脏鞋桶内,入口管理处交换钥匙,换回胸牌↓出手术室高频电刀的操作流程1.现代高频电刀功能设计多,在使用前应认识电刀的型号、功能、功率及使用方法。
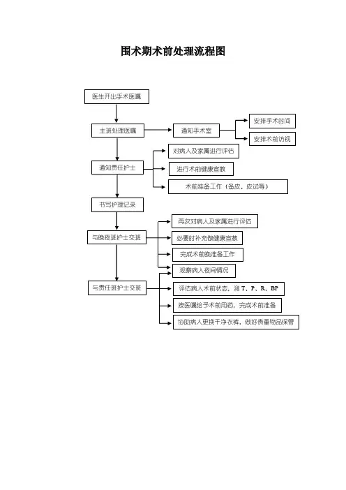
围术期术前处理流程图安排手术时间主班处理医嘱通知手术室通知责任护士通知责任护士安排术前访视对病人及家属进行评估通知责任护士通知责任护士进行术前健康宣教再次对病人及家属进行评估与晚夜班护士交班必要时补充做健康宣教完成术前晚准备工作观察病人夜间情况与责任班护士交班评估病人术前状态,测T、P、R、BP按医嘱给予术前用药,完成术前准备协助病人更换干净衣裤,做好贵重物品保管1围手术期术中处理流程围手术期术后处理流程病人返回病房病房护士和手术室护士交接病人,以及各种物品,测量生命体征并记录,双方在手术患者交接单上签字。
病人的搬运与体位术后评估尽量平稳,减少振动,注意保护伤口、引流管、输液管,防止滑脱或受污染。
然后根据患者的麻醉方式以及手术部位选择合适体位。
做好术后护理评估,内容:手术情况(手术方式、术中出血、输血、麻醉等);神志、生命体征情况;疼痛及症状管理、切口引流情况;自理能力和活动耐受力;营养状况;心理状态;用药情况,药物的作用及副作用;安全管理。
遵医嘱给予静脉输液治疗。
术后并发症的预防和护理心理护理、健康教育和饮食康复指导严格床边交接班3围手术期护理应急预案一、预防措施1.加强护士基础知识、专科知识培训,护士应熟练掌握各项护理技能操作。
2.对围手术期患者,护士应根据病情和手术的种类进行分阶段(入院阶段、手术前阶段、手术阶段、恢复阶段、出院阶段)健康教育指导。
3.手术护士对手术患者进行严格安全核查,遵守消毒隔离制度。
护士应做好心理护理、准备、检查,有计划完成各项治疗和护理。
4.严格执行值班交接班制度,认真交接,密切观察围手术期患者病情变化。
5.急救药品、物品做到“五定一及时”(五定:定数量品种,定点放置,定专人管理,定期消毒灭菌,定期检查维修,一及时:及时维修补充)。
二、应急预案1.临床护理人员发现患者出现病情变化时,要立即报告医生或护士长,遵医嘱实施各项抢救护理措施。
2.若患者出现呼吸、心跳骤停,应根据病情配合医生进行胸外心脏按压、气管插管或呼吸机辅助呼吸。
洗手护士工作流程图巡回护士工作流程图留置针穿刺操作流程图外科手消毒操作流程图穿无菌衣、戴无菌手套操作流程图手术器械清点流程图手术中取血、输血流程图腹腔镜操作流程图高频电刀操作流程图手术室医疗回收处理流程图内镜器械清洗流程图内镜器械包装流程图过氧化氢等离子体低温灭菌器操作流程图手术中缺失物品查找流程1、洗手护士、巡回护士2次核对后确认发生手术物品缺失事件。
2、通知手术医生、麻醉师暂停手术。
3、根据缺失物品类别及发现缺失时段,估计物品可能遗留的区域,分区域查找,洗手护士查找无菌区,手术医生探查切口,巡回护士查找手术间。
4、未及时发现则报告护士长,由其主持全方位查找。
(1)查找手术间内敷料单褶皱内、地面、垃圾桶、料料筐、标本袋、吸引器瓶。
(2)查找与手术间相通的辅助间、刷手间、器械间、准备间,外走廊(3)如缝针等金属器械,可显影敷料缺失寻查:①电话通知放射进行照X片。
②X线结果显示若在切口内,手术医生探查取出;未在切口内,关闭切口,在其它区域继续查找。
(5)手术医生探查、体腔。
(6)与曾进入手术室的相关手术的员、麻醉师沟通,是否取用或将其带出手术间。
5、巡回护士在手术护理记录单上书写事件发生经过及物品未在切口骨的证实结果,由手术医生签字。
6、发现但查找超过30分钟或最终未发现缺失物品的,填写工作缺陷报告单,详细记录事件发生、查找的过程、时间、结果等作为后期责任认定依据。
7、手术室统一保存工作缺陷报告单。
手术中缺失物品查找流程图手术护理不良事件报告及处理流程1判断手术护理不良事件:手术病人识别错误、手术部位错误、手术病人跌倒、用药错误、输血及输液意外、手术病人约束意外、意外针刺伤、管道意外脱落、药物不良反应、其他需要报告的意外事例。
2发生手术护理不良事件后,当事人应第一时间报告护士长;护士长了解情况后立即报告护理部主任,严重不良事件由护理部主任报告相关主管部门,如分管护理院长、医务科。
3妥善保管不良事件的各种记录、检验报告,对造成不良事件的药物、储血袋,输液瓶、器具等,医患双方共同封存并签字。
手术室工作流程术前访视手术中术后处理护士长科主任医务护理部手术室护士流程编号: MZK-LC-02版本:2009编制人:樊宁忠业务参与部门:麻醉手术科及相关手术科室最后更新时间:2009业务主管部门:麻醉手术科接到手术通知单,术前1天访视病人发现问题向上级汇报发现问题向上级汇报向医务护理部汇报工作人员进入手术室,按照无菌原则着装术前准备接病人监督手术人员无菌操作无菌手术间有菌手术间再次核对病人手术医生手术开始前详细清点手术器械、敷料开始手术,密切配合缝合切口前详细清点手术器械、敷料缝合切口后详细清点手术器械、敷料术毕送病人到麻醉苏醒室术毕送病人回病房术后随访标本和或特殊感染处置医院感染监测无菌手术有菌手术供应室工作流程接到物品高压灭菌取走物品护士长科主任药械科手术室护士流程编号: MZK-LC-06版本:2009编制人:樊宁忠业务参与部门:麻醉手术科及药械科最后更新时间:2009业务主管部门:麻醉手术科接到各科送来需消毒灭菌物品按规定装入高压蒸汽灭菌器按照高压蒸汽灭菌器操作规程操作,不得擅自离开出现异常及时处理(断电减压)或汇报减压为“0”后取出物品按时等各科取走物品作好记录发现问题向上级汇报发现问题向上级汇报维修压力表、减压阀半年校验医疗垃圾管理流程图垃圾的产生生活垃圾(主要是从行政楼,医生或护士值班室等洁净区域产生的垃圾)医疗垃圾(主要是从门诊、各病区、研究所、各实验室等病人或凝似病人接触过或有可能感染过的区域所产生的垃圾)用黑色垃圾封装装满3/4与否?进行密封打包(要求不能泄露并注明“生活垃圾”字样)进行运送(运送时要求从污物电梯下楼并沿旧住院楼外围到停车场北路这条专用路线进行运送。
且不能和医疗垃圾混合运送)送生活垃圾暂存处暂存并做好生活垃圾清运记录。
(暂存时间最长不能超过72小时)感染性病理性损伤性药物性化学性用标有“感染性医疗垃圾”的黄色垃圾袋封装用标有“病理性医疗垃圾”的黄色垃圾袋封装利器盒用标有“药物性医疗垃圾”的黄色垃圾袋封装用标有“化学性医疗垃圾”的黄色垃圾袋封装装满3/4与否?进行密封打包并找科室护士长或相关人员对医疗垃圾数量、及产生地点进行严格登记(要求密封不能泄露并注明医疗垃圾的类型、数量、产生地点等信息)进行运送(运送时要求从污物电梯下楼并沿旧住院楼外围到停车场北路这条专用路线进行运送。
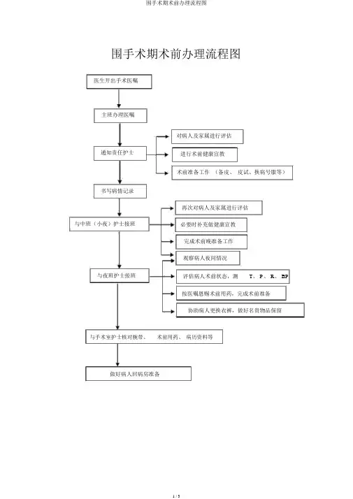
围手术期术前办理流程图医生开出手术医嘱主班办理医嘱通知责任护士书写病情记录与中班(小夜)护士接班与夜班护士接班对病人及家属进行评估进行术前健康宣教术前准备工作(备皮、皮试、换病号服等)再次对病人及家属进行评估必要时补充做健康宣教完成术前晚准备工作观察病人夜间情况评估病人术前状态,测T、 P、 R、 BP 按医嘱恩赐术前用药,完成术前准备协助病人更换衣裤,做好名贵物品保留与手术室护士核对腕带、术前用药、病历资料等做好病人回病房准备术中护理巡回护士器械护士仔细核对病人、术前准备情况及术中所提前 30min 打开层流,调治合适的温湿度。
需用物准备,确认无误后将病人接至手术室。
老例用物准备:准备术中所需仪器设备,并病人进下手术间后,与手术医生、麻醉检查其性能。
医生一起对病人进行三方核查,并填写手术安全核查表,签字。
老例用物准备:准备术中所需器械包、敷料、药品、一次性物品等。
协助麻醉医生进行麻醉,依照手术需要固定好体位,做好准备工作。
病人进下手术间后,开启无菌包及所需用物,提前洗手登台,铺好无菌器械桌。
巡回、器械护士共同清点器械、纱布、缝针、物品等,及时记录。
协助手术人员消毒铺巾,调整灯光,穿好手术衣,做好手术准备。
主动配合手术医生进行手术,督查术中无菌操作情况,及时补充术中所需,保证手术顺利进行。
手术切皮前再次进行三方核查,确认无误。
管理台上物品,保证术中用物清点无误,防范异物遗留体腔,观察病人生命体征,及时办理各种紧急情况,满足术中所需,做好手术记录。
关闭体腔前、后,手术结束前,共同清点用物,及时记录。
协助手术医生包扎伤口,完满手术记录,送手术结束后清点手术器械无误,交由供应室处病人至复苏室或病房,对病人一般情况、各理,特别器械自行干净办理。
种引流管、皮肤情况和病人物品等进行交接,签字确认后方可走开。
整理手术间及用物。
病人的病搬运与体位人返术后回评估病房病情观察病房护士和麻醉师交接病人,以及各种物品,测量生命体征并记录,双方在手术患者交接单上签字。
围手术期术后处理流程
围手术期护理应急预案
一、预防措施
1.加强护士基础知识、专科知识培训,护士应熟练掌握各项护理技能操作。
2.对围手术期患者,护士应根据病情和手术的种类进行分阶段(入院阶段、手术前阶段、手术阶段、恢复阶段、出院阶段)健康教育指导。
3.手术护士对手术患者进行严格安全核查,遵守消毒隔离制度。
护士应做好心理护理、准备、检查,有计划完成各项治疗和护理。
4.严格执行值班交接班制度,认真交接,密切观察围手术期患者病情变化。
5.急救药品、物品做到“五定一及时”(五定:定数量品种,定点放置,定专人管理,定期消毒灭菌,定期检查维修,一及时:及时维修补充)。
二、应急预案
1.临床护理人员发现患者出现病情变化时,要立即报告医生或护士长,遵医嘱实施各项抢救护理措施。
2.若患者出现呼吸、心跳骤停,应根据病情配合医生进行胸外心脏按压、气管插管或呼吸机辅助呼吸。
3.若出现术后出血,要观察伤口渗血、引流液性质,
并遵医嘱应用止血药,准备第二次手术。
4.护理人员应及时、准确、客观地记录抢救过程。
5.及时通知患者家属,并做好解释工作。
***医院护理部
二零一五年四月
附:应急流程图。
医院各部门操作流程图1.术前准备术前解除患者恐惧紧张心理↓护士对病人术前状态应了解,观察有无上呼吸道感染、发热、月经来潮、情绪不稳等情况、及时向医生提供↓病人生理心理精神状况良好,无任何不适时实行手术↓术前用药,执行预防过敏反应发生的药物使用流程↓做好病要术前卫生处臵、沐浴、备皮、更衣等↓遵医嘱行术前治疗护理处臵,并执行标准化规范操作,如灌肠、导尿、禁食等↓术前测量生命体征并记录,检查术前准备工作↓贵重物品如手饰、手机、钱等留在病房给自己的亲人↓手术室护士接病人至手术室,与病房护士交接,必要时一同护送↓根据手术时间及术后需要准备单元用物2.手术后护理质量控制流程护士笑迎术后病人回病房,护士应祝贺手术病人手术获得成功↓监测生命体征,并妥善安臵各种管道,观察并做好记录↓采取合适体位使病人安全舒适↓及时为病人解除手术后疼痛、不适等↓保持管路通畅,观察伤口情况,保持敷料清洁↓做好基础护理,防止并发症发生↓遵照医嘱及时用药,预防感染发生↓加强营养,增强体质,促进伤口愈合↓进行健康教育,使病人掌握相关疾病护理要点进行自我防护3.晨间护理工作流程责任护士、护理员、护士长↓晨间到床旁,问好,解释,取得病人的配合↓根据气候,关闭门窗,协助病人取得舒适卧位↓进行刷牙、洗脸、梳头、翻身、按摩等护理,必要时剪指甲、更衣↓更换各种引流管、引流袋、湿化瓶水等,记录量↓逐层清扫床铺,必要时更换及被服,开窗通风30分钟↓征求病人意见,感谢合作,等待查房4.晚间护理工作流程夜班护士、护理员、护生↓到床旁,问好,解释,关门窗,拉窗帘↓指导或协助患者刷牙、洗脸、泡脚、擦洗及其它↓完成相关治疗护理工作↓整理床铺,协助排便,创造适于睡眠环境,必要时帮助患者入眠↓感谢合作,祝病人晚安,盖好盖被↓关吊灯,(开床头灯)轻掩房门↓按护理级别及治疗需要,定时巡视记录并治疗,病情允许治疗护理工作最好集中进行5.护理文书书写流程责任护士,主班护士每日2-4次根据实际测量结果绘制体温单中各种图标,项目齐全↓根据对病情的观察及处臵按时限书写护理记录,特殊情况随时书写↓根据每日对病人处臵情况执行者及时填写执行医嘱记录↓每日下午进行医嘱执行及护理文书查对↓↓———————————————————↓主班护士下午巡视病房责任护士根据分管病人了解病区整体情况及重病人病情信息病情及治疗护理观察信息↓↓根据掌握信息书写护理交班报告根据观察所见按时限书写重症护理记录及一般护理记录6.治疗护士药物配制工作流程药疗护士接到治疗通知单↓与主班护士进行三查十对,检查药物质量,再次核对姓名及使用方法↓如需要进行药物皮试,确认无误后进行配制,责任护士执行,并观察结果,确认为(-)↓再次查对药物性质,一次用品质量、输液通知单中药物用法剂量,查对药物配伍禁忌↓按照无菌技术操作标准流程于输液前现用现配↓药物全部常溶解,安瓶不留残余,并再次查对无误↓在输液单第二联上签名,在液体瓶上注明床号、姓名、药物及配制时间↓与责任护士再次查对,由责任护士执行7.危重病人护理质量控制流程专科护士承担危重病人护理↓根据监护指标及病情变化进行动态监护↓抢救药品、设施必备、能随时自如使用↓严密观察病情变化,及时发现问题,做好记录↓对发生问题及时报告,必要时能应急处理↓按护理计划随时做好基础护理、消毒隔离工作↓在主任及医生业务指导下工作,护士长监督执行情况↓特一级护理病人护理质量达标8.接待新住院病人护理流程接到通知,了解病情↓根据掌握信息评估病人需求↓责任护士准备床单及用物↓告知患者衣柜内有衣架,饭卡使用方法,便盆,脸盆送至病房↓护士礼貌迎接病人,测量生命体征、体重(卧床病人例外)↓陪同进病房,责任护士介绍情况并了解病人需求↓请主管医生进行住院查体问诊↓责任护士进行疾病健康教育及服务指导心理护理↓感谢病人合作,请病人先休息↓写护理记录,执行医嘱,有治疗抄写治疗本↓根据护理级别巡视病房,生活方面能解决的问题及时解决,严禁冷、硬、推、拖↓根据患者评比情况给予适当奖励↓有计划安排工作,做到忙而不乱,心中有数,严格查对制度三查:操作前、中、后查对十对:床号、姓名、姓别、年龄、药名、计量、浓度、时间、用法、有效期9.输血护理操作流程执行输血医嘱↓护士携输血申请单和病人输血同意书并带患者血样(姓名床号的标记)和输血预交现金一并送化验室↓接血库取血的通知后与输血科人员查对无误后签字取血,血型,血袋号码,有效期,血液的质量,防止剧烈振荡已免溶血↓输前血液在室温下预热,护士二人再次共同查对病人血型与输血单是否一致,查↓确认无误后护士二人共同到床旁,准备好用物,二人再次查对并核实病人↓准确无误时,二人协作,输入↓输入后护士在床旁观察5-10分钟,无异常方可离开↓输入中勤观察,询问病人感受,有异常及时处理↓在护理记录中记录输血相关事宜↓输毕,再次查对,将血袋收回,于2小时内送至输血库(化验室)保存。
手术室各种工作流程洗手护士工作流程手术前一天了解手术名称、熟悉手术步骤,认真做好术前准备↓手术当日认真查对病人,消除病人紧张情绪↓严格查对物品执行无菌操作技术,铺无菌台,保证物品齐全↓按要求刷手、穿无菌手术衣、戴无菌手套、整理器械台↓与巡回护士认真清点物品↓协助医师穿手术衣、戴手套、铺无菌巾↓术中认真配合,严格管理物品↓监督指导无菌操作↓认真核对,保管好病理标本↓关闭体腔前后和皮肤完全缝合后,与巡回护士认真清点物品↓认真做好始末处理(器械整理、标本处理),物品归位巡回护士工作流程手术前一天进行手术前访视,认真做好术前准备↓手术当日,认真查对病人,安慰、体贴病人↓协助麻醉师进行麻醉↓按要求认真做好手术前准备↓严格无菌操作↓与洗手护士认真清点物品↓协助医师消毒、穿手术衣↓监督、指导医务人员的无菌操作↓随时供应手术中所需物品,认真核对严密观察病情,标记好病理标本↓关闭体腔前后和皮肤完全缝合后,与洗手护士认真清点↓按要求做好终末处理,整理手术间物归原处洗手护士急诊手术工作流程洗手护士接到急诊手术通知后,立即准备手术物品↓待病人接进手术间后,评估病情↓↓洗手配合手术与巡回护士一起抢救(以下同常规手术配合)巡回护士常规手术工作流程根据手术通知单核对病人(科别姓名性别年龄手术名称手术部位手术间)↓接病人至手术间,协助病人安全平卧于手术床上↓根据手术部位,评估.选择并建立外周静脉通路↓协助麻醉医生麻醉↓协助手术医生摆好病人体位↓对好无影灯,摆好托盘,连接吸引器.电刀↓与洗手护士清点物品并正确记录,协助并监督手术医生常规消毒铺单,协助手术人员穿手术衣↓负责供应手术台上所有无菌物品,并监督手术人员无菌操作.执行麻醉医师的医嘱↓关闭胸腹腔前.后与洗手护士清点物品(如无洗手护士应与手术医生清点)↓手术结束协助覆盖伤口,将病人安全移至手术平车上并送出手术间↓整理手术间,补充物品,所有物品物归原处注:术中执行医嘱时,应口头核对两遍并经两人核对安剖后方可执行.巡回护士急诊手术工作流程急诊手术通知后,立即与麻醉医生联系并通知手术室工人接病人↓准备手术用物↓核对手术病人后接至手术间↓帮助病人安全平卧与手术床上↓根据手术部位,评估并选择建立外周静脉(以下同常规手术配合)穿.脱手术衣操作流程准备→┝操作者:着洗手衣裤.戴口罩,帽子↓┝用物: 对开始无菌手术衣┝环境: 足够的空间↓穿衣→取手术衣→手持衣领,轻轻抖开→向上轻掷→双手和前臂顺势伸入衣袖内→双臂向前平行伸展→巡回护士协助拉衣.系带→双手摆放胸前↓脱衣→巡回忽视协助松解背部系带→左手抓住右肩手术衣外面,自上而下,将衣袖外翻.下拉至肘部→同法,右手抓住左肩手术衣,自上而下脱去→侧衣袖→左手脱去右手衣袖,脱去手套→扔于污物袋内(全过程保持双手几手臂不被污染)戴.脱无菌手套操作流程准备→┝操作者:着洗手衣裤.戴口罩,帽子,修剪指甲┝用物: 无菌手套┝环境: 清洁↓戴手套→查手套规格.有效期.包装→打开手套袋→捏提手套袋的外侧面,显露手套,查看手套放置方向→右手拇指.示指捏住手套反折部(拇指相对),顺势从手套袋捏提出手套→右手拿手套反折处(不能触及手套外面) →左手四指张开伸入手套内,最后伸入拇指,戴好左手套→已戴手套的左手四指伸入右手手套的反折部里面,撑开手套(左手不可触及手套内面及未戴手套的手) →同法,戴好右手套→将衣袖口稍向下拉,手套反折部套住衣袖口→用无菌盐水将手套上残留滑石粉冲洗干净,双手置于胸前.↓脱手套→流动水洗净手套表面血迹→右手拇指.示指握住左侧手套边缘,外翻手套,反折至大鱼际肌处→同法,左手将右手手套反折,并顺势脱下手套→已脱手套的右手拇指,伸入左手手套内面将手套脱下(报纸双手不触及手套外面,避免污染)↓整理→整理用物,放归原处.穿针引线操作流程准备→操作者:着装整齐.修剪指甲.戴手套用物:针.线.持针器操作步骤→右手拇指.环指拿持针器→夹持缝针→放于左手上→右手拇指与示指或中指示持线→穿针→拇指指腹顶住针尾,示指将线头带出→拇指.示指.中指的合力→并将回头线卡入持针器前端开口处,固定缝线→放针(针尖朝上)刷手操作流程准备→操作者:着洗手衣裤.戴口罩.帽子.修剪指甲用物: 刷子毛巾洗手液擦手液↓清洗双手→取肥皂或洗手液→清洗双手→腕部→前臂→肘→上臂下1/2段→流动水冲洗干净↓机械刷手→拿出无菌毛刷→取洗手液适量(约5ml) →刷指尖.指镤→指缝.手掌.手背→前臂→肘→上臂下1/2段(以上各步为左右手交替进行)↓冲洗手臂→放下刷子→冲洗双侧手指→微握双手.双手稍抬高→水顺手.上臂想肘部淋下,不可倒流↓擦干手臂→取无菌毛巾→擦干双手→将毛巾对折成三角形搭在一侧手背→另一只手握住两角顺势向上至肘部擦干→反转毛巾,同法擦干另一侧↓消毒手臂→取消毒液适量(约5ML) →用力充分揉搓双手掌.手臂.肘部至干燥→双手合拢,置于胸前.常用无菌技术操作流程准备→┝操作者:着洗手衣裤戴口罩帽子修剪指甲┝用物:无菌器械包无菌持物钳无菌剪刀生理盐水┝环境: 整洁安静↓开无菌器械包→查器械包明称.有效期.化学指示胶带→解绳.缠绕置于包的下面→双手捏住包布反折边,按”先对侧后近侧”顺序打开第一层包布→右手持无菌钳打开第二层包布(顺序同第一层) →将碗.弯盘.杯子等物品定位放置.摆放整齐↓使用无菌持物钳→取放时,钳端闭合,不可触及容器口边缘及液面以上的容器内壁;使用时.保持钳端向下,不可向上,以免消毒液倒流污染;远处取物时,应将钳子连同容器一并搬移,就地取出使用;使用后,立即将钳子放回容器内.↓倒无菌溶液→检查药品名称.质量.有效期→取铝盖→消毒瓶口→去瓶塞→冲洗瓶口→倒液:要求瓶签向着掌心,液体自冲洗后的瓶口流出.沿碗壁徐徐流下至需要量,不可液体四溅↓整理→将固定绳子.器械标签.液体瓶等,定位放置整齐注意:舞剧持物钳用1台1换;手术历时长,每4小时更换1套连台手术之间手术间的处理流程第一台手术结束后,待病人送出手术间↓洗手护士将前台手术所用的布类丢入门外的污衣桶内↓洗手护士将前台手术术后器械整理后放到外走廊↓保洁工立即回收所有垃圾出手术间↓巡回护士更换床单↓保洁工用含氯制剂擦拭手术间所有台面↓保洁工用含氯制剂拖拭地面↓巡回护士用遥控启动动态消毒机进行一小时的空气消毒工作人员进入手术室流程入口管理处登记、交胸牌↓领取鞋柜、衣柜钥匙、隔离鞋、洗手衣裤、口罩、帽子↓换鞋处更换隔离器,进入更衣室↓戴好帽子、口罩,穿好洗手衣↓经过隔离门,进入手术区域工作人员出手术室流程手术结束,在手术间脱去手术衣,手套↓在洗手池采用“七步洗手法”洗手↓经过隔离门出手术室区域↓在更衣室取下帽子、口子在放入黄色垃圾桶内,洗手衣裤放入黄色污衣车内↓换鞋处换鞋,将隔离鞋放入脏鞋桶内,入口管理处交换钥匙,换回胸牌↓出手术室高频电刀的操作流程1.现代高频电刀功能设计多,在使用前应认识电刀的型号、功能、功率及使用方法。
2.正确连接各种连接线,使用前测试机器运转是否正常,在使用中或暂停试用期间有异常声音发出时,应立即停止使用,并通知专业人员检查原因。
3.合理选择负极板,粘贴负极板时药注意:负极板应放置在肌肉血管丰富平坦且靠近手术区及易于观察的部位,如臀部、大腿、小腿;勿放置在毛发、脂肪多及瘢痕、骨突处,避开受压,远离心电监护的电极。
要保持负极板平整,面积不少于64.5平方厘米,禁止切割和折叠。
4.刀笔要插好,如果刀笔接触不良时勿再用。
刀笔使用完毕可用湿布将污血擦净晾干,避免直接用水泡洗。
5.做好手术台上刀笔的管理,把刀笔固定于安全位置,放置坠下而被污染,还应保持手术切口布巾的干燥。
6.注意防火安全,高频电刀在使用时会形成点火花,遇到易燃物时会着火。
内镜手术后器械的清洗流程一、准备1、人员的准备:工作人员须穿好防水衣,戴好防水手套,戴好护目镜。
2、配好多酶浸泡液:(注意:多酶液每按压一次出液为30ml)1)轻度污染配制:1升水,加多酶液5ml,浸泡4-5分钟。
2)中度污染配制:1升水,加多酶液7.5ml,浸泡8分钟。
3)重度污染配制:1升水,加多酶液10ml,浸泡8-9分钟。
二、使用后立即用清水彻底清洗,除去血液、粘液等。
三、初步清洗擦干后的内镜置于含酶洗液中浸泡时间不少于2分钟。
四、彻底清洗内镜各部件,官腔用高压水枪彻底冲洗,可拆与部分必须拆开清洗,并用超声清洗机清洗5至10分钟。
五、器械的轴节部、官腔内用软毛刷彻底刷洗,注意防止划伤镜面。
六、用流动水再次冲洗,擦干后浸泡于2%的戊二醛消毒缸内进行初步消毒30分钟,消毒后用流动水彻底冲洗,用无菌纱布擦干,官腔用95%的乙醇干燥、存放于储存柜内。
七、若为疑似特殊感染(结核、肝炎、艾滋病)等所用的术后器械应先浸泡于2%的戊二醛溶液中30分钟,然后再按上述方法清洗、消毒、保存。
八、作好清洗记录。
手术室术后器械的处理流程一、手术结束后→由洗手护士将器械初步清洗后→清理好数量,用包布包好→包内,包内、包外用标识注明包的名称,件数并签名→放入器械箱内→由保洁工定期送到供应室清洗处并进行交接→由供应室对器械进行清洗、打包、灭菌处理二、小手术由巡回护士按上述流程进行处理三、如果是感染手术用过的器械→则在标签上注明何种感染手术的字样,用黄色口袋装好放入感染手术器械箱内→交供应室进行特殊处理。
一般感染手术的术后处理流程1.一般感染手术是指脓肿切开,结核病灶清除,以及为感染梅毒、艾滋病、病毒性肝炎等患者实施的手术。
2.术后器械由洗手护士在标签上注明感染字样,并将器械包用黄色口袋装好放入感染器械箱内交供应室做特殊处理。
没有洗手护士的由巡回护士负责。
3.凡是遇上述感染的手术,手术人员均须做好隔离,尽量减少污染。
4.术后所用布类均应装入黄色口袋内,袋口封好,袋外贴好标签,并注明污染字样,由保洁工交洗衣班做特殊处理,能用一次性的布类就尽量用一次性的。
5.术后所用的一次性用物全部装入黄色口袋内,密闭运送交医院统一处理。
6.术后的手术间内用1:200的“84”消毒液做平面卫生一次,擦地一次,房间用动态消毒机消毒2小时。
特殊感染手术的处理流程特殊感染手术包括的范围及其特性一、特殊感染手术包括的范围及其特性特殊感染手术是指破伤风、气性坏疽、艾滋病等感染的手术1.破伤风是一种梭状芽孢杆菌感染,破伤风杆菌侵入人体伤口,生长繁殖产生毒素可引起一种急性特异性感染,破伤风杆菌及其毒素不能侵入正常的皮肤和粘膜,故破伤风都发生在受伤后,一切开放性损伤均有发生破伤风的可能。
2.气性坏疽:由梭状芽孢杆菌引起的一种以肌坏死或肌炎为特征的急性特异性感染,感染发展迅速,预后差。
仅能在无氧环境下生存其芽孢抵抗能力非常强。
广泛存在干泥土和粪便中,取决于人体抵抗力及伤口是否处于缺氧环境,严重的创伤性休克,挤压伤伴深层肌组织坏死和异物存留,开放性骨折并发血管损伤缺血等,局部表现为“涨裂样”剧痛,难以忍受,伤处苍白、剧痛发亮伤处迅速恶化呈紫红色以至黑色,按压捻发音,出现水泡。