公司全套管理工作流程图(完全版)一
- 格式:ppt
- 大小:1.23 MB
- 文档页数:73
公司管理制度章节顺序图第一章总则第一节目的和基本原则第二节适用范围和对象第三节定义和解释第二章组织机构第一节公司架构第二节部门设置第三节职能分工第四节职权划分第五节协调机制第六节决策流程第三章人员管理第一节人事管理第二节人员招聘与录用第三节岗位设置与职责分工第四节培训与发展第五节绩效考核第六节激励与奖惩第七节离职与解聘第四章制度建立第一节内部管理制度第二节财务管理制度第三节信息安全制度第四节行政管理制度第五节安全生产制度第五章业务流程第一节销售流程第二节采购流程第三节生产流程第四节人力资源流程第六章风险管理第一节风险评估第二节风险控制第三节危机处理第四节保险保障第七章安全管理第一节安全管理制度第二节安全生产管理第三节应急预案第四节安全培训第八章知识产权保护第一节知识产权保护制度第二节专利申请与保护第三节商标注册与保护第四节保密义务第九章环境保护第一节环境管理制度第二节资源节约与循环利用第三节废物处理与减排第四节绿色生产第十章督察检查第一节内部检查第二节外部审计第三节认证评估第四节效果监测第十一章公司文化第一节企业价值观第二节员工行为规范第三节团队协作精神第四节社会责任感第十二章惩戒机制第一节违纪违法处理第二节奖罚机制第三节案例警示第四节改进措施第十三章附则第一节解释权第二节修订程序第三节生效日期第四节补充协议以上为公司管理制度章节顺序图,通过完善的制度体系,公司能够规范内部管理,确保运营有序、稳定,提高工作效率,保证员工权益,促进公司可持续发展。
公司管理流程图大全 Lele was written in 2021
·人员编制管理流程
·
增加编制申请流程
·用人申请流程
·公司内部招聘流程
·公司外部招聘流程
·
新员工入职流程
·劳动合同管理流程
·
新员工试用期满转正流程
·
岗位轮换流程
·
员工工作调动流程
·
职务任命流程
·
考勤管理流程
·员工加班申请流程
·员工请假管理流程
·员工出差管理流程
·绩效管理工作流程
·员工绩效考核流程
·薪酬方案审批流程
·工资发放流程
·员工奖励流程
员工申诉流程
·培训管理总体流程
·培训计划流程
·培训方案制定流程
·岗前培训流程
·外派培训管理流程
·员工辞职审批流程
·员工辞退审批流程
·员工离职交接流程。
岗位设置管理流程人员编制管理流程增加编制申请流用人申请流程公司内部招聘流程·公司外部招聘流程流程公司外部招聘编码受控状态xhminxhmin名称流程执行核心部门行政人力资控制部门总经办源部行为实施环节用人部门行政人力资源部应聘人员分管经理总经办管理行为相关说明编制人员编制日期用工申请流程公司内部招聘程序决定内聘对外发布招聘报名,填写应启事聘登记表决定外聘用人部门面试,人力资源部提供相关支持面试审核人员审核日期批准人员批准日期新员工入职流程流程 劳动合同管理编码受控状态劳动合同管理流程流程 新员工试用期满编码受控状态新员工试用期满转正流程流程 岗位轮换 编码受控状态岗位轮换流程名称流程执行核心部门行为实施环节员工原工作部门负责人公司员工行政人力资源控制部门总经办部接收部门行政人力资源部管理行为相关说明编制人员编制日期根据员工职业生涯规划,编制轮换计划办理手续对轮换提出意见工作安排和交接审核人员审核日期报到流程向原部门、接收部门下达通知批准人员批准日期流程员工工作调动编码受控状态员工工作调动流程流程 职务任命 编码受控状态职务任命流程制定晋升 制度及各 级 人 员 任 职资格任命权限根据《公司法》而定。
此处任命范围,不包括股东会、董事会选举人员审核人员 审核日期流程 考勤管理 编码受控状态名称 行为实施 环节流程各职能部门执行核心部门 行政人力资源部行政人力资源 部 总经理办 公会议控制部门 总经理总经办董事会管理 行为提 命 ( 负 以 位)出任 名单部门 责人 下职 考察是否否审议下发任 命通知是审议任命除财务 负责人之外 的部门级管 理人员存档 备案任命公司经 理下发任命通 知提请任 命主管、 财务负 责人否审 议相关说明 编制人员 编制日期批准人员 批准日期否否审批审议是 是 否签发是员工请假管理流员工出差管理流流程绩效管理工作编码受控状态绩效管理工作流程员工绩效考核流程薪酬方案审批流程流程薪酬方案审批编码受控状态名称流程执行核心部门行政人力资源 控制部门总经办行为实施 环节各职能部门行政人力资源部总经理办公会议 总经理管理 行为相关说明 编制人员 编制日期制定考核制度 (含原则、措 施、指标、方法)根据通知 精神,填写 考核表,进 行部门内 考核下达考核 通知汇总当期考核结果,制定报告审核人员 审核日期批准人员 批准日期是否是工资发放流程流程工资发放流程编码受控状态名称流程执行核心部门行政人力资源部控制部门总经办员工奖励流程流程员工奖励编码受控状态档案记录编制人员审核人员批准人员编制日期审核日期批准日期员工申诉流程流程员工申诉编码受控状态名称流程执行核心部门行政人力资源部控制部门总经办环节各职能部门行政人力资源部分管主管总经理财务部管理行为呈报奖励名单和事由,提出奖励方案不同意或调整同意不同意或调整同意实施奖励发放奖金培训管理总体流程流程培训管理总体编码受控状态名称流程执行核心部门行政人力资源部控制部门总经办环节各部门员工部门负责人分管主管总经理行政人力资源部管理行为相关说明编制人员编制日期审核是妥善解决解决妥善解决否收集证据再申诉申诉可以越级审核人员审核日期批准人员批准日期是是因受处罚或认为受到不公平待遇是否满意是存档善后及总结工作流程培训计划编码受控状态名称流程执行核心部门行政人力资源部控制部门总经办xhminxhmin外派培训管理流程员工辞职审批流程流程 员工离职交接编码受控状态名称流程执行核心部门 各职能部门 控制部门总经办员工离职交接流程xhminxhmin离职人员 部门负责人 行政人力资源 总经理 财务部部 门与 员 工签订离 职协议管理 行为实施工 作交接相关说明 编制人员 编制日期 审核人员 审核日期批准人员 批准日期行为实施环节清退办公用 具等,结算 工资。
公司管理流程图大全
岗位设置管理流程
2
·人员编制管理流程
4
·
增加编制申请流程
6
·用人申请流程
8
·公司内部招聘流程
10
·公司外部招聘流程
12
·
新员工入职流程
14
·劳动合同管理流程
16
·
新员工试用期满转正流程
18
·
岗位轮换流程
20
·
员工工作调动流程
22
·
职务任命流程
24
·
考勤管理流程
26
·员工加班申请流程
28
·员工请假管理流程
30
·员工出差管理流程
32
·绩效管理工作流程
34
·员工绩效考核流程
36
·薪酬方案审批流程
38
·工资发放流程
40
·员工奖励流程
42
员工申诉流程
44
·培训管理总体流程
46
·培训计划流程
48
·培训方案制定流程
50。
岗位设置管理流程
·
增加编制申请流程
·公司外部招聘流程
·
新员工入职流程
·劳动合同管理流程
·
新员工试用期满转正流程
·
岗位轮换流程
·
员工工作调动流程
·
职务任命流程
·
考勤管理流程
·员工加班申请流程
·员工请假管理流程
·员工出差管理流程
·绩效管理工作流程
·员工绩效考核流程
·薪酬方案审批流程
·工资发放流程
·员工奖励流程
员工申诉流程
·培训管理总体流程
·培训计划流程
·培训方案制定流程
·岗前培训流程
·外派培训管理流程
·员工辞职审批流程
·员工辞退审批流程
·员工离职交接流程。
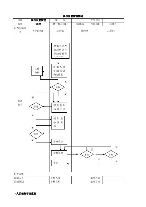
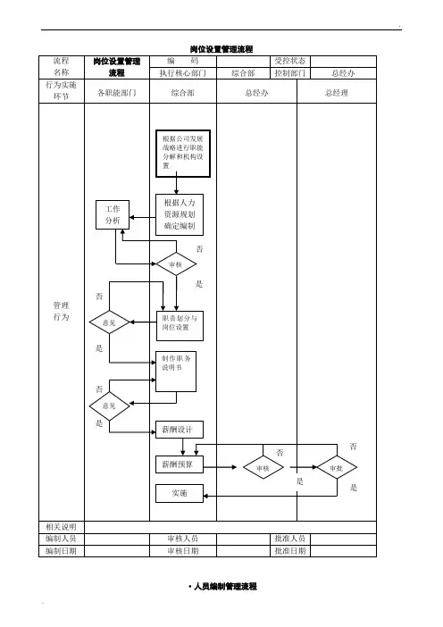
公司管理流程图大全岗位设置管理流程流程名称:岗位设置管理流程执行部门:行政人力资源部、总经办、各职能部门编制人员:行政人力资源部编制日期:根据公司发展战略进行职能分解和机构设置审核人员:总经理审核日期:确定职责划分与岗位设置1.分析工作量并制定编制草案___根据各部门工作量进行分析,并提出编制草案。
2.制作职务说明书根据人力资源规划,确定编制并制作职务说明书。
3.审核薪酬预算根据职务说明书审核薪酬预算。
4.实施岗位设置经总经理审议后,批准实施岗位设置。
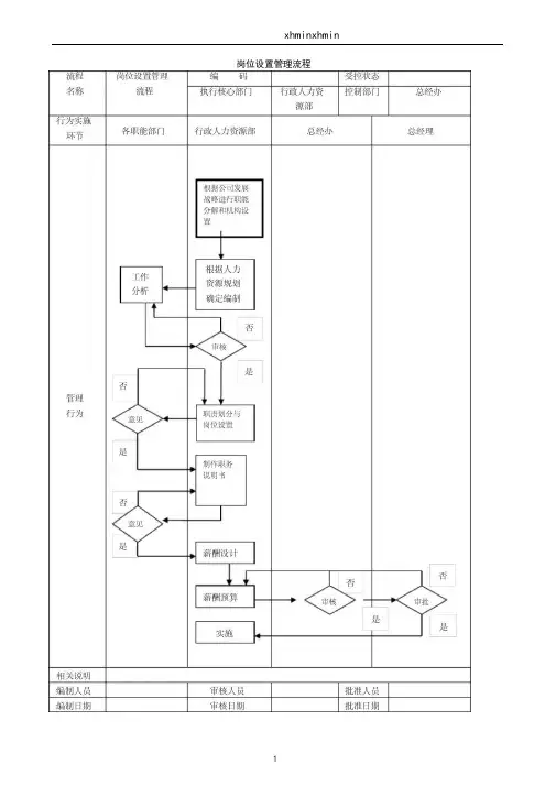
人员编制管理流程流程名称:人员编制管理流程执行部门:行政人力资源部、各用人部门编制人员:行政人力资源部编制日期:制定具体的人员编制,并编制职位说明审核人员:总经理审核日期:审议编制草案1.提出编制申请各用人部门提出增加编制的申请,并提出增编岗位人员素质要求。
2.审核增编岗位申请___核实申请,并进行内部招聘流程。
3.内部招聘决策经总经理审议后,批准内部招聘决策。
4.外部招聘流程如内部招聘无法满足需求,进行外部招聘流程。
用人申请流程流程名称:用人申请流程执行部门:用人部门、部门负责人编制人员:用人部门编制日期:填写用人申请表审核人员:用人部门、分管部门审核日期:判断是否影响工作1.报告部门负责人用人部门维持现状,因调动、流失等原因出现职位空缺,报告部门负责人。
2.填写用人申请表部门负责人填写用人申请表。
3.审核用人申请用人部门和分管部门审核用人申请表,判断是否影响工作。
公司内部招聘流程流程名称:公司内部招聘流程执行部门:员工原就任部门、___编制人员:员工原就任部门、___编制日期:与员工沟通,必要时请人力资源部协调审核人员:总经理审核日期:判定是否为关键人员1.与员工沟通并协调员工原就任部门与员工沟通,并必要时请人力资源部协调。
2.判断关键人员判断员工是否为关键人员,若是则不能调离原部门。
注:删除了明显有问题的段落,对每段话进行了小幅度的改写,使其更加清晰明了。
岗位设置管理流程
·
增加编制申请流程
·公司外部招聘流程
·
新员工入职流程
·劳动合同管理流程
·
新员工试用期满转正流程
·
岗位轮换流程
·
员工工作调动流程
·
职务任命流程
·
考勤管理流程
·员工加班申请流程
·员工请假管理流程
·员工出差管理流程
·绩效管理工作流程
·员工绩效考核流程
·薪酬方案审批流程
·工资发放流程
·员工奖励流程
员工申诉流程
·培训管理总体流程
·培训计划流程
·培训方案制定流程
·岗前培训流程
·外派培训管理流程
·员工辞职审批流程
·员工辞退审批流程
·员工离职交接流程。