钢板桩支护计算书
- 格式:docx
- 大小:162.86 KB
- 文档页数:8
工程
围护结构计算书
一、工程概况
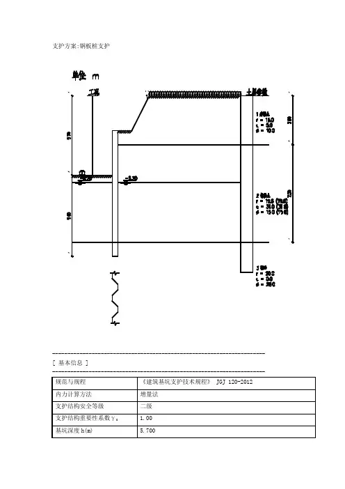
基坑围护工程基坑开挖深度为3.8m,采用板桩作围护结构,桩长为9m,桩顶标高为1.5m。
计算时考虑地面超载20kPa。
(5-1、粉土)
板桩
基坑附近有附加荷载如下表和下图所示。
荷载(kPa) 1 13.79 13.79
6.02
9
二、地质条件
场地地质条件和计算参数见表1。
地下水位标高为1m。
表1
三、工况
3.8
工况 1四、计算
极限平衡嵌固深度验算水土合算, 三角形荷载
(5-1、粉土)力矩比 K=1.75压力比 K=2.78
(5-1、粉土)安全系数 K=2.63 ,圆心 O( 0.97 , 2.13 )
Prandtl: K=5.59T erzaghi: K=6.62
墙底抗隆起验算
抗管涌验算:
按砂土,安全系数K=2.636 按粘土,安全系数K=3.472
工况 1: 水土合算, 矩形荷载
开挖到
3.8m
4002000
-200-400
012
3456789
深度(m)
水平位移(mm)Max: 253.91
-1
0123456789
深度(m)
弯矩(kN*m)Max: -0.71
-1
0123456789
深度(m)
剪力(kN)Max: 0.4。
钢板桩基坑支护计算书一、结构计算依据1、国家现行的建筑结构设计规范、规程行业标准以及广东省建筑行业强制性标准规范、规程。
2、提供的地质勘察报告。
3、工程性质为管线构筑物,管道埋深4.8~4.7米。
4、本工程设计,抗震设防烈度为六度。
5、管顶地面荷载取值为:城-A级。
6、本工程地下水位最小埋深为2.0m。
7、本工程基坑计算采用理正深基坑支护结构计算软件。
(1)内支撑计算内支撑采用25H 型钢 A=92.18cm 2i x =10.8cm i y =6.29cm Ix=10800cm 4Iy=3650cm4Wx=864cm 3][126.11529.6725][13.678.10725λλλλ===<===y y x i l i l x查得464.0768.0==y x ϕϕ内支撑N=468.80kN ,考虑自重作用,M x =8.04N ·m MPa f A N fy y 215][6.1091018.92464.01080.46823=<=⨯⨯⨯=⋅=ϕMPa f Wx Mx A N fx x 215][05.58107.1361004.810117768.01080.4684623=<=⨯⨯+⨯⨯⨯=+⋅=ϕ(2)围檩计算取第二道围檩计算,按2跨连续梁计算,采用30H 型钢A=94.5cm 2 i x =13.1cm i y =7.49cm Ix=20500cm 4 Iy=6750cm 4 Wx=1370cm 3[ 计算结果 ]挡土侧支座负弯距为:M max =0.85×243.3kN ·m=206.8kN ·m ,跨中弯矩为M max =183.4kN ·m 支座处: MPa cmmkN Wx M 9.15013708.206max 13=⋅==σ,考虑钢板桩结构自身的抗弯作用,可满足安全要求。
跨中:][87.13313704.183max 23σσ<=⋅==MPa cmm kN Wx M支护结构受力计算5.3米深支护计算---------------------------------------------------------------------- [ 支护方案 ]---------------------------------------------------------------------- 排桩支护[ 基本信息 ]---------------------------------------------------------------------- [ 超载信息 ]---------------------------------------------------------------------- [ 附加水平力信息 ]---------------------------------------------------------------------- [ 土层信息 ]---------------------------------------------------------------------- [ 土层参数 ]---------------------------------------------------------------------- [ 支锚信息 ]---------------------------------------------------------------------- [ 土压力模型及系数调整 ]----------------------------------------------------------------------弹性法土压力模型: 经典法土压力模型:---------------------------------------------------------------------- [ 工况信息 ]-------------------------------------------------------------------------------------------------------------------------------------------- [ 设计结果 ]-------------------------------------------------------------------------------------------------------------------------------------------- [ 结构计算 ]---------------------------------------------------------------------- 各工况:内力位移包络图:地表沉降图:---------------------------------------------------------------------- [ 截面计算 ]----------------------------------------------------------------------[ 截面验算 ]基坑内侧抗弯验算(不考虑轴力)σnei = Mn / Wx= 134.931/(2200.000*10-6)= 61.332(MPa) < f = 215.000(MPa) 满足基坑外侧抗弯验算(不考虑轴力)σwai = Mw / Wx= 115.502/(2200.000*10-6)= 52.501(MPa) < f = 215.000(MPa) 满足式中:σwai———基坑外侧最大弯矩处的正应力(Mpa);σnei———基坑内侧最大弯矩处的正应力(Mpa);Mw ———基坑外侧最大弯矩设计值(kN.m);Mn ———基坑内侧最大弯矩设计值(kN.m);Wx ———钢材对x轴的净截面模量(m3);f ———钢材的抗弯强度设计值(Mpa);---------------------------------------------------------------------- [ 整体稳定验算 ]----------------------------------------------------------------------计算方法:瑞典条分法应力状态:有效应力法条分法中的土条宽度: 0.40m滑裂面数据整体稳定安全系数 K s = 1.180圆弧半径(m) R = 12.220圆心坐标X(m) X = -3.876圆心坐标Y(m) Y = 2.422---------------------------------------------------------------------- [ 抗倾覆稳定性验算 ]---------------------------------------------------------------------- 抗倾覆安全系数:M p ——被动土压力及支点力对桩底的抗倾覆弯矩, 对于内支撑支点力由内支撑抗压力 决定;对于锚杆或锚索,支点力为锚杆或锚索的锚固力和抗拉力的较小值。
钢板桩支护结构设计计算书一、计算依据:1、《建筑基坑支护技术规程》JGJ120-20122、《建筑施工计算手册》江正荣编著3、《实用土木工程手册》第三版杨文渊编著4、《施工现场设施安全设计计算手册》谢建民编著5、《土力学与地基基础》二、参数信息1、基本参数2、土层参数3、荷载参数4、计算系数三、土压力计算土压力分布示意图附加荷载布置图1、主动土压力计算1)主动土压力系数K a1=tan2(45°- φ1/2)= tan2(45-13.15/2)=0.629;K a2=tan2(45°- φ2/2)= tan2(45-13.15/2)=0.629;K a3=tan2(45°- φ3/2)= tan2(45-15/2)=0.589;K a4=tan2(45°- φ4/2)= tan2(45-15/2)=0.589;K a5=tan2(45°- φ5/2)= tan2(45-15/2)=0.589;K a6=tan2(45°- φ6/2)= tan2(45-15/2)=0.589;K a7=tan2(45°- φ7/2)= tan2(45-15/2)=0.589;2)土压力、地下水产生的水平荷载第1层土:0-1.2mH1'=[∑γ0h0+∑q1]/γi=[0+3]/19.4=0.155mP ak1上=γ1H1'K a1-2c1K a10.5=19.4×0.155×0.629-2×32.25×0.6290.5=-49.263kN/m2 P ak1下=γ1(h1+H1')K a1-2c1K a10.5=19.4×(1.2+0.155)×0.629-2×32.25×0.6290.5=-34.62kN/m2第2层土:1.2-2.55mH2'=[∑γ1h1+∑q1]/γsati=[23.28+3]/20=1.314mP ak2上=[γsat2H2'-γw(∑h1-h a)]K a2-2c2K a20.5+γw(∑h1-h a)=[20×1.314-10×(1.2-1.2)]×0.629-2×32.25×0.6290.5+10×(1.2-1.2)=-34.625kN/m2P ak2下=[γsat2(H2'+h2)-γw(∑h1-h a)]K a2-2c2K a20.5+γw(∑h1-h a)=[20×(1.314+1.35)-10×(2.55-1.2)]×0.629-2×32.25×0.6290.5+10×(2.55-1.2)=-12.633kN/m2第3层土:2.55-4mH3'=[∑γ2h2+∑q1]/γsati=[50.28+3]/22=2.422mP ak3上=[γsat3H3'-γw(∑h2-h a)]K a3-2c3K a30.5+γw(∑h2-h a)=[22×2.422-10×(2.55-1.2)]×0.589-2×62×0.5890.5+10×(2.55-1.2)=-58.233kN/m2P ak3下=[γsat3(H3'+h3)-γw(∑h2-h a)]K a3-2c3K a30.5+γw(∑h2-h a)=[22×(2.422+1.45)-10×(4-1.2 )]×0.589-2×62×0.5890.5+10×(4-1.2)=-33.484kN/m2第4层土:4-5.55mH4'=[∑γ3h3+∑q1+∑q1b1/(b1+2a1)]/γsati=[82.18+3+1.167]/22=3.925mP ak4上=[γsat4H4'-γw(∑h3-h a)]K a4-2c4K a40.5+γw(∑h3-h a)=[22×3.925-10×(4-1.2)]×0.589-2×62×0.5890.5+10×(4-1.2)=-32.797kN/m2P ak4下=[γsat4(H4'+h4)-γw(∑h3-h a)]K a4-2c4K a40.5+γw(∑h3-h a)=[22×(3.925+1.55)-10×(5.55-1.2)]×0.589-2×62×0.5890.5+10×(5.55-1.2)=-6.342kN/m2第5层土:5.55-7mH5'=[∑γ4h4+∑q1+∑q1b1/(b1+2a1)]/γsati=[116.28+3+1.167]/22=5.475mP ak5上=[γsat5H5'-γw(∑h4-h a)]K a5-2c5K a50.5+γw(∑h4-h a)=[22×5.475-10×(5.55-1.2)]×0.589-2×62×0.5890.5+10×(5.55-1.2)=-6.342kN/m2P ak5下=[γsat5(H5'+h5)-γw(∑h4-h a)]K a5-2c5K a50.5+γw(∑h4-h a)=[22×(5.475+1.45)-10×(7-1.2 )]×0.589-2×62×0.5890.5+10×(7-1.2)=18.407kN/m2第6层土:7-8.55mH6'=[∑γ5h5+∑q1+∑q1b1/(b1+2a1)+∑q1b1l1/((b1+2a1)(l1+2a1)]/γsati=[148.18+3+1.167+0. 5]/22=6.948mP ak6上=[γsat6H6'-γw(∑h5-h a)]K a6-2c6K a60.5+γw(∑h5-h a)=[22×6.948-10×(7-1.2)]×0.589-2×62×0.5890.5+10×(7-1.2)=18.705kN/m2P ak6下=[γsat6(H6'+h6)-γw(∑h5-h a)]K a6-2c6K a60.5+γw(∑h5-h a)=[22×(6.948+1.55)-10×(8.55-1.2)]×0.589-2×62×0.5890.5+10×(8.55-1.2)=45.16kN/m2第7层土:8.55-9mH7'=[∑γ6h6+∑q1+∑q1b1/(b1+2a1)+∑q1b1l1/((b1+2a1)(l1+2a1)]/γsati=[182.28+3+1.167+0.5]/20=9.347mP ak7上=[γsat7H7'-γw(∑h6-h a)]K a7-2c7K a70.5+γw(∑h6-h a)=[20×9.347-10×(8.55-1.2)]×0.589-2×0×0.5890.5+10×(8.55-1.2)=140.316kN/m2P ak7下=[γsat7(H7'+h7)-γw(∑h6-h a)]K a7-2c7K a70.5+γw(∑h6-h a)=[20×(9.347+0.45)-10×(9-1.2 )]×0.589-2×0×0.5890.5+10×(9-1.2)=147.467kN/m23)水平荷载临界深度:Z0=7-P ak5下h5/(P ak5上+P ak5下)=7-18.407×1.45/(6.342+18.407)=5.922m;第1层土E ak1=0kN;第2层土E ak2=0kN;第3层土E ak3=0kN;第4层土E ak4=0kN;第5层土E ak5=0.5P ak5下Z0b a=0.5×18.407×5.922×0.001=0.055kN;a a5=(7-Z0)/3+∑h6=(7-5.922)/3+2=2.359m;第6层土E ak6=h6(P a6上+P a6下)b a/2=1.55×(18.705+45.16)×0.001/2=0.049kN;a a6=h6(2P a6上+P a6下)/(3P a6上+3P a6下)+∑h7=1.55×(2×18.705+45.16)/(3×18.705+3×45.16)+0.45=1.118m;第7层土E ak7=h7(P a7上+P a7下)b a/2=0.45×(140.316+147.467)×0.001/2=0.065kN;a a7=h7(2P a7上+P a7下)/(3P a7上+3P a7下)=0.45×(2×140.316+147.467)/(3×140.316+3×147.467)=0.223m;土压力合力:E ak=ΣE aki=0+0+0+0+0.055+0.049+0.065=0.169kN;合力作用点:a a=Σ(a ai E aki)/E ak=(0×0+0×0+0×0+0×0+2.359×0.055+1.118×0.049+0.223×0.065)/0.169=1.178m;2、被动土压力计算1)被动土压力系数K p1=tan2(45°+ φ1/2)= tan2(45+15/2)=1.698;K p2=tan2(45°+ φ2/2)= tan2(45+15/2)=1.698;K p3=tan2(45°+ φ3/2)= tan2(45+15/2)=1.698;K p4=tan2(45°+ φ4/2)= tan2(45+15/2)=1.698;2)土压力、地下水产生的水平荷载第1层土:5-5.55mH1'=[∑γ0h0]/γi=[0]/20=0mP pk1上=γ1H1'K p1+2c1K p10.5=20×0×1.698+2×62×1.6980.5=161.581kN/m2P pk1下=γ1(h1+H1')K p1+2c1K p10.5=20×(0.55+0)×1.698+2×62×1.6980.5=180.259kN/m2 第2层土:5.55-6.2mH2'=[∑γ1h1]/γi=[11]/20=0.55mP pk2上=γ2H2'K p2+2c2K p20.5=20×0.55×1.698+2×62×1.6980.5=180.259kN/m2P pk2下=γ2(h2+H2')K p2+2c2K p20.5=20×(0.65+0.55)×1.698+2×62×1.6980.5=202.333kN/m2 第3层土:6.2-8.55mH3'=[∑γ2h2]/γsati=[24]/22=1.091mP pk3上=[γsat3H3'-γw(∑h2-h p)]K p3+2c3K p30.5+γw(∑h2-h p)=[22×1.091-10×(1.2-1.2)]×1.698 +2×62×1.6980.5+10×(1.2-1.2)=202.336kN/m2P pk3下=[γsat3(H3'+h3)-γw(∑h2-h p)]K p3+2c3K p30.5+γw(∑h2-h p)=[22×(1.091+2.35)-10×(3.55 -1.2)]×1.698+2×62×1.6980.5+10×(3.55-1.2)=273.72kN/m2第4层土:8.55-9mH4'=[∑γ3h3]/γsati=[75.7]/20=3.785mP pk4上=[γsat4H4'-γw(∑h3-h p)]K p4+2c4K p40.5+γw(∑h3-h p)=[20×3.785-10×(3.55-1.2)]×1.69 8+2×0×1.6980.5+10×(3.55-1.2)=112.136kN/m2P pk4下=[γsat4(H4'+h4)-γw(∑h3-h p)]K p4+2c4K p40.5+γw(∑h3-h p)=[20×(3.785+0.45)-10×(4-1.2 )]×1.698+2×0×1.6980.5+10×(4-1.2)=124.277kN/m23)水平荷载第1层土E pk1=b a h1(P p1上+P p1下)/2=0.001×0.55×(161.581+180.259)/2=0.094kN;a p1=h1(2P p1上+P p1下)/(3P p1上+3P p1 )+∑h2=0.55×(2×161.581+180.259)/(3×161.581+3×180.259)+3.45=3.72m;下第2层土E pk2=b a h2(P p2上+P p2下)/2=0.001×0.65×(180.259+202.333)/2=0.124kN;a p2=h2(2P p2上+P p2下)/(3P p2上+3P p2)+∑h3=0.65×(2×180.259+202.333)/(3×180.259+3×202.333)+2.8=3.119m;下第3层土E pk3=b a h3(P p3上+P p3下)/2=0.001×2.35×(202.336+273.72)/2=0.559kN;a p3=h3(2P p3上+P p3下)/(3P p3上+3P p3)+∑h4=2.35×(2×202.336+273.72)/(3×202.336+3×273.72)+0.45=1.566m;下第4层土E pk4=b a h4(P p4上+P p4下)/2=0.001×0.45×(112.136+124.277)/2=0.053kN;a p4=h4(2P p4上+P p4下)/(3P p4上+3P p4下)=0.45×(2×112.136+124.277)/(3×112.136+3×124.277)=0.221m;土压力合力:E pk=ΣE pki=0.094+0.124+0.559+0.053=0.83kN;合力作用点:a p=Σ(a pi E pki)/E pk=(3.72×0.094+3.119×0.124+1.566×0.559+0.221×0.053)/0.83=1.956m;3、基坑内侧土反力计算1)主动土压力系数K a1=tan2(45°-φ1/2)= tan2(45-15/2)=0.589;K a2=tan2(45°-φ2/2)= tan2(45-15/2)=0.589;K a3=tan2(45°-φ3/2)= tan2(45-15/2)=0.589;K a4=tan2(45°-φ4/2)= tan2(45-15/2)=0.589;2)土压力、地下水产生的水平荷载第1层土:5-5.55mH1'=[∑γ0h0]/γi=[0]/20=0mP sk1上=(0.2φ12-φ1+c1)∑h0(1-∑h0/l d)υ/υb+γ1H1'K a1=(0.2×152-15+62)×0×(1-0/4)×0.012/0 .012+20×0×0.589=0kN/m2P sk1下=(0.2φ12-φ1+c1)∑h1(1-∑h1/l d)υ/υb+γ1(h1+H1')K a1=(0.2×152-15+62)×0.55×(1-0.55/4 )×0.012/0.012+20×(0+0.55)×0.589=50.121kN/m2第2层土:5.55-6.2mH2'=[∑γ1h1]/γi=[11]/20=0.55mP sk2上=(0.2φ22-φ2+c2)∑h1(1-∑h1/l d)υ/υb+γ2H2'K a2=(0.2×152-15+62)×0.55×(1-0.55/4)×0. 012/0.012+20×0.55×0.589=50.121kN/m2P sk2下=(0.2φ22-φ2+c2)∑h2(1-∑h2/l d)υ/υb+γ2(h2+H2')K a2=(0.2×152-15+62)×1.2×(1-1.2/4)×0.012/0.012+20×(0.55+0.65)×0.589=91.416kN/m2第3层土:6.2-8.55mH3'=[∑γ2h2]/γsati=[24]/22=1.091mP sk3上=(0.2φ32-φ3+c3)∑h2(1-∑h2/l d)υ/υb+[γsat3H3'-γw(∑h2-h p)]K p3+γw(∑h2-h p)=(0.2×152-1 5+62)×1.2×(1-1.2/4)×12/12+[22×1.091-10×(1.2-1.2)]×0.589+10×(1.2-1.2)=91.417kN /m2P sk3下=(0.2φ32-φ3+c3)∑h3(1-∑h3/l d)υ/υb+[γsat3(H3'+h3)-γw(∑h3-h p)]K p3+γw(∑h3-h p)=(0.2×152-15+62)×3.55×(1-3.55/4)×12/12+[22×(1.091+2.35)-10×(3.55-1.2)]×0.589+10×(3. 55-1.2)=90.989kN/m2第4层土:8.55-9mH4'=[∑γ3h3]/γsati=[75.7]/20=3.785mP sk4上=(0.2φ42-φ4+c4)∑h3(1-∑h3/l d)υ/υb+[γsat4H4'-γw(∑h3-h p)]K p4+γw(∑h3-h p)=(0.2×152-1 5+0)×3.55×(1-3.55/4)×12/12+[20×3.785-10×(3.55-1.2)]×0.589+10×(3.55-1.2)=66.22 7kN/m2P sk4下=(0.2φ42-φ4+c4)∑h4(1-∑h4/l d)υ/υb+[γsat4(H4'+h4)-γw(∑h4-h p)]K p4+γw(∑h4-h p)=(0.2×152-15+0)×4×(1-4/4)×12/12+[20×(3.785+0.45)-10×(4-1.2)]×0.589+10×(4-1.2)=61.39 6kN/m23)水平荷载第1层土P sk1=b0h1(P s1上+P s1下)/2=0.001×0.55×(0+50.121)/2=0.014kN;a s1=h1(2P s1上+P s1下)/(3P s1上+3P s1下)+∑h2=0.55×(2×0+50.121)/(3×0+3×50.121)+3.45=3.633m;第2层土P sk2=b0h2(P s2上+P s2下)/2=0.001×0.65×(50.121+91.416)/2=0.046kN;a s2=h2(2P s2上+P s2下)/(3P s2上+3P s2 )+∑h3=0.65×(2×50.121+91.416)/(3×50.121+3×91.416)+2.8=3.093m;下第3层土P sk3=b0h3(P s3上+P s3下)/2=0.001×2.35×(91.417+90.989)/2=0.214kN;a s3=h3(2P s3上+P s3下)/(3P s3上+3P s3 )+∑h4=2.35×(2×91.417+90.989)/(3×91.417+3×90.989)+0.45=1.626m;下第4层土P sk4=b0h4(P s4上+P s4下)/2=0.001×0.45×(66.227+61.396)/2=0.029kN;a s4=h4(2P s4上+P s4下)/(3P s4上+3P s4下)=0.45×(2×66.227+61.396)/(3×66.227+3×61.396)=0.228m;土压力合力:P pk=ΣP pki=0.014+0.046+0.214+0.029=0.303kN;合力作用点:a s=Σ(a si P ski)/P pk=(3.633×0.014+3.093×0.046+1.626×0.214+0.228×0.029)/0.303=1.808m;P sk=0.303kN≤E p=0.83kN满足要求!四、稳定性验算1、嵌固稳定性验算E pk a pl/(E ak a al)=0.83×1.956/(0.169×1.178)=8.155≥K e=1.2满足要求!2、整体滑动稳定性验算圆弧滑动条分法示意图K si=∑{c j l j+[(q j b j+ΔG j)cosθj-μj l j]tanφj}/∑(q j b j+ΔG j)sinθc j、φj──第j土条滑弧面处土的粘聚力(kPa)、内摩擦角(°);b j──第j土条的宽度(m);θj──第j土条滑弧面中点处的法线与垂直面的夹角(°);l j──第j土条的滑弧段长度(m),取l j=b j/cosθj;q j──作用在第j土条上的附加分布荷载标准值(kPa) ;ΔG j──第j土条的自重(kN),按天然重度计算;u j──第j土条在滑弧面上的孔隙水压力(kPa),采用落底式截水帷幕时,对地下水位以下的砂土、碎石土、粉土,在基坑外侧,可取u j=γw h waj,在基坑内侧,可取u j=γw h wpj;滑弧面在地下水位以上或对地下水位以下的粘性土,取u j =0;γw──地下水重度(kN/m3);h waj──基坑外侧第j土条滑弧面中点的压力水头(m);h wpj──基坑内侧第j土条滑弧面中点的压力水头(m);min{ K s1,K s2,……,K si,……}=0.855< K s=1.3不满足要求,增加内支撑,详见支撑计算书3、渗透稳定性验算渗透稳定性简图承压水作用下的坑底突涌稳定性验算:D γ /(h wγw) =∑h iγi /(h wγw)=(0.55×20+3×20+0.75×20.5)/(6×10)=1.44D γ /(h wγw) =1.44≥K h=1.1满足要求!五、结构计算1、材料参数2、支护桩的受力简图计算简图弯矩图(kN·m)M k=0.324kN.m剪力图(kN)V k=0.21kN3、强度设计值确定M=γ0 γF M k=1×1.25×0.324=0.405kN·mV=γ0γF V k=1×1.25×0.21=0.263kN4、材料的强度计算σmax=M/(γW)=0.405×106/(1.05×88×103)=4.383N/mm2≤[f]=205N/mm2满足要求!H`=(WH2-(H-t)2(W-2t))/(2(WH-(H-t)(W-2t))=(400×852-(85-8)2(400-2×8))/(2(400×85 -(85-8)(400-2×8))=69mmS=t(H-H`)2=8×(85-69)2=2048mm3,τmax=VS/It=0.263×2048×103/(598×104×8)=0.011N/mm2≤[f]=125N/mm2满足要求!。
支护方案:钢板桩支护---------------------------------------------------------------------- [ 基本信息 ]---------------------------------------------------------------------- [ 放坡信息 ]-------------------------------------------------------------------------------------------------------------------------------------------- [ 超载信息 ]-------------------------------------------------------------------------------------------------------------------------------------------- [ 附加水平力信息 ]---------------------------------------------------------------------- [ 土层信息 ]---------------------------------------------------------------------- [ 土层参数 ]---------------------------------------------------------------------- [ 土压力模型及系数调整 ]----------------------------------------------------------------------弹性法土压力模型: 经典法土压力模型:---------------------------------------------------------------------- [ 工况信息 ]-------------------------------------------------------------------------------------------------------------------------------------------- [ 设计参数 ]-------------------------------------------------------------------------------------------------------------------------------------------- [ 设计结果 ]-------------------------------------------------------------------------------------------------------------------------------------------- [ 结构计算 ]---------------------------------------------------------------------- 各工况:内力位移包络图:地表沉降图:---------------------------------------------------------------------- [ 截面计算 ]---------------------------------------------------------------------- [ 截面参数 ][ 截面验算 ]基坑内侧抗弯验算(不考虑轴力)σnei = Mn / Wx= 0.000/(3150.000*10-6)= 0.000(MPa) < f = 215.000(MPa) 满足基坑外侧抗弯验算(不考虑轴力)σwai = Mw / Wx= 87.255/(3150.000*10-6)= 27.700(MPa) < f = 215.000(MPa) 满足式中:σwai———基坑外侧最大弯矩处的正应力(Mpa);σnei———基坑内侧最大弯矩处的正应力(Mpa);Mw ———基坑外侧最大弯矩设计值(kN.m);Mn ———基坑内侧最大弯矩设计值(kN.m);Wx ———钢材对x轴的净截面模量(m3);f ———钢材的抗弯强度设计值(Mpa);---------------------------------------------------------------------- [ 整体稳定验算 ]----------------------------------------------------------------------计算方法:瑞典条分法应力状态:有效应力法条分法中的土条宽度: 0.40m滑裂面数据圆弧半径(m) R = 13.576圆心坐标X(m) X = -2.049圆心坐标Y(m) Y = 7.553整体稳定安全系数 K s = 2.068 > 1.30, 满足规范要求。
钢板桩支护验算计算书一、工程概况本标段的三座框架桥。
位于穂莞深城际铁路新塘至洪梅段中堂动车所内。
桥址区属于珠江三角洲滨海平原区,地势平坦。
主要用于河涌排洪。
JGDK1+676框架桥(1G15m-5m)与中堂运用所正线斜交67°,全桥长18.03m,斜宽167.76m,底板厚1.2m,边墙厚0.8m,顶板厚0.9m,全桥为一跨结构;地表标高为1.9-2.2m,基坑底标高-2.48m~-2.31m,基坑开挖深度4.2m~4.5m。
二、钢板桩支护结构施工方案我局管段穗莞深城际SZH-6标,桥位均处于软土及水涌中,框架桥基坑开挖均采用钢板桩支护;河涌段水位较浅,先设草袋围堰施工框架桥基础,开挖时再设钢板桩支护。
支护墙体采用9m长钢板桩,钢板桩基坑顶处设置300G300的H型钢围檩,支撑体系采用内支撑形式,采用Ф325G6mm钢管,长18.6m,间距6m。
1、钢板桩支护1)钢板桩的选用采用拉森Ⅲ型钢板桩(B=400mm,H=125mm,t=13mm)。
考虑地质情况和开挖深度的需要,施工采用浅埋单层支点排桩墙,选用9m长度的钢板桩。
2、钢板桩的插打总体施工流程:施工准备→测量定位→打钢板桩→钢板桩合拢→钢板桩外拉锚→清底→封底→垫层→底板施工→脚手架架设→顶板、边墙施工→钢板桩围堰拆除。
钢板桩采用逐片插打逐渐纠偏直至合拢,插打时利用挖掘机或吊车附带钢丝绳吊起后,液压振动捶夹板夹住钢板桩到位,按要求沿框架桥四周每边外放1.5米要求,振动锤边振动边插打。
为了确保插打位置准确,第一片钢板桩要从两个互相垂直的方向同时控制,确保其垂直度在0.5%内,然后以此为基础向两边插打。
考虑到水位高的因素,转交处使用特制角桩插打,整个钢板桩形成一个整体,达到安全止水的最佳效果。
3、钢支撑结构形式为了确保基坑开挖及钢板桩安全可靠,钢板桩墙体支撑体系尤为重要。
具体支撑及安装位置见附图1,支撑结构材料如下:1)钢板桩支护墙体坡顶处采用300G300的H型钢围檩,每个对角采用三块300mm ×300mm×10mm钢板连接;对角斜撑采用两300G300的H型钢,对角处用四块250mm ×250mm×10mm钢板连接。
钢板桩支护计算书 The manuscript was revised on the evening of 2021支护计算书一.设计资料该项目的支护结构非主体结构的一部分;开挖深度为<10m;在等于开挖深度的水平距离内无临近建筑物。
故可以认为该坑的安全等级为二级。
重要性系数取γ= 。
地面标高:基础底面标高:开挖深度:地下水位:地面均布荷载:20kN/m2土层:地表层有1m厚的杂填土,其下为均质粉质粘土基坑外侧的粘土都看做饱和粘土;基坑内侧因为排水,看做有深含水量16%的粘土,其下为饱和粘土。
二.选择支护形式由于土质较好,水位较高,开挖深度一般,故选择钢板桩加单层土层锚杆支护。
三.土压力计算1.竖向土压力的计算公式:j mj rk z γσ=o ok q =σ ok rk ajk σσσ+= 基坑外侧:)7.9(193.2037.81938201182020032321-⨯+==⨯+==+⨯==+=h kPa kPakPa i σσσσσσ基坑内侧:)8.1(19''69.308.105.17'0'221-⨯+==⨯==h kPa j σσσσ 2.主动土压力的计算840.0)2545(21=︒-︒=tg K a 916.01=a K 490.0)22045(22=︒-︒=tg K a 700.02=a Kai ik ai ajk ajk K c K e 2-=σkPa e kPa e kPa e a a a 38.9700.0202490.038'75.22916.052840.03863.7916.052840.020221-=⨯⨯-⨯==⨯⨯-⨯==⨯⨯-⨯= 取0'2=a e 主动土压力零点:ml l 0.107.020249.0)1938(==⨯⨯-⨯⨯+kPa e a 62.7170.0202490.03.2033=⨯⨯-⨯=主动土压力示意图3.被动土压力的计算191.1)2545(21=︒+︒=tg K p 091.11=p K 040.2)22045(22=︒+︒=tg K p 428.12=p Kpi ik pi pjk pjk K c K e 2+=σkPae e kPa e p p p 73.119040.28.105.1712.57428.1202121=+⨯⨯==⨯⨯=4.土压力总和开挖面以上只有主动土压力。
钢板桩基坑支护计算书一、结构计算依据1、国家现行的建筑结构设计规范、规程行业标准以及广东省建筑行业强制性标准规范、规程。
2、提供的地质勘察报告。
3、工程性质为管线构筑物,管道埋深~米。
4、本工程设计,抗震设防烈度为六度。
5、管顶地面荷载取值为:城-A 级。
6、本工程地下水位最小埋深为。
7、本工程基坑计算采用理正深基坑支护结构计算软件(1)内支撑计算1、基槽支护内支撑计算内支撑采用25H型钢A= 4 4x= i y= Ix=10800cm Iy=3650cm3 Wx=864cm查得fy fxI y72510.87256.290.7680.464内支撑N=,67.13115.126[考虑自重作用,3468.80 100.464 92.18 102M X= •m109.6 [ f ] 215MPa468.80 1032迪些58.05 [f]Wx 0.768 117 10 136.7 10Mx215MPa(2)围檩计算取第二道围檩计算,按 2跨连续梁计算,采用30H 型钢4 4 3A= i x = i y = lx=20500cm ly=6750cm Wx=1370cm [计算结果]挡土侧支座负弯距为:M max =x ・m=- m 跨中弯矩为 ML F •m支座处: 1M max 206.8kNJ i50.9MPa ,考虑钢板桩结构自身的抗弯作用,可满Wx 1370cm足安全要求。
三、基槽支护工程计算书支护结构受力计算米深支护计算跨中:Wx183.4kN m31370cm133.87MPa"j > A.»i t - lb D .-70 / = GO[基本信息]规范与规程《建筑基坑支护技术规程》JGJ 120-2012[支护方案]排桩支护单位m工况I 」•忖AW 炖M 妙賤UW 九崩妃如必4 土帛參教2封眦19 0 f I 勺準 r>o (r>o) - 25 U (2^ D)T 尸远序丄Hi □仏 Qi & 0 (& 纽 X 5 (J 何询51 ,即T13^IDO tiom0)l'.J D 0 0[超载信息][附加水平力信息][土层信息][土层参数][支锚信息]支锚预加力支锚刚度锚固体工况锚固力材料抗力材料抗力道号(kN)(MN/m)直径(mm)号调整系数(kN)调整系数1—2〜—2—4—3—6〜—[土压力模型及系数调整]\.\亠般分布层号土类名称水土水压力调整系数外侧土压力调整系数1外侧土压力调整系数2内侧土压力调整系数内侧土压力最大值(kPa)1素填土合算2粉砂合算3淤泥质土合算4粉砂合算弹性法土压力模型经典法土压力模型[工况信息][设计结果][结构计算]各工况:(-1W唸一?1 >1初卜H证:-一®期卜0閒卜-,西⑵£_4竝加一-()551) (住(J ——IOC} 詮瞪卜一柑期if 町M III I I I I 川I J I I I(-1526卜一恰因)(-9 5< -------- 伯怕)工岗2--M - ( C* 5Qhi )±H^KN/m) 歹4(KN-时(-1 w &z—(iji 诃:-4蛀5竝——(1561;-(—11 0C)(GO}—-I'&O}卩罰) -(計721(ODO>-—(7 7>;\i询[|| II 1111(-152S)—旳蚓卜以—一(QCO)(-H2WF —(151 $7) (_||轴卜一(000)(-46 2lH~(45 P) (-2504)-—(41 05) (-梵8 的)——仔孑如}(00}-—(00}(-20914 -------- flG 32)(-22 72>-・・(2bD7}£1 次 KN/m) (-142^)—(151 刃) 卜 36869)——153$1} 賊mm)WN-m) 映KN ; (-II ⑹——(000)(-46 21^—(45 37) 卜?504卜・・(41(0 0” - - f & 0}(-2095) --------- (16 32)(-2272}- ・・(2M7}玖 4—M 2 ( 2 00in )(-161 49}一-(151 8刁 (-1375)—(0 00) (■田 阿一-削 24)[-2町站 ----- (53 02)(00}-—(00}(-551S>—(32S94)(-1575)—(9 00) (0 0}— - - (& 0}(■旳 &卜一® 24)(-551!>—(32394)•上 0:KN/m)(-18149)——(151 洌(-^3 55)—(53 02)賊mm)曹丸KN ;(-6764}-—(67 42} (-146 86) --------------- (4591)驳KN ;(-67 64}-—(67 42} (_1匹为卜…盘5如〉谊 7-- nn ( 530m )内力位移包络图:地表沉降图:±Kjt(KN/in) 卜 209 59)—(151 W) i-?卩瑚一-(竝吧酬 rrijn)f-lBOfl)(D04) (00^—(00)(-12B 99}——(10? 711 (-17120}——{173 51)軌(KN)(-1&027)—-(105 3^)(-16 04)—(0 !M]卜 126 99——(IDQ 71) 卜 IT 2D)—-卩已 94;(-71 85}一-(TV B2)(-160 27)——(IH 39)'3[截面计算][截面参数]弯矩折减系数剪力折减系数荷载分项系数内力取值段内力类型弹性法 经典法 内力 内力号计算值计算值设计值实用值基坑内侧最大弯矩"一十一一一一—"一^-一十一-一一二 一1....--”胡量 39mrri■IC50 407uDO---- 囲嗥良竝膜I9nn[截面验算]基坑内侧抗弯验算(不考虑轴力)(T nei = Mn / Wx=*10-6)基坑外侧抗弯验算(不考虑轴力)d wai = Mw / Wx=*10 -6)式中:d wai - -—基坑外侧最大弯矩处的正应力 (Mpa); d nei --—基坑内侧最大弯矩处的正应力 (Mpa);Mw--—基坑外侧最大弯矩设计值5Mn —— 基坑内侧最大弯矩设计值 5Wx —- 钢材对X 轴的净截面模量 (m 3);f—--—钢材的抗弯强度设计值(Mpa);[整体稳定验算]=(MPa) < f = (MPa)满足=(MPa) < f = (MPa)满足醴n-i计算方法:瑞典条分法应力状态:有效应力法条分法中的土条宽度滑裂面数据整体稳定安全系数K s =圆弧半径(m) R =圆心坐标X(m) X =圆心坐标Y(m) Y =[抗倾覆稳定性验算]抗倾覆安全系数M ——被动土压力及支点力对桩底的抗倾覆弯矩,对于内支撑支点力由内支撑抗压力决定;对于锚杆或锚索,支点力为锚杆或锚索的锚固力和抗拉力的较小值。
钢板桩支护计算书采用12m的拉森钢板桩进行基坑围护,围护示意图如下:沿钢板桩深度方向设立二道斜角400×400H型钢支撑,相应位置见上图。
根据地质勘探报告,得各土层物理参数如下:①层平均层厚为2.4m,容重取20kN/m3,粘结力c=0,主动侧压力系数取0.2;②层平均层厚为 3.0m,容重取20.3kN/m3,粘结力c=0,内摩擦角为33.33°,主动土压力系数Ka=tan2(45-33.33/2)=0.29,被动土压力系数Kp= tan2(45+33.33/2)=3.44;③层平均层厚为2.6m,容重取20.2kN/m3,粘结力c=51.3,内摩擦角为9.9°,主动土压力系数Ka=tan2(45-9.9/2)=0.71,被动土压力系数Kp= tan2(45+9.9/2)=1.42;④层平均层厚为7.4m,容重取19.7kN/m3,粘结力c=33.2,内摩擦角为11.4°,主动土压力系数Ka=tan2(45-11.4/2)=0.67,被动土压力系数Kp= tan2(45+11.4/2)=1.49;⑤层平均层厚为8.15m,容重取20.1kN/m3,粘结力c=68,内摩擦角为13.7°,主动土压力系数Ka=tan2(45-13.7/2)=0.62,被动土压力系数Kp= tan2(45+13.7/2)=1.62;一、钢板桩最小入土深度(根据C点支撑反力为零计算出最小入土深度)基坑开挖深度6m,取钢板桩单位长度为计算单元。
钢板桩为拉森III型钢板桩,围囹、支撑、锚桩均采用400×400的H型钢,相应的截面性能参数见计算书后附件。
按上图的支护方式,计算图式可简化为三点支撑的连续梁,结构简图及荷载分布图如下(采用结构力学求解器进行求解):结构弯矩图如下:剪力图如下:在此支撑模式下,坑底最小入土深度为1.2m。
此时支撑点C的反力为零。
出于安全考虑,钢板桩入土深度实际施工时按3m施工。
理正7.0钢板桩支护计算书----------------------------------------------------------------------[ 支护方案 ]----------------------------------------------------------------------排桩支护----------------------------------------------------------------------[ 基本信息 ]----------------------------------------------------------------------规范与规程《建筑基坑支护技术规程》JGJ 120-2012内力计算方法增量法基坑等级三级0.90基坑侧壁重要性系数γ基坑深度H(m) 4.500嵌固深度(m) 4.500桩顶标高(m)0.000桩材料类型钢板桩236.00├每延米截面面积A(cm2)├每延米惯性矩39600.00I(cm4)2200.00└每延米抗弯模量W(cm3)└抗弯f(N/mm2)205有无冠梁无放坡级数0超载个数1支护结构上的水平集中力层号与锚固体摩粘聚力内摩擦角水土计算方法m,c,K值抗剪强度擦阻力(kPa)水下(kPa)水下(度)(kPa)1110.0---------m法20.22---230.0 3.0027.00分算m法12.38---365.032.0018.00合算m法7.88-------------------------------------------------------------------------[ 土压力模型及系数调整 ]----------------------------------------------------------------------弹性法土压力模型: 经典法土压力模型:层号土类水土水压力外侧土压力外侧土压力内侧土压力内侧土压力名称调整系数调整系数1调整系数2调整系数最大值(kPa)1粗砂分算1.000 1.0000.000 1.00010000.0002粉砂分算1.000 1.000 1.000 1.00010000.0003粘性土合算1.000 1.000 1.000 1.00010000.000----------------------------------------------------------------------[ 工况信息 ]----------------------------------------------------------------------工况工况深度支锚号类型(m)道号1开挖 4.500-------------------------------------------------------------------------[ 设计结果 ]--------------------------------------------------------------------------------------------------------------------------------------------[ 结构计算 ]----------------------------------------------------------------------各工况:内力位移包络图:地表沉降图:----------------------------------------------------------------------[ 截面计算 ]----------------------------------------------------------------------[ 截面参数 ]弯矩折减系数 1.00剪力折减系数 1.00荷载分项系数 1.25[ 内力取值 ]段内力类型弹性法经典法内力内力号计算值计算值设计值实用值0.000.000.000.00基坑内侧最大弯矩(kN.m)135.44143.34152.37152.37 1基坑外侧最大弯矩(kN.m)最大剪力(kN)65.9160.7274.1474.14[ 截面验算 ]基坑内侧抗弯验算(不考虑轴力)σnei = M / W= 0.000/(2200.000*10-6)= 0.000(kPa)= 0.000(MPa) < f = 205.000(MPa) 满足基坑外侧抗弯验算(不考虑轴力)σwai = M / W= 152.371/(2200.000*10-6)= 69259.407(kPa)= 69.259(MPa) < f = 205.000(MPa) 满足----------------------------------------------------------------------[ 整体稳定验算 ]----------------------------------------------------------------------计算方法:瑞典条分法应力状态:总应力法条分法中的土条宽度: 0.40m滑裂面数据整体稳定安全系数 Ks= 2.799圆弧半径(m) R = 9.233圆心坐标X(m) X = -1.232圆心坐标Y(m) Y = 4.651----------------------------------------------------------------------[ 抗倾覆稳定性验算 ]----------------------------------------------------------------------抗倾覆安全系数:K s M p M aMp——被动土压力及支点力对桩底的抗倾覆弯矩, 对于内支撑支点力由内支撑抗压力决定;对于锚杆或锚索,支点力为锚杆或锚索的锚固力和抗拉力的较小值。
钢板桩基坑支护计算书一、结构计算依据1、国家现行的建筑结构设计规范、规程行业标准以及广东省建筑行业强制性标准规范、规程。
2、提供的地质勘察报告。
3、工程性质为管线构筑物,管道埋深4.8~4.7米。
4、本工程设计,抗震设防烈度为六度。
5、管顶地面荷载取值为:城-A级。
6、本工程地下水位最小埋深为2.0m。
7、本工程基坑计算采用理正深基坑支护结构计算软件。
(1)内支撑计算内支撑采用25H 型钢 A=92.18cm 2i x =10.8cm i y =6.29cm Ix=10800cm 4Iy=3650cm4Wx=864cm 3][126.11529.6725][13.678.10725λλλλ===<===y y x i l i l x查得464.0768.0==y x ϕϕ内支撑N=468.80kN ,考虑自重作用,M x =8.04N ·m MPa f A N fy y 215][6.1091018.92464.01080.46823=<=⨯⨯⨯=⋅=ϕ MPa f Wx Mx A N fx x 215][05.58107.1361004.810117768.01080.4684623=<=⨯⨯+⨯⨯⨯=+⋅=ϕ(2)围檩计算取第二道围檩计算,按2跨连续梁计算,采用30H 型钢A=94.5cm 2 i x =13.1cm i y =7.49cm Ix=20500cm 4 Iy=6750cm 4 Wx=1370cm 3[ 计算结果 ]挡土侧支座负弯距为:M max =0.85×243.3kN ·m=206.8kN ·m ,跨中弯矩为M max =183.4kN ·m 支座处: MPa cmmkN Wx M 9.15013708.206max 13=⋅==σ,考虑钢板桩结构自身的抗弯作用,可满足安全要求。
跨中:][87.13313704.183max 23σσ<=⋅==MPa cmm kN Wx M支护结构受力计算5.3米深支护计算---------------------------------------------------------------------- [ 支护方案 ]---------------------------------------------------------------------- 排桩支护[ 基本信息 ]---------------------------------------------------------------------- [ 超载信息 ]---------------------------------------------------------------------- [ 附加水平力信息 ]---------------------------------------------------------------------- [ 土层信息 ]---------------------------------------------------------------------- [ 土层参数 ]---------------------------------------------------------------------- [ 支锚信息 ]---------------------------------------------------------------------- [ 土压力模型及系数调整 ]----------------------------------------------------------------------弹性法土压力模型: 经典法土压力模型:---------------------------------------------------------------------- [ 工况信息 ]-------------------------------------------------------------------------------------------------------------------------------------------- [ 设计结果 ]-------------------------------------------------------------------------------------------------------------------------------------------- [ 结构计算 ]---------------------------------------------------------------------- 各工况:内力位移包络图:地表沉降图:---------------------------------------------------------------------- [ 截面计算 ]----------------------------------------------------------------------[ 截面验算 ]基坑内侧抗弯验算(不考虑轴力)σnei = Mn / Wx= 134.931/(2200.000*10-6)= 61.332(MPa) < f = 215.000(MPa) 满足基坑外侧抗弯验算(不考虑轴力)σwai = Mw / Wx= 115.502/(2200.000*10-6)= 52.501(MPa) < f = 215.000(MPa) 满足式中:σwai———基坑外侧最大弯矩处的正应力(Mpa);σnei———基坑内侧最大弯矩处的正应力(Mpa);Mw ———基坑外侧最大弯矩设计值(kN.m);Mn ———基坑内侧最大弯矩设计值(kN.m);Wx ———钢材对x轴的净截面模量(m3);f ———钢材的抗弯强度设计值(Mpa);---------------------------------------------------------------------- [ 整体稳定验算 ]----------------------------------------------------------------------计算方法:瑞典条分法应力状态:有效应力法条分法中的土条宽度: 0.40m滑裂面数据整体稳定安全系数 K s = 1.180圆弧半径(m) R = 12.220圆心坐标X(m) X = -3.876圆心坐标Y(m) Y = 2.422---------------------------------------------------------------------- [ 抗倾覆稳定性验算 ]---------------------------------------------------------------------- 抗倾覆安全系数:M p ——被动土压力及支点力对桩底的抗倾覆弯矩, 对于内支撑支点力由内支撑抗压力 决定;对于锚杆或锚索,支点力为锚杆或锚索的锚固力和抗拉力的较小值。
钢板桩支护计算书1.设计依据1.1《基坑工程手册》(第二版),刘国斌、王卫东主编,中国建筑工业出版社,20091.2《简明深基坑工程设计施工手册》,赵志缙、应惠清主编,中国建筑工业出版社1.3《土力学》,卢延浩主编,河海大学出版社1.4《建筑结构静力计算手册》(第二版),中国建筑工业出版社1.5《钢结构设计规范 GB50017-2003》2.设计说明2.1工程概况本工程循环水管道工程C段,基坑底标高-3.0m,基坑宽10.6m,基坑周围采用拉森IV型钢板桩进行支护,钢板桩单根宽40cm,长12m。
首先开挖土方至+3.5m,打设拉森IV型钢板桩后,开挖土方至+1m,钢板桩横向之间采用双45a工字钢进行连接,DN530×9.7钢管进行内支撑,支撑中心距钢板桩顶0.75m,支护完成后开挖至底标高-3.0m。
注:本支撑体系中,验算时以开挖至+3.5m时打设钢板桩处即入土深度5.5m,板桩悬挑高度为6.5m进行结构计算;实际施工时,根据施工经验,为增加支撑体系整体稳定性,首次开挖至+2.5m后打设钢板桩,届时钢板桩入土深度达到6.5m,悬挑高度5.5m。
钢板桩支护断面图钢板桩支撑立面图牛腿支撑图钢管与工字钢连接图2.2计算项目2.2.1钢板桩抗弯验算2.2.2支撑体系稳定性验算(1)工字钢抗剪强度及稳定性验算(2)钢管强度和稳定性验算(3)牛腿抗剪计算2.3最不利受力情况钢板桩所受荷载主要为土压力、运输车产生的荷载、挖掘机产生的荷载及履带吊吊装PCCP管产生的荷载等。
经验算:基坑开挖完成后,150t履带吊吊40tPCCP管安装时,钢板桩受力为最不利状况。
履带吊受力情况示意图Fmax=1960KN150t履带吊履带接地长度7200mm,P=1960/7.2=273KN/m。
集中荷载对土压力的影响范围:上部距顶面2×tg23°=0.98m;下部距顶面2×tg(45°+23°÷2)=3.02m。
精心整理支护计算书一.设计资料该项目的支护结构非主体结构的一部分;开挖深度为9.7m<10m;在等于开挖深度的水平距离内无临近建筑物。
故可以认为该坑的安全等级为二级。
重要性系数取γ0=1.0。
地面标高:-0.5m基础底面标高:-10.2m开挖深度:9.7m2.支点力T c1设支点位于地面以下4m ,即支点处标高为-4,5m对反弯点处弯矩为03.嵌固深度h d求最小h d ,用软件解如下方程161.66*(x+5.7)+(29.45*x+41.04)*(x-1.8)*(x-1.8)/6+19.296*(x-1.39)-1.2*(15.19+275.74+4.125)*x-1.2*845.57=0解得h d =7.500m五.弯矩计算 119.73kPa根据《建筑基坑支护技术规程》(JGJ120-99)的规定按下列规定计算其设计值: 截面弯矩设计值MM =1.25γ0M c式中γ0——重要性系数,取1.01. 锚固点弯矩设计值2. 剪力为0处弯矩设计值(开挖面上方)设地面到该点距离为2h3. 剪力为0处弯矩设计值(开挖面下方)1231231.2.设锚杆锚固长度为10m ,其中点到地面距离为8.31m ,直径为14cm 。
水平分力kN T T c d 49.2425.115.1=⨯=若取K=1.50,则修正为12m最后确定的锚固段长度为12m 。
3.钢拉杆截面选择取361φ,则其抗拉强度设计值:满足要求。
七.围檩受力计算围檩受到拉锚和钢板桩传来作用力,可按简支梁计算。
选用两排[18的槽钢,333104.2411027.120mm W ⨯=⨯⨯= 满足要求。
共需要376m 的[18热轧轻型槽钢。
七.抗倾覆验算满足要求。
钢板桩支护计算书1#~ 10#雨水检查井钢板桩支护设计计算书1#~ 10#雨水检查井钢板桩支护设计计算书计算:_______________复核:_______________审核:_______________审定:目录1■计算说明 (1)1.1概况 (1)1.2计算内容 (1)2■计算依据 (1)3.参数选取及荷载计算 (1)3.1支护平面布置 (1)3.2板桩、圈梁截面 (1)3.3计算荷载参数 (2)3.4材料容许用力值 (3)4■主要结构计算及结果 (4)4.1计算模型 (4)4.2计算工况说明 (4)4.3钢板桩的计算及结果 (4)4.4圈梁的计算及结果 (7)5.结论及建议 (9)1. 计算说明1.1概况陇海快速路一中州大道互通式立交上跨陇海铁路立交桥工程位于河南省郑州市中州大道与陇海铁路交汇处,桥位处既有5+2X16+5 m四孔分离式箱桥,与陇海铁路下行线交叉点里程:K561+246,在既有箱桥两侧新建中州大道互通式立交上跨陇海铁路立交桥,本桥为双幅桥,主线桥桥面宽26.75m。
根据总体布置,原下穿立交雨水泵房和检查井受新设桥墩影响,需要拆除迁建。
1#-4#为矩形混凝土雨水检查井,最大平面尺寸为2.1 X 1.9m, 5#-10#为圆形混凝土雨水检查井,平面尺寸为© 2.2m,所有检查井最大深度h=4.2m,井内壁均需做防水处理。
检查井开挖范围内,土层以细砂、粉土为主,拟采用钢板桩支护辅助施工。
钢板桩使用SKSP- w型板桩,长度为9m支护设置一层圈梁。
1.2计算内容采用容许应力法和有限元法对支护施工过程中的各工况进行计算,计算内容包括钢板桩、圈梁等的强度、刚度。
2. 计算依据《钢结构设计规范》(GB 50017-2003)《公路桥涵地基与基础设计规范》(JTG D63-2007)《建筑基坑工程监测技术规范》(GB 50497-2009)《基坑工程手册》中国建筑出版社刘国斌王卫东主编《陇海快速路-中州大道互通式立交上跨陇海铁路立交桥工程第四册给排水工程》(中铁工程设计咨询集团有限公司)《陇海快速路-中州大道互通式立交上跨陇海铁路立交桥工程岩土工程勘察报告》项目部提供的地质等相关资料3. 参数选取及荷载计算3.1支护平面布置支护施工采用单层支撑,钢板桩长度为9m,具体布置如下图1所示:3.2板桩、圈梁截面SKSP-W型板桩参数如下:I = 38600cm3, W=2270cm3;(按1m宽度计)。
地下工程支护(钢板桩)设计及计算书
项目概述
本项目是一块地下空间的支护设计,采用钢板桩支撑结构。
钢
板桩作为一种常用的工程支撑方式,经济实用,施工方便,适用范
围广泛,在地下工程中得到越来越广泛的应用。
本计算书将对支撑
设计进行详细说明。
设计计算
1. 钢板桩长度计算
根据地下结构深度及土壤性质等因素,确定钢板桩的长度。
2. 钢板桩截面尺寸计算
根据地下工程条件,选取合适的钢板桩型号,计算其截面尺寸。
3. 钢板桩嵌入深度计算
根据地下结构的要求和设计条件,确定钢板桩的嵌入深度。
4. 钢板桩桩身稳定性设计计算
根据钢板桩截面尺寸及其嵌入深度,计算钢板桩桩身稳定性设计。
5. 钢板桩锚杆设计计算
根据地下结构及土体条件,设计合适的锚固结构以保证钢板桩
稳定。
结论
本文对地下工程中采用钢板桩进行支撑的设计进行了详细说明,包括长度、截面尺寸、嵌入深度、桩身稳定性及锚杆等方面的计算。
希望对地下工程的相关设计及施工有所帮助。
钢板桩围护安全计算书1、计算资料本设计的排水埋管深度在4m,拟采用钢板桩支护。
钢板桩选用30#槽型钢板桩,长度8m,有效入土深度按3.8m 计。
钢板桩采用28#a型槽钢,W=×10-6m3。
围檩采用30号H型钢参数:Wx。
钢板桩支撑采用直径219mm 的钢管支撑,水平间距约3m。
钢管支撑垂直间距。
钢材使用Q235,强度设计值fd=205N/mm2沟槽的安全等级为二级,重要性系数γ=1.0。
2、土压力计算(1)主动土压力计算计算假定:板桩背竖直、光滑,其后地表水平,并无限延伸,不计土与板桩间的摩擦力,采用朗金土压力理论计算。
本排水工程埋管最大埋深以算,并考虑周边有附加荷载如推土机和挖机荷载等影响,取30KN/2m计,即板桩面承受主动土压力,高4.0m和地基附加荷载q=30KN/m2。
附加荷载换算高度1.674m。
按m的加权平均值计算:γ=18.01KN/m;c=9.79;θ=17.50°主动和被动土压力系数分别为:Ka=tan2(45−θ2)=0.538;Kp=tan2(45+θ2)=1.860桩顶地表A点的土压力强度为:p aA=30×0.538−2×9.79×√0.538=1.78KPa 水位处土压力强度为:pa水=(30+1×18.01)×0.538−2×9.79×√0.538=11.47KPa 坑底 B点的土压力强度为:p aB=(30+18.01×1+8.01×3)×0.538−2×9.79×√0.538=24.40KPa 坑底 C点的土压力强度为:p aC=(30+18.01×1+8.01×6.8)×0.538−2×9.79×√0.538=40.77KPa 板桩背承重总主动土压力为:E a1=1.78+11.472×1=6.63KN/mE a2=11.47+24.402×3=53.81KN/mE a3=24.40+40.772×3.8=123.83KN/m计算简图如下:(2)被动土压力计算同样假设板桩背竖直、光滑,地表水平,不计土与板桩间摩擦力,已知条件同计算主动土压力。
钢板桩支护 结构计算书一、工程概况支护方案 (钢板桩支护)基坑开挖深度为12m ,采用板桩作围护结构,桩长为6.5m ,桩顶标高为-8m 。
计算时考虑地面超载20kPa 。
q=20(粘质粉土)(粉质粘土)(粉质砂土)(粉质粘土)hw=12.589.210.411.6H =12D =2.5板桩共设4道支撑,见下表。
中心标高(m ) 刚度(MN/m 2)预加轴力(kN/m )-8 47.75 -9.2 78.77 -10.4 47.14 -11.6 52.51基坑附近有附加荷载如下表和下图所示。
h 8 x 1.5 s80编号 P(kPa 或kN/m) a(m) b(m) c 1 120 15 12 2二、地质条件场地地质条件和计算参数见表1。
地下水位标高为-12.5m。
土层层底标高(m) 层厚(m)重度(kN/m3)ϕ(︒) c(kPa) 渗透系数(m/d)压缩模量(MPa)m(kN/m4)k max(kN/m3)粘质粉土-4 4 20 23 25 10780粉质粘土-12 8 20 23 25 10780粉质砂土-13 1 19 23 0 8280粉质粘土-19 6 20 23 30 11280粉质粘土-25 6 19 23 30 11280 坑内进行加固,加固土层的计算参数见表。
土层层底标高(m) 层厚(m)重度(kN/m3)ϕ(︒) c(kPa) 渗透系数(m/d)压缩模量(MPa)m(kN/m4)k max(kN/m3)粉质砂土-1 1 19 23 0 8280粉质粘土-7 6 20 23 30 11280粉质粘土-13 6 19 23 30 11280 三、工况工况编号工况类型深度(m) 支撑刚度(MN/m2) 支撑编号预加轴力(kN/m)1 开挖82 加撑8 47.75 13 开挖9.24 加撑9.2 78.77 25 开挖10.46 加撑10.4 47.14 37 开挖11.68 加撑11.6 52.51 49 开挖12工况简图如下:工况 18工况 28工况 39.2工况 49.2工况 510.4工况 610.4工况 711.6工况 811.6工况 912四、计算20(粘质粉土)(粉质粘土)(粉质粘土)(粉质粘土)122.5YXO安全系数 K=1.22 ,圆心 O( 0.58 , 6.51 )整体稳定验算20(粘质粉土)(粉质粘土)(粉质粘土)(粉质粘土)12.5122.5Prandtl: K=3.13Terzaghi: K=3.73墙底抗隆起验算(粉质粘土)(粉质粘土)坑底抗隆起验算 K=4.98抗倾覆验算(水土合算)(粉质粘土) Kc=2.5包络图 (水土分算, 矩形荷载)40200-20-40 0246810121416深度(m)水平位移(mm)Max: 221050-5-10246810121416深度(m)弯矩(kN*m)-5.9 ~ 7.420100-10-20246810121416深度(m)剪力(kN)-10.1 ~ 16.7。
---------------------------------------------------------------------- [ 支护方案 ]---------------------------------------------------------------------- 排桩支护---------------------------------------------------------------------- [ 基本信息 ]-------------------------------------------------------------------------------------------------------------------------------------------- [ 超载信息 ]-------------------------------------------------------------------------------------------------------------------------------------------- [ 土层信息 ]-------------------------------------------------------------------------------------------------------------------------------------------- [ 土层参数 ]-------------------------------------------------------------------------------------------------------------------------------------------- [ 结构计算 ]---------------------------------------------------------------------- 各工况:内力位移包络图:[ 截面计算 ]---------------------------------------------------------------------- [ 截面参数 ][ 内力取值 ]---------------------------------------------------------------------- [ 整体稳定验算 ]----------------------------------------------------------------------计算方法:瑞典条分法应力状态:总应力法条分法中的土条宽度: 0.40m滑裂面数据整体稳定安全系数 K s = 1.658圆弧半径(m) R = 7.390圆心坐标X(m) X = -1.062圆心坐标Y(m) Y = 4.073---------------------------------------------------------------------- [ 抗倾覆稳定性验算 ]---------------------------------------------------------------------- 抗倾覆安全系数:_M p——被动土压力及支点力对桩底的弯矩, 对于内支撑支点力由内支撑抗压力_ 决定;对于锚杆或锚索,支点力为锚杆或锚索的锚固力和抗拉力的较小值。
钢板桩支护计算书 Document number:PBGCG-0857-BTDO-0089-PTT1998
目录
1 计算依据 (1)
2 工程概况 (1)
3 结构设计 (1)
总体思路 (1)
钢板桩结构设计 (1)
4 材料主要参数及截面特性 (3)
5 计算结果 (3)
钢板桩计算 (4)
抗隆起验算 (5)
6 结论 (6)
仪征碧桂园地下车库钢板桩支护计算书
1 计算依据
⑴《建筑施工计算手册》(中国建筑工业出版社)
⑵《土力学》(中国铁道出版社)
⑶《建筑力学》(中国建材工业出版社)
2 工程概况
仪征碧桂园一期工程位于仪征市天宁大道与文兴路交汇处西北隅,一期工程
主要由7栋32F(栋号为1~4#、7#、12#、13#)、5栋18F(栋号为5#、6#、
8#、10#、11#)住宅楼和4栋1~2F商业楼(栋号为8-1#、8-2#、10-1#、11-
1#)及1栋2F综合楼(栋号为9#)组成(栋号均为勘查院编号),其中高层住
宅楼为框架剪力墙结构,综合楼和商业楼为框架结构。
在高层住宅楼下部均设一层地下室。
场地地面整平标高与场区南侧文兴路大致相平。
地质情况自上而下依次为:①2素填土,②1淤泥质粉质粘土,②4淤泥质粉质粘土夹粉砂,③1含淤泥质粉质粘土夹粉砂,④1强风化泥质粉砂岩,④2中风化泥质粉砂岩。
3 结构设计
总体思路
地下车库基坑开挖采用钢板桩支护,围堰平面设置为单排。
靠市政道路侧钢板桩开挖深度为,采用12m/根长拉森Ⅳ型钢板桩,为阻挡围堰外雨水流入,钢板桩顶高出原地面,四周设置高的护栏。
钢板桩结构设计
靠市政道路侧钢板桩平面及立面设计见图、图。
图靠市政道路侧钢板桩平面图
图靠市政道路侧钢板桩立面图
4 材料主要参数及截面特性
1、拉森Ⅳ型钢板桩,截面积A=236cm 2,重量M=76kg/m ,钢板桩的抗弯强度设计值[f]=150MPa 。
2、①2素填土:粘聚力c 1=,饱和重度1sat γ=m 3,土的内摩擦角为︒=10.01ϕ;②1淤泥质粉质粘土:粘聚力c 1=,饱和重度1sat γ=m 3,土的内摩擦角为︒=7.51ϕ。
②4淤
泥质粉质粘土夹粉砂:粘聚力c 2=,饱和重度2sat γ=m 3
,土的内摩擦角︒=6.82ϕ。
3、Q235钢弹性模量E=×105MPa ,剪切模量G=×105MPa ,密度ρ=7850kg/m 3,线膨胀系数α=×10-5,泊松比μ=,轴向拉、压容许应力=s σ140MPa ,弯曲容许应力
[]=σ145MPa ,剪切容许应力[]=τ85MPa 。
4、支架受载后挠曲的杆件,其容许挠度为相应结构跨度的1/400。
5 计算结果
主要施工程序为:①测量定位,撒白灰线,插打钢板桩②开挖至设计基坑底。
土压力按照朗肯土压力公式计算,其中钢板桩四周为粘性土时的朗肯主动土压力计算公式为:a a a K c hK P 2-=γ,被动土压力计算公式为:
p p p K c hK P 2+=γ。
危险工况:工况②,开挖至设计基坑底,钢板桩处于危险状态,按照此时计算。
钢板桩外侧主动土压力如下:
最上层②1土压力为0时,)(2a K c h γ==2*[18*tan2)]=。
②1淤泥质粉质粘土(h=): P a1=18**tan 22)-2**tan2)=113kPa ; ②4淤泥质粉质粘土夹粉砂(h=): P a2=**tan 22)-2**tan2)=119kPa ;
钢板桩内侧被动土压力如下:
②1淤泥质粉质粘土(h=):
=18**tan2(45+2)+2**tan(45+2)=148kPa。
P
p1
②4淤泥质粉质粘土夹粉砂(h=):
=**tan2(45+2)+2**tan(45+2)=168kPa。
P
p2
靠市政道路侧钢板桩总长61m,取10m长一段建模计算。
图5-1 钢板桩模型图5-2 土压力加载数值(单位kPa)钢板桩计算
图拉森Ⅳ钢板桩弯应力图(单位:mm)
σ<[]f=150MPa(安全)。
钢板桩最大弯应力=
图钢板桩围堰整体位移图(单位:mm)钢板桩顶端最大位移31mm。
抗隆起验算
如果钢板桩背后的土柱重量超过基坑底面以下地基土的承载力时,地基的平衡状态受到破坏,就有可能发生坑壁两侧土的流动,使坑顶下陷,坑底隆起的现象,因而就有可能造成坑壁坍塌,基底破坏等严重情况。
为了避免这种现象发生,施工前,需对地基稳定性进行验算。
钢板桩的长度H=12m ,基坑最大开挖深度h=,基坑底层淤泥质粉质粘土:粘聚力c 1=,饱和重度1sat γ=m 3,土的内摩擦角为︒=6.81ϕ,K a =。
转动力矩M ov =Gx/2=sat γHx 2
/2 稳定力矩M r =x H x f f 122
τπτ
+
c HK a sat f +=
2
tan 1ϕ
γτ c HK a sat f +=
πϕ
γτtan 2
近似取2
h
x =
则抗隆起安全系数K 1为
x H M M K sat f sat f ov r
γτγπτ12122+
==
=
h
c
HK H c HK sat a sat sat a sat γϕγγπϕγ4tan 22tan 2+++=>。
6 结论
经检算知,钢板桩设计满足规范及施工要求。