工程竣工结算流程图
- 格式:doc
- 大小:31.50 KB
- 文档页数:1
竣工结算报送及审核流程一、竣工结算流程二、流程说明1、工程竣工验收合格后30天,施工单位向监理单位递交竣工结算申请及完整的结算资料(见结算资料清单)。
2、监理公司接到结算申请及结算资料后10天,对资料的准确性、完整性、符合性进行审核,如不符合要求,施工单位应在7天补充及修订不完整不准确的资料。
监理公司对上述结算资料出具结算意见。
3、甲方项目部在接到经监理审核的结算申请及结算资料后10天,对资料的准确性、完整性、符合性进行复核,如不符合要求,施工单位应在7天补充及修订不完整不准确的资料。
项目部对上述结算资料出具结算意见。
4、经项目部审查通过的结算资料视为最终的结算资料,在此之后无论任何单位或部门补充的资料均须按上述流程并报甲方公司领导批准方予受理。
5、成本部在接到项目部转来的结算资料后组织预算工程师进行结算审核。
根据工程实际情况在1~3个月完成。
6、成本部审核完毕在与施工单位进行校对前须同施工单位共同制定校对工作计划,明确校对时间及在每个时间段的应校对的工作容,双方签字确认。
若在校对过程中施工单位预算人员在某个时间段未前来校对则视为施工单位认可甲方对该时间段工作容的审核结果。
7、校对工作完毕后,预算工程师将校对后的结果提交成本部指定的专业预算工程师进行复核。
8、专业预算工程师在接到校对结果后21天进行复核,如有不同意见及时与主办工程师进行沟通然后将统一意见后的结算书提交成本部经理审核。
9、成本部经理在7天对专业预算工程师复核后的结算书进行审核。
10、成本部审核结果报送公司领导审定,经公司审定的结算书一式四份,甲乙双方签字盖章,甲方存三份,乙方存一份。
该结算书做为甲方支付工程结算款的唯一依据。
如甲方需要另行编制竣工结算证明及建设工程造价结算核准表,乙方必须无条件配合,该竣工结算证明及建设工程造价结算核准表所附之结算书仅作为办理相关证件用,不作为支付工程款的依据。
三、施工单位申报竣工结算需提交的资料清单1、结算申请表一份,该结算申请表须经监理公司及甲方项目部签署意见,对施工单位报送的竣工结算资料进行审核确认,对施工围及施工过程中合同执行情况进行详细说明,确认施工围是否与合同约定相符、在施工过程中施工围有何变化以及与其他分包单位的施工围如何界定。
工程竣工结算审核基本流程工程竣工结算审核工作的基本流程包括以下几个步骤:一、收集与结算相关竣工资料在进行竣工结算审核之前,需要收集与结算相关的各种资料,包括招标文件、答疑纪要、中标人投标文件、施工合同及补充协议等。
同时还需要收集竣工图、材料核价表、设计变更单、技术核定单、隐蔽记录、验槽记录、停工报告、监理工程师指令、其他工程签证、索赔单、现场会议纪要或报告等资料。
此外,还可以收集一些有用的资料,如地勘报告、监理合同、监理报告、专业分包工程分包单位的竣工报告及资料等。
二、详细阅读、分析和对比竣工结算资料在收集到竣工结算相关资料后,需要对这些资料进行详细的阅读、分析和对比。
首先需要确定本工程的结算方式,主要看合同约定结算条款。
如果结算条款约定不清晰的,需要甲乙双方签订补充合同或在结算会议纪要中明确。
其次,需要判断竣工结算资料的有效性和准确性。
竣工图必须要由建设单位或经授权的监理单位有权人员签字确认,并加盖施工图章。
设计变更单必须是设计单位编制,且有设计人员签名和设计单位印章,并且该项变更经建设单位同意,经监理单位确认发出。
隐蔽记录、变更材料核价表、请单外单价审批等工程签证要有建设单位或经授权的监理单位有权人员确认。
即,每一类工程字资料必须要有相应的负责人员确认才能生效。
同时,需要判断竣工结算资料的准确性。
竣工图应该如实反映工程实际情况,竣工图的绘制应该根据施工图、设计变更单、技术核定单、隐蔽记录等工程签证汇总绘制。
施工方在编制竣工图时有可能有意或无意的扩大工程量,因送审结算是依据施工图编制的,如果将上述有关资料与竣工图做对比,就可能发现差异并轻松做核减。
再如,将隐蔽记录中基础土石比签证与验槽记录、地勘报告有关土石性质及所处深度的数据作对比,也可能发现差异并做核减。
三、勘查现场,掌握工程实际情况除了对竣工结算资料进行详细的阅读、分析和对比外,还需要勘查现场,掌握工程实际情况。
这样可以更加准确地了解工程的实际情况,从而更好地进行竣工结算审核工作。
工程竣工结算管理流程一、竣工结算准备阶段1.完工验收:工程完工后,由使用单位组织相关部门对工程进行验收,以确保工程质量和安全达到要求。
2.编制竣工结算文件:使用单位根据工程合同的要求和相关法规,编制竣工结算文档,包括竣工结算报告、结算表、结算依据等。
二、竣工结算评审阶段1.提交结算文件:使用单位将编制好的竣工结算文件提交给工程承包方。
2.承包方评审:工程承包方对竣工结算文件进行评审,包括核对竣工结算报告的真实性和准确性,验证结算依据和结算金额等。
三、竣工结算审核阶段2.评审结果反馈:工程项目管理机构将审核结果反馈给使用单位和工程承包方,提出修改意见或者通过审核。
四、竣工结算调整阶段1.修改竣工结算文件:根据审核结果和反馈意见,使用单位和工程承包方进行竣工结算文件的修改,确保结算数据与真实情况相符。
2.重新评审:修改后的竣工结算文件再次提交给工程项目管理机构进行重新评审。
五、竣工结算落实阶段1.最终确认:工程项目管理机构对修改后的竣工结算文件进行最终确认,确定结算金额和结算依据。
2.结算支付:根据最终确认的竣工结算文件,使用单位按照合同约定支付工程款项给承包方。
3.结算备案:竣工结算文件经过最终确认后,工程项目管理机构将文件进行备案,以便后续工程验收和维修等工作的参考。
六、竣工结算审计阶段1.审计准备:工程项目管理机构组织相关人员对竣工结算文件进行审计准备工作,包括整理核对资料等。
2.审计操作:审计人员根据相关要求和程序,对竣工结算文件进行审计操作,验证结算依据、结算金额和支付情况的合法性和准确性。
3.审计报告:审计人员根据审计操作的结果,编制审计报告,说明结算文件的合规性和准确性。
4.审计结果落实:审计报告经过相关机构审核确认,将审计结果反馈给使用单位、工程承包方和工程项目管理机构,并根据情况提出后续处理建议。
七、竣工结算结论阶段1.结论形成:根据竣工结算文件、审计报告和相关反馈意见,形成最终的竣工结算结论。
工程预算工作流程图附件一:工程预算资料交接表工程预算资料交接表项目名称:编号:备注:上述资料均需提供原件,具体资料名称根据实际资料名称可做修改,具体资料要求详见管理办法第十四条。
填表说明:1、本表由工程等相关部门在提供资料阶段填写,随表提供预算所需各类资料。
2、委外预算编审时,资料的交接也使用本表。
附件二:主要材料、设备或分部分项工程清单主要材料、设备或分部分项工程清单填表说明:1、此表由工程等负责材料采购的部门提出该工程所需的主要材料、设备(或分部分项工程)需求,具体包括材料、设备品种、规格、品牌、市场价格(或分部分项工程市场价格),由预结算管理部门(人员)对清单内容进行预算估价后,构成附件一工程预算资料交接表的附表2、分部分项工程指土方、桩基础等分部分项工程。
附件三:预算编制说明预算编制说明预算编制说明应包括的内容如下:一、建设单位、工程名称二、本预算包含详细范围及界面:三、本预算未包含详细范围:四、预算编制的分项要求:按《XX集团房地产开发标准成本项目分类表》执行五、图纸依据:本预算书根据的施工图号图进行工程量计算。
六、计价办法:七、套用定额:八、取费标准:九、人工工资标准:十、主材及价格:十一、暂定项目的具体做法:十二、甲方限价材料及设备的价格表:十三、按独立费计入的项目:十四、其它事项(如施工组织设计、图纸有关事项说明):编制部门(人员)(签章):编制时间:年月日填表说明:1、上述内容根据预算的具体情况编写,可以根据实际情况补充应说明的内容。
2、本说明构成附件一工程预算资料交接表的附表附件四:工程预算承诺书工程预算承诺书公司:为规范工程造价管理,提高预算工作效率,控制工程预算误差比例,我公司对承包贵公司的所出具的预算承诺如下:我公司承诺本工程预算按照《长沙房产(集团)有限公司预结算管理暂行办法》执行,对该工程项目所编制的预算误差不超过预算审定金额的15%:1、如果15%<(送审金额—预算审定金额)/预算审定金额≤20%时,我公司同意承担审减金额超过预算金额15%以上部分产生的审计费用;2、如果(送审金额—预算审定金额)/预算审定金额>20%时,我公司同意承担全部审计费用。
工程施工验收结算流程表
一、立项阶段
1. 确定项目范围和目标
2. 制定施工合同
3. 确定阶段性工作计划
4. 完成项目立项申请报告
二、施工管理阶段
1. 施工过程监控
2. 定期会议和报告
3. 质量控制和质量验收
4. 确认工程进度和成本
5. 完成各项工程任务
三、验收阶段
1. 提交验收申请报告
2. 安排相关部门进行验收
3. 处理验收中的问题和意见
4. 确认验收结果
四、结算阶段
1. 编制结算申请报告
2. 提交结算申请
3. 审核结算申请
4. 付款结算
五、总结阶段
1. 完成项目总结报告
2. 确认项目结果
3. 改进工程管理流程
以上是工程施工验收结算流程表的详细内容。
在实际操作中,需根据项目实际情况适度调整和补充。
希望对您有所帮助。
工程竣工结算资料要求一、竣工结算资料要求:竣工资料应为已备案完毕的完整资料,结算资料提交后无特殊情况不得补充资料;施工单位对所提供的竣工结算资料真实性、完整性及有效性应作出书面承诺并对此负责。
二、竣工结算资料报送套数:提供完整的竣工结算资料一式二套(其中竣工结算书一式三套)。
三、竣工结算资料内容:1、施工合同及附件、协议书2、补充协议(若有)3、中标(中选)通知书4、施工企业规费计取标准5、建设项目安全文明施工评价得分及措施费费率核定表6、图纸会审纪要(签字盖章手续齐全且清楚)7、开、竣工报告及工期延期联系单(签字盖章手续齐全且清楚)8、竣工验收记录(签字盖章手续齐全且清楚)9、招标文件及招标工程量清单及电子盘、招标答疑纪要、招标补遗10、投标文件商务标及电子盘11、投标文件技术标12、承包人编制的结算书及电子盘(盖承包人公章和造价编制人员资格章,并由建设单位签字同意送审,共叁套)13、地勘报告14、施工图及电子盘(按《技术制图复制图的折叠方法》GB/10609.3-89统一折叠成A4幅面297mm×210mm)15、承包方、发包方、监理方按规定签字认可的竣工图纸(按《技术制图复制图的折叠方法》GB/10609.3-89统一折叠成A4幅面297mm×210mm)16、经审定的施工组织设计、施工方案或专项施工方案(签字盖章齐全且清楚)17、原始地貌标高抄测记录18、材料、设备认质核价单(需有连续编号,签字盖章齐全且清楚)19、设计变更单、技术核定单(需有连续编号,签字盖章手续齐全且清楚、附件完备)20、现场签证单(需有连续编号,签字盖章手续齐全且清楚,附件完备)21、甲供材料(设备)收货验收签收单22、隐蔽工程验收记录(签字盖章手续齐全且清楚)23、吊装工程记录、安装工程调试记录、调试报告(签字盖章手续齐全且清楚)24、与工程结算有关的“发包方通知、指令、会议纪要、往来函件、工程洽商记录等”25、建设单位付款情况表(附进度支付审核报表封面)26、各标段、各专业施工单位涉及交叉的施工范围确认文件27、结算资料报送承诺书28、其他有关影响工程造价、工期等资料29、移交资料签收表(一式三份)四、资料组卷装订要求:1、组卷要求:第三条中的1—8项装订为一卷,第9、10、11、12项分别装订为一卷,13—14项装订为一卷,15、16项分别装订为一卷,17—21装订为一卷, 22—27项装订为一卷,29项单页。
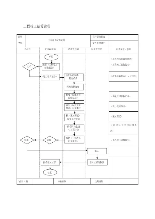
工程竣工结算流程
流程
名称
工程竣工结算流程
文件受控状态文件管理部门总经理项目经理部
造价管理部财务管理部相关制度/表单《工程预结算管理细则》
《工程竣工验收报告》《竣工结算报告》、《合同》《隐蔽工程验收记录》《设计变更签证》《施工图纸》
《各单位工程预结算办法》
《工程竣工结算报告》
编制日期审核日期生效日期开始核查合同条款、
约定价款审核审批《竣工结算报告》编制《工程竣工
验收报告》
认可核对《隐蔽工程
验收记录》
调整结算内容
按《施工图纸》
核实工程数量落实《设计变更
签证》相关事宜
编制《工程竣工
结算报告》按合同约定进
行工程计价结束
接收竣工工程确认
支付工程结算款。
工程竣工决算流程一、竣工决算的前期准备工作:1.项目信息整理:收集整个项目的设计、施工、材料使用、设备采购等资料,包括工程合同、施工图纸、合同变更单等。
还需收集工程竣工前的交接单及经济签证,了解工程范围、合同条款、项目需求等细节。
2.数据统计分析:梳理工程项目的材料消耗、设备使用和人工投入等数据,并通过对比分析,筛选出可能发生的增补、减掉、变更要素的数据。
3.核算模板设计:根据工程项目的特点,制定相应的核算模板。
这个模板需要包括工程项目的各个方面,如工程成本、人工成本、材料成本、机械设备成本、管理费用等。
4.决算依据确定:确定竣工决算依据,一般包括相关合同、工程量清单、材料产销差异、工程款支付情况、工程计量审核单、质保金结算单等。
二、竣工决算的具体操作流程:1.收集竣工报告:项目完成后,首先要向相关部门提交竣工报告,报告中需明确工程项目的竣工日期、工程量、遗留问题等内容。
2.核对工程量清单:根据项目合同和工程图纸,核实工程量清单中的项目,以了解实际工作情况。
3.计算工程成本:根据工程量和成本核算模板,计算各项工程成本,包括人工成本、材料成本、机械设备成本、运输费用、管理费用等。
4.核对项目款项:对所有工程款到位情况进行核对,确认支付的款项是否正确,排除重复支付或未支付的情况。
5.结算材料差异:通过与供应商的对账,核实材料进出库情况,计算材料差异,并与供应商进行结算。
6.审核工程报销单:对工程项目阶段性的报销单进行审核,确认报销单中的费用核对无误。
7.编制竣工决算表:根据以上核对和计算结果,编制竣工决算表,统计工程的各项成本指标和决算结果。
8.报送审批:将竣工决算表上报给项目相关部门,由相关部门对决算结果进行审核和审批。
9.公示和交接:将竣工决算表进行公示,公告工程的实际成本和决算结果。
然后进行项目交接,将工程项目的相关文件、资料等交予项目的管理单位。
三、竣工决算的验收阶段:1.决算结果审查:相关部门对竣工决算表进行审查,比对工程项目的实际情况与决算结果是否一致。
工程竣工结算审核工作基本流程一、收集与结算相关竣工资料一般来说,对一个清单计价工程需收集以下资料1.招标文件、答疑纪要、中标人投标文件,包括投标函、商务标书(含单价分析表)技术表述2.施工合同及补充协议,标后调整经审批的施工组织设计、施工图(含电子版)、图纸会审记录3.竣工图(含电子版)、材料核价表、设计变更单、技术核定单、隐蔽记录、验槽记录、停工报告、监理工程师指令、其他工程签证、索赔单、现场会议纪要或报告、施工方报审的竣工结算编制书、施工方工程量计算书(如为电算提供软件计算电子文件)4.地勘报告对挖土的土质类别存在争议的时候有作用)、监理合同(含经济签证授权内容)、监理报告、专业分包工程分包单位的竣工报告及资料、桩基检测报告中有关桩长的应变检测参考数据、施工单位施工记录、原始票据、现场照片或摄像。
5.其他可以收集的有用资料、咨询单位自身长期积累的计价文件和规定二、详细阅读、分析和对比竣工结算资料第一:确定本工程的结算方式,主要看合同约定结算条款合同约定结算条款非常重要,是决定该项目工作方式的重要依据),如果结算条款约定不清晰的,需要甲乙双方签订补充合同或在结算会议纪要中明确.第二:判断竣工结算资料的有效性。
比如,竣工图必须要由建设单位或经授权的监理单位有权人员签字确认,并加盖施工图章。
设计变更单必须是设计单位编制,且有设计人员签名和设计单位印章,并且该项变更经建设单位同意,经监理单位确认发出.隐蔽记录、变更材料核价表、请单外单价审批等工程签证要有建设单位或经授权的监理单位有权人员确认。
即,每一类工程字资料必须要有相应的负责人员确认才能生效。
第三:判断竣工结算资料的准确性.比如,竣工图应该如实反映工程实际情况,竣工图的绘制应该根据施工图、设计变更单、技术核定单、隐蔽记录等工程签证汇总绘制。
施工方在编制竣工图时有可能有意或无意的扩大工程量,因送审结算是依据施工图编制的,如果将上述有关资料与竣工图做对比,就可能发现差异并轻松做核减.再如,将隐蔽记录中基础土石比签证与验槽记录、地勘报告有关土石性质及所处深度的数据作对比,也可能发现差异并做核减。
工程项目竣工结算流程工程项目的竣工结算流程是指在工程项目完工后,对工程质量、工程量和工程费用进行评估和核算的过程。
竣工结算流程包括工程验收、工程量核算、工程质量评定和工程费用结算四个阶段。
工程验收是竣工结算的第一步,也是最重要的一步。
工程验收是指由建设单位组织相关部门对工程项目进行全面检查、测试和评估,确认工程质量符合规定标准,并形成验收报告。
工程验收的内容主要包括工程质量验收、工程量验收和安全与质量验收。
1.工程质量验收:对工程项目的质量进行全面检查,包括结构安全性、设计规范性、设备运行稳定性等方面。
对存在质量问题的部分进行整改或修复,直至符合规定标准。
2.工程量验收:根据工程项目设计图纸和实际施工情况,核对工程项目中的各项工程量,包括土方开挖量、砼浇筑量、钢筋使用量等。
确认实际施工工程量与设计工程量一致。
3.安全与质量验收:对工程项目的施工安全措施、施工质量控制以及相关安全合规性进行评估,并确认是否符合国家相关安全标准和规范。
工程量核算是竣工结算的第二步,是根据实际工程量和合同单价计算工程费用的过程。
对工程项目的施工工程量进行核对和统计,然后与合同约定的工程单价进行相乘,计算出各项工程费用,并形成工程结算表。
1.施工工程量核对:核对工程项目中的各项实际工程量,包括土方开挖量、砼浇筑量、钢筋使用量等,与竣工图进行对比,确保核算的准确性和公正性。
2.工程费用计算:按照合同约定的工程单价,将实际工程量与工程单价相乘,得出各项工程费用。
工程费用包括材料费、人工费、施工设备费、管理费和利润等。
3.工程结算表编制:将各项工程费用汇总,编制工程结算表,明细列出各项工程费用和支付标准,以便后续的付款和核对。
工程质量评定是竣工结算的第三步,是对工程项目的质量进行综合评价和等级划分的过程。
通过对工程项目的实际质量情况进行评估和测试,确认工程质量是否符合相关标准,然后根据评估结果对工程项目进行质量等级划分。
1.工程质量评估:对工程项目的质量进行全面评估,包括结构安全性、施工工艺、施工质量等方面。
建筑工程的竣工结算流程建筑工程的竣工结算是指在整个建筑工程完工后进行的最后一次结算,是施工单位和建设单位双方进行资金结算、工程验收等各项工作的最后一环。
竣工结算的流程一般包括以下几个步骤:1. 竣工工程验收竣工结算的第一步是对整个建筑工程进行验收。
验收包括工程质量的检查、工程图纸和合同的比对、隐蔽工程的检查等内容。
只有在工程验收合格的情况下,才能进行后续的竣工结算工作。
2. 竣工结算文件的准备竣工结算文件是结算过程中必不可少的重要文件,其中包括工程量清单、工程计量单、工程变更单、施工单位提供的各种材料和图纸等内容。
这些文件的准备需要施工单位和建设单位共同完成,确保结算的准确性和完整性。
3. 竣工结算依据的确定竣工结算的依据主要包括合同约定的工程量、工程变更、主材价格、劳务费用等内容。
在确定依据时,需要建设单位和施工单位共同协商确定各项数据的准确性和完整性,以确保结算过程的顺利进行。
4. 竣工结算金额的计算在确定了结算依据后,建设单位和施工单位开始进行竣工结算金额的计算工作。
这个过程通常比较繁琐,需要对各项费用进行细致的核对和计算,确保结算金额的准确性和公正性。
5. 竣工结算报告的编制竣工结算报告是整个结算过程中的最终文书,其中包括结算金额的详细计算、支付方式的约定、结算时间的安排等内容。
竣工结算报告的编制需要施工单位和建设单位共同完成,确保报告的真实性和准确性。
6. 竣工结算的审批和签署竣工结算报告编制完成后,需要进行审批和签署工作。
建设单位和施工单位的相关负责人应对报告进行审核,确定无误后进行签字确认,作为整个竣工结算工作的最后一步。
通过以上流程,建筑工程的竣工结算工作得以完整地进行,确保了施工单位和建设单位之间利益的平衡和合作的顺利进行。
希望以上内容对您有所帮助。