各种施工工序流程图
- 格式:docx
- 大小:38.17 KB
- 文档页数:10
工程施工主要工序质量控制图目录:
附表1:独立钢筋砼基础施工工艺流程
附表2:模板工程质量控制程序
附表3:钢筋绑扎工程质量控制程序
附表4:钢筋焊接工程质量控制程序
附表5:混凝土工程质量控制程序
附表6:砌体工程质量控制程序
附表7:室内一般抹灰工程质量控制程序
附表8:屋面防水工程质量控制程序
附表9:电气工程施工流程图附表10:给水排水工程施工流程图
附表1:独立钢筋砼基础施工工艺流程
附表2:模板工程质量控制程序
熟悉设计图纸和技术资料
掌握操作规程和质量标准
带颗粒或片状钢筋老锈先除掉
书面交底
班操作人员参加
项目部、班组自检
公司质监科监理公司中间检
查
控制保护层厚度
注意检查钢筋数量及位置
接头不留在同一位置
钢筋合格证及复验报告
钢筋代换签证单
自检记录
质量验收记录
隐蔽签证记录
施工记录钢筋取样见证记录
事故处理检查记录、分析报
告、整改措施方案、复验报
告
附表4:钢筋焊接工程质量控制程序
附表5:混凝土工程质量控制程序
附表6:砌体工程质量控制程序
附表7:室内一般抹灰工程质量控制程序
附表8:屋面防水工程质量控制程序
附表9:电气工程施工流程图
附表10:给水排水工程施工流程图。
工程施工工艺的流程图
一、工程准备阶段
1. 勘测设计:负责对工程施工地进行勘测、设计,确定施工方案。
2. 土地清理:清理施工地表面的杂物及垃圾,为后续工程施工做好准备。
3. 施工准备:准备所需的施工材料、设备和人力资源,组织施工人员进行技术培训。
二、基础施工阶段
1. 基坑开挖:根据设计要求,进行基坑的开挖工作,保证基础的稳固。
2. 基础浇筑:在基坑中进行混凝土浇筑,形成建筑物的基础结构。
3. 地下管道敷设:将地下排水管道、电力线路等管道进行敷设,确保建筑物正常使用。
三、主体结构施工阶段
1. 主体结构搭建:根据设计要求,搭建建筑物的主体结构,包括钢筋混凝土结构、钢结构等。
2. 外立面施工:对建筑物外墙进行装饰性和保温性施工,美化建筑外观。
3. 安装设备:安装建筑物所需的设备,包括电梯、空调等,确保建筑物功能正常。
四、装修装饰阶段
1. 室内装修:对建筑物内部进行装修,包括地面铺设、墙面涂装、天花板装饰等。
2. 设备调试:对建筑物内部设备进行调试,确保设备正常运行。
3. 室内环境治理:进行室内环境质量检测,确保室内环境符合相关标准。
五、竣工阶段
1. 完工验收:对建筑物进行最终验收,确保建筑质量符合设计要求。
2. 竣工交付:完成建筑物交付手续,交付给使用者或业主。
3. 后期维护:建筑物交付后进行后期维护,确保建筑物运行正常。
以上就是工程施工工艺流程图的详细内容,希望对您有所帮助。
建筑工程施工现场管理各种流程图
附图9-2 进行全面检查不间断完善
落实完善各种安全设施方案投入人财物施工工长对班组进行教育
分发个人劳动用品安全管理组织计划
在施工现场进行安全教育
编制安全施工方案
总工程师安全负责人项目经理
施工操作人员进场
公司有关部门进场进行安全教育
人员不注意安全生产
每周一次安全学习
设施不能满足要求
加强学习
加强教育
进行监督检查制定相关制度、规定施工过程
按规定处罚
安全教育制度
仅供学习与交流,如有侵权请联系网站删除谢谢6。
熟习图纸丈量放线预留预埋水其电他安安装装施施工工安装(布管、排线)灯具安装洁具安装施工流程图施工准备资料准备机具准备技术、劳力准备施工准备动工土石方工程模板工程钢筋工程混凝土工基础分部施工:主体分部施工:主体子分部:二次结构施工装修分部:内外墙抹灰屋面工程防水工程内外涂料地面工程门窗工程水、调式、五金、玻璃安装测试成品保护完工清理完工查收动工准备:一、立项二、环评、安评三、拜托设计院做平面方案四、规划、消防窗口总平面方案审批五、出宏图六、建设用地规划赞同证七、单体建筑物三个以上设计方案八、设计方案审批九、出施工图十、建设工程规划赞同证十一、图纸审察十二、建筑工程消防施工图审察十三、建设工程招标十四、安全督查手续十五、质量督查手续十六、施工赞同证十七、动工建设出让国有土地使用权设定登记1)土地登记申请书2)国有建设用地使用权出让合同及政府批复元件3)建设用地规划赞同证原件及复印件4)建设用地使用权出让金及契税缴纳证明5)营业执照及组织机构代码证原件及复印件6)法定代表人及拜托代理人身份证明原件及复印件7)地籍丈量的数据及图件建设用地规划赞同证1)建设用地规划赞同证申报表2)建设项目的有效计划赞同文件3)已经赞同的建设项目选址建议书和项目用地规范图4)规划设计条件及附图5)划拨土地证明或土地出让、转让合同6)已赞同的总平面图建设工程规划赞同证1)建设工程规划赞同证申请表2)经办人身份证及复印件3)计划批文4)土地权属证明文件5)施工图三套(含建设项目总施工图、建筑单体施工图、工程定位图及竖向设计、管线综合、绿化及做法施工图)6)方线(测绘)资料7)申报资料相应的电子文档光盘施工图设计审察1)施工图审察设计任务拜托书、申请书2)施工图图纸 4 套3)建筑工程规划赞同证4)工程勘探报告技术审察任务拜托书建筑工程消防施工图审察1)建筑工程全套施设计图纸、技术性审察报告2)建筑工程消防设计防火审察申报表3)申请人身份证明(身份证复印件、法人、其余组织的营业执照或组织机构代码证书复印件)4)设计单位资质证明5)总平面定位图建设工程施工项目招标审批1)立项批文2)建设工程施工赞同证3)建设工程施工图设计审察存案书工程质量督查手续1)建设工程质量督查登记表2)勘探、设计、施工、监理单位中标通知书3)勘探、设计、施工、监理合同建设工程安全督查1)建筑施工企业安全生产赞同证2)建设工程施工合同3)工程中标通知书4)施工现场总平面部署图和暂时设施规划方案5)施工组织设计6)工程项目负责人、安全管理人员安全生产核查合格证书7)特种作业人员有效上岗证8)建设单位安全督查人员和监理单位监理人员花名册9)从业人员参加不测损害保险证明10)建筑工程安全报监书11)市建设工程项目安全生产责任书建筑工程施工赞同证1)建筑工程施工赞同申请表2)土地使用权证3)建设用地规划赞同证、建设工程规划赞同证4)建设工程施工合同或中标通知书5)施工图设计审察存案证明6)消防设计审察证明7)工程质量督查手续8)施工安全督查存案资料9)建设工程拜托监理合同及存案证明10)墙改基金缴纳证明11)建设单位无拖欠工程款及已缴纳农民工保证金证明完工查收:消防查收1)建筑工程消防查收申报表2)申请人身份证明(身份证复印件、法人、其余组织的营业执照或组织机构代码证书复印件)3)消防电气安全检查检测报告书4)施工单位、监理单位资质证明5)建筑消防设施、防火资料等合格证明6)产品内部装修检测报告7)审察建议书工程完工规划查收1)建筑工程规划查收申报表2)与实质切合的建设工程完工图纸; 1:500 完工丈量图(建筑物四周 30-50 米范围内)一定采纳全市赞同的 80 坐标系和 85 黄海高程系统3)现状照片(四个方向及四周环境)4)消防部门查收建议5)其余指定供给的相关查收资料(包含:建设用地规划赞同证及附图、工程规划赞同证、施工赞同证、建设项目放线、验线、验槽通知单等)6)申报资料相应的电子文档光盘建筑节能专项查收1)山东省节能建筑认定申请表2)工程缴纳新式墙体资料专项基金发票3)节能工程设计文件4)节能设计审察存案书5)建筑保护结构热工性能现场检测报告6)新式墙体资料和建筑节能技术与产品复检报告、产品合格证、山东省新式墙体资料建筑节能技术产品认定书、市新式墙体资料建筑节能技术产品登记证明以及进货原始凭证7)建筑节能施工和监理资料完工查收存案1)建设工程完工查收存案表2)建设工程完工查收报告3)建设工程质量督查报告4)建设单位完工查收通知单5)施工赞同证6)施工图设计审察建议7)施工单位出具的工程质量完工报告8)监理单位出具的工程质量检查报告9)勘探单位出具的工程质量检查报告10)设计单位出具的工程质量检查报告11)规划部门出具的证明文件或允许使用文件12)法律规定应当由消防部门出具的对大型人员密集场所和其余特别建设工程查收合格的证明文件13)环保部门出具的证明文件或允许使用文件14)建筑节能部门出具的证明文件或允许使用证明15)燃气安所有门出具的证明文件或允许使用证明16)建筑企业养老保障金管理办公室出具的证明文件17)工程建设标准造价管理部门出具的完工结算证明文件18)城建档案管理机构出具的《建设工程完工档案查收证明书》19)工程款支付证明20)无拖欠行为证明21)施工单位签订的工程质量保修书22)住所工程还应提交《住所质量保证书》、《住所使用说明书》23)建设工程质量检测报告和功能性实验资料24)建设单位前来办理存案人员拜托书工程施工主要工序质量控制图附表 1:独立钢筋砼基础施工工艺流程施工的准备工作测基础中心定基础位挖基础土方浇注垫层混凝土配比现场实验室建筑独立基础模板制独立柱钢筋(网片筋)制安保养拆模回填土基础梁钢架模板试块试验试块保养试块取样基础梁混凝土浇注附表 2:模板工程质量控制程序熟习设计图纸和技术资料模板选择(木、钢)掌握操作规程和质量标准施工准备平坦钢模板底板抄平放线模板涂隔断剂书面交底技术交底与钢筋工序交接班组操作人员参加钢模板孔洞堵补底部标高、中心线、断面、尺寸注意预埋件的地点和尺寸支模质量查收执行质量查收规范企业质监科中间抽查按现场预留拆模试块压报项目部、班组自检告状况,联合强度曲线确注意二次支模接缝注意保护棱角拆模梁、板底部按规定起拱维修模板、分类堆放要有足够风范、防范胀模自检记录与钢筋、混凝土工序交接检查浇灌混凝土时、留人看模质量查收记录清理现场,文明施工预埋件隐蔽记录资料整理施工记录熟习设计图纸和技术资料钢筋出厂合格证、现场复试报告施工工作检查脚手架、脚手板掌握操作规程和质量标准用表记牌表记钢筋检测与否带颗粒或片状钢筋老锈先除掉拟定与审察钢筋配料表书面交底技术交底钢筋应平直,无局部曲折班操作人员参加Ⅰ级钢筋尾端作180 0弯钩按不一样型号挂牌下料成型不一样意加热曲折项目部、班组自检企业质监科、监理企业中间检查现场绑控制保护层厚度钢筋、模板工序交接检查注意检查钢筋数目及地点办理隐蔽查收签证手续接头不留在同一地点浇灌混凝土、留人看钢筋钢筋合格证及复验报告执行质量查收规范钢筋代换签证单质量查收自检记录不合格的要办理(返修)质量查收记录清理现场、文明施工隐蔽签证记录施工记录、钢筋取样目睹记录资料清理事故办理检查记录、解析报熟习设计图纸和技术资料焊条、焊剂准备、出具合格证准备工作掌握操作规程和质量标准准备钢筋,出具质量证明焊条烘焙、焊件除油污电焊机准备及保养获得焊接合格证书面交底技术交底班操作人员参加按规定做试件送检(目睹取样)保证焊接长度中间检查除掉焊渣项目部、班组自检焊接注意焊接表面质量注意焊接轴线地点不得出现裂纹、夹渣、焊瘤、与监理办理焊接隐蔽查收签证钢筋合格证、复验报告焊条、焊剂合格证焊条烘焙记录执行质量查收规范质量查收焊件试验报告不合格的要办理(返修)自检记录质量查收报告记录隐蔽查收记录清理现场,文明施工目睹取样记录资料整理X 光探伤记录事故办理检查记录、解析报附表 5:混凝土工程质量控制程序熟习设计图纸和技术资料资料准备,出具资料质保局或合格准备工作掌握操作规程和质量标准申请防水混凝土配合比拟定混凝土质量保证措施准备试模和坍落度书面交底模板、钢筋、砼工序交接技术交底班组操作人员参加检查脚手架及道路战胜上道工序弊端的挽救措施水平、垂直泵送砼设施准备专业会签申请混凝土浇灌执行重量比,依据状况调整配合比办理钢筋隐蔽签证手续岗位分工,操作挂牌木匠,钢筋每个工作班许多于1 组,每拌制 100 立方米砼许多于1 组,班组、项目部自检、企业质检科中按规定预留、保养砼试块浇灌砼企业质检科、监理企业查收注意混凝土接槎部位依据状况调整配合比注意管道和电缆穿现浇板部位养护暖热季节准时保养许多于 7 日夜截面尺寸正确、砼捣固密实准时覆盖,注意不要初期加荷隐蔽工程记录暖热季节准时浇水,冬期注意保工程技术保证资料混凝土试块试验报告现场清理、文明施工自检记录质量查收执行质量查收规范,不合格返工办理混凝土灌令现场清理、文明施工质量查收记录资料整理施工记录、坍落度记录、测温记录事故办理检查记录、解析报混凝土试块取样目睹记录附表 6:砌体工程质量控制程序学习图纸和技术资料平面尺寸、标高丈量放线学习操作规程和质量标准水平、垂直、运输工具准备准备工作资料和外加剂准备、出具合格证脚手架、马道准备对土建工序进行交接检查按图立架杆书面交底申请沙浆配合比技术交底操作人员参加战胜上道工序弊端的挽救措施清水浇砖,防范干砖上墙基底丈量放线预埋件、预留孔按图施工墙面平坦垂直、沙浆饱满企业质监科、项目部中间检查严格执行重量比,搅拌平均砌体项目部、班组自检按规定预留、保养沙浆试压块第一楼层(基础按一个楼层计)每一工作班或 250m 3砌体至资料合格证执行质量查收规范试块强度报告单质量查收不合格的办理(返工)自检记录质量查收记录清理现场、文明施工施工记录资料整理事故办理记录附表 7:室内一般抹灰工程质量控制程序学习图纸和技术资料学习操作规程和质量标准拟定单项工程质量措施书面交底准备工作资料准备、出具质量证明检查基层平坦,垂直状况基层清理干净操作人员参加严防室内空气对流认真执行配合比注意地面平坦、接搓和空鼓资料合格证自检记录质量查收记录施工记录技术交底战胜上道工序弊端的挽救措施办理上道工序交接手续严格执行操作规程抹灰中间抽查自检执行质量查收规范质量查收不合格的返工办理清理现场、文明施工资料整理附表 8:屋面防水工程质量控制程序学习图纸和技术资料资料准备、出具合格证准备工作学习操作规程和质量标准基底清理干净书面交底技术交底班组操作人员参加基底隐蔽查收记录资料控制中间检查基层办理施工自检防水剂涂刷执行质量查收规范质量查收不合格的办理(返工)资料合格证清理现场,文明施工中间隐蔽查收记录自检记录资料整理质量查收记录施工记录附表 9:电气工程施工流程图施工准备技术交底电力变压器、接地极、接电缆桥架、照明箱等隔走开关、低一次电缆、母配管明敷、配接地系统测试电缆电线敷设线安装、二次继电器、仪表管内穿线、开PE 接地安装电缆头制作开关机构调整、线路检查试验灯具安装电气调试系统调试试运行附表 10:给水排水工程施工流程图施工准备阀门试压预埋预留设施安装管道预制支吊架安装单机试运行管理安装试压、闭水卫生用具安装防腐油漆通水冲洗消毒交工查收。
建筑施工工艺流程图填方施工流程图挡土墙施工工艺流程图质量管理机构质量保证体系现场质量检查程序回填土压实质量检验程序工期保证组织机构工期保证体系施工进度控制系统安全保证体系住宅楼工程总体施工程序零平下结构工程施工程序基础施工工序±0.00层以上结构工程施工程序钢筋施工程序内外装饰装修施工程序电气安装工程施工程序室内管道工程施工程序人工挖土工艺流程:确定开挖的顺序和坡度→沿灰线切出槽边轮廓线→分层开挖→修整槽边→清底机械挖土工艺流程:确定开挖的顺序和坡度→分段分层平均下挖→修边和清底基土钎探工艺流程:放钎点线→就位打钎拔钎灌砂记录锤击数检查孔深人工回填土工艺流程:基坑(槽)底地坪上清理→检验土质→分层铺土、耙平→夯打密实→检验密实度→修整找平验收机械回填土工艺流程:基坑底地坪上清理→检验土质→分层铺土→分层碾压密实→检验密实度→修整找平验收灰土地基施工工艺流程:检验土料和石灰粉的质量并过筛→灰土拌合→槽底清理→分层铺灰土→夯打密实→找平验收砂石地基施工工艺流程:检验砂石质量→拌和砂浆9人工级配→分层铺筑砂石→洒水→夯实或碾压→找平验收钢筋混凝土预制桩打桩工艺流程:就桩桩机→起吊预制桩→稳桩→打桩→接桩→送桩→中间检查验收→移桩机至下一个桩位泥浆护壁回转钻孔灌注桩施工工艺流程:钻孔机就位→钻孔→注泥浆→下套管→继续钻孔→排渣→清孔→吊放钢筋笼→射水清底→插入混凝土导管→浇筑混凝土→拔出导管→插桩顶钢筋螺旋钻孔灌注桩施工工艺流程:钻孔机就位→钻孔→检查质量→孔底清理→孔口盖板→移钻孔机人工成孔灌注桩施工工艺流程:放线定桩位及高程→开挖第一节桩孔土方→支护壁模板放附加钢筋→浇筑第一节护壁混凝土→检查桩位(中心)轴线→架设垂直运输架→安装电动葫芦(卷扬机或木辘轳)→安装吊桶、照明、活动盖板、水泵、通风机等→开挖吊运第二节桩孔土方(修边)→先拆第一节支第二节护壁模板(放附加钢筋)→浇第二节护壁混凝土→检查桩位(中心)轴线→逐层往下循环作业→开挖扩底部分→检查验收→吊放钢筋笼→放混凝土溜筒(导管) →浇筑桩身混凝土(随浇随振)→插桩顶钢筋桩承台施工工艺流程:核对钢筋半成品→钢筋绑扎→预埋管线及铁活→绑好砂浆垫块钢筋绑扎工艺流程:确定组装钢模板方案→组装钢模板→模板预检混凝土浇筑工艺流程:搅拌混凝土→浇筑→振捣→养护设备基础施工工艺流程:槽底或模板内清工艺流程:槽底或模板内清理→混凝土拌制→混凝土浇筑→混凝土振捣→混凝土养护理→混凝土拌制→混凝土浇筑→混凝土振捣→混凝土找平→混凝土养护素混凝土基础施工工艺流程:槽底或模板内清理→混凝土拌制→混凝土浇筑→混凝土振捣→混凝土养护防水混凝土施工工艺流程作业准备→混凝土搅拌→运输→混凝土浇筑→养护水泥砂浆防水层施工工艺流程:墙、地面基层处理→刷水泥素浆→抹底层砂浆→刷水泥素浆→抹面层砂浆→刷水泥砂浆→养护平面铺贴卷材工艺流程:保护墙放线→砌筑保护墙→抹保护墙找平层→抹垫层找平层→养护→清理→喷涂冷底子油→铺贴附加油毡层→铺第一层立墙油毡→铺第一层平面油毡→分层先立面后平面)→抹保护层立面铺贴卷材工艺流程:拆除根部临时保护墙→结构面抹找平层→养护→喷涂冷底子油→接铺阴阳角处附加层→铺第一层油毡→铺第二层油毡→(按,设计分层铺设)→砌筑保护墙(保护层)地下改性沥青油毡(SBS)防水层施工工艺流程基层清理→涂刷基层处理剂→铺贴附加层→热熔铺贴卷材→热熔封边→做保护层地下高分子合成(三元乙丙)橡胶卷材防水层施工工艺流程:基层清理→聚氨酯底胶配制→涂刷聚氯酯底胶→特殊部位进行增补处理(附加层)→卷材粘贴面涂胶基层表面涂胶→铺贴防水卷材做保护层地下聚氨酯防水涂料冷作业施工工艺流程:基层清理→涂刷底胶→涂膜防水层施工→做保护层砖混结构构造柱、圈梁、板缝支模工艺流程:作业准备→混凝土搅拌→混凝土运输→混凝土浇筑、振捣→混凝土养护框架结构定型组合钢模板的安装与拆除工艺标准安装柱模板工艺流程:弹柱位置线→抹找平层作定位墩→安装柱模板→安柱箍→安拉杆或斜撑→办预检安装剪力墙模板工艺流程:弹线→安门洞口模板→安一侧模板→安另一侧模板→调整固定→办预检安装梁模板工艺流程:弹线→支立柱→调整标高→安装梁底模→绑梁钢筋→安装侧模→办预检安装楼板模板工艺流程:地面夯实→支立柱→安大小龙骨→铺模板→校正标高加立杆的水平拉杆→办预检组合钢木(竹)胶合板模板的安装与拆除工艺标准柱模板安装工艺单块就位组拼工艺流程:搭设安装架子→第一层模板安装就位→检查对角线、垂直和位置→安装柱箍→第二、三等层柱模板及柱箍安装→安有梁口的柱模板→全面检查校正→群体固定单片预组拼柱模板工艺流程:单片预组拼柱组拼→第一片柱模就位→第二片柱模就位用角模连接→安装第三、四片柱模→检查柱模对角线及位移并纠正→自下而上安装柱箍并做斜撑→全面检查安装质量→群体柱模固定墙模板安装工艺:墙模板单块就位组拼安装工艺流程:组装前检查→安装门窗口模板→安装第一步模板(两侧) →安装内钢楞→调整模板平直→调整模板平直、垂直→安装第二步至顶部两侧模板→安装内钢楞调平直→安装穿墙螺栓→安装外钢楞→加斜撑并调模板平直→与柱、墙、楼板模板连接预拼装墙模板工艺流程:安装前检查→安装门窗口模板→一侧墙模吊装就位→安装斜撑→插入穿墙螺栓及塑料套管→清扫墙内杂物→安装就位另一侧墙模板→安装斜撑→穿墙螺栓穿过另一侧墙模→调整模板位置→紧固穿墙螺栓→斜撑固定→与相邻模板连接梁模板安装工艺:梁模板单块就位安装工艺流程:弹出梁轴线及水平线并复核→搭设梁模支架→安装梁底楞或梁卡具→安装梁底模板→梁底起拱→绑扎钢筋→安装侧梁模→安装另一侧梁模→安装上下锁口楞、斜撑楞及腰楞和对拉螺栓→复核梁模尺寸、位置→与相邻模板连固梁模板单片预组合模板安装工艺流程:弹出梁轴线及水平线并做复核→搭设梁模支架→预组拼模板检查→底模吊装就位安装起拱→绑扎钢筋→侧模安装→安装侧向支撑或梁卡固定→检查梁口平直模板尺寸→卡梁口卡→与相邻模板连固梁模整体预组合模板安装工艺流程:弹出梁轴线及水平线并做复核→搭设梁模支架→梁模整体吊装就位→梁模与支架连固→复核梁模位置尺寸→侧模斜撑固定→上梁口卡楼板模板安装工艺:楼板模板单块就位安装工艺流程:搭设支架→安装横纵钢(木) 楞→调整楼板下皮标高及起拱→铺设模板块→检查模板上皮标高、平整度楼板、梁模板拆除工艺流程:拆除支架部分水平拉杆和剪力撑→拆除梁连接件及侧模板→下调楼板模板支柱顶翼托螺旋2~3cm,使模板下降→分段分片拆除楼板模板、钢(木)楞及支柱→拆除梁底模板及支撑系统柱子模板拆除工艺:分散拆除工艺流程:拆除拉杆或斜撑→自上而下拆掉(穿柱螺栓)或柱箍→拆除竖楞,自上而下拆钢框竹编模板→模板及配件运输维护分片拆模工艺流程:拆掉拉杆或斜撑→自上而下拆掉柱箍→拆掉柱连接角一侧U形卡,分二片或四片拆离→吊运片模板墙模拆除工艺:墙模分散拆除工艺流程:拆除斜撑→自上而下拆掉穿墙螺栓及外楞→分层自上而下拆除内楞及竹编模板→模板及配件运输及维护楼板、梁模板拆除工艺流程:拆除支架部分水平拉杆和剪力撑→拆除梁连接件及侧模板→下调楼板模板支柱顶翼托螺旋2~3cm,使模板下降→分段分片拆除楼板模板、钢(木)楞及支柱→拆除梁底模板及支撑系统柱子模板拆除工艺:分散拆除工艺流程:拆除拉杆或斜撑→自上而下拆掉(穿柱螺栓)或柱箍→拆除竖楞,自上而下拆钢框竹编模板→模板及配件运输维护分片拆模工艺流程:拆掉拉杆或斜撑→自上而下拆掉柱箍→拆掉柱连接角一侧U形卡,分二片或四片拆离→吊运片模板墙模拆除工艺:墙模分散拆除工艺流程:拆除斜撑→自上而下拆掉穿墙螺栓及外楞→分层自上而下拆除内楞及竹编模板→模板及配件运输及维护墙模整体拆除工艺流程:拆除穿墙螺栓→调节三角斜支腿丝框使底脚离开地面→拆除组拼大模板端接缝处连接窄条模板→敲击组拼大模立楞上端,使之脱离墙体→用撬棍撬组拼大模底边肋,使之全部脱离墙体→吊运组拼大模现浇剪力墙结构大模板的安装与拆除工艺标准外板内模结构安装大模板工艺流程:准备工作→安正号模板→安装外墙板→安反号模板→固定模板上口→预检外砖内模结构安装大模板工艺流程:外墙砌砖→安装正、反号大模板→安装角模→预检全现浇结构安装大模板工艺流程:准备工作→挂外架子→安内横墙模板→安内纵墙模板→安堵头模板→安外墙内侧模板→合模前钢筋隐检→安外墙外侧模板→预检密肋楼板模壳的安装与拆除模壳模板安装的操作工艺(以主次木楞支撑体系为例)流程:安装支架→安装主次木楞→调整密肋梁底标高及起拱→安装模壳→质量检验模壳模板拆除的操作工艺流程:拆除角钢→拆起模壳→拆除支架钢筋绑扎与安装工程操作工艺流程:划钢筋位置线→运钢筋到使用部位→绑底板及梁钢筋→绑墙钢筋构造柱钢筋绑扎工艺流程:预绑构造柱钢筋骨架→修整底层伸出的构造柱塔接筋→安装构造柱钢筋骨架→绑扎搭接部位箍筋圈梁钢筋的绑扎工艺流程:画钢筋位置线→放圈梁受力筋→穿箍筋→绑扎箍筋板缝钢筋绑扎工艺流程支护缝模板→预制板端头预应力锚固筋向上弯成45°→放通长水平构造筋→与板端锚固筋绑扎剪力墙结构大模板墙体钢筋绑扎工艺标准剪力墙钢筋现场绑扎工艺流程:修改预留搭接筋→绑立筋→绑横筋→绑拉筋或支撑筋剪力墙采用预制网片的绑扎工艺流程修理预留搭接筋→临时固定网片→绑扎根部钢筋→绑门窗洞加筋→绑拉筋或支撑筋现浇框架结构钢筋绑扎工艺标准绑柱子钢筋工艺流程:套柱箍筋→搭接绑扎竖向受力筋→画箍筋间距线→绑箍筋绑剪力墙钢筋工艺流程:立2~4根竖筋→画水平障距→绑定位横筋→绑其余横筋→绑其余横竖筋梁钢筋绑扎工艺流程:模内绑扎:画主次梁箍筋间距→放主梁次梁箍筋→穿主梁底层纵筋及弯起筋→穿次梁底层纵筋并与箍筋固定→穿主梁上层纵向架立筋→按箍筋间距绑扎→穿次梁上层纵向钢筋→按箍筋间距绑扎模外绑扎(先在梁模板上口绑扎成型后再入模内):画箍盘间距→在主次梁模板上口铺横杆数根→在横杆上面放箍筋→穿主梁下层纵筋→穿次梁下层钢筋→穿主梁上层钢筋→按箍筋间距绑扎→穿次梁上层纵筋→按箍筋间距绑扎板钢筋绑扎工艺流程:清理模板→模板上画线→绑板下受力筋→绑负弯短钢筋楼梯钢筋绑扎工艺流程:划位置线→绑主筋→绑分布筋→绑踏步筋双钢筋叠合板钢筋绑扎工艺流程图:检查支座及板缝硬架支模上平标高→画叠合板位置线→吊装叠合板→调整支座处叠合板搁置长度→整理叠合板甩出钢筋钢筋接头钢筋手工电弧焊工艺流程:检查设备→选择焊接参数→试焊作模拟试件→送试→确定焊接参数→施焊→质量检验水平钢筋窄间隙焊工艺流程检查设备→选择焊接参数→试焊作模拟试件→送试→确定焊接参数→施焊→质量检验钢筋气压焊工艺流程:检查设备、气源→钢筋端头制备→安装焊接夹具和钢筋→试焊、作试件→施焊→卸下夹具→质量检查钢筋闪光对焊工艺流程:检查设备→选择焊接工艺及参数→试焊、作模拟试件→送试→确定焊接参数→焊接→质量检验连续闪光对焊工艺过程:闭合电路→闪光(两钢筋端面轻微接触) →连续闪光加热到将近熔点(两钢筋端面徐徐移动接触) →带电顶锻→无电顶锻预热闪光对焊工艺过程:闭合电路→断续闪光预热(两钢筋端面交替接触和分开) →连续闪光加热到将近熔点(两钢筋端面徐徐移动接触) →带电顶锻→无电顶锻闪光一预热闪光对焊工艺过程:闭合电路→一次闪光闪平端面(两钢筋端面轻微徐徐接触) →连续闪光预热(两钢筋端面交替接触和分开) →二次连续闪光加热到将近熔点(两钢筋端面徐徐移动接触) →带电顶锻→无电顶锻钢筋电渣力焊工艺工艺流程:检查设备、电源→钢筋端头制备→选择焊接参数→安装焊接夹具和钢筋→安放铁丝球(也可省去)→安放焊剂灌、填装焊剂→试焊、作试件→确定焊接参数→施焊→回收焊剂→卸下夹具→质量检查电渣压力焊的工艺过程:闭合电路→引弧→电弧过程→电渣过程→挤压断电带肋钢筋径向挤压连接工艺流程:钢套筒、钢筋挤压部位检查、清理、矫正→钢筋端头压接标志→钢筋插入钢套筒→挤压→检查验收锥螺纹钢筋接头工艺流程:钢筋下料→钢筋镦粗钢筋套丝→接头单体试件试验→钢筋连接→质量检查砖混结构、构造柱、圈梁、板缝等混凝土施工工艺流程:作业准备→混凝土搅拌→混凝土运输→混凝土浇筑、振捣→混凝土养护剪力墙结构大模板普通混凝土施工工艺流程:作业准备→混凝土搅拌→混凝土运输→混凝土浇筑、振捣→拆模、养护全现浇结构(大模板)轻骨料混凝土施工工艺流程闪光一预热闪光对焊工艺过程:闭合电路→一次闪光闪平端面(两钢筋端面轻微徐徐接触) →连续闪光预热(两钢筋端面交替接触和分开) →二次连续闪光加热到将近熔点(两钢筋端面徐徐移动接触) →带电顶锻→无电顶锻钢筋电渣力焊工艺工艺流程:检查设备、电源→钢筋端头制备→选择焊接参数→安装焊接夹具和钢筋→安放铁丝球(也可省去)→安放焊剂灌、填装焊剂→试焊、作试件→确定焊接参数→施焊→回收焊剂→卸下夹具→质量检查电渣压力焊的工艺过程:闭合电路→引弧→电弧过程→电渣过程→挤压断电带肋钢筋径向挤压连接工艺流程:钢套筒、钢筋挤压部位检查、清理、矫正→钢筋端头压接标志→钢筋插入钢套筒→挤压→检查验收锥螺纹钢筋接头工艺流程:钢筋下料→钢筋镦粗钢筋套丝→接头单体试件试验→钢筋连接→质量检查砖混结构、构造柱、圈梁、板缝等混凝土施工工艺流程:作业准备→混凝土搅拌→混凝土运输→混凝土浇筑、振捣→混凝土养护剪力墙结构大模板普通混凝土施工工艺流程:作业准备→混凝土搅拌→混凝土运输→混凝土浇筑、振捣→拆模、养护全现浇结构(大模板)轻骨料混凝土施工工艺流程作业准备→材料计量→搅拌→运输→浇筑→振捣→养护现浇框架结构混凝土浇筑施工工艺流程;作业准备→混凝土搅拌→凝土运输→柱、梁、板、剪力墙、楼梯混凝土浇筑与振捣→养护双钢筋叠合板安装施工工艺流程:检查支座及板缝硬架支模上平标高→画叠合板位置线→吊装叠合板→调整支座处叠合板搁置长度→整理叠合板甩出钢筋构件安装工程预应力短向圆孔板安装工艺流程:抹找平层或硬架支模→画板位置线→吊装楼板→调整板位置→绑扎或焊接锚固筋预应力实心整间大楼板安工艺流程:抹砂浆找平层或硬架支模→吊装大楼板→调整板位置→整理绑扎钢筋预制钢筋混凝土框架结构构件安装工艺流程:柱吊装(校正→定位→焊接) →梁吊装(校正→主筋焊接) →梁柱节点核心区处理→剪力墙施工→板安装预制外墙板安装工艺流程:抹找平层→外墙板就位→外墙板临时固定→插油毡条、聚苯条、塑料条→插节点构造钢筋→键槽钢筋焊接,浇注混凝土→外墙板底部捻干硬性水泥砂浆→拆除外墙板临时支撑预制外墙板构造防水施工工艺流程:做立缝防水→做平缝防水→做十字缝防水→其他部位防水→淋水试验预制楼梯、休息板及垃圾安装工艺流程:浇水泥浆→安装休息板→安装楼梯段→焊接→灌缝→安垃圾道预制阳台、雨罩、通道板安装工艺流程坐浆→吊装→调整→焊接→浇长混凝土预制钢筋混凝土隔墙板安装工艺流程:安装就位→检查、校正→支撑、加固→焊接固定→捻缝加气混凝土条板安装工艺流程:弹位置线→处理条板的长、宽尺寸→清理安装位置上下端→浇筑混凝土带→弹条板安装分块线→安装条板预应力混凝土工程预应力后张法张拉施工工艺流程:检查构件(或块体) ↓预应力筋制作→穿预应力筋↓锚具检验→安装具及张拉设备张拉设备预检→张拉孔道灌浆→制作水泥浆试块↓起吊←压水泥浆试块无粘结预应力施工工艺流程:施工准备→梁、板模板支搭→非预应力下钢筋铺放、绑扎→无粘结预应力筋铺放、端部节点安装→非预应力上钢筋铺放、绑扎→无粘结预应力起拱、绑扎→隐检验收→混凝土浇筑及振捣→混凝土养护→张拉→端部处钢结构工程钢结构手工电弧焊焊接工艺流程作业准备→电弧焊接(平焊、立焊、横焊、仰焊) →焊缝检查扭剪型高强螺栓连接工艺流程:作业准备→选择螺栓并配套→接头组装→安装临时螺栓→安装高强螺栓→高强螺栓紧固→检查验收大六角高强度螺栓连接工艺流程:作业准备→接头组装→安装临时螺栓→安装高强螺栓→高强螺栓紧固→检查验收钢屋架制作工艺流程:加工准备及下料→零件加工→小装配(小拼) →总装配(总拼) →屋架焊接→支撑连接板,檩条、支座角钢装配、焊接→成品检验→除锈、油漆、编号钢屋架安装工艺流程:作业准备→屋架组拼→屋架安装→连接与固定→检查、验收→除锈、刷涂料钢网架结构拼装工艺流程:作业准备→球加工及检验→杆加工及检验→小拼单元→中拼单元→焊接→拼装单元验收钢网架结构安装工艺流程:放线、验线→安装下弦平面网络→安装上弦倒三角网络→安装下弦正三角网络→调整、紧固→安装屋面帽头→支座焊接、验收焊接球地面安装高空合拢法工艺流程:放线、验线→安装平面网格→安装立体网格→安装上弦网格→网架整体提升→网架高空合拢→网架验收钢结构防腐涂装工艺流程:基面清理→底漆涂装→面漆涂装→检查验收钢结构防火涂料涂装工艺流程:作业准备→防火涂料配料、搅拌→喷涂→检查验收砖基础砌筑工艺流程:拌制砂浆→确定组砌方法→排砖撂底→砌筑→抹防潮层一般砖砌体砌筑工艺流程:砂浆配合比→计量排砖撂底盘角组砌方法作业准备砖浇水砂浆搅拌砌砖验收测量放线立皮数杆挂线料石砌筑工艺流程:砂浆搅拌→作业准备→试排撂底→砌料石→验评中型砌块砌筑工程施工工艺流程:墙体放线→制备砂浆→砌块排列→铺砂浆→砌块就位→校正→砌块浇水砂筑镶砖→竖缝灌砂浆→勒缝空心砖砌筑工艺流程:确定开挖的顺序和坡度→分段分层平均下挖→修边和清底地面与楼面工程炉渣垫层施工工艺流程:基层处理→炉渣过筛与水闷→找标高、弹线、做找平墩→基层洒水湿润、拌合炉渣→铺炉渣垫层→刮平、滚压→养护混凝土垫层施工工艺流程:基层处理→找标高、弹水平控制线→混凝土搅拌→铺设混凝土→振捣→找平→养护陶粒混凝土垫层施工工艺流程:基层处理→找标高弹水平控制线→陶粒过筛、水闷→搅拌→铺设陶粒混凝土→养护细石混凝土地面施工工艺流程:找标高、弹面层水平线→基层处理→洒水湿润→抹灰饼→抹标筋→刷素水泥浆→浇筑细石混凝土→抹面层压光→养护水泥砂浆地面施工工艺流程:基层处理→找标高、弹线→洒水湿润→抹灰饼和标筋→搅拌砂浆→刷水泥浆结合层→铺水泥砂浆面层→木抹子搓平→铁抹子压第一遍→第二遍压光→第三遍压光→养护现制水磨石地面施工工艺流程:基层处理→找标高→弹水平线→铺抹找平层砂浆→养护→弹分格线→镶分格条→拌制水磨石拌合料→涂刷水泥浆结合层→铺水磨石拌合料→滚压、抹平→试磨→粗磨→细磨→磨光→草酸清洗→打蜡上光预制水磨石地面施工工艺流程:基层处理→定线→水磨石板浸水→砂浆拌制→基层洒水及刷水泥浆→铺水泥砂浆结合层及预制水磨石板→养护灌缝→贴镶踢脚板→酸洗打蜡陶瓷锦砖地面施工工艺流程:清理基层、弹线→刷水泥素浆→水泥砂浆找平层→水泥浆结合层→铺贴陶瓷锦砖→修理→刷水、揭纸→拨缝→灌缝→养护塑料板地面施工工艺流程:基层处理→弹线→试铺→刷底子胶→铺贴塑料地面→铺贴塑料踢脚板→擦光上蜡活动地板施工工艺流程:基层处理→找中、套方、分格、弹线→安装支座和横梁组件铺设活动地板面层→清擦和打虹大理石、花岗石及碎拼大理石地面施工艺流程:准备工作→试拼→弹线→试排→刷水泥浆及铺砂浆结合层→铺大理石板块(或花岗石板块) →灌缝、擦缝→打蜡大理石(或花岗石)踢脚板工艺流程①:粘贴法:找标高水平线→水泥砂浆打底→贴大理石踢脚板→擦缝→打蜡灌浆法找标高水平线→拉水平通线→安装踢脚板→灌水泥砂浆→擦缝→打蜡碎拼大理石面层施工工艺流程:挑选碎块大理石→弹线试拼→基层清理→扫水泥素浆→铺砂浆结合层→铺大理石碎块→灌缝→磨光打蜡缸砖、水泥花砖、通体砖地面施工工艺流程:基层处理→找标高、弹线→抹找平层砂浆→弹铺砖控制线→铺砖→勾缝、擦缝→养护→踢脚板安装预制混凝土板块和水泥方砖路面铺设施工工艺流程:灰土垫层→找标高、拉线→马路牙子→铺砌路面砖→灌缝长条、拼花硬木地板施工工艺流程:厕、浴间涂膜防水施工工艺标准安装木搁栅→钉木地板→刨平→净面细刨、磨光→安装踢脚板厕、浴间涂膜防水施工工艺标准聚氨酯防水涂料施工工艺流程:清扫基层→涂刷底胶→细部附加层→第一层涂膜→第二层涂膜→第三层涂膜和粘石渣→防水层试水→防水层验收氯丁胶乳沥青防水涂料施工工艺流程:基层处理→涂刮氯丁胶乳沥青水腻子→刮第一遍涂料→细部构造和加强层→铺贴玻璃丝布(或无纺布) 同时刷二遍涂料→刷第三遍涂料→刷第四遍涂料→蓄水试验→防水层验收SBS橡胶改性沥青防水涂料施工工艺流程:基层处理→涂刷第一遍涂料→细部处理一布二涂→蓄水试验→防水层验收地。
一、石材地面装饰构造:室内地面所用石材一般为磨光的板材,板厚20毫米左右,目前也有薄板,厚度在10毫米左右,适于家庭装饰用。
每块大小在300毫米×300毫米~500毫×500毫米。
可使用薄板和1:2水泥砂浆掺107胶铺贴。
石材地面装饰基本工艺流程:清扫整理基层地面→水泥砂浆找平→定标高、弹线→选料→板材浸水湿润→安装标准块→摊铺水泥砂浆→铺贴石材→灌缝→清洁→养护交工。
三、施工要点:基层处理要干净,高低不平处要先凿平和修补,基层应清洁,不能有砂浆、尤其是白灰砂浆灰、油渍等,并用水湿润地面。
铺装石材、瓷质砖时必须安放标准块,标准块应安放在十字线交点,对角安装。
铺装操作时要每行依次挂线,石材必须浸水湿润,阴干后擦净背面。
石材、瓷质砖地面铺装后的养护十分重要,安装24小时后必须洒水养护,铺巾完后覆盖锯末养护。
四、注意事项。
(1)铺贴前将板材进行试拼,对花、对色、编号,以入铺设出的地面花色一致。
(2)石材必须浸水阴干。
以免影响其凝结硬化,发生空鼓、起壳等问题。
(3)铺贴完成后,2~3天内不得上人。
铺贴陶瓷地面砖基本工艺流程1、铺贴彩色釉面砖类:处理基层→弹线→瓷砖浸水湿润→摊铺水泥砂浆→安装标准块→铺贴地面砖→勾缝→清洁→养护。
2、铺贴陶瓷锦砖(马赛克)类:处理基层→弹线、标筋→摊铺水泥砂浆→铺贴→拍实→洒水、揭纸→拨缝、灌缝→清洁→养护。
铺贴陶瓷地砖的施工要点1、混凝土地面应将基层凿毛,凿毛深度5~10毫米,凿毛痕的间距为30毫米左右。
之后,清净浮灰,砂浆、油渍,产散水刷少将地面。
2、铺贴前应弹好线,在地面弹出与门道口成直角的基准线,弹线应从门口开始,以保证进口处为整砖,非整砖臵于阴角或家具下面,弹线应弹出纵横定位控制线。
3、铺贴陶瓷地面砖前,应先将陶瓷地面砖浸泡阴干。
4、铺贴时,水泥砂浆应饱满地抹在陶瓷地面砖背面,铺贴后用橡皮棰敲实。
同时,用水平尺检查校正,擦净表面水泥砂浆。
5、铺贴完2~3小时后,用白水泥擦缝,用水泥、砂子=1:1(体积比)的水泥砂浆,缝要填充密实,平整光滑。
一、石材地面装饰构造:室内地面所用石材一般为磨光的板材,板厚20毫米左右,目前也有薄板,厚度在10毫米左右,适于家庭装饰用。
每块大小在300毫米×300毫米~500毫×500毫米。
可使用薄板和1:2水泥砂浆掺107胶铺贴。
石材地面装饰基本工艺流程:清扫整理基层地面→水泥砂浆找平→定标高、弹线→选料→板材浸水湿润→安装标准块→摊铺水泥砂浆→铺贴石材→灌缝→清洁→养护交工。
三、施工要点:基层处理要干净,高低不平处要先凿平和修补,基层应清洁,不能有砂浆、尤其是白灰砂浆灰、油渍等,并用水湿润地面。
铺装石材、瓷质砖时必须安放标准块,标准块应安放在十字线交点,对角安装。
铺装操作时要每行依次挂线,石材必须浸水湿润,阴干后擦净背面。
石材、瓷质砖地面铺装后的养护十分重要,安装24小时后必须洒水养护,铺巾完后覆盖锯末养护。
四、注意事项。
(1)铺贴前将板材进行试拼,对花、对色、编号,以入铺设出的地面花色一致。
(2)石材必须浸水阴干。
以免影响其凝结硬化,发生空鼓、起壳等问题。
(3)铺贴完成后,2~3天内不得上人。
铺贴陶瓷地面砖基本工艺流程1、铺贴彩色釉面砖类:处理基层→弹线→瓷砖浸水湿润→摊铺水泥砂浆→安装标准块→铺贴地面砖→勾缝→清洁→养护。
2、铺贴陶瓷锦砖(马赛克)类:处理基层→弹线、标筋→摊铺水泥砂浆→铺贴→拍实→洒水、揭纸→拨缝、灌缝→清洁→养护。
铺贴陶瓷地砖的施工要点1、混凝土地面应将基层凿毛,凿毛深度5~10毫米,凿毛痕的间距为30毫米左右。
之后,清净浮灰,砂浆、油渍,产散水刷少将地面。
2、铺贴前应弹好线,在地面弹出与门道口成直角的基准线,弹线应从门口开始,以保证进口处为整砖,非整砖臵于阴角或家具下面,弹线应弹出纵横定位控制线。
3、铺贴陶瓷地面砖前,应先将陶瓷地面砖浸泡阴干。
4、铺贴时,水泥砂浆应饱满地抹在陶瓷地面砖背面,铺贴后用橡皮棰敲实。
同时,用水平尺检查校正,擦净表面水泥砂浆。
5、铺贴完2~3小时后,用白水泥擦缝,用水泥、砂子=1:1(体积比)的水泥砂浆,缝要填充密实,平整光滑。
工程施工主要工序质量控制图目录:
附表1:独立钢筋砼基础施工工艺流程
附表2:模板工程质量控制程序
附表3:钢筋绑扎工程质量控制程序
附表4:钢筋焊接工程质量控制程序
附表5:混凝土工程质量控制程序
附表6:砌体工程质量控制程序
附表7:室内一般抹灰工程质量控制程序
附表8:屋面防水工程质量控制程序
附表9:电气工程施工流程图
附表10:给水排水工程施工流程图
附表1:独立钢筋砼基础施工工艺流程
附表2:模板工程质量控制程序
附表5:混凝土工程质量控制程序
附表6:砌体工程质量控制程序
附表7:室内一般抹灰工程质量控制程序
附表8:屋面防水工程质量控制程序
附表9:电气工程施工流程图
附表10:给水排水工程施工流程图。
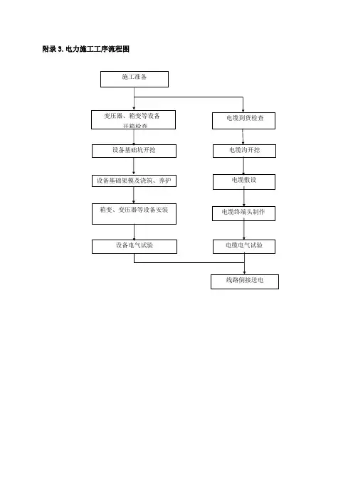
附录3.电力施工工序流程图
施工准备
变压器、箱变等设备
开箱检查
设备基础坑开挖电缆到货检查电缆沟开挖电缆敷设
设备基础架模及浇筑、养护
电缆终端头制作
电缆电气试验设备电气试验
线路倒接送电箱变、变压器等设备安装
开始施工
备料 测量路径
电缆沟开挖
电缆敷设
电缆头制安
合格
接地装置制安
合格
材料检验 否
是 否
是
电缆线路试运行
2、设备安装施工方法和施工流程 1)设备安装流程图:
施工准备→汽吊作业→搬运→安装就位→盘体固定→电缆敷设→接线引入→单体试验调试→整组试验调试→受电投运
3、电力电缆线路施工 1)工艺流程图
4、低压电缆终端头制作。