城乡低保申请审批流程图
- 格式:docx
- 大小:22.63 KB
- 文档页数:1
以下材料以城市低保为例,农低、五保的方法相同一、区县业务配置(设置发放标准)1、业务配置——区民政局——基本生活救助2、城市低保(右键)——救助标准管理——新增——添加救助标准——保存(其余标准必须停用)3、城市低保(右键)——救助流程配置——勾选——配置——“受理、审查、审核”的“参与者”都配置给“镇街道”——保存4、城市低保(右键)——救助政策配置——差额救助(有做分类施保的在新增其他政策配置)二、区县设置乡镇\村级用户1、登陆区级用户——右上角第二个图标(进入系统管理平台)2、系统管理——机构用户——救助机构——救助用户管理3、新增用户——拖动到相应乡镇(“状态”自动“启用”)4、选择乡镇中新增用户名称(右键)——角色配置5、待选角色——按行政级别分类——勾选“街道、村居”2个框——点击向右箭头——下一步——勾“可使用”——保存——确定三、乡镇、街道级新增、审核人员1、城市低保——新申请登记2、地区、户主姓名、身份证……*字格必填——保存3、人员基本信息(*字格必填)——人员收入信息——保存—确定—保存—确定—登记—确定—取消4、“新申请待办”——勾选人员——办理——页面拖到底部——“入户调查/民主评议/公示结果信息”*字格必填——保存——确定——上报——确定5、“新申请待办”——勾选人员——办理——页面拖到底部——“审核意见信息”*字格必填——保存——确定——上报——确定6、以上1-5步骤新增人员材料已上传到区、县级四、区县用户级新申请待办、资金发放1、乡镇街道上传新增人员后2、城市低保——新申请待办——直接有信息(或点击“查询”)——勾选——办理——页面拖到底部——“审批意见”*字格必填——保存——确定——办结——确定3、新申请已办——查询(查看办理状态“审批结束”)4、资金发放——维护发放信息——查询——勾选“发放方式”为空记录——登记——“社会化发放”——保存——确定5、维护银行账号——查询——勾选“银行”为空记录——维护银行账号*字格必填——保存——确定6、资金发放——维护发放名册——登记发放名册——保存发放名册——确定——勾选“本级确认时间”为空记录——(可查看发放明细/可新增明细/)确认发放名册——确定——确定——资金已发放五、复查变更(街道级)(是要变更户主,或注销用户)1、复查变更——查询——勾选需要复查记录——复查变更——复查原因——家庭成员信息(修改金额/变更申请人/新增)——拖到页面底部*字格必填——保存——上报2、复查待办——勾选需要复查记录——办理——拖到页面底部*字格必填——保存——上报3、复查材料已上传至区、县级六、复查变更(区、县级)1、城市低保——复查——复查变更——勾选需要复查记录——办理——拖到页面底部*字格必填——保存——办结——复查已办——查询——可查到复查结果。
最新农村低保办理的主要步骤农村低保是指在农村家庭年⼈均纯收⼊低于当地最低⽣活保障标准的农村居民,只要满⾜申领低保的条件即可从当地⼈民政府获得基本⽣活物质帮助的权利。
那么,农村低保申领条件是什么?如何办理农村低保。
农村低保办理流程:(⼀)申请享受农村低保待遇,按属地管理原则,以家庭为单位,由申请⼈向户⼝所在地的村委会提出申请,同时提交以下材料:1、户⼝簿或⾝份证;2、证明其家庭收⼊情况的有关凭据(出售农副产品所得票据或其他证明);3、相关证明材料(1)夫妻⼀⽅为外地农业户⼝,需提供结婚证和户⼝证明;(2)夫妻离婚的,需提供离婚证或离婚判决(调解)书;(3)优抚对象需提供能够确认⾝份的证明材料;(4)残疾⼈需提供残疾证;(5)因病丧失或基本丧失劳动能⼒的⼈员需出具县级以上医院的诊断证明;(6)家中有享受最低⽣活保障⼈员,需提供享受最低⽣活保障待遇的证明;(7)在外务⼯⼈员,需提供有关收⼊证明;(8)民政部门认为需提供的其他有关证明材料。
(⼆)村(居)委会受镇乡⼈民政府、街道办事处的委托,负责受理本村农村低保的申请、⽇常管理及服务等⼯作。
(三)镇乡⼈民政府、街道办事处对村委会上报的申请材料进⾏审核,对申请⼈的家庭经济状况和⽣活⽔平进⾏核查,对符合保障条件的困难群众,经分管领导签署意见后将材料上报区民政局。
(四)区民政局通过多种⽅式、多种渠道调查了解,对符合保障条件的家庭,及时批准,核发农村低保⾦领取证。
(五)对不符合条件的,村委会、镇乡⼈民政府和街道办事处、区民政局都有责任向申请⼈说明不予批准的理由,并及时进⾏公开。
农村低保申领条件:持有本地户⼝,且家庭成员年⼈均收⼊低于当地低保标准的。
此外,下列⼈员也可纳⼊农村低保范围:1.夫妻⼀⽅持有本市农业户⼝,其配偶及⼦⼥为外省市或本市其他区县农业户⼝,在现居住地定居⼀年以上,家庭年⼈均收⼊低于所在区县当年农村低保标准的⼈员;2.其他符合享受农村低保待遇的⼈员。
申请低保流程
申请低保是帮助生活困难的人群获得基本生活保障的一种社会救助制度。
下面将为您介绍申请低保的具体流程。
首先,申请人需要到当地社区事务受理中心或者民政局进行申请。
在办理申请时,申请人需要携带本人有效身份证件、户口簿、家庭成员身份证明、家庭收入证明以及社会保险证明等相关材料。
在提交材料时,务必保证材料的真实性和完整性,以免影响申请的结果。
接下来,申请人需要填写《城乡低保申请表》,在填写表格时要如实填写个人和家庭的基本情况,包括家庭人口、家庭收入、家庭财产等信息。
同时,需要注明申请人的特殊困难情况,比如患有重大疾病、残疾、失业等情况。
在填写表格时,务必认真仔细,确保信息的准确性。
随后,申请人需要接受社区工作人员的核实和调查。
社区工作人员会对申请人提交的材料进行审核,并进行家访,以了解申请人的真实生活情况。
在家访过程中,申请人需要如实回答工作人员的问题,并配合提供相关证明材料。
最后,经过审核和审批,申请人就能够获得低保资格。
一旦获得低保资格,申请人将会获得一定的生活补助金或者享受相关的医疗、教育等救助政策。
同时,申请人也需要定期进行低保的复审,以确保资助的公平性和及时性。
总的来说,申请低保需要申请人如实提供相关材料,并接受社区工作人员的核实和调查。
只有在经过审核和审批后,申请人才能够获得低保资格,并享受相关的救助政策。
希望以上信息能够帮助您顺利申请低保,获得应有的帮助和支持。
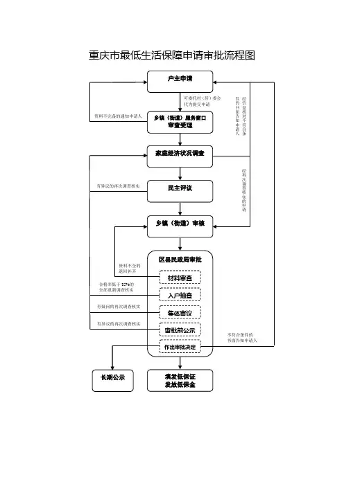
重庆市最低生活保障申请审批流程图
重庆市最低生活保障申请书
乡镇人民政府(街道办事处):
我家现居住在,家庭生活困难,申请最低生活保障(城市低保□,农村低保□)。
家庭成员、家庭财产、家庭收入等相关情况申报如下:
一、共同生活的家庭成员情况
三、家庭月开支情况
四、与低保工作人员和村(居)委会干部有近亲属关系声明
承诺:1、本人所提供的家庭基本情况和相关证明材料属实。
如有虚假,对已冒领的低保金全部退回,并承
担1-3倍的罚款。
2、本人授权并配合低保管理部门对本人及家庭成员的收入、住房和财产等相关情况进行调查。
(后
附《重庆市最低生活保障家庭经济状况核查授权书》)
申请人:
年月日
重庆市最低生活保障家庭经济状况核查授权书
根据《重庆市城乡居民最低生活保障条例》、《重庆市人民政府关于切实加强和改进最低生活保障工作的意见》(渝府发〔2013〕22号)和相关政策规定,本人受共同生活的家庭成员委托,同意区(县)民政局和本户提出申请的乡镇(街道)向所有涉及到本人家庭经济状况信息的部门或机构查询、核对本家庭财产和收入状况。
申请人姓名(指模)身份证号码联系方式:
成员姓名(指模)身份证号码联系方式:
成员姓名(指模)身份证号码联系方式:
成员姓名(指模)身份证号码联系方式:
成员姓名(指模)身份证号码联系方式:
成员姓名(指模)身份证号码联系方式:
成员姓名(指模)身份证号码联系方式:
申请人(含家庭成员)授权签字:
年月日
备注:家庭成员为无民事行为能力、限制民事行为能力人的,由监护人代签;代签的需要本人按指模。
表中成员姓名签字及指模真实性及法律后果由申请人负责。
浑源县城乡居民最低生活保障申请审核流程图浑源县城乡居民最低生活保障申请审核流程图浑源县城乡居民最低生活保障申请审核流程图个人申请个人以户主向社区(村委)提申请1、有我县城市(农村)户口且长期在户口所在地居住核社区(村委)核实乡镇人民政府1、审核上报材料审核县低保中心1、对上报材料逐户审核审批指定银行1、核实申请户的基本情况一、条件2、调查家庭收入情况(入户率100%)2、调查收入(入户率不低于25%)2、抽样调查入户(入户率不低于25%)出具证明单位、群众测评表低保户2、人(户)均收入低于我县低保标准的1、户口簿、身份证、结婚证、残疾证等证件及复印件3、召开座谈会、民主测评3、对审查合格的以户张榜公示3、对符合条件的予以批复、制作低保证、银行卡二、出具证明材料2、家庭中在职、在册职工、离退休人员提供劳资、工会部门出具的经济收入证明4、对调查合格的张榜公示4、对无异议的加注意见汇总上报3、赡养、抚养、扶养义务人家庭收入证明5、指导申请者填写正式申请表及相关证明表格5对不符合条件的应在7日内下达不予办理通知单4、审批表一式三份,一份存档、一份在社区(村委)、一份报市低保中心市、县低保中心备案4、家庭成员收入经济状况证明6、对符合条件的加注意见,并汇总上报乡镇政府5、制作《浑源县城乡低保发放花名表》一式三份,一份存档、一份报财政部门、一份存银行5、户口转走、正在就读的大中专学生所在学校证明6、发放《低保证》,通知低保对象到银行领取保障金新增加低保对象6、其它有关证明材料二、保障期半年的其他对象2、复核要求:低保对象保障期满前半个月,主动向所在社区(村委)提出复核申请,否则按自动放弃保障资格处理。
3、发放变更好的低保证,将旧证收回3、对变更和不需要变更的汇总上报2、对无故不复核的对象取消低保资格2、对复核材料审核并加注意见2、加注意见并汇总上报1、对无故不复核者收回领取证3、填写《复核表》一、保障期一年的对象1、保障时限:A“三无对象”B家庭中主要成员因大病、重残基本丧失劳动能力的低保对象C家庭中主要成员男方50岁以上,女方45岁以上且未就业的生活特困、短期脱贫无望的2、提供有关证明1、对需变更的低保对象进行审批、存档1、核实各种材料1、提出复核申请审批县低保中心审核乡镇人民政府核实社区(村委)低保户复核扩展阅读:扬州市广陵区民政局城乡居民最低生活保障审批流程图扬州市广陵区民政局城乡居民最低生活保障审批流程图不符群众反映强烈经调查不符合条件退回申请人申请人申请居(村)委会受理初审合要求退回申请申请人填写“申请审批表”并提供相关证明材料村(居)委会入户调查人街道(乡镇)低保专职复核救灾救济科低保中心主任审批计财科会计下拨低保经费街道(乡镇)民政办公示,打卡发放低保金一、所需提供的材料:(1)申请城市低保所需材料书面申请报告;持家庭户口簿或家庭所有成员户籍、身份证档案复印件;家庭所有成员从业的各种固定收入和非固定收入证明;在法定劳动年龄段内有劳动能力的家庭成员,须提供所在街道办事处、镇(乡)劳动保障所核发的就业登记证、培训和推荐就业情况等记录材料、就业承诺书;户籍地派出所出具的有无刑事案件、社会治安不良记录的证明材料;家庭前三个月水、电、气、电话费消费清单及其它社区居委会要求提供的相关证明材料;符合申请条件的由申请人填写城市居民最低生活保障待遇申请审批表。
居住地低保办理流程
居住地低保办理流程如下:
1.资格审查:申请人需要前往当地社会救助部门或民政部门,提交申请表和相关证明材料,如身份证、户口簿、家庭收入证明等,进行资格审查。
2.家庭经济状况评估:社会救助部门或民政部门会对申请人的家庭经济状况进行评估,包括家庭人口、收入情况、财产状况等。
3.审核材料:相关部门会审核申请人提交的材料,确保信息的真实性和完整性。
4.家庭访查:部分地区可能会进行家庭访查,以核实家庭的实际生活情况。
5.审批:经过资格审查和评估后,相关部门会对申请人的低保资格进行审批。
6.发放补助:一旦通过审批,申请人将获得低保补助金或者享受其他形式的救助,帮助其解决基本生活困难。
7.定期复审:通常,低保资格是需要定期复审的,以确保资助对象的家庭经济状况仍符合低保资格标准。
农村低保户申请条件及流程一、申请条件:持我省农村常住户口,家庭年人均纯收入低于最低生活保障线的农村居民;二、申请流程第一步:以家庭为单位,向户籍所在地的乡(镇)人民政府提出书面申请,乡(镇)人民政府组织或委托村委会对申请人家庭经济和实际生活情况初审、评议和上报;(农村低保申请、审批一般于每年年初1-3月份集中办理);第二步:乡(镇)人民政府对村委会报送的申请对象,在10个工作日内完成审核、上报工作;第三步:县级民政部门对乡、镇人民政府上报的农村低保对象在10个工作日内完成审批,并将审批结果告知乡、镇人民政府,由乡镇人民政府和村委会分别进行3~5天的张榜公布。
群众无异议后,即批准该户享受农村最低生活保障,并由县级民政部门核发《青海省农村居民最低生活保障证》。
城市低保户申请条件及流程一、申请条件:持有非农业户口的城市居民,凡共同生活的家庭成员人均收入低于当地城市居民最低生活保障线的城镇居民;二、申请流程第一步:提出入保申请时,申请人必须如实填写《城市居民最低生活保障申报表》(以下简称“申请表"),并如实提供在职家庭成员和离退休人员所属单位劳资部门有关月收入情况的有效证明材料.家庭人口和收入发生变化时,应及时报告街道办事处。
第二步:入保申请人在如实填写《申报表》后,连同在职家庭成员的收入证明、户口簿、身份证等相关材料送交户口所在地的街道办事处;第三步:街道办事处可组织或委托社区居委会在10日内完成对申请人家庭收入的调查核实工作,填写《城市居民最低生活保障待遇核查表》。
第四步:乡镇人民政府审查,张榜公布5日,无异议的,由乡镇人民政府报(区)县民政局;第五步:(区)县民政局复查后,张榜公示。
对群众无异议的从批准当月起纳入保障范围,并由县级民政部门核发《青海省城市居民最低生活保障证》,资金社会化发放。
五保户申请条件及流程一、申请条件:无劳动能力;无稳定生活来源;无法定赡养、抚养、扶养义务人,或者其法定赡养、抚养、扶养义务人无赡养、抚养、抚养能力及同时符合以上条件的老年人(60岁以上)、残疾人;二、申请流程第一步:本人或近亲属持家庭户口向村(牧)民委会提出申请;第二步::乡(镇)人民政府组织村民委员会初审,经民主评议,对符合规定条件的,公示10日以上。
锡林郭勒盟城市低保工作流程示意图
一、申请、审批程序纳入低保
救助范围
符合条件
书面申请
申请人
发放低保资金领取证按月持身份证和领取证核实情况,对领取证进行认证持认证后的领取证和取款凭证
旗县市(区)民政局低保对象社区居委会低保对象社会化发放单位
三、最低生活保障金发放程序
按月拨付低保资金
书面报告
旗县市(区)民政局地方人民政府
每月8日前将
资金拨出拨出资金
社会化发放单位保障对象持经认证后的领取证和
取款凭证按月领取保障资金
四、调整享受待遇程序人均收入已高于低保标准汇总上报审核同意
旗县市(区)民政局停止发放保障资金
申报核实上报
低保对象如实申报社区居委会街道办事处
收入变更情况上报审核同意
办事处做出提高补助意见旗县市(区)民政局上调补助水平
办事处做出降低补助意见旗县市(区)民政局下调补助水平
高于原收入上报审核同意。
冠县城镇低保政策、流程图一、政策依据关于印发《山东省城市居民最低生活保障工作规范》的通知(鲁民发【2004】33号)二、政策标准(一)申请城市低保待遇的人员具备的条件:1、持有户籍所在地常住城市户口。
2、共同生活的家庭成员月人均收入低于当地城市低保标准。
3、实际生活水平低于当地城市低保标准。
(二)申请必备材料:1、户口薄及其复印件;2、家庭成员身份证及其复印件3、家庭成员的收入证明;4、个人申请书。
(三)不予批准城市低保的对象:1、家庭月人均收入低于当地低保标准,但是实际生活消费水平明显高于当地城市低保标准的。
2、不按规定如实申报家庭收入的;不接受低保工作人员核查的;连续3个月不按时领取低保金的。
3、非因拆迁原因购买商品房或高标准装修现有住房的;4、有赌博、吸毒、嫖娼等违法行为而造成生活困难,尚未改正的;违法收养儿童的。
5、群众反映强烈、经职工代表会议民主评议不应享受低保待遇的。
三、流程图城市低保申报审批流程图(本人申请)→(户籍所在单位工会受理初审)→(入户调查)→(公示无异议)→(报主管单位工会)↓(报县民政局审批)←(填表完善档案)← (公示无异议) ← (主管单位复核)↓(入户抽查)→(公示无异议)→(进行审批确定低保对象)→(发证)冠县农村低保政策、申请流程图一、政策依据根据《山东省农村居民最低生活保障制度实施意见》的通知(鲁政办发【2007】74号)二、政策标准(一)申请农村低保待遇具备的条件:1、户籍所在地为农村,并持有户籍所在地常住居民户口;2、共同生活的家庭成员年人均纯收入低于当地政府公布的农村低保标准;(二)申请必备的材料:1、个人申请书;2、户口簿、身份证及其复印件;3、家庭成员户口簿、身份证及其复印件;(三)不予批准农村低保待遇的:1、家庭年人均纯收入虽然低于当地农村低保标准,但实际生活消费水平明显高于当地农村低保标准的;2、经过民主评议和公示,群众有异议或反映强烈的;3、不如实提供家庭收入情况,不接受工作人员核查或提供虚假证明材料的;4、因违法收养、赌博、吸毒、嫖娼等造成生活困难尚未改正的;5、拥有并经常使用高档消费物品的;自费购买、新建、装修住房不满2年的;6、县级以上政府依法规定不能享受农村低保待遇的其他情形。
三环节十步骤的低保工作流程摘要:本文旨在介绍关于三环节十步骤的低保工作流程,通过系统的分析和详细的步骤,帮助相关人士更好地了解低保工作的具体流程和操作方法。
文章将介绍低保工作的背景和意义,然后具体分析三环节十步骤的具体流程和操作方法,最后总结出一套完整的低保工作流程。
一、低保工作的背景和意义低保工作是一项重要的公共服务工作,旨在帮助生活困难的人群获得基本生活保障,提高社会福利水平,促进社会稳定和和谐发展。
在我国,低保工作由社会福利部门负责,是一项具有深远意义和重要影响力的工作。
二、三环节十步骤的低保工作流程1. 登记受理环节步骤一:辖区居民提出申请申请人前往当地社会福利部门提出低保申请,填写相关表格并提交必要的材料。
步骤二:初步审查材料社会福利部门工作人员对申请材料进行初步审查,核实申请人的基本情况,确保申请材料齐全可行。
2. 审核评定环节步骤三:实地调查核实工作人员进行实地调查,核实申请人的家庭状况、经济情况和生活状况,获取全面准确的信息。
步骤四:综合评估根据实地调查结果,对申请人的家庭状况、经济情况进行综合评估,确定是否符合低保条件。
3. 发放补助环节步骤五:制定补助方案社会福利部门根据审核评定结果,制定具体的补助方案,确定补助标准和发放方式。
步骤六:签订协议申请人与社会福利部门签订低保补助协议,明确双方权利和义务,确保补助金使用合法合规。
4. 动态管理环节步骤七:定期复核社会福利部门定期对低保对象进行复核,核实其家庭状况和经济情况,保证补助对象的合法性和真实性。
步骤八:及时调整根据定期复核结果,对低保对象的补助标准和方式进行及时调整,保证补助的及时有效。
5. 老、低、病残等特困人员的供养环节步骤九:特困人员供养针对老、低、病、残等特困人员,制定相应的供养方案和服务措施,提供专门的保障和帮助。
步骤十:关怀服务为特困人员提供专业的医疗、护理和心理支持服务,关怀其身心健康和生活品质。
三、总结三环节十步骤的低保工作流程是一个系统完整的工作流程,包括了低保工作的各个环节和具体操作步骤。
申请低保流程低保是社会救助制度的一部分,旨在帮助经济困难的人群生活。
以下是申请低保的一般流程。
1. 了解相关政策在申请低保之前,首先要了解所在地的低保政策和规定。
可以通过向社区居民委员会、民政局、社会保障局等部门咨询获取相关资料,或者在政府网站上查询。
2. 收集申请材料申请低保需要提供一系列的材料,如身份证明、户口簿、家庭人口情况证明、收入证明、财产证明等。
根据当地政策的要求,进行逐一准备。
3. 填写申请表格向低保办理部门领取申请表格,填写个人和家庭的基本情况、收入、支出等内容,并附上相关材料。
确保填写准确无误,并在申请表上签字。
4. 提交申请材料将填写好的申请表格及相关材料递交给当地的低保办理部门。
注意,申请材料需要按照规定的格式和数量,如果缺少或不符合规定,可能会导致申请被退回或延迟处理。
5. 审核和评估申请材料提交后,相关部门会进行审核和评估。
他们可能会进行现场走访、电话调查等方式来核实申请人的经济状况和家庭情况,以确保申请人符合低保的条件。
6. 发放审核结果审核完成后,低保办理部门会向申请人发送审核结果。
如果审核通过,会给予一定的经济补助;如果审核不通过,会告知不通过的原因。
7. 监督和定期复查一旦获得低保,申请人需要定期向相关部门进行报告,并接受定期复查。
如果发现申请人的经济状况发生变化,需要及时更新材料,并可能会导致低保资格的变更或取消。
总体来说,申请低保涉及的流程分为了解政策、收集材料、填写申请表格、提交申请材料、审核和评估、发放审核结果、定期复查等环节。
在整个过程中,需要确保材料的准备充分、申请表的填写准确无误,并配合相关部门的调查和审核工作。
农村低保申请条件及程序是什么农村低保保障待遇以家庭为单位由户主提出申请,申请⼈必须同时具备下列条件:1、拥有当地农业户籍并在当地常住。
2、共同⽣活的家庭成员申请前12个⽉家庭年⼈均纯收⼊低于当地农村低保保障标准。
家庭经济状况不能维持基本⽣活需要,财产状况、实际⽣活⽔平与基本⽣活常年困难家庭状况相符。
农村低保申请条件及程序是什么政府为扶持农村贫困⼈群的基本⽣活保障,设置了农村低保资⾦为农村贫困⼈群使⽤,有需要的⼈群都可以通过申请贫困低保资⾦来保障⽇常的必要⽀出,那么农村低保申请条件及程序是什么?⼀、申请条件农村低保保障待遇以家庭为单位由户主提出申请,申请⼈必须同时具备下列条件:1、拥有当地农业户籍并在当地常住;2、共同⽣活的家庭成员申请前12个⽉家庭年⼈均纯收⼊低于当地农村低保保障标准;家庭经济状况不能维持基本⽣活需要,财产状况、实际⽣活⽔平与基本⽣活常年困难家庭状况相符。
共同⽣活的家庭成员是指具有法定、、关系并共住、共同⽣活的所有家庭成员。
家庭经济状况整体不符合申请资格条件,但家庭年⼈均纯收⼊在当地农村低保保障标准150%以内的,其家庭中已成年的的重残⼈员或丧失劳动能⼒的患重⼤疾病⼈员,可以分户独⽴提出申请。
农村低保申请⼈家庭,按共同⽣活的家庭成员申报和核定家庭⼈⼝:1、户籍迁出但尚在校就读的学⽣;虽然拥有⾮农业户籍但在当地农村常住并共同⽣活的家庭成员;其他经县级以上⼈民政府民政部门认定应当计⼊的家庭成员,纳⼊共同⽣活家庭⼈⼝计算;2、在监狱、场所内服刑、劳动教养的⼈员,不纳⼊共同⽣活的家庭⼈⼝计算;3、外出务⼯半年以上的家庭成员,不纳⼊共同⽣活的家庭⼈⼝计算,但应按规定申报和核算收⼊。
有下列情形之⼀的家庭和⼈员,原则上不能享受农村低保保障待遇:1、家庭成员有劳动能⼒、⽆正当理由拒绝劳动,撂荒承包⼟地、⼭林、⽔塘等,或⽆正当理由拒绝参加有关部门组织的就业培训、农业科技培训和劳务输出的;2、拒绝配合⼊户调查或隐瞒家庭真实收⼊(包括⾮稳定性隐蔽收⼊)或转移、放弃个⼈资产的;3、法定赡养(抚养、扶养)义务⼈有赡养(抚养、扶养)能⼒的;4、超过家庭经济承受能⼒购买⾼档⾮⽣活必需品或长期⾼消费的;5、家庭财产状况明显不符合保障条件、实际⽣活⽔平超过当地农村低保保障标准的;6、因赌博、吸毒等导致家庭实际⽣活⽔平低于当地农村低保保障标准,经教育仍不改正的;7、其他经县级以上⼈民政府民政部门认定不能享受农村低保保障待遇的。
低保申请民政审核流程低保是指为保障生活最低保障线以下家庭的基本生活需要,由政府提供的最低生活保障的政策措施。
低保申请是指家庭在经济困难的情况下向民政部门申请低保资助。
下面将介绍低保申请的民政审核流程。
首先,家庭需要前往当地的民政部门咨询低保申请所需的材料及流程。
通常情况下,家庭需要提供身份证、户口簿、家庭成员的身份证明、家庭收入证明、财产证明等材料。
其次,家庭需要填写低保申请表。
低保申请表是一份标准的申请表格,家庭需要填写个人及家庭的基本信息,包括姓名、年龄、学历、工作情况、收入状况等。
同时,申请人还需要简要陈述家庭的经济困难情况,包括家庭收入来源和数额、家庭成员的就业状况、家庭固定支出等,以便民政部门了解家庭的实际情况。
然后,家庭需要家庭成员的身份证、户口簿进行复印,并提供相关证明和资料。
这些证明和资料通常包括家庭成员的就业证明、离退休证明、残疾证明、学生证明等,以证明家庭成员的身份和经济状况。
接下来,民政部门会派人对家庭的申请材料进行审核。
民政部门会对家庭的基本信息进行核实,并进行实地调查。
调查员会深入了解家庭成员的实际收入、生活状况等情况,也会与家庭成员进行面谈,以确保申请的公平性和真实性。
最后,民政部门会根据家庭的实际情况和审核结果,决定是否批准该家庭的低保申请。
如果批准,民政部门会向家庭发放低保证,并安排定期的审核和复核工作,以确保资助的准确性和及时性。
以上就是低保申请民政审核的流程。
低保政策的实施为生活困难的家庭提供了一定的经济保障,但也需要经过民政部门的审核和评估。
只有经过审核合格的家庭才能享受到低保资助。
这也是为了保证低保政策的公平与公正性。
农村低保申请程序农村低保申请程序指农村贫困人口向相关部门申请低保金的申请流程。
在中国,低保是政府为了保障特困群体的基本生活而实行的一项社会保障制度。
低保标准会根据当地的平均收入水平和物价水平等情况而有所不同,一般由城乡居民最低生活保障委员会或财政部门确定,用于保障困难家庭的基本生活。
一、核对申请人资格农村低保申请程序的第一步是核对申请人资格,包括计算家庭收入、查看社保缴费记录、了解家庭财产情况等。
农村低保申请者需要提交以下材料:户口簿、身份证、社保卡、收入证明、家庭成员信息和财产证明等。
二、提交申请在资格核对之后,申请者需要提交正式的低保申请书,包括个人基本信息、家庭情况和申请理由等。
三、初审低保申请书提交之后,当地最低生活保障委员会会安排工作人员进行初审,主要是对申请人提交的各项材料进行审核和核对。
四、现场核查初审通过后,工作人员将前往申请人所在的村庄,对申请人家庭情况进行现场核查,包括住房面积、家庭成员情况、用电情况等。
如发现申请人提交的申请书和真实情况存在不符之处,会取消其低保申请资格。
五、公示现场核查完成后,当地最低生活保障委员会会在村委会、村政府等公共场所公示申请人名单,公示时间一般为7天。
公示期间,任何人都有权向最低生活保障委员会反映申请人不符合条件的情况。
六、复审公示期结束后,最低生活保障委员会根据初审、现场核查和公示情况,决定是否给予申请人低保资格,如有异议,申请人和反映人均可以向最低生活保障委员会申请复审。
七、发放低保金最低生活保障委员会决定给予申请人低保资格后,会按照月份发放低保金。
发放金额和发放时间均在规定的标准和时间内,以保障申请人基本生活所需。
总结来看,农村低保申请程序虽然流程繁琐,但是核对资格、现场核查、公示、复审等环节都为低保申请者的利益保障提供了保障,希望农村贫困人口能够合理利用低保制度,脱离贫困,实现更好的生活。