墩台身施工工艺样本
- 格式:doc
- 大小:120.00 KB
- 文档页数:21
目录第一章、编制根据、原则及范畴 ..................... 错误!未定义书签。
一、编制根据................................... 错误!未定义书签。
二、编制原则................................... 错误!未定义书签。
三、编制范畴................................... 错误!未定义书签。
第二章、工程概况................................. 错误!未定义书签。
一、工程简介................................... 错误!未定义书签。
二、重要技术原则............................... 错误!未定义书签。
三、墩台施工重要内容及工程数量................. 错误!未定义书签。
四、自然特性................................... 错误!未定义书签。
五、交通运送状况............................... 错误!未定义书签。
六、施工用电、用水、燃料....................... 错误!未定义书签。
第三章、总体施工组织安排, ....................... 错误!未定义书签。
一、总体管理目的............................... 错误!未定义书签。
二、现场管理组织机构及职责分工................. 错误!未定义书签。
三、队伍布置和施工任务划分..................... 错误!未定义书签。
第四章、施工方案................................. 错误!未定义书签。
一、承台施工................................... 错误!未定义书签。
桥梁墩台身施工作业指导书样本1.0编制目的明确桥梁墩、台身施工工艺、操作要点和质量标准,规范和指导桥梁墩、台身作业施工。
2.0编制依据《公路桥涵施工技术规范》(JTG/T F50-2011)《公路工程质量检验评定标准》(JTGF80/1-2004)3.0适用范围及条件适用于公路桥梁工程墩、台施工。
4.0施工工艺4.1施工工艺流程(图4-1)5.0施工方法及要求5.1施工准备为了使墩、台位置、尺寸符合设计要求,桥梁施工前,首先应对桥梁所在位承台顶面清理测量放样 钢筋绑扎 钢筋制作 模板安装 模板制作 混凝土浇筑 混凝土养护 混凝土拌和运输 拆除模板 制作试件 图4-1 桥梁墩、台施工流程框图 钢筋模板检查置的路线中线进行复测。
复测无误后,在现场定出控制桩。
以桥梁中线控制桩或桥梁三角网控制点为基准,按规定精度测量出墩、台中心的位置。
对基础混凝土表面上墩、台身范围内的混凝土进行凿毛处理,并清理干净。
5.2钢筋加工与安装(1)钢筋混凝土墩、台钢筋加工与安装,应符合钢筋混凝土构件的基本要求。
(2)钢筋进场时应具有出厂合格证明书或试验报告,并按不同规格、等级、钢种、牌号分批验收、分别存放、设立标识牌。
按照规定抽取试件进行力学,化学和可焊性试验。
(3)钢筋加工前必须调直及除锈,钢筋调直和清除污锈应符合下列要求:①钢筋的表面应洁净,使用前应将表面油渍、油漆污皮、鳞锈等清除干净。
②钢筋应平直无局部弯折,成盘的钢筋和弯曲的钢筋均应调直。
③采用冷拉方法调直钢筋时,Q235钢筋的冷拉率不宜大于2 %; HRB335 、HRB400 牌号钢筋的冷拉率不宜大于1%。
(4)钢筋的弯制和末端的弯钩应符合设计要求,如设计无规定时,应符合下表5-1的规定。
表5-1 受力主钢筋制作和末端弯钩形状夸曲部位弯曲角度形状图钢筋种类弯曲直径D 平直部分长度备注末端弯钩180°Q235 ≥2.5d ≥3dd 为钢筋直径135°HRB335φ8~φ25≥4d ≥5dHRB400 φ28~φ4090°HRB335φ8~φ25≥4d ≥10dHRB400 φ28~φ40≥4d中间弯钩90°以下各类≥20d钢筋直径,且不小于箍筋直径的2.5倍。
墩台身施工作业指导书样本1. 适用范围本作业指导书适用于墩台身施工。
2. 施工准备2.1 内业准备施工设计图纸及有关施工资料到位后,组织技术人员进行图纸复核,组织相关人员培训、学习相关技术规范及施工细则、设计文件,做好墩身施工的技术准备工作。
并且对技术、施工人员进行技术交底。
2.2 外业准备在已完成的承台顶面精确放样、标定墩身十字中心线、墩身轮廓线,将轴线控制线延长至适当位置加以固定并妥善保护。
2.3 其它准备工作(1)承台混凝土浇筑前要预埋墩身钢筋,并根据墩身模板结构尺寸在承台上预埋型钢定位构件。
精确测定墩中心,并用墨线弹出墩台身底面尺寸位置。
同时搭设碗扣式脚手架作为操作平台,为防止震动模板,操作平台必须与模板支撑(夹固杆件)分开设置。
(2)在承台混凝土强度达到要求强度后,对墩身与基础接触面进行凿毛,人工凿除混凝土表面的浮浆,露出新鲜混凝土并用水将表面冲洗干净。
(3)根据纵横十字轴线用墨线弹出墩身的截面尺寸线、模板框外轮廓线。
3. 技术要求墩身施工必须满足相关规范及设计文件的要求,为减少混凝土收缩及徐变的影响,墩身混凝土宜一次连续浇筑。
墩台施工中应经常检查中线、高程,发现问题及时处理。
墩台施工完毕后,应对全桥中线、高程、跨度贯通测量,并用墨线标出各墩台中心线、支座十字线、梁端线及锚栓孔位置。
4. 施工程序与工艺流程墩台身施工程序:施工准备→将墩身与基础接触面进行施工缝处理→在承台顶拼装钢管脚手架作为墩身钢筋及模板安装平台→墩身钢筋制作与安装→墩身钢模板安装→墩身预埋件安装→罐车运输混凝土就位、汽车吊机吊装混凝土或混凝土泵车泵送或天泵泵送混凝土经串筒入模→插入式振动器振捣混凝土→墩身混凝土养护。
墩台身施工工序流程见下图。
墩身施工工序流程图5. 施工要求5.1 钢筋制安(1)根据图纸,做钢筋下料单,工班根据下料单加工、分类编号堆放。
下料时要根据墩台钢筋编号和供应钢筋的尺寸,统筹安排,以减少钢筋的损耗。
施工方案一、工程概况阿墨江大桥共有3个主墩,其中3~5号墩为主墩,墩身顺桥向由两片等截面矩形空心薄壁墩组成,每片薄壁墩横桥向宽12。
2米,顺桥向厚2。
5米,两片薄壁墩之间净距为5米,3、5号主墩中间各设一道横糸梁,4号墩按三分点位置设两道横糸梁。
薄壁墩的上下两端各设3米厚的实心段。
另外,4号主墩第一道横糸梁以下部分用15号片石砼填芯。
墩身高度表(单位:m)二、施工工艺〈一〉引桥墩台施工0#、11#桥台为承台加耳墙和背墙结构,承台施工时在承台内预埋耳墙和背墙结构钢筋,待承台砼达到一定强度后,通过测量放样,凿毛,安装模板,调校后即可浇注砼.10#墩墩身高度较低,承台施工时在承台内预埋墩身钢筋,竖向主筋按照设计长度调整布设。
模板采用定型钢模拼装而成,并安装到顶,保证砼一次性整体浇注完毕。
1#、9#墩墩身高度不大,利用吊车作为起吊设备即可完成整个墩身砼的施工。
根据墩身高度情况采用分节段浇筑,每次浇筑砼高度为4.7米。
竖向主筋拟采用钢套筒挤压连接接长,或采用指挥部或设计批准的其它连接方式接长.考虑到钢筋接长后其自由长度很大,故需在墩身外围搭设钢筋临时定位支架。
以保证钢筋位置准确和防止钢筋弯曲和骨架倒塌.从安装第二节段墩身的模板开始,必须在基模上设置临时脚手平台,以提供施工空间和保证施工安全.其余的引桥墩的墩身高度较大,采用分节段浇筑,每节段浇筑砼高度为4.7米。
由于吊车吊装高度有限无法满足施工要求,为此,拟采用整体式提升爬架作为施工脚手平台,卷扬机作为主要吊装动力,手链葫芦作为辅助动力,地面吊车配合即可完成整个墩身的施工.爬架高度按11。
0米设计,共分4节,即3×2.5+3。
5m,采用分体加工拼装,以螺栓连接为主。
在施工墩身的前三节段,利用汽车吊就能顺利完成各道工序施工,方法同9#墩身施工。
待第三节段墩身施工完成后,即开始拼装整体式爬架.爬架构件在承台上拼装成一个环抱墩身的钢框架结构。
在爬架提升前把第二节段上层1。
一基坑开挖采用机械开挖配以人工修整的方案。
开挖时基底留 20cm 人工开挖,减小对原状土的挠动.基坑严禁超挖,如有超挖,必须用级配碎石回填至设计基底标高并夯实。
开挖时,严禁破坏桩头钢筋。
挖掘机在桩头之间操作,桩头土采用人工清除.采用加大基坑开挖尺寸,四周设排水沟和集水坑潜水泵抽水的方案,防止基坑开挖之后地下水渗入造成基坑积水,排水沟深 30cm,集水坑深 50cm.不间断抽水,保持基底无积水、无浮泥,满足承台施工的需要。
基坑开挖,放坡坡度为 1:0。
5.1 凿除桩头砼基坑开挖至设计底标高后,要进行适量超挖,用于凿出桩头的砼均匀撒布于基底。
首先将桩头钢筋和声测管拨出,然后将桩头在设计标高以上 10cm 处截断,剩余部份用空压机凿除,将破坏的桩头锚固钢筋调直、补充完整.浇注封底砼前,对嵌入封底砼的桩头侧面进行凿毛和清洗处理,保证二者结合良好。
2 桩基检测凿除桩头砼以后,将声测管清理干净,灌水,然后邀请第三方检测机构共同进行桩基检测。
3 注意事项(1)承台基坑开挖前准备好彩条布及其它相关防雨设施,并在基坑的外轮廓线 50cm 处筑好挡水埝;(2)基坑开挖连续进行,人工找平至设计标高后即将组织下一道工序施工,防止基坑长期暴露和扰动;(3)基坑开挖过程中时常检查基坑边坡稳定性和开挖深度.(4) 如果基坑有地下水渗入,要及时挖排水沟和集水井,必要时进行承台封底以便模板安装和钢筋施工二钢筋施工首先对承台位置进行测量放样,用墨线弹出承台轮廓线,然后在其上标出纵横钢筋位置,一次绑扎成型.第一层钢筋网绑扎好以后,在钢筋网底部放置符合要求砼垫块,将底部钢筋垫起,垫块呈梅花形放置,间距为 1m 一个.接着绑扎第二层钢筋网片,第二层绑扎好后,在第一层与第二层之间焊接支撑钢筋,将一、二层钢筋网片撑起,焊接时按梅花形布置,每 80cm 一根,保证第二层钢筋网片有足够的强度,在绑扎上层钢筋时可以满足施工人员行走不变形。
要保证每层钢筋网片绑扎的顺直度、间距、保护层及同一截面焊接接头等项目确保合格。
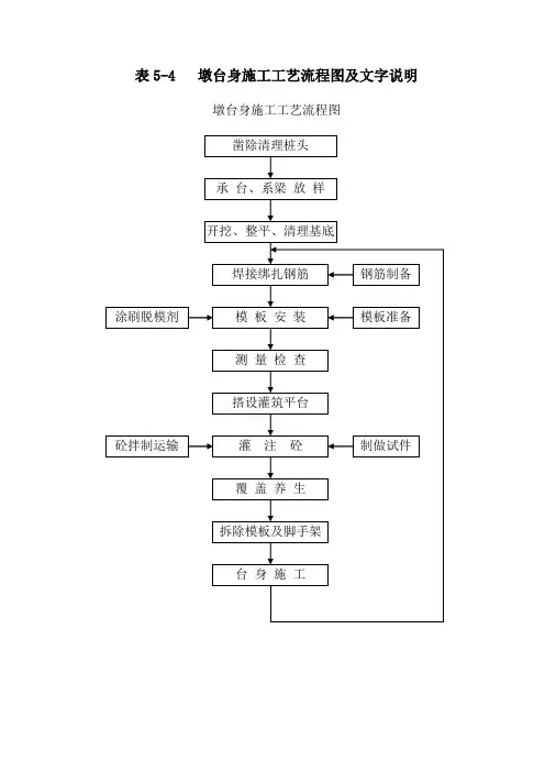
表5-4 墩台身施工工艺流程图及文字说明
墩台身施工工艺流程图
墩台身施工工艺文字说明:
1、墩台钢筋加工和安装
墩台身钢筋就地绑扎、焊接。
钢筋笼安装采用支架固定,必要的地段对地基进行夯实处理或安装砼垫块,防止支架在施工过程中下沉。
2、墩身模板制作和安装
墩柱模板采用整体组合吊装钢模板,结合墩身的实际高度,模板分节制作,选取适当长度制成基本节,并配以适当短节便于施工。
3、墩台身砼浇注
砼集中供应,由输送车运到施工现场,泵送入模,插入式捣固器振捣。
砼按一定厚度一次性连续浇注完成,必须控制砼泵入的速度,避免因浇注速度过快造成振捣不实或漏捣。
4、墩台身模板拆除
砼养护达到规范要求后即可拆除模板,由人工放松螺栓后,直接用吊车拆除,拆除时防止碰撞、刮伤砼。
5、墩台身砼养护
砼外露面用薄膜覆盖,浇水养生,养生时间不少于14天。
墩身、台身施工方案在桥梁施工领域,墩身和台身的施工方案是至关重要的一环。
墩身和台身不仅仅是桥梁结构中承载重量的关键部分,更是整个桥梁安全稳定性的保障。
下面将从墩身、台身的施工工艺、材料选用、质量控制等方面展开详细介绍。
一、墩身施工方案1. 墩身结构设计墩身结构设计需根据桥梁的跨度和荷载等参数,确定墩身的高度、横截面形状等关键参数。
墩身一般采用混凝土浇筑,需要保证墩身的稳定性和承载能力。
2. 墩身施工工艺•模板搭设:首先需搭设好墩身的模板,确保模板的强度和稳定性,以保证混凝土的浇筑质量。
•钢筋绑扎:在模板搭设完成后,需要对墩身内部进行钢筋绑扎,这是墩身承载力的关键。
•混凝土浇筑:最后进行混凝土的浇筑,需要控制好浇筑质量、密实度和坍落度,确保墩身的质量。
二、台身施工方案1. 台身结构设计台身是桥梁的承台部分,承载着桥面和车流的荷载。
台身的结构设计需考虑桥梁的荷载分布、变形和振动等因素,保证其稳定性和安全性。
2. 台身施工工艺•基础处理:首先对台身基础进行处理,确保基础的承载能力和稳定性。
•台身墙体施工:接着进行台身墙体的施工,采用混凝土浇筑或预制构件安装等方式。
•桥面铺装:最后铺设桥面,进行防水处理和路面整平,确保桥梁的通行平稳和安全。
三、质量控制在墩身、台身施工过程中,质量控制是至关重要的。
应严格按照相关规范和标准进行施工,对墩身和台身的材料、工艺、验收等环节进行严格监控和检测,确保施工质量和结构安全性。
综上所述,墩身、台身施工方案是桥梁施工中的关键环节,需要在设计、施工和质量控制等方面都做到严谨细致。
只有这样,才能保证桥梁的安全稳定,为人们出行提供便利和安全保障。
墩身施工工艺一.矩形空心墩施工空心矩形墩,墩高7m~18m,钢筋护壁。
墩身、墩帽采用C30高性能耐久性砼,垫石采用C50砼。
空心墩模板外模采用大块整体桁架式无拉杆钢模,内模采用组合钢模辅以胶合板。
空心墩外模每6m~8m立一次模,内模与外模同时、同步立模,第一次砼灌注空心墩下部实体段,然后灌注空心段墩身砼,最后灌注墩帽砼。
图1 墩台施工工艺流程图墩台施工工艺流程见图12.模板工程外模采用大块整体桁架式无拉杆钢模(见下图),环向分4块,每3米为标准节,通过1米、0.5米的非标准节进行调整不同的墩高,内模采用组合钢模辅以胶合板。
面板采用6mm厚的钢板,竖胁采用[20槽钢,间距40cm,横胁采用8mm钢板,间距40cm,整体式框架结构。
空心墩倒角及局部拐角处采用胶合板模板,墩内壁半径R为75cm的圆角采用定制圆角钢模。
墩台身砼保护层厚度采用细石子砼垫块,空心墩墩壁模板之间支撑采用φ40钢管两端支垫专用塑料定位垫块。
墩身模板采用汽车运输至墩位附近,现场拼装成整体,安装桁架支撑,采用25t汽车吊整体吊装就位,与承台预埋型钢连接固定。
(注:墩身采用的桁架式无拉杆钢模另由经理部统一设计、检算,委托广州市英达钢结构有限公司加工。
)矩型空心墩模板图模板整体拼装时要求错台<1mm,拼缝<2mm。
安装时,用缆风绳将钢模板固定,利用经纬仪校正钢模板两垂直方向倾斜度。
墩身模板安装允许偏差见表1示。
表1墩台模板允许偏差和检验方法3.脚手架工程墩砼下部实体段砼强度达到设计强度的80%后,在空心墩上搭设φ40钢管满堂脚手架,脚手架和对撑螺杆相结合。
脚手架钢管横向间距60cm,纵向间距60cm,竖杆横向间距80cm,每层步距60cm,每1.8m布设一道剪刀撑。
4.钢筋制作安装钢筋在加工棚内集中下料、分型号、规格堆码、编号,平板车运到现场,现场绑扎或焊接。
结构主筋接头采用闪光对焊,主筋与箍筋之间采用镀锌铁线进行绑扎或焊接。
(秦家至东风)--松花江大桥墩台身施工方案文件编号: SHJDQJS-2006-04版本:第一版修改码:【0】编制:审核:批准:执行日期:二OO六年三月一、工程简况主桥桥墩分为主墩和过渡墩,主墩采用整体式基础,墩为上下行分离式钢筋混凝土实心桥墩,共8个,单幅桥墩平面形状为矩形,墩身截面尺寸横桥向为6.6m,顺桥向为4.58~5m。
外设三角形破冰体;过渡墩的结构形式与主墩相同,上设盖梁,采用分离式墩身,分离式承台。
墩身宽度为6.6m,厚度为3.5m。
每个承台下为4根2.0m钻孔桩基础。
引桥两侧桥台为钢筋混凝土肋板式桥台;引桥在墩高小于11m时采用φ1.6m双柱式钢筋混凝土墩身,在墩高大于11m时采用φ1.8m双柱式钢筋混凝土墩身。
二、墩身、台身施工要点⑴墩台施工前应在基础顶面放出墩台内外轮廓线的准确位置。
⑵现浇混凝土墩台钢筋的绑扎和混凝土的灌注配合进行。
⑶浇筑混凝土的质量应从准备工作、拌和材料、操作技术和灌后养生这四方面加以控制。
⑷混凝土浇筑前应注意塔吊附着预埋件、混凝土输送管连墙预埋件、墩身箱内模支撑点预埋件的安设。
⑸注意掌握混凝土的浇筑速度。
混凝土的配制、输送及灌注速度应符合:υ≥Ah/t式中:υ——混凝土配制、输送及浇筑的容许最小速度,m3/h;A——浇筑的面积,m2;h——浇筑层的厚度,m;t——所用水泥的初凝时间,h;混凝土浇筑层厚度h,应根据使用的振捣方法按下表规定的数值采用。
表5-5-1 混凝土分层浇筑厚度表三、引桥墩台施工工艺和设备的选择1、施工工艺选择根据设计图纸,引桥墩柱施工采用整体式钢模板进行施工,桥台模板采用大块组合钢模法施工。
施工工艺流程图:图1 墩台、盖梁施工工艺框图2、施工设备选择根据施工工艺要求及施工现场的实际需要,选择的主要施工机具设备如下表:3、施工进度计划安排根据生产要素的配置情况,各项主要工程施工进度安排如下:引桥0#~11#墩身、盖梁 2006-5-10~2006-8-10引桥12#~23#墩身、盖梁 2006-5-25~2006-9-10引桥24#~33#墩身、盖梁 2006-6-10~2006-9-10引桥35#~48#墩身、盖梁 2006-5-15~2006-8-204、钢模板加工a、引桥墩柱模板为整体模板,桥台模板采用大块组合钢模,在加工厂内加工。
墩台身工程施工工艺1.墩台身施工工艺1.1.承台顶面处理施工前将承台顶面清洗干净,并凿除承台顶面混凝土浮浆,修整连接钢筋。
1.2.测量放样在承台顶面测定墩台身底平面中心线与标高,并在混凝土顶面上划出底平面轮廓线,墨线标记以便立模。
1.3.墩、台身和墩帽模板安装及加固墩、台身和墩帽模板均委托专业模板公司以“组合合理,互换性好,刚度良好,安拆方便”为原则进行加工制造。
墩身和墩帽采用定型钢模板,模板厚≥5mm,其每块面积应大于2m2,圆端型墩由两块半圆型钢模加四块矩型钢模组合而成,模板采用就地分段拼装,段节长度一般1.0~2.5m为一段;拼结时模板缝与段节法兰处均粘贴双面胶条处理,以保证节缝密贴,墩帽模板为整体结构,经监理检查合格签证后用吊车吊装就位。
桥台也采用定型模板拼组而成,模板接缝采用橡胶带止浆,模板缝应符合设计线型、有规则,水平和竖直线条一直连贯整个结构物。
墩、台身和墩帽模板加固采用模型自身刚度结合“外部桁架加固法”施工,模板加固后有足够的稳定性。
外部桁架加固法即采用角钢焊接成截面为方型结构桁架片,宽、高为30cm为宜,长度视墩台身截面尺寸而定。
以模板上设置的牛腿为依托,用螺栓将桁架片拼连,作为墩身模板横向加劲带。
沿模板纵向每1~1.5m设置一道。
特别在管节法兰接头处上、下30~50cm处作为加劲带。
墩身模板就位后,用全站仪和垂球吊线检查模板垂直度,利用缆风绳调整并固定。
模板加固完毕,整体一次浇筑混凝土。
对墩台支承垫石和墩顶预埋件位置控制采用模架法固定成型。
即用角钢在墩帽、台模板上焊接支承垫石和墩顶预埋件的纵横控制位置,用角钢将支承垫石和预埋件模板焊成井字形模架,当浇筑完墩台帽,吊装模架并与墩台顶部控制角钢螺栓连接,精确测量支承垫石顶标高后,一起浇筑混凝土。
1.4.脚手架施工用碗扣式支架搭设脚手架,并用缆风绳和斜撑支撑牢固,基底夯实并做好排水。
立于地面上的立杆底部加设宽度≥200mm,厚度≥50mm 的垫木、垫板或其它刚性垫块,每根立杆的支垫面积不小于0.15m2。
一、工程概况本桥分为左右幅共设16个墩柱,4个桥台其中,PO1~P04\P06~P08桥墩采用单排桩基基础,每座墩设2根Φ1.5m钻孔桩,每座墩均设置承台,承台长6.3m,宽2.5m,厚2m,制动墩P05设置承台,采用双排桩基础,设4根Φ1.2m 钻孔桩,承台长5.3m,宽5.3m,厚2m。
墩身采用花瓶式墩柱,桥墩板厚除P05制动墩为1.8m外其余桥墩均为1.85m。
桥台为钢筋混凝土U型桥台,桥台基础均采用双排桩基础,每座桥台设6根Φ1.2m钻孔桩,承台长10.99m,宽5.3m,厚2.0m。
厦门杏林大桥位于厦门岛北部,是厦门市“一主四射三联”公路主骨架的组成部分,也是厦门岛连接大陆的第四条跨海公路通道。
本项目起自杏林,北起杏前路(国道319线)K676+000附近,在现有高集海堤西侧跨越海域进入厦门岛,止于高崎,南端分别与规划的高殿二号路(环岛路)、机场路、嘉禾路及厦门北站通站路等道路相连。
杏林互通主线桥下部采用花瓶式圆端型矩形桥墩及钢筋混凝土挡土式桥台,全桥共有2座桥台,123座墩身。
杏林北环高架桥下部采用花瓶式圆端型矩形桥墩及钢筋混凝土挡土式桥台,全桥共有2座桥台,58座墩身。
杏林互通A匝道桥下部采用花瓶式圆端型矩形桥墩,全桥共有30座墩身。
杏林互通B匝道桥下部采用花瓶式圆端型矩形桥墩,全桥共有21座墩身。
杏林互通C匝道桥下部采用花瓶式圆端型矩形桥墩,全桥共有12座墩身。
杏林互通D匝道桥下部采用花瓶式圆端型矩形桥墩,全桥共有33座墩身。
本标段各桥墩身形式多样,厚度不一,弧线段长度不一,因此模板形式多样,施工时应注意熟悉和了解图纸,避免出现差错。
二、施工工艺流程:墩身范围内承台表面进行凿毛处理→支架拼装→绑扎第一节墩身钢筋→安装墩身第一节模板(设臵缆风)→检查签证→浇注墩身第一次混凝土→养护→绑扎第二节墩身钢筋→安装墩身第二节模板(设臵缆风)→检查签证→浇注墩身第二次混凝土→养护。
三、施工方法及施工要点1、墩台身施工放样测量组根据墩台身结构尺寸,测设出墩台身纵、横向中线、墩台身内外轮廓线的准确位臵及承台顶标高,并测设出墩台身预埋钢筋顶的标高。
墩、台身施工方案一、墩、台身工程概况本标段墩柱分1.8米、1.5米、1.3米三种形式,共计126个;本标段台身分柱式台、肋板台、U台、重力式桥台4种形式。
二、施工方案(1)根据墩柱柱身的截面形式、类型及数量,从确保墩柱的外观质量与施工工期考虑,墩柱模板均采取定型设计、工厂加工。
且每套模板按从底至顶定型配套加工,进行流水作业。
(2)模板均采用板厚6mm 的优质钢板,在工厂精确加工,并经严格检验合格后才运抵现场使用。
(3)采用钢管碗扣式脚手架,集中拌和混凝土。
用吊车浇注对墩身高度小于IOm 者一次连续浇注成型对墩身高度大于IOm者采取分次浇注。
三、施工工艺流程图四、场地清理(1)、清基:墩柱施工前,凿除系梁顶面浮浆、泥土并冲洗干净,不留积水,整修连接钢筋。
(2)、测量放线:①、先根据主线各墩的设计位置,对原设计网点进行加密,补充施工需要的控制桩、水准点。
②、用全站仪精确测定出其墩柱中心,然后在基础顶面放出墩(台)柱纵横中心线(十字线)和模板外轮廓线的准确位置,并同时定出墩柱模板位置的控制点。
③、横向中心线在墩台每侧至少埋设两个定位桩,间距不少于30m;纵向中心线视地形也埋设不少于两个定位桩,间距30~100m o施工时各桩都应清楚编号,涂上各色油漆,醒目、牢固。
④、水准点联测按四等进行控制。
施测时,控制水平测量视线长度,前视、后视的距离应大致相等,提高观测精度。
⑤、确保支承垫石的高程误差≤2mm°施测时,还应注意校核,确保墩柱及跨距准确无误后,才能绑扎钢筋、立模。
⑥、在施工过程中应测定并经常检查浇注和安装部分的位置和标高,并严格按要求作出测量记录和结论,如超过允许偏差时,分析原因,并予以补救和改正。
五、钢筋工程(1)钢筋在进场前按规范要求进行抽检,杜绝不合格品进场。
进场的钢筋全部堆放在钢筋棚内,在钢筋加工厂内加工。
(2)钢筋在加工前先进行调直和清除污锈,然后按设计要求下料加工。
(3)钢筋的接头采用对焊,直径超过25mm的钢筋采用机械联接。
目录一、工程简介................................... 错误!未定义书签。
( 一) 、工程概况............................ 错误!未定义书签。
( 二) 、设计参数............................ 错误!未定义书签。
( 三) 、施工总体安排........................ 错误!未定义书签。
二、施工准备................................... 错误!未定义书签。
( 一) 、施工放样............................ 错误!未定义书签。
( 二) 、原材料试验.......................... 错误!未定义书签。
( 三) 、配合比试验.......................... 错误!未定义书签。
三、肋板台施工技术方案......................... 错误!未定义书签。
四、墩柱施工方案............................... 错误!未定义书签。
五、墩台身质量检验标准......................... 错误!未定义书签。
六、墩、台身实测项目.......................... 错误!未定义书签。
七、质量、安全保证体系........................ 错误!未定义书签。
( 一) 、质量保证体系........................ 错误!未定义书签。
(二)、安全保证体系......................... 错误!未定义书签。
( 三) 、安全注意事项........................ 错误!未定义书签。
( 四) 、安全应急预案........................ 错误!未定义书签。
五、环境保护措施、文明施工措施及廉政措施...... 错误!未定义书签。
(一)、环境保护措施.......................... 错误!未定义书签。
(二)、文明施工措施.......................... 错误!未定义书签。
(三)、廉政措施.............................. 错误!未定义书签。
K112+347.8分离立交墩、台身施工方案一、工程简介( 一) 、工程概况聊城南互通立交位于聊城市西南的侯营镇, 临近济聊高速侯营收费站和任庄加油站, 互通区北侧为省道316, 东侧为聊城南环, 该互通立交主要服务于聊城市区西南侧及周边村镇的车辆出入本项目。
K112+347.8分离立交位于聊城市东昌府区侯营镇西500米处。
全桥共设一联: 左幅为25.4+42+35, 交角90度, 全长108.4m。
上部结构采用预应力混凝土连续梁, 下部结构桥台采用肋板台, 桥墩采用柱式墩, 墩台采用桩基础。
( 二) 、设计参数桥台: 断面梯形布置; 下底宽3.5米,上底宽1.6米, 厚度1.2米; 肋板间距5.7米; 台身底面标高:0左#--34.000m、 3左#--33.900m, 根据肋板高度不同由肋板顶面形成盖梁横坡。
墩柱: 直径1.5m, 共6棵, 其中1#墩柱长为7.822m、 7.672m、 7.522,m; 2#墩柱长为8.09m、 794m、 779m。
( 三) 、施工总体安排1、施工总体布置墩、台身的施工采用大片组合钢模板, 模板使用前进行试拼, 混凝土拌和采用拌和站集中拌和, 混凝土搅拌运输车运输并将混凝土放入储料斗中, 吊车吊装经过串筒将混凝土放入模板中, 混凝土振捣采用插入式振动器振捣, 混凝土浇筑完成收浆后, 采用洒水覆盖养生。
2、施工用电本桥位距离生活场地较近, 施工用电主要经过外接线路动力电进行电力供应, 为保证电力供应满足现场混凝土作业, 另配备一台发电机作为施工备用。
3、施工用水本桥位施工用水方便, 桥位附近加设水井, 水井水质良好且水量充分, 满足桥位施工混凝土养生使用。
4、施工便道沿线依靠路基施工便道连通桥涵构造物, 路基便道地势较为平坦, 由碎石土填筑碾压而成, 便道宽度大于5.4米, 机械设备进驻现场方便。
5、施工总体计划根据计划要求, 本桥墩、台身计划施工时间为: 05月01日至 06月24日。
详见附表施工进度计划横道图。
二、施工准备( 一) 、施工放样当前我部已完成了承台检测和墩、台身施工放样, 完成自检, 并经过测量监理工程师复核抽检, 精度满足规范和设计要求。
( 二) 、原材料试验根据要求, 我项目部已认真考察各种原材料, 并与监理工程师共同取样完成了各种原材料的试验工作:钢筋: 用于肋板和墩柱的钢筋使用为山东莱钢永锋钢材公司生产, 经过自检和监理工程师平行试验, 钢筋的屈服点、抗拉强度、伸长率及弯曲试验各项技术指标符合桥梁施工技术规范要求, 现已经组织进场。
砂子、碎石、水泥试验: 砂子采用东平县老湖镇恒泰东砂场的砂; 碎石采用东平银山镇孙皋村联合建材厂的生产的碎石, 然后按照规范及设计文件要求掺配成的连续级配; 水泥采用聊城山水水泥的P.O42.5水泥。
上述原材料经过中心试验室试验和监理工程师平行试验, 各项指标都符合要求, 并已经组织进场。
( 三) 、配合比试验我中心试验室已完成各种原材料的常规试验, 监理工程师已进行了随机抽样并平行试验, 结果满足规范要求; 由中心试验室完成了各种强度的混凝土的试配工作, 监理工程师进行了平行试验, 试验结果数据准确可靠已经上报并批复, 当前我合同段已经将合格的各种材料组织进场, 配合比试验已经完成, 能够满足墩台身混凝土施工的要求。
三、肋板台施工技术方案1、测量放样承台施工完成模板拆除后, 在基础表面利用全站仪准确放出台身轴线和边线, 并做好标记, 同时将基础表面肋板钢筋骨架连接处进行凿毛处理, 以保证混凝土接触良好。
2、支架支架采用碗扣式钢脚手架支立, 钢脚手架设置距离适中, 高度比台身高0.5-1.0m, 并加设防坠网, 保证施工人员安全。
3、钢筋骨架钢筋加工为预制场集中加工。
钢筋加工前对于局部弯曲钢筋进行调直处理, 钢筋下料严格按照设计要求和规范规定, 经检验合格后使用。
钢筋加工时, 根据图纸中的钢筋号、直径、级别、长度和数量加工, 长短搭配, 尽量减少接头, 节约钢材。
钢筋表面洁净, 使用前将表面油渍、漆皮、鳞锈等清除干净; 钢筋平直, 无局部弯折, 成盘的钢筋和弯曲的钢筋均调直使用, 采用冷拉方法调直钢筋时, 钢筋的冷拉率不超过2%。
绑扎时将预埋钢筋骨架按设计位置调整好, 然后绑扎垫块, 固定钢筋的垫块混凝土采用集料粒径不大于10mm, 强度与混凝土相同的混凝土预制块, 用退火软铁丝预埋于垫块内与钢筋绑扎, 并将承台施工粘结在骨架钢筋上的混凝土浆清理干净, 并检查骨架绑扎箍筋是否有脱落重新进行绑扎, 然后人工用水将骨架内的杂物和混凝土碎块冲洗干净。
4、支立模板肋板采用大片钢模板, 模板由人工配合吊车安装。
模板使用前进行试拼, 支模板前首先在模板与承台接触面用水泥砂浆抹平, 然后进行模板支立。
模板支立完毕后, 并保证接缝严密, 表面平整, 整体稳定。
横向用钢管作横肋, 经过销钉将整个模板连成整体, 安装就位, 用临时支撑支牢, 待另一面模板吊装就位后, 用对拉杆件外套塑料管并加设锥形垫, 外加垫块螺帽, 内加横内撑, 将两面模板横向连成整体, 校正定位。
端头模板和墙面模板牢固连接, 采取严格的支撑、加固措施, 防止跑模、漏浆。
5、混凝土施工混凝土浇筑前, 检查支架、模板、钢筋, 并做好记录; 清理干净模板内杂物, 使之不得有滞水、碎屑和其它附着物质, 符合设计要求后, 开始混凝土施工。
吊车配合人工进行混凝土的吊装, 然后经过串筒将混凝土送入模板内, 混凝土采用水平分层浇筑, 每层厚度不超过30cm, 用插入式振捣棒振捣, 插入点距离不得大于振捣棒的作用半径的 1.5倍, 采用快插慢拔的方法进行振捣密实, 以混凝土不再下沉, 表面泛浆为度, 严防漏振、超振并在振捣过程中避免触碰模板。
浇注到顶面标高时, 为防止顶面出现裂缝, 应将多余的水泥浆除去。
6、混凝土养生为保证混凝土的内在质量、外观质量和耐久性, 混凝土浇筑完成后, 设专人对混凝土及时采用覆盖养生, 养生选用不褪色的白色土工布等保水性材料围裹养生, 搭接不少于20cm, 使土工布紧贴混凝土表面。
肋台顶放置水桶, 水桶底部钻眼, 水桶下部铺设一层干净中砂, 水桶中的水经过中砂慢慢流至墙体周围, 保证墙体的湿度。
养护时间不少于7天。
7、模板拆卸当混凝土抗压强度达到0.5MPa时方可拆除模板, 拆模时要小心, 保证混凝土表面和棱角不损坏。
8、台身施工流程框图见下图。
四、墩柱施工方案1、支架的制作与安装墩柱施工支架必须安装在有足够承载力的地基或基础上。
搭设施工平台以保证人料机不直接作用于模板上, 并保证所搭设支架与墩柱模板不发生接触。
2、钢筋的加工与安装( 1) 、钢筋的加工钢筋加工为预制场集中加工。
钢筋加工前对于局部弯曲钢筋进行调直处理,钢筋下料严格按照设计要求和规范规定, 经检验合格后使用。
钢筋加工时, 根据图纸中的钢筋号、直径、级别、长度和数量加工, 长短搭配, 尽量减少接头, 节约钢材。
钢筋表面洁净, 使用前将表面油渍、漆皮、鳞锈等清除干净; 钢筋平直, 无局部弯折, 成盘的钢筋和弯曲的钢筋均调直使用, 采用冷拉方法调直钢筋时, 钢筋的冷拉率不超过2%。
( 2) 、钢筋骨架的成型与安装钢筋在预制场加工完成后运至现场焊接成型, 以防止成品笼在运输过程中发生变形。
直径大于22mm的HRB335钢筋的搭接采用机械连接。
墩柱钢筋笼加工必须满足规范和设计要求, 钢筋骨架制作好后, 为保证保护层厚度, 绑扎垫块, 固定钢筋的垫块混凝土采用集料粒径不大于10mm, 强度与混凝土相同的混凝土预制块, 用退火软铁丝预埋于垫块内与钢筋绑扎, 相互错开。
经检验合格后方可安装用全站仪放出墩柱中心, 做好十字线。
根据墩柱中心点划好接柱主筋位置控制钢筋笼轴线。
钢筋笼采用吊车安装, 为防止扭转变形, 钢筋笼加焊内固定筋。
安装时注意骨架铅直、中心对中, 顶部四角用揽索拉紧。
使用靠尺检查保证墩柱钢筋笼的垂直度。
吊放钢筋笼时, 要对准孔位, 直吊扶稳, 钢筋笼放到设计位置时, 立即固定。
3、立模固定模板使用前进行打磨光滑、清洗干净, 均匀涂抹脱模剂。
模板使用前已进行试拼, 试拼效果良好, 符合要求能够使用。
模板施工前, 利用测量放样的纵横轴线定出其中心点, 而且以中心点划出墩柱外轮廓线。
首先, 基础顶面墩柱范围内凿毛清洗, 凿毛深度不小于6mm, 拼接固定接柱模板, 模板对接处和模板与基础接触点贴胶带以防止混凝土漏浆。