预应力锚索施工方案 (2)
- 格式:docx
- 大小:43.10 KB
- 文档页数:12
预应力锚索施工方案施工工艺(1)挖土与平整场挖土由现场工程部协调,锚杆施工前,要求挖土至锚杆位置以下0.5m,并保证离护坡桩大于10.0m范围内平坦。
(2)设备选择根据该地地层条件,本次锚杆施工选用螺旋锚杆钻机及跟管锚杆钻机进行成孔。
(3)成孔施工①采用普通螺旋锚杆机进行钻进成孔。
②锚杆钻孔水平方向孔距在垂直方向误差不大于100mm,偏斜度不大于5%。
③锚杆施工根据设计倾角进行调整定准孔位后方可成孔,锚杆水平方向孔距误差不大于5Omm,垂直方向孔距误差不大于100mm。
④锚杆孔深不小于设计长度,不宜大于设计长度的1%。
⑤如果锚杆施工遇到地下障碍时,不能强行钻进,当探明障碍物后,可调整锚杆孔位及角度避开管线等障碍。
⑥锚杆施工必须避开降水井管及其滤料层,以防锚杆注浆时将井淤死。
(4)锚杆杆体加工与安装①本次锚杆杆件用抗拉强度为1860N/mm2的7A5预应力钢绞线加工而成,制作前查验进场材料合格证、质量证明书齐全,同时进行复检,合格后方可使用。
②杆体制作应在现场平坦开阔、坚实地面进行,必要时地下铺塑料布,根据锚杆设计杆体长度用砂轮锯切断(设计杆体长度为锚杆长度+1.00m),根据锚杆所用根数每隔2.0m用火烧丝跟隔离架绑扎在一起,隔离架用1寸半的硬塑料管加工而成,钢铰线夹在缝隙里,非锚固段涂上黄油,套上Φ20软塑料管,两端用胶带密封,杆体下端用胶带缠紧,以便入孔底。
③安放锚杆前,跟管钻机所成孔用水冲洗,直至孔口流出清水为止。
④杆体下放时,把二次劈裂注浆管(6″塑料管)插入隔离架中心孔,距孔底100-200mm,跟钢绞线一同沿钻孔中心线徐徐送入孔内,中途遇阻时,可适当提动杆体,调整方向再下,如处理无效时,应将杆体提出孔外,重新清孔。
(5)注浆①注浆是锚杆施工的一道重要工序,直接决定锚杆的质量,本次锚杆注浆分两次进行,第一次以不小于1Mpa的压力注浆,水灰比0.45-0.50,直至孔口处溢出纯水泥浆为止。
预应力锚索施工方案预应力锚索是指锚固在锚块或锚杆末端的预应力构件。
预应力锚索施工方案是指在工程施工过程中对预应力锚索进行安装、张拉及锚固的具体操作规程。
一、施工前准备1. 安全措施:明确作业区域,设置安全警示标志并配备专职安全员。
2. 材料准备:准备好预应力锚索、锚固管、锚固胀套、注浆材料等。
3. 工具准备:检查并清理预应力设备、工具箱,确保设备正常运转。
二、锚索安装1. 打孔定位:根据设计要求,对锚固部位进行准确定位并进行打孔。
2. 清理孔底:使用空气压缩机或抽风机清理孔底的碎石、灰尘等杂物。
3. 注浆:在孔底注入预先测定的注浆量。
4. 安装锚索:将锚索通过锚固管的孔口插入孔内,保证锚索的锚固长度符合要求。
5. 固定锚端:在锚索的锚端处使用螺栓或其它固定装置将锚索固定住。
三、锚索张拉1. 引张设备搭设:搭设引张设备,保证设备的稳定和牢固。
2. 引张锚固:根据设计要求,选择适当的引张力,将锚索逐渐张拉到位。
3. 引张检验:使用引张力检测仪器对锚索的张拉力进行检测,确保引张力符合设计要求。
4. 固定锚索:在锚索达到设计引张力后,及时固定锚索,并进行验收。
四、注浆1. 清洗孔口:使用空气压缩机或抽风机对孔口进行清洗,确保孔口干净。
2. 注浆准备:根据注浆方案进行注浆材料的调配和搅拌,确保注浆材料质量。
3. 注浆施工:将注浆材料灌入清洗后的孔口,注浆压力要符合设计要求。
4. 注浆固化:根据注浆材料的固化时间,等待一定时间使注浆材料固化。
5. 清理孔口:在注浆固化后,对孔口进行清洗,在固化混凝土表面上涂刷防腐剂。
五、施工验收1. 引张力测试:对已经固定的锚索进行引张力测试,测试结果符合设计要求。
2. 注浆质量验收:对注浆孔口进行质量验收,注浆灌入量符合设计要求。
以上为预应力锚索施工方案的基本步骤,具体操作时需要根据工程的实际情况进行微调和细化。
在施工过程中,必须严格按照设计要求和施工规范进行操作,确保预应力锚索的施工质量和安全。
预应力锚索施工方案粤电信息交流管理中心工程预应力锚索施工方案目录第一章第二章第三章第四章第五章第六章第七章第八章第九章编制依据 0工程概况 0施工准备 (3)施工进度计划 (5)施工准备与资源配置计划 (5)施工方法及工艺要求 (7)质量控制措施 (11)安全保证措施 (12)文明施工及环保措施 (13)预应力锚索施工方案粤电信息交流管理中心工程预应力锚索施工方案第一章编制依据1、《岩土锚杆(索)技术规程》(CECS 22:2005);2、GB5224-85《预应力混凝土用钢绞线》;3、GB/T14370-2000《预应力筋锚具、夹具和连接器》;4、《建筑机械使用安全技术规程》JGJ33-2001。
5、《建筑施工安全检查标准》(JGJ59-99)。
6、《施工现场临时用电安全技术规范》(JGJ46-2005)7、《建筑施工扣件式钢管脚手架安全技术规范》(JGJ130-2001)8、《工程建设标准强制性条文(房屋建筑部分)。
》9、国家、省、市及各部委颁发的其他施工规范和标准。
10、本工程施工图纸。
工程概况第二章2.1、工程主要情况粤电信息交流管理中心位于广州天河东2 号粤电广场北侧,东面为民居住宅楼,北面为写字楼,西面为市政路;本工程为地下5 层,地上32 层框架-核心筒结构,总建筑面积54945m2,建筑高度为160m。
地下室基坑大致呈方形,南北向最大长度约70m,东西向最大宽度约61m,开挖深度约21m,最深位置为核心筒深度约23.3m。
基坑围护采用地下连续墙,地下连续墙兼作地下室外墙的一部分。
目前基坑负一层地下室土方开挖到-6.5m,已基本完成开挖,据第三方基坑监测结果,基坑东侧及北侧出现较大累计位移,为此在地下连续墙东侧及北侧采用锚索加固。
预应力锚索工程的建设单位是广东省粤电集团有限公司,由广州市天启正业建筑设计事务所、广东省建筑设计研究院设计,监理单位是广东创成监理有限公司,由广东省建筑工程集团有限公司施工。
一、工程概况本项目位于XX地区,主要工程内容包括土方开挖、基础施工、主体结构施工等。
由于地质条件复杂,地下水位较高,为确保施工安全和工程质量,决定采用预应力锚索支护施工方案。
二、编制依据1. 《建筑基坑支护技术规范》(JGJ120-2012)2. 《建筑地基基础设计规范》(GB50007-2011)3. 《岩土工程勘察规范》(GB50021-2001)4. 《预应力锚杆(索)施工及验收规范》(GB50205-2002)三、施工准备1. 施工组织机构:成立专门的项目部,负责施工过程中的组织、协调、管理和监督。
2. 施工人员:配备具有丰富施工经验的技术人员、施工人员及安全员。
3. 机械设备:配置钻机、注浆泵、张拉设备、吊车等机械设备。
4. 材料准备:备足锚杆、锚索、钢筋、水泥、砂石等原材料。
5. 施工现场:做好排水、围护、监测等准备工作。
四、施工方案1. 施工工艺流程(1)测量放样:根据设计图纸,进行测量放样,确定锚杆、锚索位置。
(2)钻孔:采用钻机进行钻孔,确保孔位准确、孔径符合设计要求。
(3)锚杆、锚索制作:根据设计要求,制作锚杆、锚索,并进行质量检验。
(4)锚杆、锚索安装:将锚杆、锚索插入孔内,进行锚固。
(5)注浆:对锚杆、锚索进行注浆,确保浆液饱满、密实。
(6)张拉锁定:对锚杆、锚索进行张拉,达到设计要求的预应力值,并进行锁定。
2. 施工方法及主要技术措施(1)钻孔:采用旋挖钻机进行钻孔,孔径、孔深、孔位符合设计要求。
(2)锚杆、锚索制作:采用钢筋加工设备制作锚杆、锚索,确保其质量。
(3)锚杆、锚索安装:采用人工或机械方式将锚杆、锚索插入孔内,进行锚固。
(4)注浆:采用注浆泵进行注浆,确保浆液饱满、密实。
(5)张拉锁定:采用张拉设备对锚杆、锚索进行张拉,达到设计要求的预应力值,并进行锁定。
五、质量保证措施1. 严格遵循施工规范和设计要求,确保施工质量。
2. 对原材料、施工设备进行检查,确保其符合要求。
预应力锚索专项施工方案预应力锚索专项施工方案1. 引言1.1 目的本旨在提供预应力锚索专项施工方案的详细说明,以确保施工过程的安全性、合规性和质量。
1.2 范围本方案合用于预应力锚索的施工过程,包括但不限于锚杆制作、预应力锚固、张拉过程和锚固系统的后续处理等。
1.3 定义- 预应力锚索:通过利用预应力技术将混凝土构件与锚固系统连接起来的钢绞线或者钢筋组合。
- 锚杆:在锚固系统中被用于向混凝土体传递预应力的钢杆。
- 锚固系统:由锚杆、锚固器和锚固设备等组成的预应力锚固装置。
2. 施工准备2.1 前期准备2.1.1 根据设计要求制定施工计划,并明确施工和工期。
2.1.2 检查相关施工设备和工具的完好性和合用性。
2.1.3 制定相应的危(wei)险预防措施和安全计划,确保施工过程的安全性。
2.2 施工材料2.2.1 钢绞线或者钢筋:按照设计要求选择符合标准的预应力钢绞线或者钢筋。
2.2.2 锚杆:选择合适的强度和直径的钢杆作为锚杆材料。
2.2.3 锚固器和锚固设备:根据设计要求选择适当的锚固器和锚固设备。
3. 施工流程3.1 锚杆制作3.1.1 制定锚杆制作方案,包括选择锚杆长度、直径和强度等参数。
3.1.2 按照方案要求,进行锚杆的切割、清理、防腐和加固等工序。
3.1.3 对锚杆进行质量检验,确保其满足设计要求。
3.2 预应力锚固3.2.1 进行锚固系统的安装,包括锚固器的固定和调整等。
3.2.2 对已安装的锚固系统进行质量检验,确保其满足设计要求。
3.3 张拉过程3.3.1 制定张拉方案,包括预应力锚索的张拉力、次数和顺序等参数。
3.3.2 进行预应力锚索的张拉,包括控制张拉速度和张拉应力等。
3.3.3 监测和记录张拉的过程参数,确保预应力锚索的质量。
3.4 锚固系统处理3.4.1 完成预应力锚索的张拉后,进行锚固系统的固定和封闭等工序。
3.4.2 对锚固系统进行质量检验,确保其满足设计要求。
4. 安全措施4.1 人员安全4.1.1 提供必要的安全培训,并确保施工人员具备相关技能和证书。
预应力锚索施工技术与安全交底(1)施工准备将预应力的开槽、钻孔、注浆、张拉等设备调至工作面附近,待工作面完成后,马上吊运至工作面。
所有施工材料均应由出厂证明、合格证;陪同站监理进行钢绞线的取样,并送验检室检测.开工前,做好施工场地的排水工作,搭设雨棚,保证材料、机械的防雨、防水工作;水、电等要接到位。
(2)人工修坡在放样之前,先对原边坡进行人工整修,清除表层浮土才松散土石,保证坡面的平整度和放坡的要求。
弃土要集中堆放,并及时运往指定地点。
(3)测放控制桩根据设计图纸所对应的预应力锚索防护对应的里程,进行桩点测放,在坡顶和坡脚放出三个主要控制点。
(4)开挖沟槽挂线预应力槽钢锚索,由锚索部位和槽钢梁部位组成,在钻孔之前,要控制好钻孔点的标高,使钻孔点标高在纵横方向偏差不大于100mm。
(5)锚索孔施工锚孔位置按设计要求准确地测放每根桩位上,锚索孔倾角采用测角仪进行检查,方位角彩用经纬仪进行检查.其允许偏差满足下表要求:钻孔是预应力锚索施工中控制工期的关键工序,为提高钻孔效率和保证钻孔质量,禁止采用水钻,按锚索设计长度将钻机所需钻杆摆放整齐,锚索钻进达到设计深度后,不能立即停钻,要求稳钻3—5分钟。
钻进过程中应对每个孔的地层变化,钻进状(钻进、钻压)地下水及一些特殊情况做好现场记录,如遇地层松散、破碎时应用跟套管钻进技术,以使钻孔完整不坍.如遇坍孔或地下水丰富时,应立即停钻,进行固壁浆处理,待水泥浆凝固后,再重新扫孔钻进。
(6)清孔钻孔进行过程中,应该及时清理锚索孔,钻孔到位后将孔清理干净,然后,用预先做好的探孔装置进行探孔,若探孔时轻松将探孔器入孔底,钻孔深度符合设计要求,经验收同意后即可转入下道工序:锚索安装.锚孔钻成后24小时内进行锚筋体安装和锚孔注浆.(7)锚索制作锚索制作工艺流程:编束通知单→下料、清洗→安装承载体→编束→安装→装支架→安装注浆管→验收→库存→穿束。
在预先平整好的下料场地上(场地要求宽4m、长30m左右)按下料长度进行下料,每根绞线长度误差控制在10cm左右.下斜长度计算L下=ΣL1+L F+L W式中L下—下料长度L I—各分段锚固长度L F-锚索自由段长度L W—锚索工作段长度(可取1.5m)下料要求用砂轮切割机切割。
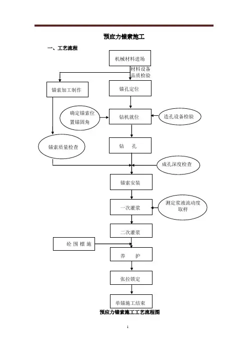
预应力锚索施工方案一.工艺流程挖土至锚索标高-50OmmT放线一成孔-安放锚索杆体一一次注浆一二次注浆一锚索张拉锁定。
二.质量标准锚索孔径允许偏差:±5mm;锚索孔距允许偏差:±10Omm;锚索成孔倾角允许偏差:±3%;三、质量控制1放线:由现场测量放线人员按设计要求放线,并经专人检查后做好施工记录。
2、锚索成孔:成孔过程中注意控制水平方向竖直方向垂直度、锚索倾角,成孔后对孔深、孔径、倾角进行检查验收,做好施工记录及隐蔽工程检查记录。
3、锚索孔口堵水:在锚索孔出水量较大的位置,锚索孔成孔后,为防止地下水经孔口外溢影响施工,待套管取出后,在孔中插入一根2米长导流管,孔外预留550~60Cm进行导流,同时采用速凝水泥对管四周进行封闭,等到4小时二次注浆完成后将导流管端部弯折并将孔口封闭。
4、杆体制作(1)杆体必须在平坦无泥的地面加工,每根绞线误差小于50mm;(2)锚固段每隔2.0米设隔离架一个,用火烧丝绑扎牢固;(3)自由段套入塑料管保护,两端应包裹严密,不得漏入水泥浆;(4)杆体加工检查合格完后,方可下放。
并码放整齐,标识清楚;(5)杆体搬运途中,需配置适当人力,防止沾污泥水;(6)杆体放入孔内后,外露张拉长度2.0m(以桩外皮为准);5、锚索安置:钢绞线用铁丝均匀捆于骨架周围,二次注浆管固定于定位骨架中心。
将制作好的杆体及二次注浆管缓慢放入锚索孔内。
6、锚索一次注浆:水泥采用P.042.5普通硅酸盐水泥,水灰比0.50,清孔完后用BW-150高压泵进行一次注浆,将一次注浆管插至孔底,以慢速连续速度注浆,直至钻孔内的水及杂质被置换出孔口,孔口流出水泥浓浆为止。
待杆体置放后,随即将一次注浆管拔出。
7、二次高压注浆:一次注浆完成4.0~6.0h后,用速凝水泥将孔口封堵密实,进行二次高压注浆,注浆压力保持1.0~2.0MPa,一次和二次注浆水泥用量总和不得低于95kg∕m o8、锚索验收及张拉锁定本工程锚索验收根据规范规定验收数量不小于锚索总数的5%β预埋件、腰梁安装完毕和锚固体强度达14MPa时对锚索进行张拉、锁定。
预应力锚索施工预应力锚索施工工艺流程图二、施工方法及主要工艺措施2.1钻孔钻工施工前,探明施工范围内地下管线情况与具体位置,避免破坏地下管线;根据控制点和施工图精确测放锚索孔位及框架横竖梁位置、刷坡线,并对孔位进行编号,做醒目标志;钻孔时应进行试钻,随时调整钻机,保证孔位倾角准确;安装钻杆时,应从头开始,逐节往下安装;动力头安装前,应先拆下滑轮组,将钢丝绳穿绕好;钢丝绳应按说明书规定的要求配置;安装后,电源的频率与控制箱内频率转换开关上的指针应相同;下锚杆时,锚索将注浆管顶置在锚体中部跟随锚索一起下入孔底;桩间混凝土喷锚完进行验收。
锚索钻孔施工2.2锚索钢绞线安装下锚杆时,锚索将注浆管顶置在锚体中部跟随锚索一起下入孔底;锚索采用的钢绞线必须进行表面除污、除锈。
自由段受力筋应进行表面除污、除锈后包裹塑料布。
钢绞线安装预应力锚索结构图2.3注浆一次注浆管宜与锚索一起放入钻孔,注浆管内端距孔底宜为500~1000mm。
二次高压注浆管的出浆孔和端头应密封,保证一次注浆时浆液不进入二次高压注浆管内。
锚索的锚固段采用二次注浆法。
一次注浆采用水泥砂浆,注浆压力0.4-0.6mpa,水泥砂浆的水灰比为0.45-0.5,灰砂比为1:1-1:1.2,水泥标号为42.5级,注浆体强度不小于25mpa。
待一次注浆初凝后进行二次高压劈裂注浆:二次高压劈裂注浆采用纯水泥浆,注浆压力为2.5-5.0mpa,水灰比为0.45-0.5,要稳压两分钟。
二次注浆时间可根据注浆工艺试验确定或一次注浆锚固体强度达到5mpa后进行。
当锚固体的强度大于20mpa,方可进行锚索张拉锁定作业。
锚索张拉完成后进行自由段的注浆,注浆材料同锚固节段。
进行自由段注浆时,注浆浆液不能进入自由段内的受力筋,以保证自由段受力筋的自由伸缩。
锚索施工时应进行抗拔试验及蠕变试验,并满足设计及相关规范、规程要求。
锚索注浆2.4安装腰梁及锚具腰梁安装前,钢绞线安装应施工完毕,张拉前对坡体进行临时防护。
预应力锚索挡墙施工方案预应力锚索挡墙施工方案一、引言预应力锚索挡墙是一种利用预应力锚索对岩体进行加固和支撑的工程技术,广泛应用于土木工程、采矿、交通等领域。
本文将详细介绍预应力锚索挡墙的施工方案,包括设计、施工流程、质量控制等方面,为相关工程提供参考。
二、预应力锚索挡墙设计预应力锚索挡墙的设计主要包括材料选择、结构设计、尺寸确定等方面。
材料选择应根据工程实际情况和设计要求,综合考虑材料的强度、耐久性、抗腐蚀性等因素。
结构设计应充分考虑岩体的性质、锚索的布置方式、锚固长度等因素,确保挡墙的稳定性和承载能力。
尺寸确定应综合考虑工程需求、施工条件、经济性等因素,确定合适的尺寸规格。
三、预应力锚索挡墙施工流程预应力锚索挡墙的施工流程包括以下几个步骤:1、钻孔:根据设计要求,使用钻机进行钻孔,钻孔深度应达到设计要求。
2、锚索安装:将锚索按照设计要求的长度切割,然后将其插入钻孔中,确保锚固长度满足要求。
3、锚固灌浆:向钻孔中注入锚固剂或水泥砂浆,确保锚索与岩体紧密结合。
4、挡墙施工:按照设计要求,进行挡墙的施工,包括钢筋笼的制作、混凝土的浇筑等。
5、预应力张拉:在挡墙施工完成后,对锚索进行预应力张拉,确保挡墙的稳定性和承载能力。
四、预应力锚索挡墙质量控制为了确保预应力锚索挡墙的施工质量和稳定性,应进行以下方面的质量控制:1、材料质量:选用质量合格的材料,确保其强度、耐久性等指标符合设计要求。
2、施工过程:严格按照设计要求和施工流程进行施工,确保每个环节的质量。
3、质量检测:在施工过程中和施工完成后,进行质量检测,包括锚索的锚固力、挡墙的承载能力等,确保满足设计要求。
五、总结本文详细介绍了预应力锚索挡墙的施工方案,包括设计、施工流程、质量控制等方面。
预应力锚索挡墙是一种有效的岩体加固和支撑技术,在实际工程中具有广泛的应用前景。
为了保证施工质量和稳定性,应在材料选择、结构设计、施工过程、质量检测等方面进行全面的质量控制。
抗滑桩预应力锚索施工方案一、引言抗滑桩是一种有效的地质灾害防治措施,能够有效地稳定滑坡,防止灾害的发生。
预应力锚索是一种将锚索固定在预定深度,通过施加预应力,实现对滑坡的加固。
将抗滑桩与预应力锚索相结合,可以进一步提高滑坡的稳定性。
本文将介绍一种抗滑桩预应力锚索施工方案。
二、施工前的准备工作1、现场勘查:对施工区域进行详细的现场勘查,了解滑坡的形态、地质构造、水文条件等,为施工方案的设计提供依据。
2、设备准备:准备好钻机、锚索张拉设备、注浆设备等施工所需设备,并对设备进行检查和调试。
3、材料准备:采购抗滑桩和预应力锚索所需的各种材料,如钢筋、水泥、沙子、石子等。
4、安全措施准备:制定安全施工方案,包括施工安全、人员安全、环境保护等方面的措施。
三、抗滑桩施工1、桩孔开挖:根据现场勘查结果,按照设计要求进行桩孔开挖。
在开挖过程中,要保证桩孔的垂直度和深度符合设计要求。
2、钢筋笼制作与安装:按照设计要求制作钢筋笼,将钢筋笼安装到桩孔中,确保钢筋笼的位置和高度符合设计要求。
3、混凝土浇筑:在钢筋笼安装完毕后,进行混凝土浇筑。
浇筑时要保证混凝土的配合比和坍落度符合设计要求,同时要保证浇筑的连续性和均匀性。
4、养护:在混凝土浇筑完毕后,进行养护,保证混凝土的质量和强度。
四、预应力锚索施工1、锚孔钻进:在抗滑桩施工完毕后,使用钻机进行锚孔钻进。
钻进时要控制钻机的速度和钻压,保证锚孔的直径和深度符合设计要求。
2、锚索制作与安装:按照设计要求制作锚索,将锚索安装到锚孔中。
在安装过程中,要保证锚索的位置和高度符合设计要求。
3、锚固注浆:在锚索安装完毕后,进行锚固注浆。
注浆时要控制注浆的压力和流量,保证注浆的均匀性和密实性。
4、张拉锁定:在注浆完成后,进行锚索的张拉和锁定。
张拉时要控制张拉力和锁定力的值,保证锚索的预应力符合设计要求。
五、施工注意事项1、在施工过程中,要保证人员安全和环境卫生。
特别是在进行锚索张拉时,要避免出现人员伤亡和设备损坏的情况。
1. 编制依据2. 工程概况3. 水文、地质资料3.1工程地质 3.2基岩3.3水文4. 施工目的5. 锚索施工6. 机械设备及人员配备7. 环保措施1. 编制依据 5.1.施工工序错误! 未定义书签。
5.2.锚索质量保证措施错误! 未定义书签。
5.3.施工注意事项错误!未定义书签。
5.4 .安全保证措施 错误! 未定义书签。
.2 .8 .8⑴人民会堂站主体围护结构施工图设计。
⑵北京城建设计研究总院有限责任公司《青岛市地铁一期工程(3 号线)地质勘察一标段人民会堂站区间详细勘察阶段岩土工程勘察报告》设计图。
⑶有关地铁、轻轨交通工程设计规范、工程施工质量验收标准及安全技术规程等。
⑷针对人民会堂站及青岛火车站工程进行的施工调查结果。
⑸现有的施工技术水平、施工管理水平和机械设备配备能力。
2.工程概况本站位于大学路与太平路交汇路口北侧,西北侧紧邻人民会堂,南侧和西侧有7棵古银杏树。
车站全长144.4 m,标准段总宽18.9m,设备用房全部外挂于东侧空地。
车站有效站台中心里程K1+538.059, 车站起点里程K1+467.259,车站终点里程K1+611.659。
有效站台长120米,宽10米。
车站采用岛式站台,标准段为地下二层二跨矩形断面,高度为13.1-14.3米,覆土 2.2-4.5米,车站底板位于微风化山曰石层。
3.水文、地质资料3.1工程地质(1)第四系全新统人工填土层(Q4ml)第1层杂填土:杂色,稍湿,松散,主要成分为人工堆填的粘性土混砂土,含少量碎石、砖块,地面为10〜30cm厚的水泥面。
该层在场地内分布广泛,,厚度0.50〜2.40m,平均厚度1.57m。
(2)第四系全新统冲洪积层(Q4al+pl)第5层中粗砂、粗砾砂:黄褐色〜灰褐色,湿〜饱和,松散〜稍密,石英〜长石质,分选一般〜较好,磨圆一般〜较差,粘性土含量一般约5〜20%,局部夹有粉砂薄层,含少量碎石。
该层在场地内分布广泛,大部分钻孔均有揭露,该层实测标贯击数8.0〜13.0击,平均10.2击。
扩大头预应力锚索施工方案一、项目背景预应力锚索作为一种常用的结构加固方法,广泛应用于建筑物、桥梁、隧道等工程中。
然而,在一些特殊情况下,需要扩大预应力锚索的载荷能力,以满足工程设计和使用的需求。
因此,针对扩大头预应力锚索的施工方案成为一项重要的研究任务。
二、施工目标1.扩大预应力锚索的载荷能力,提高结构的安全性和稳定性。
2.保证施工质量,确保预应力锚索的使用寿命和性能。
三、施工方案1.设计方案在传统的预应力锚索设计基础上,根据实际工程需求,对锚头进行扩大设计。
扩大头的设计需要考虑材料的强度和稳定性,以及锚头与锚索之间的连接方式。
可以采用焊接或螺栓连接的方式,确保连接的牢固性。
2.材料选择在扩大头预应力锚索的施工中,需要选择合适的材料。
锚头的材料应具有足够的强度和韧性,确保在工程使用过程中不会出现断裂或变形的情况。
同时,锚索的材料也需要满足工程设计要求,具有足够的强度和耐腐蚀性。
3.施工步骤(1)锚孔施工:根据设计要求,在结构中进行锚孔的施工。
锚孔应具有足够的深度和直径,以容纳预应力锚索的长度和直径。
(2)预应力锚索制作:根据设计要求,制作预应力锚索。
预应力锚索的制作应遵循相关规范和标准,确保质量和性能。
(3)锚头安装:将扩大头连接到预应力锚索上。
根据设计要求,采用焊接或螺栓连接的方式,确保连接的牢固性。
(4)锚固施工:将锚头和预应力锚索固定在结构中。
固定的方式根据设计要求确定,可以采用注浆、灌浆或机械锚固的方法。
(5)张拉预应力锚索:根据设计要求,对预应力锚索进行张拉。
张拉的目的是提供预应力锚索的初始载荷,并通过张拉过程来控制预应力锚索的伸长量。
(6)锚固预应力锚索:在预应力锚索张拉完成后,将其锚固在结构中。
锚固的目的是将预应力锚索的载荷传递到结构中,以提供结构的强度和稳定性。
(7)验收检测:施工完成后,对扩大头预应力锚索进行验收检测。
验收检测的内容包括载荷测试、锚头和锚索的连接检查等。
四、施工注意事项1.施工前应对现场进行认真勘察,了解施工环境和条件,做好施工准备工作。
预应力锚索施工方案预应力锚索施工方案一、项目概述预应力锚索是一种用于加固混凝土结构的工法,通过施加预应力力量,将混凝土结构内的应力转移至预应力锚索上,以增强结构的抗张能力和承载能力。
本方案旨在介绍预应力锚索施工的步骤、方法和注意事项。
二、施工步骤1. 预处理:首先对待施工的混凝土结构进行清理,确保表面光滑无杂物和脱模剂残留。
2. 定位:根据设计要求和施工图纸,确定预应力锚索的位置和数量。
使用专用工器具进行标定和定位,保证准确性。
3. 预应力锚孔:根据设计要求,在预定位置上进行预应力锚孔的打孔工作。
选择合适的孔径和深度,保证预应力锚索的稳定和可靠。
4. 锚索伸出:将预应力锚索的一端扎入预应力锚孔内,使用专用工器具将其逐渐伸出并延伸至预定长度。
5. 固定预应力锚索:使用锚固器具对锚索进行固定,确保其在混凝土结构中的稳定性和可靠性。
6. 注浆填充:使用专用注浆设备将预应力锚索的孔隙进行注浆,以增强锚索与混凝土结构之间的粘结力。
7. 确认质量:在施工完成后,对预应力锚索进行质量检测,包括锚索的伸长量、预应力力量和注浆效果等指标。
三、施工注意事项1. 施工前应做好充分的准备工作,包括准确理解设计要求、检查施工现场环境和安全风险等。
2. 施工过程中应按照设计要求和施工图纸进行操作,确保预应力锚索的准确定位和固定。
3. 在进行预应力锚孔的打孔工作时,应选择合适的工具和设备,防止锚孔的侧壁开裂或不规则。
4. 锚索伸出的过程中,应控制力量和速度,避免锚索的断裂和损坏。
5. 注浆填充时应选择适当的注浆材料和设备,确保填充均匀和密实。
6. 施工完毕后应及时进行质量检测,确保预应力锚索的性能和质量。
四、安全措施1. 施工现场应设置警示标志和隔离措施,确保施工区域的安全。
2. 施工人员应穿戴好安全装备,如安全帽、防护鞋等。
3. 严禁在施工过程中吸烟,禁止使用明火操作。
4. 注意施工过程中的高处坠落、机械伤害等安全风险,采取相应的防护措施。
钢筋混凝土腰梁预应力锚索施工方案
钢筋混凝土腰梁预应力锚索施工方案一般包括以下步骤:
1. 设计和准备:根据工程要求,确定腰梁的尺寸、预应力锚索的数量和布置方式等细节。
根据设计要求选择合适的预应力牵引设备和材料,并准备施工图纸和方案。
2. 固定锚具:在预制腰梁的一端和侧面设置合适的固定锚具。
锚具的形式可以是板式锚具,也可以是喷射锚具。
通过钻孔或者挖孔的方式将锚具固定在混凝土结构里,确保牢固。
3. 安装钢束:将预应力钢束(或者螺杆)穿过固定锚具,固定在另一端的固定锚具处。
根据设计要求,确定钢束的长度和张力。
4. 结构浇筑:在安装好的钢束上方进行混凝土浇筑。
浇筑过程中要注意控制混凝土的质量和均匀性,并及时排除气泡和浇筑缺陷。
5. 张拉预应力:当混凝土到达一定强度后,进行预应力张拉。
使用专用的张拉设备,对钢束进行逐渐的拉伸,直至达到设计要求的预应力力值。
6. 导向喷射:在张拉完成后,对钢束进行固定,同时进行导向喷射。
导向喷射是通过压浆将孔内的预应力锚索固定在混凝土中,增强连接力。
7. 后处理和验收:确保混凝土腰梁的固结、养护到位,严格按照相关规范进行验收。
需要注意的是,具体的施工方案还需要根据不同工程的实际情况进行调整和修改,确保施工过程中的安全和稳定。
同时,在施工过程中进行监控和质量检测,及时发现和处理施工中的问题。
预应力锚索专项施工方案一、工程概述本工程为_____项目,位于_____。
工程规模较大,涉及到的预应力锚索施工是确保工程稳定性和安全性的重要环节。
二、编制依据1、本工程的施工图纸及相关设计文件。
2、国家及地方现行的有关规范、标准,如《岩土锚杆与喷射混凝土支护工程技术规范》(GB 50086-2015)等。
3、现场实际勘察资料。
三、施工准备1、技术准备(1)熟悉施工图纸和相关技术规范,编制详细的施工方案,并向施工人员进行技术交底。
(2)根据设计要求,进行锚索的选型和材料采购。
2、材料准备(1)预应力锚索采用高强度、低松弛的钢绞线,其性能应符合国家标准。
(2)锚具、夹具应符合相关标准,且具有良好的锚固性能。
(3)水泥采用强度等级不低于_____的普通硅酸盐水泥。
(4)砂选用中粗砂,石子采用粒径 5-10mm 的碎石。
3、机械设备准备(1)钻孔设备:根据地质条件和锚索孔径,选用合适的钻孔机械,如潜孔钻机等。
(2)注浆设备:包括注浆泵、搅拌机等。
(3)张拉设备:采用专用的锚索张拉千斤顶和配套的油泵。
4、现场准备(1)平整施工场地,确保钻机和施工设备的正常运行。
(2)设置施工用水、用电设施,保证施工的正常进行。
四、施工工艺流程1、锚孔测放根据设计要求,使用全站仪或经纬仪等测量仪器,准确测放锚孔位置,并做好标记。
2、钻孔(1)根据锚孔的直径和深度,选择合适的钻头和钻进参数。
(2)在钻进过程中,要保持钻孔的垂直,偏差不应超过孔深的2%。
(3)遇到地质条件复杂的情况,如破碎带、溶洞等,应采取相应的处理措施。
3、清孔钻孔完成后,使用高压风或水将孔内的岩屑、泥土等杂物清理干净,确保孔内清洁。
4、锚索制作与安装(1)按照设计要求,将钢绞线切割成相应的长度,并进行编束。
(2)在锚索的自由段,应设置塑料套管进行隔离防护。
(3)将制作好的锚索缓慢放入锚孔内,确保锚索的位置和角度正确。
5、注浆(1)采用水泥浆进行注浆,水灰比根据设计要求确定。
预应力锚索施工方案一、编制依据1、福建龙岩双永高速A8标设计图、合同文件及相关技术规范;2、交通部颁布的公路工程技术标准,路基、桥涵等施工技术规范;3、我方技术员经现场踏勘、走访调查所取得的各种资料。
4、我公司人员素质,技术装备、财务能力等综合情况及可调用到本工程的各类资源.二、工程概况:龙岩双永高速A8标K167+850~K170+220区间内多为挖方及填方路段,高路堤及高边坡较为常见,因此路堤边坡有较多处都采取挡土墙形式。
三、施工前提条件(1)锚固工程计划设计图、边坡岩土性质等资料齐全;(2)施工场地、临时便道已修建完成,施工用水、用电已到位;(3)已根据现场的情况、设计文件和工期要求,编制完成施工组织设计,已制定施工进度计划,质量保证体系、安全保证体系已建立;(4)分项工程开工报告已批复;(5)工地现场管理人员,专业技术人员,技术工人和普通工人,已到位,配备合理;(6)施工所需机械设备、测量仪器、检测仪器已进场;(7)施工用材料已进场,并且材料有关性能指标均已达到设计要求和符合国家标准或行业规范要求;(8)现场各种施工标志牌(工程概况、安全标示、操作规程、材料标示等)已制作完成;(9)已对边坡进行中线、水平、横断面的复测,并已在边坡上按设计图纸确定预应力锚索(杆)的位置。
注:上图为使用自由段无套管的预应力筋时采用二次注浆的基本施工工序,若采用自由段带套管的预应力筋时,宜在锚固段长度和自由段长度内采取同步一次性全段注浆,并且,高压劈裂压浆仅限于设计要求提高地层锚固力或其它特殊要求采用。
(3)工序要求1)设计锚固工程坡面开挖成形并经验收合格后,应尽快布置锚固工程施工作业,待锚固工程施工完毕并产生加固作用后,方可进行下级边坡开挖与防护。
2)在预应力锚索(杆)工程施工作业开始之前,应进行预应力锚索(杆)的基本试验,并完成预应力锚索(杆)试验报告,提交给有关监理工程师和设计代表,待试验报告批准并经设计锚固参数确认或调整后,方可进行预应力锚索(杆)工程施工作业。
锚索(杆)试验孔的具体位置应由监理和设计代表现场确定,使试验孔可反映工程孔锚固地层实际情况。
试验孔自由段不注浆,锚固段与自由段之间设置止浆袋,锚固段外侧应设排气管,排气管伸入锚固段内5~10cm,其注浆方法和充满标准与工程孔相同。
3)预应力锚索(杆)施工的场地整理、搭设工作平台时,应对已施工完成的坡面根据设计图纸进行测量后确定预应力锚索(杆)的位置;在安装钻机时,应按照施工设计图采用全站仪进行测量放线确定孔位以及锚孔方位角(或拉线尺量配合测角仪定位),并作出标记。
4)锚孔钻造,须经现场监理检验合格后,方可进行下道工序。
孔径、孔深检查一般采用设计孔径钻头和标准钻杆在现场监理旁站的条件下验孔,要求验孔过程中钻头平顺推进,不产生冲击或抖动,钻具验送长度满足设计锚孔深度,退钻要求顺畅,用高压风吹验不存明显飞贱尘碴及水体现象。
同时要求复查锚孔孔位、倾角和方位,全部锚孔施工分项工作合格后,即可认为锚孔钻造检验合格。
5)锚孔钻造完成后,应及时安装锚固体并进行锚孔注浆,原则上不得超过24小时。
6)锚筋体制作,应进行外观检验和锚筋体各部件检查。
锚筋应经除油除锈处理,无油污和锈斑,筋股顺直完好,无死弯硬折或严重碰割损伤。
锚筋筋股的排列分布与编束绑架应符合设计要求,筋股顺直,不扭不叉,互不贴接,排列均匀,绑架牢固。
锚筋自由段防锈漆、防腐油和各项缠绕密封措施应符合设计要求,防锈漆刷盖均匀,不见黑底;防腐油完全覆盖和填充锚筋材料与外环层之间的空间;缠绕密封牢固严实。
锚筋自由段塑料套管、注浆套管、隔离(对中)支架、紧箍环、以及导向尖壳绑扎捆架应符合设计要求,塑料套管绑扎稳固密塞,具有足够强度,外观完好,无破损修补痕迹;注浆管安装位置正确,捆扎匀称,松紧适度;隔离(对中)支架、紧箍环和导向尖壳等分布均匀、定位准确,绑扎结实稳固。
并且,应按锚筋体长度和规格型号进行编号挂牌,使用前需经现场监理工程师认可。
7)锚筋体安装入放锚孔前,应检查锚筋体制作质量,确保锚筋体组装满足设计要求,并经现场监理工程师认可。
锚孔内及孔外周围杂物要求清除干净。
锚筋体长度应与设计锚孔深度相符,锚筋体应无明显弯曲、扭转现象,锚筋防护介质无损伤,凡有损伤的必须修复。
入孔安放锚筋体时,应防止锚筋体挤压、弯曲或扭转,锚筋体入孔倾角和方位应与锚孔的倾角和方位一致,要求平顺推送,严禁抖动、扭转和串动,防止中途散束和卡阻。
锚筋体入孔长度应满足设计要求,锚筋体安装完成后,不得随意敲击,不得悬持重物。
8)锚孔注浆必须采用孔底返浆方法(注浆压力一般为左右),直至孔口溢浆充满,严禁抽拔注浆管或孔口注浆,如发现孔口浆面回落,应在1小时内进行孔底压注补浆1~2次,遇有异常情况需经设计代表会同现场监理会诊确定处置方案。
当采用二次高压劈裂注浆提高地层锚固力时,要求以浆体强度控制开始劈注时间(一次浆体强度为5MPa),并注意二次注浆管之锚固段内设花孔和封塞。
9)浇注砼垫墩,安装锚具,待锚固段水泥浆和砼垫墩的强度达到设计强度的80%时,按照设计要求进行预应力锚索的张拉锁定,并经锚头空隙补浆工序后进行封锚作业。
(若为二次注浆,当自由段的水泥浆达到设计强度时,可切除外露的钢绞线,切的位置至外锚具距离不应小于100mm,并进行封锚。
)五、施工技术及工艺(1)造孔1)锚孔测放:根据具体工点锚固工程施工设计图要求,将锚孔位置准确测放在坡面上,孔位在坡面上纵横误差不得超过±50mm。
如遇既有刷方坡面不平顺或特殊困难场地时,需经设计监理单位认可,在确保坡体稳定和结构安全的前提下,适当放宽定位精度或调整锚孔定位。
2)钻孔设备:钻孔机具的选择,应该根据锚固地层的类别、锚孔孔径、锚孔深度、以及施工场地条件等来选择钻孔设备。
锚孔钻造应采用潜孔钻机或锚杆钻机冲击成孔,未经设计允许不得采用地质钻机成孔。
在岩层破碎或松软饱水等易于塌缩孔和卡钻埋钻的地层中应采用跟管钻进技术。
3)钻机就位:锚孔钻进施工,应搭设满足相应承载能力和稳固条件的脚手架,根据坡面测放孔位准确安装固定钻机,并严格认真进行机位调整,确保锚孔开钻就位纵横误差不得超过±50mm,高程误差不得超±100mm ,钻孔倾角和方向应符合设计要求,倾角允许误差为±°,方位允许误差±°。
4)钻进方式:锚孔钻进应采用无水干钻,禁止开水钻进,以确保锚固工程施工不致于恶化边坡岩土工程地质条件和保证孔壁的粘结性能。
钻孔速度应根据使用钻机性能和锚固地层严格控制,防止钻孔扭曲和变径,造成下锚困难或其它意外事故。
5)钻进过程:钻进过程中应对每个孔的地层变化,钻进状态(钻压、钻速)、地下水及一些特殊情况作好现场施工记录。
如遇塌孔缩孔等不良钻进现象时,应立即停钻,及时进行固壁灌浆处理(灌浆压力~,待水泥砂浆初凝后,重新扫孔钻进。
6)孔径孔深:钻孔孔径、孔深要求不得小于设计值。
为确保锚孔直径,要求实际使用钻头直径不得小于设计孔径。
为确保锚孔深度,要求实际钻孔深度大于设计深度。
7)锚孔清理:钻进达到设计深度之后,不能立即停钻,要求稳钻1~2分钟,防止孔底尖灭,达不到设计孔径。
钻孔孔壁不得有沉碴及水体粘滞,必须清理干净,在钻孔完成后,原则要求使用高压空气(风压~将孔内岩粉及水体全部清除出孔外,以免降低水泥砂浆与孔壁岩土体的粘结强度。
除相对坚硬完整之岩体锚固外,不宜采用高压水冲洗。
若遇锚孔中有承压水流出,待水压、水量变小后方可下安锚筋与注浆,必要时在周围适当部位设置排水孔处理。
如果设计要求处理锚孔内部积聚水体,一般采用灌浆封堵二次钻进等方法处理。
8)锚孔检验:锚孔成造结束后,须经现场监理检验合格后,方可进行下道工序。
孔径、孔深检查一般采用设计孔径钻头和标准钻杆在现场监理旁站的条件下验孔,要求验孔过程中钻头平顺推进,不产生冲击或抖动,钻具验送长度满足设计锚孔深度,退钻要求顺畅,用高压风吹验不存明显飞贱尘碴及水体现象。
同时要求复查锚孔孔位、倾角和方位,全部锚孔施工分项工作合格后,即可认为锚孔钻造检验合格。
(锚孔底部的偏斜应满足设计要求,可用钻孔测斜仪控制和检测。
)(2)锚索(杆)制作与安装1)锚筋体材料:在边坡锚固工程中,锚筋材料一般有预应力锚索、预应力锚杆和非预应力锚杆等几种。
预应力锚索宜选用纲绞线或高强钢丝,一般适用于预应力值较大和锚固较深的工程情况。
预应力锚杆宜选用高强精轧螺纹钢筋,当预应力值较小或锚固深度较小时,可采用Ⅱ级或Ⅲ级钢筋。
非预应力锚杆宜选用满足设计强度要求的Ⅱ级钢筋。
对因锚固地层松散破碎而导致成孔困难的情况,宜采用自钻式锚杆,即杆体材料一次性钻进植入,内空反压注浆。
自钻式锚杆可以设计为预应力和非预应力两种。
2)锚筋体组装:锚筋体的组装应遵守下列规定。
①当采用锚杆(钢筋)作为锚筋体时,锚杆组装前钢筋应平直,并经除油和除锈处理合格。
锚杆接头应采用专用锚杆连接接头或其它保证强度和质量要求的连接技术。
如采用焊接的搭接接头,焊接长度为30d,但不得小于500mm,并排锚杆钢筋的连接也应采用焊接。
精轧螺纹钢筋杆体一律不得采用焊接。
沿锚杆体轴线方向每隔~,应设置一个对中支架,必要时设排气管,并与锚杆体绑扎牢固。
锚杆体自由段应按设计要求采用塑料套管,与锚固段联接处应用铅丝绑牢和封扎严实,并按设计要求进行防腐处理。
②当采用钢绞线或高强钢丝作锚筋体时,锚索编束前,要确保每根钢绞线或高强钢丝顺直,不扭不叉,排列均匀,严格按照设计尺寸下料,每股长度误差不大于±50mm。
钢绞线要求采用机械切割,严禁采用电弧切割,并经除油和除锈处理合格,对有死弯、机械损伤及锈坑材料应剔除。
钢绞线或高强钢丝应按设计要求平直编排,沿锚索体轴线方向自由段每~设置一个隔离支架,锚固段每~设置一个隔离支架,并在锚固段两隔离支架之间中部设一道紧箍环,采用16号铁丝绕制,不得少于两圈,保证锚索体保护层厚度不小于20mm。
锚索编束(包括注浆管)应捆扎牢固,捆扎材料不宜用镀锌材料。
锚索体自由段应按设计要求采用塑料套管,与锚固段相交处的塑料管管口应密封并用铅丝绑架。
同时,要求按设计要求进行防腐处理。
若采用压力分散型锚索或其它荷载分散型锚索,应严格按照设计相关要求下料和编制。
③在锚索体完成隔离支架和紧箍环的组装之后,应在锚索体底端接装导向帽,以便下锚顺利。
导向帽尺寸应严格按设计要求制作,尺寸制作误差为±5mm,接装定位误差为±20mm。
导向帽宜采用铁丝绑接牢固,不宜采用焊接。
④当采用二次补充注浆的锚筋体组装时,应同时装放二次注浆管和止浆密封装置。
止浆装置应设在自由段和锚固段的分界处,并具良好可靠的密封性能。
宜用密封袋作止浆密封装置,密封袋两端应牢固地绑扎在锚筋体上。