柴油机的振动与平衡
- 格式:doc
- 大小:63.00 KB
- 文档页数:10
柴油机振动值标准柴油机振动值标准是指在柴油机运行过程中,其产生的振动所达到的数值标准。
振动是柴油机运行中常见的现象,它是由于柴油机内部各部件的运动而产生的。
振动的大小直接影响着柴油机的稳定性和使用寿命,因此制定了一系列的振动值标准来对柴油机的振动进行评估。
柴油机振动值标准通常包括速度振动和加速度振动两个方面。
速度振动是指柴油机在运行过程中产生的速度变化所引起的振动,通常以毫米/秒(mm/s)为单位进行衡量。
加速度振动是指柴油机在运行过程中产生的加速度变化所引起的振动,通常以米/秒平方(m/s²)为单位进行衡量。
柴油机振动值标准的制定主要考虑了以下几个因素:柴油机的类型、功率、转速、使用环境等。
不同类型的柴油机在运行过程中会产生不同程度的振动,因此需要根据柴油机的具体情况来确定相应的振动值标准。
一般来说,功率较大、转速较高的柴油机产生的振动会更大,因此其振动值标准也会相应较高。
为了保证柴油机的正常运行和使用寿命,通常会制定一系列的振动值标准来对柴油机进行评估。
这些标准一般由国家或行业相关的标准化组织制定,例如ISO(国际标准化组织)等。
在实际使用中,柴油机的振动值需要定期进行监测和检测,并与相应的标准进行比较,以判断柴油机是否存在异常情况。
柴油机振动值标准的制定不仅考虑了柴油机本身的特点,还考虑了使用环境对柴油机振动的影响。
例如,在船舶、汽车等运输工具中使用的柴油机,其振动值标准一般会相对较高,因为这些工具在运行过程中会经历各种复杂的道路或海洋条件,对柴油机产生较大的振动力。
而在固定设备中使用的柴油机,其振动值标准一般会相对较低,因为这些设备通常会采取一系列的防震措施,减少对柴油机的振动影响。
总之,柴油机振动值标准是对柴油机振动进行评估和监测的重要依据。
通过制定合理的振动值标准,可以保证柴油机在运行过程中的稳定性和可靠性,延长其使用寿命。
同时,在实际使用中,我们也应该定期对柴油机的振动进行监测和检测,及时发现并解决潜在问题,确保柴油机的正常运行。
船舶柴油机的轴系扭转振动的分析与研究【摘要】本文通过一些国内因轴系扭转振动而引起的断轴断桨的事故实例,来分析引起轴系扭转振动的主要原因,分析扭振主要特性,并提取一些减振和防振的基本控制措施。
【关键词】船舶柴油机轴系扭振危害分析措施在现代船舶机械工程中,船舶柴油机轴系扭转振动已经成为一个很普遍的问题,它是引起船舶动力装置故障的一个很常见的原因,国内外因轴系扭转而引起的断轴断桨的事故也屡见不鲜,随着科学水平的提高和航运业的发展,人们越来越重视船舶柴油机组的轴系扭转振动,我国《长江水系钢质船舶建造规范》和《钢质海船入级与建造规范》(简称《钢规》)和也均规定了在设计和制造船舶过程中,必须要向船级社呈报柴油机组的轴系扭转振动测量和计算报告,以此来表明轴系扭转振动的有关测量特性指标均在“规范”的允许范围内。
1 船舶柴油机轴系扭转振动现象简介凡具有弹性与惯性的物体,在外力作用下都能产生振动现象。
它在机械,建筑,电工,土木等工程中非常普遍的存在着。
振动是一种周期性的运动,在许多场合下以谐振的形式出现的,船舶振动按其特点和形式可分为三种,船体振动,机械设备及仪器仪表振动,和轴系振动。
船舶柴油机轴系振动按其形式可分为三种:扭转振动,纵向振动,横向振动。
柴油机扭转振动主要是由气缸内燃气压力周期性变化引起的,它的主要表现是轴系上各质点围绕轴系的旋转方向来回不停的扭摆,各轴段产生不相同的扭角。
纵向振动主要是由螺旋桨周期性的推力所引起的。
横向振动主要是由转抽的不平衡,如螺旋桨的悬重以及伴流不均匀产生的推力不均匀等的力的合成。
船舶由于振动引起的危害不但可以产生噪音,严重影响旅客和船员休息,还会造成仪器和仪表的损害,严重的时候甚至出现船体裂缝断轴断桨等海损事故,直接影响船舶的航行安全。
而在船舶柴油机轴系的三种振动中,产生危害最大的便是扭转振动,因扭转振动而引起的海损事故也最多,因此对扭转振动的研究也最多。
而且当柴油机轴系出现扭转振动时,一般情况下,船上不一定有振动的不适感,因此这种振动也是最容易被忽视的一种振动形式,一旦出现扭转振动被忽视,往往意味着会发生重大的事故。
船用柴油机发电机组振动问题的解决方法文/刘大琼4. 工件安装方法工件以工件端面和外圆为定位基准进行定位,利用液压缸产生的拉力,使弹簧夹头收紧,产生的夹紧力,进行夹紧。
5. 夹具特点(1)结构简单,制造容易,操作方便。
(2)夹具调整后,长期稳定可靠。
(3)使用液压为夹紧力,可实现无级调压,调整方便。
夹具采用了液压夹紧系统,这种系统动作迅速、反应快,并且可以实现自动化控制,以便实现自动化生产。
可以通过增加调整压力继电器方式提高夹紧力,解决液压系统夹紧力变化的问题。
(4)夹紧方便,效率高。
(5)因为夹具具有自定心功能,不用反复对刀,一次对正后,只需装夹工件,按序操作,即可保证精度。
(6)夹具采用模块化设计,更改小部分零部件,即可加工同类,不同尽寸的零件。
(7)零件加工过程,几乎所有的安装都可用同一套夹具,有利于夹具的生产制造。
(8)本设计夹具的定位装置采用了定位环和弹性夹头结构。
通过更换不同的尺寸定位环和弹性夹头,即可加工外圈直径为30 ̄60mm管圈零件。
本夹具具有自身的优势,即“通用”和“高效”。
当装夹同一类型不同尺寸工件时,只要更换不同的弹簧夹头和定位环即可,而传统加工方法其中三爪卡盘装夹后,又要进行重新对刀校正,效率低下。
通用高效内夹式弹簧夹具,装夹后,不用重新对刀,采用液压系统作,装夹时间短,效率高。
采用论文所述的夹具缩短了辅助时间,避免了大量的计算,大大提高了生产率,非常适合大批量生产使用。
通过上述分析可知,采用该结构的夹具在技术性和经济性方面具有明显优势。
这种夹具的定位可靠,夹紧迅速,可以实现自动化操作。
它既可以用在单件加工上,也可以用在批量生产上。
由于采用了模块结构,可以在现有主体结构的基础上更换有关模块,使其能够用来夹紧同一类型不同尺寸的零件,这样它的应用范围就可以进一步扩大, 因此具有良好的经济效益。
实践证明,应用该夹具在机床上加工该工件,装卸方便快捷可靠,劳动强度低,生产效率显著提高。
单杠柴油机如何消声的原理单杠柴油机是一种常见的内燃机,其消声原理主要包括减振、吸声、排气消声等。
下面将详细介绍这些原理。
首先,减振是指通过减少振动和冲击力,降低噪声的方法。
单杠柴油机的减振机构包括平衡块、减振支撑等。
平衡块的作用是使发动机的运动轨迹呈现对称性,减弱振动力,通过精确的调整,可以有效减少振动和噪声。
减振支撑则是通过减震装置来降低振动传递,减少发动机的振动和噪声。
通过这些减振机构,单杠柴油机的振动和噪声可以得到一定程度的减少。
其次,吸声是指利用吸声材料吸收声波能量,降低噪声的方法。
单杠柴油机的吸声材料主要包括消音器、吸声垫等。
消音器是一种能将声波能量转化为其他形式能量的装置,其内部通常包含吸声材料和隔声材料,通过这些材料的吸收和消散作用,减少噪声的传播。
吸声垫则是一种能吸收声波的能量,并且具有一定的隔声效果的材料,通过覆盖在发动机的关键部位,可以有效降低噪声的传播。
最后,排气消声也是单杠柴油机消声的重要原理之一。
排气消声通过排气系统的构建和优化来降低噪声。
单杠柴油机的排气系统主要包括消声器、消声器腔室等。
消声器是通过排气气流的穿过和分流来减少排气噪声的装置,其内部通常包含吸声材料和隔声材料,通过这些材料的吸收和消散作用,减少噪声的产生和传播。
消声器腔室是一种通过空间扩大和设计优化来改善消声效果的装置,通过合理的腔室结构,可以有效降低噪声的传播。
综上所述,单杠柴油机消声的原理主要包括减振、吸声、排气消声等。
通过这些原理的应用,可以降低振动和噪声的产生和传播,达到减少噪声的效果。
然而,需要注意的是,单杠柴油机的消声效果并不完全取决于这些原理,还受到其他因素的影响,如发动机的结构设计、材料选择等。
因此,在实际应用中,需要综合考虑各种因素,选择合适的消声措施,以达到更好的消声效果。
柴油机及柴油发电机机械振动测量1.测量条件①被测机器处于正常安装状态。
②当机器达到正常运转状态时方可进行测量。
③测量应在机器典型使用工况下进行。
④测量环境中应无强烈外部干扰。
2.振动测量仪器与设备振动加速度传感器、电荷放大器、YE6263动态数据采集测试分析仪、计算机。
3.测量仪表的要求振动测量的传感器应有下列要求:①传感器安装在被测点处应牢固可靠,接触面光滑干净,在整个测量过程中不得有任何移动。
连接系统在测量频率范围内应保证振动信号的正确传递。
②传感器应在允许的工作环境(如温度、湿度、磁场、油污、盐雾等)下工作。
③传感器经非正常状态后(如冲击,过热、浸水、浸油等)应及时校验,确认不低于原始性能时,方可继续而使用。
④传感器应有方向性,横向灵敏度应不大于测量方向灵敏度的10%,即“横向灵敏度比”要求小于10%联接导线的要求:联结导线的选用应与测量系统匹配,导线应固定牢固,与被测对象之间不应有相对运动。
指示与记录装置的要求:指示装置应能直接读取测量量标的有效值,可记录测量量标与时间的关系图并保存。
4.测量的数据内容柴油机及柴油发电机振动的测量的数据包括振动位移、振动速度、振动加速度。
柴油机及柴油发电机振动测量量标和定义振动位移:物体相对于某一参考坐标位置的矢量。
单位为毫米(mm)。
振动速度:振动位移的时间变化率的矢量。
单位为毫米每秒(mm/s)振动加速度:振动速度的时间变化率的矢量。
单位为毫米的平方每秒(mm2/s)5.测量系统测量系统的组成部分如下框架图图1 实验振动测量系统组成测量值是在一定频率范围内振动信号的有效值,测量频率范围下限应包括机械的一阶振动频率,对转速为600r/min以上的机械,频率范围取10~1000Hz,对转速为300~600r/min 的机械,频率范围取3~1000Hz。
振动测量仪器应能显示并记录振动测量标量和时间的关系图,和直接显示复合振动测量标量的有效值,频率响应范围应在2~3000HZ内选取,仪器精度应不低于5%。
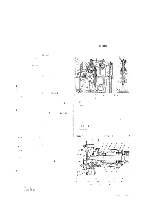
第六章柴油机及推进轴系振动第六章柴油机及推进轴系的振动柴油机是往复运动机械,它采⽤曲柄连杆机构把活塞的往复运动转换成曲轴的回转运动。
当柴油机以恒定转速运转时,活塞做往复运动,连杆⼀边随活塞作往复运动⼀边绕活塞销(或⼗字头销)摆动,曲轴基本为匀速回转运动。
由于曲柄连杆机构这种复杂的运动特点,必然要产⽣周期性变化的不平衡⼒和⼒矩。
它们的存在不仅影响活塞、连杆和曲轴的强度,也影响连杆⼩端和⼤端轴承的负荷、润滑和磨损,同时还会使柴油机发⽣振动并引起船体振动,甚⾄会导致柴油机或船体发⽣故障或损坏。
为了改善这种不平衡⼒和⼒矩对柴油机本⾝造成的不良影响,必须采取⼀定的平衡补偿措施,把它们控制在⼀个限定的范围之内。
船舶推进轴系在实际运转中也会受到各种冲击和周期性的激振⼒(或⼒矩)的作⽤。
对于柴油机动⼒装置,主要有以下⼏种激振⼒: (1)柴油机⽓缸⽓体⼒、运动部件惯性⼒与重⼒等产⽣的作⽤在曲轴、曲柄销上的交变切向⼒和径向⼒; (2)螺旋桨在径向和周向都很不均匀的三维伴流场中运转时所受到的交变纵向(轴向)和横向推⼒和⼒矩; (3)轴系部件运转时所产⽣的激振⼒和⼒矩。
由于这些激振⼒和⼒矩的存在,将导致船舶推进轴系产⽣扭转振动、纵向振动和回旋(横向)振动, 造成轴系损坏或影响船舶的正常航⾏。
第⼀节活塞、连杆的运动及受⼒⼀、活塞的运动1.活塞的位移在柴油机中,由活塞(或活塞⼗字头组件)、连杆和曲轴组成的运动机构称为曲柄连杆机构,它的结构简图如图6-1所⽰。
图中B、A、O分别代表活塞销(或⼗字头销)和连杆⼩端、曲柄销和连杆⼤端、主轴颈和主轴承的位置。
BA为连杆,其长度为连杆⼩端中⼼到连杆⼤端中⼼的距离L。
OA为曲柄,其回转半径为主轴颈中⼼到曲柄销中⼼的距离R,等于活塞⾏程S的⼀半,即R=S/2。
B点沿着⽓缸中⼼线在上下⽌点O′和O″之间作往复运动,它与上⽌点O′间的距离x称活塞位移。
假设曲柄按顺时针⽅向转动,从图中的⼏何关系可以得出:x=L+R-(Rcosα+Lcosβ)=R(1-cosα)+L(1-cosβ) (6-1)运算并简化得活塞位移的近似公式:x≈R(1-cosα)+λR4(1-cos2α) (6-2)式中: α---曲轴转⾓;β---连杆摆⾓;λ---连杆⽐,它表⽰曲柄半径与连杆长度之⽐, 即λ=R/L, ⼀般λ=R/L=1/3~1/5。
柴油机振动标准
柴油机振动标准是根据不同类型和用途的柴油机,制定的用于评估和控制其振动水平的规范。
振动标准的制定是为了确保柴油机在运行过程中的振动水平不会对机器本身和周围环境产生不利影响,保障机器的稳定性和可靠性。
柴油机振动标准通常包括以下几个方面的指标:
1. 振动加速度:振动加速度是指柴油机振动的强度,以g(重
力加速度)为单位。
通常规定不同运行状态下柴油机振动加速度的最大值,以确保振动不会超过正常范围。
2. 振动速度:振动速度也是衡量振动强度的指标,通常以
mm/s(毫米/秒)为单位。
振动速度标准同样规定不同工作状
态下的最大值,以保证振动水平合理。
3. 振动位移:振动位移是指柴油机振动的位移量,通常以mm (毫米)为单位。
振动位移标准也会规定不同条件下的最大值,以保证振动不会过大。
在实际应用中,不同国家和行业会根据自身需求制定相应的柴油机振动标准,以确保设备的正常运行和使用安全。
因此,具体的柴油机振动标准会根据不同地区和行业的要求而有所差异。
柴油机振动标准本文旨在规范柴油机振动标准,主要包含以下几个方面:振动加速度、振动速度、振动位移、整体振动和部件振动。
振动加速度振动加速度是指柴油机在运行过程中,振动主体受到的加速度力,单位为米每平方秒(m/s²)。
计算公式如下:a = Δv / Δt其中,a为振动加速度,Δv为振动速度的变化量,Δt为时间间隔。
对于柴油机的振动加速度测量,一般采用惯性测振仪进行测量。
测量时,将柴油机固定在测试台上,将惯性测振仪的加速度传感器放置在柴油机表面,并按照测试规范进行测量。
振动速度振动速度是指柴油机在运行过程中,振动主体在某一方向上发生的速度变化,单位为米每秒(m/s)。
计算公式如下:v = Δx / Δt其中,v为振动速度,Δx为振动位移的变化量,Δt为时间间隔。
对于柴油机的振动速度测量,一般采用测振仪进行测量。
测量时,将柴油机固定在测试台上,将测振仪的速度传感器放置在柴油机表面,并按照测试规范进行测量。
振动位移振动位移是指柴油机在运行过程中,振动主体在某一方向上发生的位移变化,单位为米(m)。
计算公式如下:x = Δx其中,x为振动位移,Δx为振动位移的变化量。
对于柴油机的振动位移测量,一般采用测振仪进行测量。
测量时,将柴油机固定在测试台上,将测振仪的位移传感器放置在柴油机表面,并按照测试规范进行测量。
整体振动整体振动是指从整体角度出发,评价柴油机的振动水平。
对于整体振动的评价,需要考虑以下因素:(1)振动的广泛性:评价柴油机是否存在广泛的振动现象,如机身、缸盖、曲轴等部位的振动。
(2)振动的强度:评价柴油机的振动强度是否超出允许范围,一般以人体感知的振动强度为准。
(3)振动的稳定性:评价柴油机的振动是否稳定,是否存在周期性或随机性的振动。
整体振动的测量方法可以采用振动的广泛性、振动的强度和振动的稳定性等多方面进行综合评价。
部件振动部件振动是指从部件角度出发,评价柴油机的振动水平。
对于部件振动的评价,需要考虑以下因素:(1)部件的刚度:评价柴油机部件的刚度是否足够,是否存在因刚度不足导致的振动现象。
柴油机振动值标准柴油机振动值标准是指对柴油机振动进行评估的依据和限制条件,通过对柴油机振动值的要求来保证其正常运行、安全可靠地工作。
柴油机的振动值标准通常涉及噪声、振动强度、频率等指标,下面对这些指标进行详细介绍。
1. 噪声标准:噪声是柴油机振动的一种表现形式,也是对人体健康和环境影响的重要因素。
通常根据柴油机的功率或者工作环境的特点,制定了噪声限制标准。
例如,对于柴油发电机组,在机组安装时,要求其在一定距离内的噪声水平不得超过特定的分贝数。
这可以通过在机组运行时测量噪声水平,然后与标准进行对比来判断。
2. 振动强度标准:柴油机运行时产生的振动强度是评估其性能和运行稳定性的重要指标。
振动强度主要包括加速度、速度和位移三个方面。
通常根据柴油机的类型和用途,制定了相应的振动强度标准。
例如,对于船舶柴油机,其振动强度标准要求有力度级别限制、频率范围限制和持续时间限制。
这些限制条件可以通过在柴油机不同位置安装振动传感器进行实时监测和记录来进行评估。
3. 频率标准:柴油机振动的频率也是评估其性能和运行稳定性的重要指标。
具体的频率标准由柴油机的设计和运行条件决定。
一般来说,柴油机的振动频率应在一定范围内,不得超过机组和设备的耐振度范围。
例如,对于柴油发电机组来说,其振动频率标准要求在低频和高频范围内保持稳定,以确保机组运行时的可靠性和稳定性。
4. 振动测试方法和仪器:为了准确评估柴油机的振动值是否符合标准要求,通常需要进行振动测试。
振动测试可以通过安装振动传感器和数据采集设备来完成。
常用的振动测试仪器包括振动传感器、振动计、振动仪等。
通过将这些仪器与柴油机相连接,可以实时采集和记录柴油机的振动数据,然后与标准进行对比,以判断柴油机的振动性能是否符合要求。
总之,柴油机振动值标准是为了保证柴油机的正常运行、安全可靠工作而制定的评估依据和限制条件。
噪声、振动强度和频率是常见的柴油机振动指标,相关标准根据柴油机的类型和用途而定。
设备动平衡、振动、噪声等级一、动平衡常用机械中包含着大量的作旋转运动的零部件,例如各种传动轴、主轴、电动机和汽轮机的转子等,统称为回转体。
在理想的情况下回转体旋转时与不旋转时,对轴承产生的压力是一样的,这样的回转体是平衡的回转体。
但工程中的各种回转体,由于材质不均匀或毛坯缺陷、加工及装配中产生的误差,甚至设计时就具有非对称的几何形状等多种因素,使得回转体在旋转时,其上每个微小质点产生的离心惯性力不能相互抵消,离心惯性力通过轴承作用到机械及其基础上,引起振动,产生了噪音,加速轴承磨损,缩短了机械寿命,严重时能造成破坏性事故。
为此,必须对转子进行平衡,使其达到允许的平衡精度等级,或使因此产生的机械振动幅度降在允许的范围内。
造成转子不平衡的因素很多,例如:转子材质的不均匀性,联轴器的不平衡、键槽不对称,转子加工误差,转子在运动过程中产生的腐蚀、磨损及热变形等。
这些因素造成的不平衡量一般都是随机的,无法进行计算,需要通过重力试验(静平衡)和旋转试验(动平衡)来测定和校正,使它降低到允许的范围内。
应用最广的平衡方法是工艺平衡法和整机现场动平衡法。
考虑到技术的先进性和经济上的合理性,国际标准化组织(ISO)于1940年制定了世界公认的ISO1940平衡等级,它将转子平衡等级分为11个级别,每个级别间以2.5倍为增量,从要求最高的G0.4到要求最低的G4000。
单位为公克×毫米/公斤(gmm/kg),代表不平衡对于转子轴心的偏心距离。
如下表所示:G4000 具有单数个气缸的刚性安装的低速船用柴油机的曲轴驱动件G1600 刚性安装的大型二冲程发动机的曲轴驱动件G630 刚性安装的大型四冲程发动机的曲轴驱动件弹性安装的船用柴油机的曲轴驱动件G250 刚性安装的高速四缸柴油机的曲轴驱动件G100 六缸和多缸高速柴油机的曲轴传动件;汽车、货车和机车用的发动机整机G40 汽车车轮、轮毂、车轮整体、传动轴,弹性安装的六缸和多缸高速四冲程发动机的曲轴驱动件G16 特殊要求的驱动轴(螺旋桨、万向节传动轴);粉碎机的零件;农业机械的零件;汽车发动机的个别零件;特殊要求的六缸和多缸发动机的曲轴驱动件G6.3 商船、海轮的主涡轮机的齿轮;高速分离机的鼓轮;风扇;航空燃气涡轮机的转子部件;泵的叶轮;机床及一般机器零件;普通电机转子;特殊要求的发动机的个别零件G2.5 燃气和蒸汽涡轮;机床驱动件;特殊要求的中型和大型电机转子;小电机转子;涡轮泵G1 磁带录音机及电唱机、 CD 、 DVD 的驱动件;磨床驱动件;特殊要求的小型电枢G0.4 精密磨床的主轴;电机转子;陀螺仪在选择平衡机之前,应先考虑转子所要求的平衡精度。
柴油机振动的原因
1.曲轴不平衡:曲轴是柴油机的主要组件之一。
如果曲轴不平衡,引擎在运转时就会产生振动。
2.气门不平衡:气门开关的不平衡会导致气门在工作时产生震动。
3.活塞不平衡:如果柴油机中的活塞不平衡,它将在工作时产生不规则的运动,引起振动。
4.燃油系统不平衡:柴油机的燃油系统中若出现不平衡,将导致引擎振动。
5.传动皮带不平衡:传动皮带的不平衡会导致摆臂、曲轴和其他部件的运动不平衡,从而引起引擎振动。
以上是柴油机振动的主要原因。
为了避免这些问题,最好定期保养和维护柴油机,确保所有组件都处于良好的状态。
- 1 -。
以曲柄连杆机构作为主要运动机构的船舶柴油机,由于存在作往复运动的部件和具有不平衡回转质量的部件,使柴油机产生大小及方向均交替变化的往复惯性力和方向交替变化的回转惯性力。
由于柴油机工作过程压力变化较大的特点,使输出的扭矩具有周期性的脉动。
此外,由于螺旋桨的叶片数目有限,加剧了轴系推力的变化。
这一切形成了柴油机的振动力源,导致了柴油机在工作时发生各种形式的振动。
柴油机的这些整动必定会通过基座螺栓传到船体,引起船体的振动。
其结果,不但会使柴油机机件磨损增加、噪音上升、恶化管理人员的生活及工作条件,影响其它机器和仪器的正常工作,而且还可能由于共振而造成柴油机装置的各种管子、附件等设备的损坏及柴油机装置本身的损坏,以致影响整个船舶的正常使用并可能造成威胁船舶安全的后果。
要使柴油机具有良好的动力性能,就必须正确分析振动力源的特性,词曲各种措施,减小以致消除这种振动力源的后果。
对于往复惯性力源及回转惯性力源,一般采用平衡方法来消除或减小其影响,这种方法称为柴油机平衡。
柴油机平衡又分为“外部平衡”和“内部平衡”。
当我们把柴油机的曲轴当作绝对刚体里分析其平衡特性时,称为“外部平衡”;电脑感考虑柴油机曲轴的弹性时,其平衡特性称为“内部平衡”。
对于轴系扭转振动力源及纵向振动力源,通常采用避振的方法来消除或减小其影响。
柴油机中作用力的基本来源有2个,一为汽缸内的气体力;一为柴油机主要运动部件产生的惯性力。
1.气体力:气体中的气体压力作用于活塞表面,形成气体力作用于活塞销。
气体力可分解成垂直于汽缸表面的柴油机侧推力与沿连杆中心线方向的连杆力。
侧推力传向汽缸套,而连杆力则作用于连杆。
2.往复惯性力:往复惯性力是由于活塞的质量和活塞加速度的存在而产生的。
往复惯性力的存在可以抵消一部分有气体力产生的汽缸侧推力及连杆力。
*综合往复惯性力的传递过程,可知:***在主轴承上存在着不平衡的往复惯性力,它将引起柴油机的上下振动;***往复惯性力使得柴油机颠覆力矩、汽缸侧推力及曲柄销的发向力在汽缸压力较大时有所减小;***往复惯性力虽使柴油机输出力矩在上止点附近有所减小,但在下止点附近又使其有所增大,故总体上不影响柴油机的输出功率;***通过计算可以证明,柴油机的颠覆力矩与其输出扭矩大小相等,方向相反。
3.离心力:回转部件的惯性力就是离心力。
***回转惯性力的方向永远是离心的,它的作用线与曲柄中心线重合,它随曲柄按角速度回转。
***曲柄销上的离心力直接传向主轴承,这就是不平衡的回转惯性力,它将引起柴油机体上下、左右振动。
4.连杆替代系统:在曲柄连杆机构的动力学中,连杆惯性力的问题常常用替代系统的方法来处理。
在采用替代系统时,为了使替代系统的动力效应与实际连杆的动力效应相同,必须满足以下三个条件,即:***替代系统的总质量等于原来连杆系统的总质量;***替代系统的重心位置要与原来连杆重心位置相重合;***以重心为轴心,替代系统的转动惯性应等于原来连杆系统的转动惯量。
*****在实际应用中,最普遍采用的连杆替代系统是两质量、一力偶系统。
这是把连杆质量的一部分集中在连杆小端中心,其余部分集中在连杆大端中心。
这样,连杆惯性力就大大简化了。
连杆小端质量集中在连杆小端作往复运动,故可并入原有的往复质量中一起计算往复惯性力;连杆大端质量集中在连杆大端,可并入不平衡回转部分的质量中一起计算离心惯性力;至于连杆力偶,由于在实际的连杆结构中的差值很小,通常忽略不计。
柴油机的平衡一.柴油机的振动概述从曲柄连杆机构的动力学分析中可以不难看出,机构作用力的基本来源有两个方面:一方面是气体压力;另一方面是由运动部件的运转而产生的惯性力,包括作往复运动的活塞组件和连杆小端等形成的往复惯性力,曲柄的不平衡部分及连杆大端等所形成的回转惯性力,以及连杆力偶。
至于其它的侧推力、切向力、发向力等都是在忽略了部分部件重量及摩擦力等因素的情况下,在以上力源的作用下所引起的。
因此,在分析时,只研究以上两个力源的作用结果。
***柴油机汽缸内的气体压力行上作用在汽缸盖上,通过汽缸盖螺栓将力传到机身,有使柴油机向上跳起的趋势;而另一方面,气体压力又作用在活塞顶上,通过连杆、曲柄传到主轴承上,最后同样传到机身,而有使柴油机向下的趋势。
两力正好相互抵消,而使柴油机保持不动。
所以,气体力不产生对外的作用效应。
但由于气体力在汽缸套上产生一侧推力,而字主轴承处分解成一侧向力,其大小与侧推力相等,但方向相反,而形成的“颠覆力矩”将使柴油机倾倒。
***柴油机的往复惯性力最终通过主轴承使柴油机产生上、下跳动的效应。
同时,往复惯性力也将使柴油机产生颠覆力矩,使柴油机有左右倾倒的趋势。
***柴油机的离心力将使柴油机形成上、下、左、右跳动的作用力,而连杆力偶则是使柴油机产生左右摇摆的力矩。
*****以上几种作用力或力矩都是周期性地发生变化的。
因此,但柴油机运转时,这些周期性变化的力或力矩将使柴油机产生周期性地跳动或摇动,这就是柴油机运转时引起共振的根源。
二。
单缸柴油机平衡性的分析单缸柴油机的振动力源有:**离心惯性力;**往复惯性力;**连杆力偶;**颠覆力矩。
三.多缸柴油机平衡性的分析在多缸柴油机中,由各缸的平面力系组成了一个空间力系。
所以,除了有合成的各种惯性力外,还会形成各种合成的惯性力矩。
多缸柴油机可能存在的振动力源有:***往复惯性合力及合力矩;***离心合力及合力矩;***颠覆力矩合力矩及连杆力偶合力矩四.柴油机的平衡1.单缸柴油机的平衡:引起电脑刚柴油机振动的力源有离心惯性力、往复惯性力、颠覆力矩、连杆力偶。
***单缸柴油机的离心惯性力平衡:为防止柴油机的振动,一般在曲柄臂上安装平衡重,使平衡重字回转中产生的离心力与离心惯性力的大小相等而方向相反;***单缸柴油机的往复惯性力的平衡:由于往复惯性力可以简化为一对正反转离心力之和,因此就可以采用像平衡离心力一样的平衡措施,即“正反转平衡轮系法”来平衡一次及二次往复惯性力。
“正反转平衡轮系法”是两对互相啮合并配有平衡重的齿轮,它们与柴油机曲轴有一定的正时关系,即:当曲柄处于上止点的位置时,平衡重垂直向下;当曲柄处于下止点时,平衡重应转向垂直向上的位置。
***颠覆力矩平衡:颠覆力矩由固定基座螺栓承受。
***连杆力偶平衡:一般可忽略而不采取平衡措施。
2.多缸柴油机的平衡:柴油机机体减振指的是消除或减轻柴油机机身在支承上的整体振动即外部振动。
外部平衡与内部平衡:***对多缸柴油机,如果采用适当的曲柄排列,可达到“外部平衡”。
但是,曲轴不是一个刚体,而是弹性体。
曲轴在惯性力的作用下回发生变形。
由于主轴承阻碍这种变形,致使主轴承和机座受到力和力矩的作用,而当机体刚度不足时,同样会产生或引起振动。
因此,在分析柴油机的平衡特性也就是它的振动力源时,不但要关心它的外部平衡特性,还要考虑到机身内部的受力情况。
如果它的内部受力过大,仍然要引起变形和振动。
***我们把考虑机身内部受力情况的平衡称为柴油机的“内部平衡”。
通常以柴油机达到某种程度的外部平衡后,曲轴所受的最的大的弯曲力矩(也称内力矩)来表征柴油机内部的平衡性。
使曲轴所受的最大弯曲力矩限制在安全范围内的平衡措施,即为内部平衡。
离心力及离心力矩的平衡:在单列多缸柴油机中,一般多采用均匀分布的曲柄排列方案,因此合成离心力都是自行平衡的。
但是,还可能存在不平衡的合成离心力矩。
不平衡合成离心力矩的平衡方法,一般可归纳为四种:***各缸平衡法:这是最彻底的平衡方法,即在每一曲柄上都装两块反向安置的平衡重,以平衡掉每个曲柄的离心力。
由于每个曲柄的离心力都消失了,自然就不存在总的不平衡合成离心力矩和不平衡合成离心力。
这种方法优点很多,不但作到了外部平衡,同时也作到了内部平衡,使柴油机的机身和曲轴受力情况最佳,但这种方法的平衡重数量多,重量较大。
***分段平衡法:将曲轴分成两段(或数段),而后分别对各段所存在的合成不平衡离心力矩采取平衡措施。
这是一种折衷方案,平衡并不彻底。
***整体平衡法:在曲轴首尾两个曲柄上各加一对方向相反的平衡重块,以消除全部曲柄的合成离心力矩。
它的优点是曲轴重量轻,但内部平衡性差,且平衡重在曲柄臂上要偏置安装。
***不规则平衡法:挑选若干个曲柄,在这些曲柄上配置平衡重块尽可能接近正放位置,最后达到平衡掉合成离心力矩的目的。
采用这种方法主要是为了同时能改善内部平衡特性及中间某些轴承的负荷。
一次和二次往复惯性力及惯性力矩的平衡:在多缸柴油机好,除了两缸机及四冲程四缸机有时存在不平衡的二次合成往复惯性力外,一般都由于采用均匀的清楚并排列,使得一次和二次合成往复惯性力都等于零,不必采用平衡措施。
因此,所要解决的主要是往复惯性力矩的平衡问题。
***各种缸数的曲轴排列的多缸柴油机的合成一次和二次往复惯性力矩一般是不平衡的。
***平衡往复惯性力矩的基本原理是在柴油机上装设一套正反转平衡轮系,使之产生一对正反方向回转的平衡力矩,以消除柴油机中存在的不平衡合成往复惯性力矩。
其平衡装置按传动方式的不同,可分为三种,即:***双轴平衡装置:一次往复惯性力矩通常采用双轴平衡装置。
两根平衡轴的一端均有齿轮传动,使之产生角速度正反向转动。
轴的两端装有2个平衡重,每2个平衡重的离心力合成一个垂直向下的作用力,只是轴两端的作用力大小相等、方向相反。
这样,当由平衡重形成的力矩与合成一次往复惯性力矩的大小相等而方向相反,就达到了平衡目的。
***首尾齿轮传动式平衡装置:二次往复惯性力矩通常采用首尾齿轮传动式平衡装置。
首尾两端分别用齿轮传动2个以角速度正反转的平衡重,以在柴油机纵剖面内产生一个平衡合成二次往复惯性力矩的平衡力矩。
***链条传动平衡装置:近年来,超长冲程与长冲程少缸数柴油机有很大到发展,从经济性考虑,船用主机开始使用4缸机或5缸机。
这一类超长冲程柴油机由于单缸往复质量增大,使得不平衡力矩有相当大的增加,必须采用响应的平衡措施。
这类柴油机用以平衡合成一次和二次往复惯性力矩的正、反转平衡重均由曲轴或凸轮轴通过链条传动,这种装置又称力矩补偿器。
***总颠覆力矩的平衡:作用在柴油机机体上的颠覆力矩,一般来说平衡比较困难。
对于多缸柴油机,当缸数增加时,发火就趋向均匀,总颠覆力矩的波动变小。
所以,对总颠覆力矩引起的振动一般不予平衡。
轴系扭转振动和减振柴油机轴系振动有回转振动、纵向振动及扭转振动三种振动形式。
其中以扭转振动最为常见,危害性最大。
强烈的扭转振动会使轴段疲劳断裂,轴系附件(连接螺栓、连轴节等)损坏,喷油、气阀等定时遭到破坏,从而造成柴油机经济性变差。
强烈的扭转振动还会影响柴油机的平衡性,诱发轴系产生强烈的回转振动和纵向振动,加剧柴油机噪音。
因此,世界上各大船级社的规范都对柴油机轴系的扭转振动制订了严格的控制条款。