江西省建设项目环境影响评价文件审批程序规定
- 格式:doc
- 大小:29.00 KB
- 文档页数:6
江西省建设项目环境影响评价文件分级审批规定为了加强江西省建设项目环境影响评价文件的审批工作,提高审批效率,保护生态环境,按照江西省建设项目环境影响评价工作相关法律法规的要求,制定本规定。
一、适用范围本规定适用于江西省内所有建设项目的环境影响评价文件的审批工作。
二、审批机构江西省环境保护厅负责江西省建设项目环境影响评价文件的审批工作。
三、文件分级根据建设项目的规模、性质和环境影响的程度,将环境影响评价文件分为三个级别:一般项目、重要项目和特别重要项目。
(一)一般项目一般项目是指对环境影响较小、规模较小、性质较简单的建设项目,如一些小型工业项目、小型农业项目等。
一般项目的环境影响评价文件由项目申请单位编制,并报送所在地县级以上环境保护行政主管部门审批。
审批时限不超过30个工作日。
(二)重要项目重要项目是指对环境影响较大、规模较大、性质较复杂的建设项目,如一些大型工业项目、大型水利工程等。
重要项目的环境影响评价文件由项目申请单位编制,并报送江西省环境保护厅审批。
审批时限不超过40个工作日。
(三)特别重要项目特别重要项目是指对环境影响极大、规模极大、性质极复杂的建设项目,如一些大型核电站、大型石化项目等。
特别重要项目的环境影响评价文件由项目申请单位编制,并报送国家环境保护部审批。
审批时限由国家环境保护部确定。
四、审批程序(一)一般项目的审批程序:1.项目申请单位将环境影响评价文件报送所在地县级以上环境保护行政主管部门。
2.环境保护行政主管部门按照规定的时限内审核评价文件,并发表审查意见。
3.项目申请单位根据环境保护行政主管部门的审查意见进行修改完善,重新报送环境保护行政主管部门。
4.环境保护行政主管部门再次审核评价文件,并做出审批决定。
(二)重要项目的审批程序:1.项目申请单位将环境影响评价文件报送江西省环境保护厅。
2.江西省环境保护厅按照规定的时限内审核评价文件,并发表审查意见。
3.项目申请单位根据江西省环境保护厅的审查意见进行修改完善,重新报送江西省环境保护厅。
江西省生态环境厅关于印发《江西省生态环境厅建设项目环境影响评价联审办法》的通知发布部门 : 江西省生态环境厅发文字号 : 赣环环评〔2021〕23号发布日期 : 2021.04.03实施日期 : 2021.04.03时效性 : 现行有效效力级别 : 地方规范性文件法规类别 : 环保综合规定江西省生态环境厅关于印发《江西省生态环境厅建设项目环境影响评价联审办法》的通知(赣环环评〔2021〕23号)厅机关各处室、厅属各单位:《江西省生态环境厅建设项目环境影响评价联审办法》已经厅长办公会审议通过,现印发给你们,请遵照执行。
江西省生态环境厅2021年4月3日江西省生态环境厅建设项目环境影响评价联审办法第一条为进一步提升环评审批质量和审批效率,严把环评审批关,合力助推我省经济社会高质量跨越式发展,结合我厅实际,制定本办法。
第二条建设项目环评审批联审以会议形式进行,如遇疫情防控等特殊情况,经领导同意后也可采用书面会签形式进行。
第三条环评联审会议以专题会形式召开,由分管环评的厅领导主持,厅环评处具体承办。
第四条环评联审会议由厅环评处有关人员及厅综合处、水处、大气处、土壤处、固体处、气候处、执法局等部门负责同志固定参加,遇特殊项目可视情邀请厅生态处、辐射处等其它相关部门负责人参加。
因故不能参加的需向主持会议的厅领导提出请假申请。
第五条环评联审会议原则上每月初召开一次,遇重点项目或紧急项目时,经请示厅领导同意后可随时召开。
第六条提交环评联审会议审查的对象为已受理待审批的编制环境影响报告书类建设项目。
第七条厅环评处应于联审会前3个工作日向厅有关处室局、单位送达上会项目的环境影响报告书、评估意见和项目清单。
第八条评估机构相关负责人参加环评联审会议并进行汇报,重点汇报项目概况、环保措施、评估基本结论、存在的问题风险以及对于项目的意见建议等内容,汇报文件格式见附件。
第九条各部门参会人员对项目的可行性进行审核把关并发表意见,因故不能参会人员应在会前向会议召集厅领导及厅环评处提交书面意见,逾期未提交的视为无意见。
根据建设项目环境影响评价评价审批程序的有关规定建设项目环境影响评价评价审批程序是指对于建设项目的环保影响进行预测、评价、管理和监督,并根据评价结果进行决策的程序。
根据国家规定,对于涉及环境保护和资源利用的重大建设项目,必须进行环境影响评价,并按照评价程序进行审批。
以下是根据“环境保护法”、“建设项目环境影响评价公众参与暂行办法”等有关法规制定的建设项目环境影响评价评价审批程序的有关规定。
评价申请1.建设单位在上报建设项目初步设计时,应当向环境保护部门提交环境影响评价申请,并在附加材料中提交环境影响评价报告书。
2.环境影响评价报告书应当包括建设项目的基本情况、项目与环境的关系、可能产生的环境影响评价及其分析和评价,以及环境管理措施等内容。
3.所有环境影响评价报告书均应进行公示,接受社会公众的意见和建议,并向社会公众进行公告。
评价审批1.环境保护部门对环境影响评价报告书内容进行审查,如果认为不符合相关法规和标准,可以要求建设单位进行改正。
2.环境保护部门应当制定审批方案,同时将方案送交有关部门审核,涉及重大项目的,还需报国务院批准。
3.审查方案通过后,环境保护部门发出环境影响评价批复文件,并将该文件送交有关部门。
过程监督1.建设单位应当严格按照环境影响评价批复文件和相关规定执行建设项目环境管理措施,并在建设过程中进行环境保护设施建设。
2.监管部门对建设项目环境影响实施监督,发现问题应当及时予以制止,并通报相关部门。
3.银行及其他不良信用记载的企业不得通过融资、招商等形式开展建设项目。
环境影响评价公众参与1.环境影响评价报告书的公示期不得少于20天。
2.环境影响评价报告书、评价方案及其他材料应当在环保部门等特定场合设置的共享平台上向社会公众免费公开。
3.环境影响评价专家评审会议应当在公众场合进行,征求社会公众的意见。
总之,建设项目环境影响评价评价审批程序是环保部门和建设单位共同遵守的一项法规,是为了保护环境和可持续发展。
国家环境保护总局令第29号国家环境保护总局建设项目环境影响评价文件审批程序规定《国家环境保护总局建设项目环境影响评价文件审批程序规定》已于2005年10月27日由国家环境保护总局2005年第二十次局务会议通过,现予公布,自2006年1月1日起施行。
国家环境保护总局局长解振华二○○五年十一月二十三日主题词:环保法规环境影响评价审批程序令环境保护总局建设项目环境影响评价文件审批程序规定第一章总则第一条为规范国家环境保护总局(以下简称“环保总局”)建设项目环境影响评价文件审批行为,提高审批行为的科学性和民主性,保护公民、法人和其他组织的合法权益,根据《中华人民共和国行政许可法》、《中华人民共和国环境影响评价法》和《国务院关于投资体制改革的决定》,制定本规定。
第二条本规定所称建设项目环境影响评价文件,是指建设项目环境影响报告书、环境影响报告表和环境影响登记表的统称。
第三条本规定适用于环保总局负责审批的建设项目环境影响评价文件的审批。
第四条按照国家规定实行审批制的建设项目,建设单位应当在报送可行性研究报告前报批环境影响评价文件。
按照国家规定实行核准制的建设项目,建设单位应当在提交项目申请报告前报批环境影响评价文件。
按照国家规定实行备案制的建设项目,建设单位应当在办理备案手续后和开工前报批环境影响评价文件。
第五条环保总局审批建设项目环境影响评价文件,遵循公开、公平、公正原则,做到便民和高效。
第二章申请与受理第六条建设单位按照环保总局公布的《建设项目环境保护分类管理名录》的规定,组织编制环境影响报告书、环境影响报告表或者填报环境影响登记表。
其中,对按规定编制环境影响报告书或者环境影响报告表的建设项目,建设单位应当委托具备甲级环境影响评价资质的机构编制。
第七条建设项目环境影响报告书主要包括下列内容:(一)项目概况;(二)周围环境现状;(三)对环境可能造成影响的分析、预测和评估;(四)环境保护措施及其技术、经济论证;(五)对环境影响的经济损益分析;(六)实施环境监测的建议;(七)评价结论。
环评审批流程环境影响评价(Environmental Impact Assessment,EIA)是指在规划、建设项目或政策、计划实施前,对其可能产生的环境影响进行预测、评价和控制,以便在决策中考虑环境保护的一种管理工具。
环评审批流程是指项目环境影响评价文件的审批程序,下面将对环评审批流程进行详细介绍。
一、环评审批流程的主要内容。
1. 环评文件的提交。
项目建设单位在完成项目环境影响评价报告书后,需将环评文件提交给环境保护主管部门进行审批。
提交的环评文件应包括项目的环境影响评价报告书、环境影响登记表、环境影响评价报告书的摘要、环境影响评价公众参与意见的反馈等相关材料。
2. 环评文件的受理。
环境保护主管部门在收到环评文件后,将进行环评文件的受理工作。
受理环评文件后,环境保护主管部门将组织专家对环评文件进行评审,对环评文件的内容进行审核,确保其符合相关法律法规和技术标准。
3. 环评文件的公示。
环评文件经过受理后,环境保护主管部门将对环评文件进行公示。
公示内容包括环境影响评价报告书的摘要、环境影响评价公众参与意见的反馈等。
公示的目的是让公众了解项目的环境影响评价情况,提出意见和建议。
4. 环评文件的审批。
经过公示后,环境保护主管部门将对环评文件进行审批。
审批的内容包括对环境影响评价报告书的内容进行审核,对公众参与意见的反馈进行处理,最终决定是否批准项目的环境影响评价报告书。
5. 环评文件的监督。
项目环境影响评价报告书获得批准后,环境保护主管部门将对项目的环境影响评价实施过程进行监督,确保项目按照批准的环境影响评价报告书进行实施,保障环境保护的有效性。
二、环评审批流程的重要性。
环评审批流程是保障项目环境影响评价工作的重要环节,对于项目的合法性和环境保护的有效性具有重要意义。
严格按照环评审批流程进行审批,可以确保项目在规划、建设过程中充分考虑环境保护,有效控制环境污染,保障生态环境的可持续发展。
三、环评审批流程的完善与改进。
江西省人民政府办公厅关于印发《江西省建设项目环境影响评价文件分级审批规定》的通知文章属性•【制定机关】江西省人民政府•【公布日期】2005.12.21•【字号】赣府厅发[2005]63号•【施行日期】2006.02.01•【效力等级】地方规范性文件•【时效性】失效•【主题分类】城乡建设综合规定正文江西省人民政府办公厅关于印发《江西省建设项目环境影响评价文件分级审批规定》的通知(赣府厅发〔2005〕63号2005年12月21日)各市、县(区)人民政府,省政府各部门:《江西省建设项目环境影响评价文件分级审批规定》已经省政府同意,现印发给你们,请遵照执行。
江西省建设项目环境影响评价文件分级审批规定为适应社会主义市场经济和国家投资体制改革的需要,规范建设项目环境影响评价文件分级审批管理,提高办事效率,依照《中华人民共和国环境保护法》、《中华人民共和国环境影响评价法》、《中华人民共和国自然保护区条例》、《建设项目环境保护管理条例》和《江西省建设项目环境保护条例》等有关法律法规和《国务院关于投资体制改革的决定》、国家环保总局建设项目环境影响评价分级审批有关规定,制定本规定。
第一条建设对环境有影响的项目,不论投资主体、资金来源、项目性质和投资规模都应当依照《中华人民共和国环境影响评价法》等有关法律法规和规定,进行环境影响评价,向有审批权的环境保护行政主管部门(以下简称环保部门)报批环境影响评价文件。
各级环保部门根据建设项目对环境影响程度,结合建设地域环境和项目污染特征等因素对建设项目环境影响评价文件实行分类管理、分级审批。
第二条投资建设需政府投资主管部门审批、核准或备案管理的项目中,实行审批制的建设项目,建设单位应当在报送可行性研究报告前完成环境影响评价文件报批手续;实行核准制的建设项目,建设单位应当在提交项目申请报告前完成环境影响评价文件报批手续;实行备案制的建设项目,建设单位应当在办理备案手续后和项目开工前完成环境影响评价文件报批手续。
江西省生态环境厅法规规章库建设项目环境保护管理条例范本一:一、总则为加强建设项目环境保护管理工作,保护和改善生态环境,维护人民群众生命健康和国家生态安全,根据国家有关法律法规,制定本条例。
二、建设项目环境影响评价管理(一)建设项目环境影响评价范围和类别1. 建设项目环境影响评价范围的确定:a. 建设项目范围;b. 建设项目使用的自然资源和能源转化过程;c. 建设项目可能产生的环境影响;d. 其他需要考虑的因素。
2. 建设项目环境影响评价类别的划分:a. A类建设项目,需要进行全面评价;b. B类建设项目,需要进行局部评价;c. C类建设项目,不需要进行评价。
(二)建设项目环境影响评价程序1. 前期工作及申报:a. 填写环境影响报告书;b. 提交申请材料。
2. 现场调查和数据采集:a. 进行现场勘察;b. 采集相关数据和信息。
3. 环境影响评价报告的编制:a. 分析评价环境影响;b. 提出相应的环境保护措施。
4. 审批和公示:a. 环境保护部门审批;b. 公示。
(三)建设项目环境影响评价管理措施1. 建设项目环境保护设施的建设与管理;2. 建设项目环境监测与监管;3. 建设项目环境保护宣传教育;4. 建设项目环境管理和保护责任;5. 建设项目环境违法行为处罚。
附件:1. 建设项目环境影响评价报告书格式;2. 建设项目环境影响评价申请材料清单;3. 建设项目环境影响评价审批意见书。
法律名词及注释:1. 建设项目:指在一定范围内,利用土地、资源、能源、水域和空间,经过工程建设活动,形成或者改变用于农、林、牧、渔、工业、能源、交通、水利、旅游、城市建设等的设施和条件的活动。
2. 环境影响评价:指预测和评价建设项目可能产生的环境影响,提出环境保护对策并对其实施效果进行监测和评价的过程。
范本二:一、总则为加强建设项目环境保护管理工作,保护和改善生态环境,维护人民群众生命健康和国家生态安全,根据国家有关法律法规,制定本条例。
国家环境保护总局建设项目环境影响评价审批程序规定国家环境保护总局建设项目环境影响评价审批程序规定1. 简介国家环境保护总局建设项目环境影响评价审批程序规定是为了加强对建设项目的环境影响评价工作的监督和管理,保护和改善生态环境,促进可持续发展而制定的。
本规定适用于所有建设项目环境影响评价审批的程序。
2. 环境影响评价的申请材料申请进行环境影响评价的建设项目需按照以下要求准备材料:项目背景和基本情况介绍;项目可行性研究报告;项目设计规划方案;环境影响评价报告和相应的技术文件;相关法律法规的依据文件。
3. 环境影响评价审批程序3.1 申请阶段申请单位需向国家环境保护总局递交环境影响评价审批申请,包括申请表、申请材料和相关费用的缴纳凭证。
申请资料需按照规定的格式和要求进行提交。
3.2 审批阶段国家环境保护总局在收到申请材料后,将组织专家对环境影响评价报告进行评审,并对项目的环境影响程度进行评估。
评审过程中,专家可以提出修改意见,申请单位必须认真对待,并根据意见进行相应的调整和改进。
3.3 审批结果收到环境影响评价报告后,国家环境保护总局将在一定时间内作出审批决定,并书面通知申请单位。
审批结果分为批复和不批复两种情况。
如果审批决定为不批复,将明确说明原因,并告知申请单位可以进行相应的调整后重新申请。
3.4 公示和听证国家环境保护总局在作出审批决定后,将依法对审批结果进行公示,并给予申请人提出了异议的权利。
在公示期内,任何单位和个人都有权对审批结果提出异议,并申请进行听证。
听证环节的具体程序和要求将在另行规定中进行说明。
4. 监督和管理国家环境保护总局负责对建设项目环境影响评价审批过程进行监督和管理。
主要包括以下方面:对环境影响评价报告的编制和审批进行监督,确保其科学、合理、准确;对环境保护设施和措施的实施进行监督,确保其符合法律法规和审批条件;对环境影响评价审批结果的执行情况进行监督,确保相关措施得到有效实施;对环境影响评价审批程序的执行情况进行监督,发现并纠正违法行为。
江西省建设项目环境影响评价文件审批程序规定第一章总则第一条为规范江西省建设项目环境影响评价文件审批行为,保障审批行为的科学性和民主性,保护公民、法人和其他组织的合法权益,根据《中华人民共和国行政许可法》、《中华人民共和国环境影响评价法》、《国务院关于投资体制改革的决定》和《国家环境保护总局建设项目环境影响评价审批程序规定》,制定本规定。
第二条本规定所称建设项目环境影响评价文件,是指建设项目环境影响报告书、环境影响报告表和环境影响登记表的统称。
第三条本规定适用于江西省设区市以上环境保护行政主管部门(以下简称“环保部门”)负责审批的建设项目环境影响评价文件的审批。
县级环保部门的审批可参照本规定执行。
第四条建设项目环境影响评价文件的审批遵循公开、公平、公正原则,做到便民和高效。
第五条按照国家规定实行审批制的建设项目,建设单位应当在报送可行性研究报告前报批环境影响评价文件。
按照国家规定实行核准制的建设项目,建设单位应当在提交项目申请报告前报批环境影响评价文件。
按照国家规定实行备案制的建设项目,建设单位应当在办理备案手续后和开工前报批环境影响评价文件。
第六条各级环保部门将法律、法规、规章规定的有关行政许可的事项、依据、条件、数量、程序、期限以及需要提交的全部材料的目录和申请书示范文本等在办公场所公示,同时,省环保局在政府网站(网址:)公示。
第二章申请与受理第七条建设单位按照国家环境保护总局公布的《建设项目环境保护分类管理名录》的规定,组织编制环境影响报告书、环境影响报告表或者填报环境影响登记表。
其中,对按规定编制环境影响报告书或者环境影响报告表的建设项目,建设单位应当委托具备建设项目相应的环境影响评价资质的机构编制。
建设项目环境影响报告表和环境影响登记表,分别按照国家环境保护总局公布的内容、格式编制或填报。
第八条建设单位应当按照《江西省建设项目环境影响评价文件分级审批规定》向有审批权的环保部门提出申请,提交下列材料,并对所有申报材料内容的真实性负责:(一)建设项目环境影响评价文件报批申请书1份;(二)建设项目环境影响评价文件文字版一式3份,电子版1份;(三)建设项目建议书批准文件(审批制项目)或备案准予文件(备案制项目)1份;(四)下一级环保部门初审意见;(五)依据有关法律法规规章应提交的其他文件。
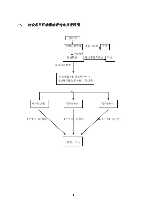
一、建设项目环境影响评价审批流程图
3个工作日内办结 5个工作日内办结 10个工作日内办结。
2
二、 建设项目环境保护验收审批
三、行政处罚流程图
四、排污费征收流程图
五、行政复议程序
(情况复杂可延长30日)
限期履行维持变更撤销确认违法
建设项目环境影响报告书审批
1、办理事项:建设项目环境影响报告书审批
2、办理部门:新区规划建设环保局
3、办事依据:《中华人民共和国环境影响评价法》、《国务院建设项目环境管理条例》、《江苏省太湖水污染防治条例》、《江苏省环境噪声污染防治条例》、《无锡市环境噪声污染防治管理办法》
4、申报材料:
1)、资质单位编制《建设项目环境影响报告书》
2)、专家审查意见
3)、建设项目环境影响报告书光盘
5、办事程序:窗口受理-经办人现场勘察-审核-窗口发放批准文件
6、核发文件:《建设项目环境影响报告书》审批意见
7、办理期限:15个工作日
8、收据费依据与标准:无
9、办事告知:无
欢迎您的下载,
资料仅供参考!
致力为企业和个人提供合同协议,策划案计划书,学习资料等等
打造全网一站式需求。
建设项目环保手续(环境影响报告书)审批流程一、审批程序1、申请与受理。
按照《建设项目环境保护分类管理名录》的规定,建设单位应当对可能造成重大环境影响的建设项目组织编制环境影响报告书。
采取法定形式向国家环境保护总局提出申请,提交相关材料。
国家环境保护总局行政审批大厅受理建设单位提交的建设项目环境影响报告书及相关材料,并进行核验,作出予以受理或不予受理的处理。
2、项目审查。
国家环境保护总局环境影响评价管理司对建设项目环境影响报告书进行审查。
需要进行技术评估的,由评估机构组织专家对环境影响报告书进行技术评估,评估机构应在30个工作日内提交评估报告。
3、项目批准。
国家环境保护总局环境影响评价管理司根据审查和评估结论提出审批建议,经相关司会签后报国家环境保护总局局长专题会和局务会审议,经审议通过后办理批件。
4、听证与信息公开。
国家环境保护总局在政府网站公布受理的建设项目信息;在作出予以批准的决定前,公示拟批准的建设项目信息;作出批准决定后,公开审批结果。
对可能影响项目所在地居民生活环境质量以及存在重大意见分歧的建设项目,可以举行听证会、论证会、座谈会,征求有关单位、专家和公众的意见。
国家规定需要保密的建设项目除外。
二、提交材料1、申请书一份;2、建设项目环境影响报告书文字版一式八份,电子版一式两份;3、项目建议书批准文件(审批制项目)或备案准予文件(备案制项目)一份;4、根据有关法律法规应提交的其他文件。
三、承诺时限60个工作日(需要进行听证、专家评审和技术评估的,一般不超过90个工作日,个别重大环境敏感项目一般不超过120个工作日)四、法律、法规依据1、《中华人民共和国环境保护法》第十三条2、《中华人民共和国环境影响评价法》第二十二条、第二十三条、第二十四条3、《中华人民共和国水污染防治法》第十三条4、《中华人民共和国大气污染防治法》第十一条5、《中华人民共和国固体废物污染环境防治法》第十三条6、《中华人民共和国环境噪声污染防治法》第十三条7、《中华人民共和国海洋环境保护法》第四十三条8、《中华人民共和国放射性污染防治法》第十八条、第二十条、第二十九条、第三十四条9、《建设项目环境保护管理条例》第六条、第十条、第十一条、第十二条-----扩展资料----根据《环评法》第17条和《建设项目环保管理条例》第8条规定:建设项目的环境影响报告书应当包括下列必备内容:(一)建设项目概况;(二)建设项目周围环境现状;(三)建设项目对环境可能造成影响的分析、预测和评估;(四)建设项目环境保护措施及其技术、经济论证;(五)建设项目对环境影响的经济损益分析;(六)对建设项目实施环境监测的建议;(七)环境影响评价的结论。
国家环境保护总局建设项目环境影响评价审批程序规定国家环境保护总局建设项目环境影响评价审批程序规定第一章总则第一条为了加强对建设项目环境影响评价的管理,保护和改善环境质量,促进可持续发展,根据《中华人民共和国环境影响评价法》和相关法律法规,制定本规定。
第二条本规定适用于计划进行建设项目环境影响评价的各类建设项目,包括但不限于工业、农业、交通、水利、能源、房地产等领域的项目。
第三条建设项目环境影响评价审批应遵循公开、公平、公正、高效、科学原则。
第二章环境影响评价审批程序第四条建设单位应向国家环境保护总局申请建设项目环境影响评价审批,并提供以下材料:1、项目情况介绍,包括项目名称、地点、建设内容等;2、环境影响评价报告书及其他相关技术文件;3、相关的规划许可证明文件;4、相关的环境保护政策、法律法规的符合性证明文件。
第五条国家环境保护总局应根据建设项目的复杂程度和可能对环境造成的影响,依法进行审批决策,并及时告知建设单位审批结果。
第六条建设项目环境影响评价审批程序包括:1、预审:国家环境保护总局对建设项目进行初步审查,确定是否需要进行详细评价;2、详细评价:建设单位根据国家环境保护总局的要求,进行详细的环境影响评价;3、审批决策:国家环境保护总局根据环境影响评价结果和相关法律法规,作出审批决策。
第三章环境影响评价结果监测第七条审批决策后,建设单位应按照国家环境保护总局的要求,进行环境影响评价结果的监测,并定期向国家环境保护总局提交监测报告。
第八条国家环境保护总局应对建设项目的环境影响进行监督检查,保证建设单位按照审批决策和环境保护要求进行项目建设。
附件:1、项目情况介绍表格法律名词及注释:1、建设单位:指拟进行建设项目的申请人或者组织。
2、环境影响评价:指对建设项目可能产生的直接或间接的环境影响进行预测、评估、分析、比较和研究的过程。
3、环境影响评价报告书:指建设单位编制的详细描述建设项目可能产生的环境影响、提出环境保护措施的文书。
建设项目环境影响评价文件审批流程建设项目环境影响评价(简称环评)是对拟建项目对环境可能产生的影响进行科学评价和预测的过程,是项目审批过程中的重要环节。
环评文件审批流程是指环评文件从提交到最终获得审批通过的整个过程,本文将介绍一个典型的环评文件审批流程。
1.环评文件编制:项目申请单位委托环评顾问机构编制环评文件,包括环境影响评价报告、环评报告汇编和环评公众参与报告等。
编制过程中需充分考虑项目的环境影响、环境保护技术措施等,以满足相关法律法规和规范要求。
2.提交环评文件:环评文件编制完成后,项目申请单位将环评文件提交给主管部门。
申请单位还需同时向相关县级环保局递交《环境影响登记表》。
3.主管部门初审:主管部门收到环评文件后进行初审,初审的目的是确认环评文件的完整性和合规性。
初审过程中,主管部门可能会与项目申请单位进行沟通和协商,明确文件缺失或不完善的部分,并要求进行补正。
4.召开专家会议:初审通过的环评文件将会召开专家会议,邀请相关领域的专家对环评文件进行评审。
专家会议的目的是对环评文件进行科学性、可行性和合规性的综合评价,确定环评文件存在的问题,并提出改进建议。
6.公示和听证:环评文件通过环保部门的审核后,需要进行公示和听证。
公示的目的是向社会公众公开环评文件和审核结果,征求公众意见。
听证的目的是为了让相关利益方就项目的环境影响和环境保护措施进行提问和表达意见。
7.最终审批:公示和听证结束后,环保部门会根据公众意见和专家评审结果,综合考虑项目的环境影响,最终决定是否批准环评文件。
如果审批通过,项目申请单位将获得环评批复文件,可以继续进行后续的工程建设程序。
上述是一个典型的建设项目环评文件审批流程,不同地区和不同项目的审批流程可能会有一定差异,但总体流程大致类似。
在具体操作过程中,需要严格按照法律法规和相关规范的要求进行操作,确保环评的科学性、合规性和公正性。
同时,在环评流程中,公众参与的角色非常重要,他们的监督和意见也会对审批结果产生一定的影响。
江西省人民政府办公厅关于印发《江西省建设项目环境影响评
价文件分级审批规定》的通知
无
【期刊名称】《江西省人民政府公报》
【年(卷),期】2012(000)013
【摘要】各市、县(区)人民政府,省政府各部门:《江西省建设项目环境影响评价文件分级审批规定》已经省政府同意,现印发给你们,请遵照执行。
【总页数】3页(P24-26)
【作者】无
【作者单位】不详
【正文语种】中文
【中图分类】F832.4
【相关文献】
1.江西省人民政府办公厅关于印发《江西省乡镇(街道)统计基础工作规范化管理暂行办法》和《江西省企业统计基础工作规范化管理暂行办法》的通知:江西省乡镇(街道)统计基础工作规范化管理暂行办法 [J],
2.江西省人民政府办公厅关于印发江西省食品安全举报奖励办法的通知--江西省食品安全举报奖励办法 [J], 无;
3.中共江西省委办公厅江西省人民政府办公厅关于印发《江西省2013—2015年文化改革发展纲要》的通知 [J], 无
4.江西省人民政府办公厅关于印发江西省新闻出版局(江西省版权局、江西省出版
总社)职能配置、内设机构和人员编制方案的通知 [J], ;
5.江西省人民政府办公厅关于印发江西省城乡建设用地增减挂钩节余指标调剂实施细则和江西省跨设区市补充耕地省级统筹调剂管理办法的通知 [J],
因版权原因,仅展示原文概要,查看原文内容请购买。
建设项目环评审批流程建设项目环评(环境影响评价)是对建设项目进行环境效应评估和环境管理措施论证的过程,以确定项目对环境的影响,并提出相应的环保建议和改善措施。
建设项目环评审批流程是指项目进行环评的过程中,相关审批部门对环评报告进行审批的一系列环节和程序。
下面将详细介绍建设项目环评审批流程。
一、立项阶段在项目立项阶段,项目的申请者首先需要提交项目立项申请报告。
报告中应包含项目的基本信息、项目的规模和建设内容、建设地点、项目的环境影响情况初步评价等内容,并对环评报告编制进行规划。
二、环评编制阶段项目的申请者需要根据环评编制要求,择优选聘环境影响评价机构编制环评报告。
环评报告中需要详细描述项目的基本情况、规划分析情况、环境影响评价、环境管理措施等内容,并进行环境风险评估和可行性研究。
环评编制完成后将报送环境保护主管部门进行初审。
三、初审和公示阶段环境保护主管部门对环评报告进行初审,包括对报告的格式、内容和技术可行性等进行审查。
如果初审通过,环评报告将进行公示。
公示期一般为15至30天,公示内容应包括项目的环境影响评价情况、环境保护政策和法律法规等。
四、专家评审阶段在公示期结束后,由环保主管部门组织专家对环评报告进行评审。
专家评审会一般在项目所在地召开,由环保主管部门组织并邀请相关领域的专家参加。
专家评审会将对环评报告的科学性、可行性和环保措施是否合理等进行评审,形成专家评审意见。
五、批复阶段环保主管部门、其他相关部门和专家评审会意见齐全后,将会组织环评报告的批复,作为项目审批的依据。
环评报告批复会明确项目的环境影响评估等级,并提出项目建设的环境保护措施和监测要求。
六、监督阶段项目的申请者在获得环评报告批复后,需要按照批复要求进行建设,并按照要求实施环境保护措施和监测。
环保主管部门将组织对项目建设过程和运行情况进行监督,确保项目建设符合环评报告的要求。
以上即是建设项目环评审批流程的一般性介绍。
在实际操作中,由于项目类型和地区差异等原因,可能会有一些细节和程序的变化。
环评报告书中的环评审批程序与要求一、引言环境影响评价(Environmental Impact Assessment,简称EIA)是为了预测和评估建设项目对环境产生的潜在影响,从而指导决策者合理规划和管理项目的环境保护工作。
在环评报告书中,环评审批程序与要求是确保环境影响评价工作符合法律法规和规范要求的核心内容。
本文将围绕环评报告书中的环评审批程序与要求展开详细论述。
二、环评审批程序1. 环评报告编制环评报告编制是环评审批程序的首要步骤。
根据国家和地方相关法律法规的规定,项目建设单位应委托具有资质的环境评价组织编制环评报告。
编制过程中,需要对项目环境影响进行全面调查,明确评价范围和对象,并进行预测模拟与分析。
同时,需考虑环境保护目标和标准,提出环境保护措施与对策。
2. 环评报告提交完成环评报告编制后,项目建设单位应按照相关要求将环评报告提交审批机关。
审批机关会对环评报告进行评审核对,确保其内容完整、准确、科学可行。
同时,还会核实环评报告编制的程序是否合规,如环境调查、评价方法、专家评审等。
审批机关应在规定的时间内作出审批决策。
3. 公众参与环境影响评价是一项公众利益事务,公众参与是环评审批程序中不可或缺的环节。
审批机关在环评审批过程中应充分听取公众的意见和建议,组织公示、听证或座谈会等形式,确保公众的合法权益得到保障。
公众参与能够提升环评报告的透明度和可信度,促进社会各方面的共识。
三、环评审批的法律法规要求1. 环境保护法律法规环境保护法律法规是环评审批的法律依据。
我国环境保护法、《环境影响评价法》等文件规定了环境影响评价的基本原则、程序和管理措施。
审批机关在进行环评审批时,必须严格按照法律法规的要求进行,确保程序合法、权力合理。
2. 环评指南与规范环评指南与规范是具体指导环评工作的文件,涵盖了环评报告编制、评价方法、环保要求等细节事项。
在编制环评报告时,项目建设单位应参考当地、行业相关的环评指南与规范,确保环评报告的科学性与规范性。
江西省建设项目环境影响评价文件审批程序规定
第一章总则
第一条为规范江西省建设项目环境影响评价文件审批行为,保障审批行为的科学性和民主性,保护公民、法人和其他组织的合法权益,根据《中华人民共和国行政许可法》、《中华人民共和国环境影响评价法》、《国务院关于投资体制改革的决定》和《国家环境保护总局建设项目环境影响评价审批程序规定》,制定本规定。
第二条本规定所称建设项目环境影响评价文件,是指建设项目环境影响报告书、环境影响报告表和环境影响登记表的统称。
第三条本规定适用于江西省设区市以上环境保护行政主管部门(以下简称“环保部门”)负责审批的建设项目环境影响评价文件的审批。
县级环保部门的审批可参照本规定执行。
第四条建设项目环境影响评价文件的审批遵循公开、公平、公正原则,做到便民和高效。
第五条按照国家规定实行审批制的建设项目,建设单位应当在报送可行性研究报告前报批环境影响评价文件。
按照国家规定实行核准制的建设项目,建设单位应当在提交项目申请报告前报批环境影响评价文件。
按照国家规定实行备案制的建设项目,建设单位应当在办理备案手续后和开工前报批环境影响评价文件。
第六条各级环保部门将法律、法规、规章规定的有关行政许可的事项、依据、条件、数量、程序、期限以及需要提交的全部材料的目录
和申请书示范文本等在办公场所公示,同时,省环保局在政府网站(网址:)公示。
第二章申请与受理
第七条建设单位按照国家环境保护总局公布的《建设项目环境保护分类管理名录》的规定,组织编制环境影响报告书、环境影响报告表或者填报环境影响登记表。
其中,对按规定编制环境影响报告书或者环境影响报告表的建设项目,建设单位应当委托具备建设项目相应的环境影响评价资质的机构编制。
建设项目环境影响报告表和环境影响登记表,分别按照国家环境保护总局公布的内容、格式编制或填报。
第八条建设单位应当按照《江西省建设项目环境影响评价文件分级审批规定》向有审批权的环保部门提出申请,提交下列材料,并对所有申报材料内容的真实性负责:
(一)建设项目环境影响评价文件报批申请书1份;
(二)建设项目环境影响评价文件文字版一式3份,电子版1份;(三)建设项目建议书批准文件(审批制项目)或备案准予文件(备案制项目)1份;
(四)下一级环保部门初审意见;
(五)依据有关法律法规规章应提交的其他文件。
第九条环保部门对建设单位提出的申请和提交的材料,根据情况分别作出如下处理:
(一)申请材料齐全、符合法定形式的,予以受理,并出具受理回执;(二)申请材料不齐全或不符合法定形式的,当场或在5 日内一次告知建设单位需要补正的全部内容;
(三)按照审批权限规定不属于本部门审批的申请事项,不予受理,并告知建设单位向有关行政机关申请。
第十条各级环保部门根据本部门实际情况,采取有效方式公布受理的建设项目信息。
国家规定需要保密的除外。
第三章审查
第十一条环保部门受理建设项目环境影响评价文件后,认为需要进行技术评估的,由环境影响评估机构对环境影响评价文件进行技术评估,组织专家评审。
评估机构一般应在30日内提交评估报告,并对评估结论负责。
省环保局审批部门定期对受理的建设项目环境影响报告书进行汇审。
对环境可能造成重大影响、应当编制环境影响报告书的建设项目报省建设项目环境保护审查委员会审定。
第十二条对可能严重影响项目所在地居民生活环境质量的建设项目,以及存在重大意见分歧的建设项目,环保部门可以举行听证会,听取有关单位、专家和公众的意见,并公开听证结果,说明对有关意见采纳或不采纳的理由。
第十三条环保部门主要从下列方面对建设项目环境影响评价文件进行审查:
(一)是否符合环境保护相关法律法规。
建设项目涉及依法划定的自
然保护区、风景名胜区、生活饮用水水源保护区及其他需要特别保护的区域的,应当符合国家有关法律法规关于该区域内建设项目环境管理的规定;依法需要征得有关机关同意的,建设单位应当事先取得该机关同意。
(二)是否符合国家产业政策和清洁生产标准或者要求。
(三)建设项目选址、选线、布局是否符合区域、流域规划和城市总体规划。
(四)项目所在区域环境质量是否满足相应环境功能区划和生态功能区划标准或要求。
(五)拟采取的污染防治措施能否确保污染物排放达到国家和地方规定的排放标准,满足污染物总量控制要求;涉及可能产生放射性污染的,拟采取的防治措施能否有效预防和控制放射性污染。
(六)是否按规定进行环境风险评价,是否提出可行的环境风险应急预案和事故防范、减缓措施。
(七)拟采取的生态保护措施能否有效预防和控制生态破坏。
第十四条建设项目环境影响评价文件自批准之日起超过五年,方决定该项目开工建设的,其环境影响评价文件应当报原审批部门重新审核。
环保部门从下列方面对环境影响评价文件进行重新审核:
(一)建设项目所在区域环境质量状况有无变化;
(二)原审批中适用的法律、法规、规章、标准有无变化。
第四章批准
第十五条符合本规定第十三条所列条件,经审查通过的建设项目,或十四条中所列情况均未发生变化的重新审核项目,环保部门作出予以批准或核准的决定,并书面通知建设单位。
对不符合条件的建设项目,环保部门作出不予批准的决定,书面通知建设单位,并说明理由,同时告知申请人享有依法申请行政复议或者提起行政诉讼的权利。
第十六条环保部门在作出批准决定后,采取有效方式公开建设项目审批文件,供公众查阅。
第十七条建设单位对审批或重新审核决定有异议的,可依法申请行政复议或提起行政诉讼。
第五章期限
第十八条各级环保部门应当自收到环境影响报告书之日起60日内,收到环境影响报告表之日起30日内,收到环境影响登记表之日起15日内,根据审查结果,分别作出相应的审批决定并书面通知建设单位。
第十九条重新审核的建设项目,各级环保部门应当自收到环境影响评价文件之日起10日内,将审核意见书面通知建设单位。
第二十条依法需要进行听证、专家评审和技术评估的,所需时间不计算在本章规定的期限内。
第六章附则
第二十一条由省环保局和设区市环保局负责审批环境影响评价文件的建设项目,依法可以委托项目所在地的下一级环保部门审批其环境影响评价文件。
受委托的环保部门按照委托权限审批建设项目环境影
响评价文件,并将审批决定向委托的环保局备案。
第二十二条设区市环保部门于每月5日前向省环保部门上报辖区内(含县级)上月建设项目审批项目清单,省环保部门定期在政府网站公布全省建设项目审批项目清单。
第二十三条本规定由江西省环境保护局负责解释。
第二十四条本规定自2006年2月14日起实施。