干部选拔任用程序共28页
- 格式:ppt
- 大小:3.27 MB
- 文档页数:28
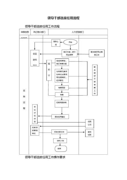
领导干部选拔任用流程领导干部选拔任用工作流程领导干部选拔任用工作操作要求一、制订方案,进行民主推荐(一)组成工作组,拟订民主推荐工作方案;(二)组织进行民主推荐;1、召开民主推荐动员会,公布推荐职务、任用条件、推荐范围,由所在单位提供参会人员花名册、符合推荐条件人员花名册。
参会人员范围一般为单位领导班子成员、直属(下属)单位主要负责人以及其他相关人员,如单位人数较少则可全体人员参加。
2、组织进行会议投票推荐和个别谈话推荐(民主推荐表见附件1、2、3,谈话推荐表见附件4)。
3、工作组对推荐票进行分类统计,民主推荐结果在一年内有效。
4、工作组将推荐情况报人力资源部门研究后向党委汇报。
二、党委会议研究,确定考察对象由人力资源部门根据民主推荐情况,结合工作需要,提出意见报党委会议研究,确定考察对象。
三、组织干部考察(一)组成考察组,拟订考察方案。
人力资源部门组织成立2人以上的干部考察工作组,制订考察工作方案。
考察组要由思想政治好、有较丰富工作经验并熟悉干部工作的同志组成;(二)沟通意见。
与考察对象所在单位主要负责人就考察工作方案沟通情况,征求意见;(三)考察预告。
考察前须根据考察对象的不同情况,通过适当方式在一定范围内进行考察预告(附件5);(四)进行考察;1、召开会议,确定参会人员范围,明确工作程序和要求。
对考察对象进行民主测评(附件6《民主测评表》),填写《干部民主测评汇总表》(附件7)。
2、组织个别谈话,详细了解考察对象德能勤绩廉各方面表现情况,征求谈话人对被考察对象拟任职的意见。
谈话人员范围一般为上级主管部门领导、本单位领导班子成员、单位中层及直属(下属)单位的主要负责人。
整个谈话过程须在封闭室内依次单独进行,并形成谈话记录(附件8)。
3、征求单位党委(总支、支部)、分管领导、纪检部门、人力资源部门以及计生部门等各方意见,纪检部门出具廉政鉴定(附件9),计生部门出具计划生育证明(附件10)。
除采取民主测评、个别谈话方式外,还可结合实际采取发放征求意见表、实地考察、查阅资料、同考察对象面谈等方式一并进行。
领导干部选拔任用工作流程一、制订方案,进行民主推荐(一)组成工作组,拟订民主推荐工作方案;(二)组织进行民主推荐;1、召开民主推荐动员会,公布推荐职务、任用条件、推荐范围,由所在单位提供参会人员花名册、符合推荐条件人员花名册。
参会人员范围一般为单位领导班子成员、直属(下属)单位主要负责人以及其他相关人员,如单位人数较少则可全体人员参加.2、组织进行会议投票推荐和个别谈话推荐(民主推荐表见附件1、2、3,谈话推荐表见附件4)。
3、工作组对推荐票进行分类统计,民主推荐结果在一年内有效.4、工作组将推荐情况报人力资源部门研究后向党委汇报。
二、党委会议研究,确定考察对象由人力资源部门根据民主推荐情况,结合工作需要,提出意见报党委会议研究,确定考察对象。
三、组织干部考察(一)组成考察组,拟订考察方案。
人力资源部门组织成立2人以上的干部考察工作组,制订考察工作方案。
考察组要由思想政治好、有较丰富工作经验并熟悉干部工作的同志组成;(二)沟通意见。
与考察对象所在单位主要负责人就考察工作方案沟通情况,征求意见;(三)考察预告。
考察前须根据考察对象的不同情况,通过适当方式在一定范围内进行考察预告(附件5);(四)进行考察;1、召开会议,确定参会人员范围,明确工作程序和要求.对考察对象进行民主测评(附件6《民主测评表》),填写《干部民主测评汇总表》(附件7).2、组织个别谈话,详细了解考察对象德能勤绩廉各方面表现情况,征求谈话人对被考察对象拟任职的意见。
谈话人员范围一般为上级主管部门领导、本单位领导班子成员、单位中层及直属(下属)单位的主要负责人。
整个谈话过程须在封闭室内依次单独进行,并形成谈话记录(附件8)。
3、征求单位党委(总支、支部)、分管领导、纪检部门、人力资源部门以及计生部门等各方意见,纪检部门出具廉政鉴定(附件9),计生部门出具计划生育证明(附件10)。
除采取民主测评、个别谈话方式外,还可结合实际采取发放征求意见表、实地考察、查阅资料、同考察对象面谈等方式一并进行。
干部选拔任用工作程序干部选拔任用是政治生活中的一个重要课题,它关系到党和国家的领导干部队伍建设,涉及到国家的发展和治理。
为了保证干部选拔任用工作的公正、公平、透明和有效性,我们需要按照规定程序来开展干部选拔任用工作。
一、确定岗位条件和候选人条件。
干部选拔任用首先需要根据不同岗位的要求,明确岗位条件。
制作岗位说明书、招聘广告等,宣传岗位和岗位条件。
同时,根据岗位招聘的条件,明确候选人的条件,包括学历、工作年限、专业素质、资历等方面。
候选人的条件需要与岗位要求一致,做到由浅入深、一步步筛选。
二、形成推荐名单和考察名单。
在明确候选人的条件后,需要按照一定的程序公开招聘并征集推荐人选。
推荐人应该基于候选人的实际表现、岗位匹配度及个人素质等因素来提名,推荐人需要对所提名的候选人进行基本了解。
收到推荐人提名的名单后,还需要对候选人进行更加深入的了解和考察,形成考察名单。
考察名单需要经过严格的筛选程序,将不符合岗位要求及个人素质等方面的人员予以淘汰。
三、开展考察和测试。
考察和测试环节是干部选拔任用工作中非常重要的一部分,也是能够真实反映候选人能力和素质的环节。
考察可以采取面接、看岗、听取下属、社会关系调查等多种形式。
同时还可以采用笔试、作业、模拟演练等多种测试方式,考察候选人的理论水平、业务能力、管理能力、组织能力、团队协作能力等方面的素质和能力。
考察和测试的结果需要及时记录并反馈给合适的人员。
四、制作报告和提交决策。
在考察和测试结果的基础上,需要对候选人的优缺点作出评价、制作干部选拔任用报告。
报告需要详细描述候选人的基本情况、考察情况、考察结论、推荐意见等方面。
同时,还需要根据岗位的要求和候选人的实际情况做出详细的措施和建议。
最终,将干部选拔任用报告提交至各级领导机关,由领导机关依据报告综合评估,作出最终决定。
以上是干部选拔任用工作的基本程序,只有按照规定程序严格开展工作,才能确保干部选拔任用的公正、公平、透明和有效性。
干部选拔任用工作流程图(中层管理人员)(一)集团公司党委组织部根据工作需要和二级单位领导班子建设等实际,综合有关方面意见建议和平时了解掌握的情况,对二级单位领导班子等进行分析研判,就选任的岗位、条件、范围、方式提出初步工作方案。
(二)集团公司党委组织部向集团公司董事长、党委书记,党委副书记、总经理汇报初步工作方案,并根据汇报结果对方案进一步修改完善。
(三)修改完善后的工作方案,在集团公司董事长、党委书记,党委副书记、总经理,党委副书记、常务副总经理,纪委书记,党委组织部部长“5人小组”范围内充分酝酿,形成干部选任工作方案。
(四)对方案中涉及到提职,交流到组织(人事)、纪检(监察、审计)、财务、供应、销售等部门(单位)正职或重要子公司正职等重要岗位任职以及受党纪政纪处理期满重新任职的,书面征求集团公司纪委意见,个人重大事项报告委托上级有关部门进行核实。
(一)发布考察公告,通知考察对象撰写述职述廉报告。
(二)对考察对象人事档案进行任前审查,重点核实“三龄两历”等干部有关信息。
(三)考察对象填写《个人重大事项报告表》,及时委托上级有关部门进行核实。
(四)进行德的测评。
参会人员范围为单位领导班子成员、副总师、内设机构负责人以及所在或分管部门(单位)相关人员。
(五)组织谈话。
人员范围主要为单位领导班子成员以及所在或分管部门(单位)相关人员。
(六)所在单位党组织书面出具考察对象廉洁从业鉴定意见。
(七)综合分析考察情况,与考察对象的一贯表现进行比较、印证,全面准确地对考察对象作出评价,形成考察材料。
(八)考察组将民主推荐及考察情况向集团公司党委组织部汇报,经党委组织部研究后提出任用建议方案。
(一)集团公司党委组织部根据党委会决定,拟定下发聘任职文件,组织安排提任职谈话、宣布任职决定。
(二)提职人员均实行试用期制度,试用期为一年。
(三)任职时间自文件下发之日开始计算。
(四)将干部任免审批表、任前档案审查表、考察材料及时归入个人档案。
干部选拔任用工作流程图(供参考)一、拟写考察方案,组织考察组。
二、民主推荐。
会前由所在单位、乡镇提供符合拟提拔职位条件的干部花名册,做到参会人员人手1份,在会议投票推荐前发布拟提拔职位职数预告。
(一)会议投票推荐。
1、县直单位参会人员:全体干部职工(超过30人的单位为中层以上干部),离退休干部代表。
2、乡镇参会人员:本乡镇全体干部职工,村支书、村主任,部份党代表、人民代表、非党人士、离退休干部代表,拟提拔职位服务对象代表。
(二)个别谈话推荐。
谈话范围与参加会议投票人员范围相同。
三、考察组对推荐情况进行汇总,根据会议推荐与谈话推荐情况提出预备人选。
四、确定考察对象。
考察组向所在单位党委(党组)汇报推荐情况,单位党委(党组)根据推荐情况及职位要求集体票决确定考察对象。
五、将考察对象基本情况在本单位张榜公示。
六、考察。
1、在民主测评前,向参会人员发布考察预告。
2、对考察对象进行民主测评。
参与测评人员:①县直单位全体干部职工(超过30人的单位为中层以上干部),部份离退休干部代表;②乡镇为领导班子成员(含改任非领导职务人员),中层领导干部,部份村支书、村主任,部份党代表、人民代表、非党人士、离退休干部代表,考察对象服务范围的部份代表。
3、个别谈话。
坚持七个必谈,“七个必谈”的内容是:考察对象主管部门领导必谈;所在单位领导班子成员必谈;所在单位纪检监察、财务部门及机关党组织、群团组织负责人必谈;直接分管的下属必谈;工作服务的范围必谈;居住地邻居及配偶必谈;所在单位的离退休干部代表必谈。
在谈话中主要了解考察对象“德、能、勤、绩、廉”等方面的表现情况,着重了解考察对象优、缺点和存在的不足。
七、查阅本人档案以及相关资料,进一步核实考察对象在考察中反映出来的有关问题。
八、撰写考察综合报告和个人考察材料。
具体写法按组织部有关文件规定操作。
九、汇报。
考察组如实向单位党委(党组)汇报考察情况,明确提出建议人选。
十、征求意见。
①在一定范围内公布选拔或缺额职位。
②初始推荐可采取组织部门推荐、单位党组织推荐、领导干部推荐、自荐等方式。
除组织部门根据平时民主推荐、测评和考核情况进行推荐外,其它推荐方式须填写导干部推荐登记表》。
③组织部门在汇总并分析推荐情况基础上,到有关单位开展民主推荐(包括会议投票推荐和个别谈话推荐),参加推荐人数须达到规定范围三分之二以上。
④民主推荐实行差额推荐,必要情况下可开展二次会议投票推荐;换届时实行全额定向推荐。
⑤民主推荐结果一年内有效。
⑥个别提拔任职的,经组织部门多方沟通研究后确定提名人选。
提名人选应多于拟任职位。
⑦提名人选属提拔任职或平级转任重要职务(含非领导职务转任同级领导职务)的,由组织部门集体研究确定考察对象。
班子换届,由本级党委常委会根据考察组反馈的情况,研究提出考察对象建议人选,经与上级组织部门沟通后确定考察对象。
⑧原则上选取会议投票推荐和个别谈话推荐都比调整动议小推荐提名\7 \7 ①组织部门根据动议条件提出动议意见,经党委书记同意后启动推荐提名程序;或党委书记根据动议条件适时提出动议意见,要求组织部门启动程序。
②动议内容包括原则、职位、条件、方式等,一般不涉及具体人选。
③不得超职数配备干部,不得违反规定提高干部职级待遇。
④一次性提拔超过职数的10%,或调整面超过职数15%,或一年内集中调整超过4次的,须提前书面征得上级组织部门同意。
⑤除换局、机构改革外,党委书记任期内调整干部选拔任用工作流程图㈠事前书面报批:①机构变动或主要领导已明确将离任时提拔调整干部O②越级提拔。
③不经民主推荐确定为考察对象。
④县、乡党政正职在同一岗位任期不到3年调整的须报更上一级组织部门审批。
㈡决定前书面征得同意:①破格提拔,包括基层工作经历不满两年,或缺少在下一级两个以上职位任职经历,或不具有大专学历提任副处级领导职务, 或提任正职领导耳R务(非领导职务)在副职岗位工作不满2年(4年),或提任上一级副职领导耳R务(非领导职务)在下一级正职岗位工作不满3年(4年)。
干部选拔任用程序(5篇)第一篇:干部选拔任用程序干部选拔任用程序一、民主推荐。
民主推荐是干部选拔任用工作中的基础环节。
《党政领导干部选拔任用工作条例》中明确规定,选拔任用党政领导干部,都必须经过民主推荐。
(一)民主推荐的两种情况:领导班子换届推荐、班子缺额推荐(二)民主推荐的一般形式:采用组织推荐、群众推荐、个人自荐等方式,是按推荐主体分类的。
《干部任用条例》中所规定的会议投票推荐、个别谈话推荐两种形式,是按推荐方式分类的。
二者并不矛盾。
1、基本程序:(1)召开推荐会,公布推荐职务、任用条件、推荐范围,提供推荐单位干部名册,提出有关要求;(2)填写推荐票,进行个别谈话;(3)对不同职务层次人员的推荐票分别统计,综合分析;(4)向上级党委汇报推荐情况。
2、参加对象:一般为本单位全体领导班子成员、直属(下属)单位主要负责人以及根据各自情况需要参加的其他人员。
如本单位人员较少的可以由全体人员参加。
3、结果的使用。
推荐人选必须是所在单位多数群众拥护的,方可列入考察对象,并在一定范围内进行公示。
(三)民主推荐中要注意的问题:1、确定的考察对象人数一般应当多于拟任职务人数。
2、个人向党组织推荐领导干部人选,必须负责地写出推荐材料并署名。
3、民主推荐结果在一年内有效。
二、考察。
考察是选拔任用干部过程中的重要环节,只有考察准确,才能用人准确。
(一)考察形式:等额考察、差额考察(二)考察内容:考察对象的德、能、勤、绩、廉等方面的情况,注重考察其工作实绩。
对于需要进行经济责任审计的考察对象,应当委托审计部门按照有关规定进行审计。
(三)一般程序:1、组成2人以上的考察组,制定考察工作方案;2、同考察对象呈报单位或所在单位的主要负责人就考察工作方案沟通情况,征求意见;3、根据考察对象的不同情况,通过适当方式在一定范围内发布干部考察预告;4、采取多种方法,广泛深入地了解情况;5、综合分析考察情况,同考察对象呈报单位或所在单位的党委(党组)主要领导成员交换意见;6、考察组根据考察情况,研究提出领导班子调整的初步方案,向派出考察组的组织人事部门汇报、经组织人事部门集体研究提出任用建议方案,向本级党委(党组)报告。
干部选拔任用工作流程参考文件:《党政领导干部选拔任用工作条例》(2014年1月14日,中发〔2014〕3号)1、党委动议2、组织人事部根据党委意图形成工作方案(根据需要报省委组织部审核)3、民主推荐(1)确定民主推荐参会人员名单;(2)根据工作方案中的推荐表比率统计民主推荐结果。
4、根据统计结果上报学院党委,请示考察名单5、形成考察方案,发布考察预告,派出考察组开展组织考察(1)开展民主测评;(2)组织谈话,谈话不少于7人,本部门处级、科级必谈;(3)形成考察材料;(4)个人如下填写材料:①如实填写《领导干部个人有关事项报告表》,并签名;②如实填写《江西省拟提拔人选廉政报告表》一式四份且不得复印,并签名;③如实填写《干部任免审批表》,并签名;其中年龄统一填写出生年月,亲属信息栏去世的也必须填写,(去世前或退休前)工作单位及职务请填写完整;④撰写1500字左右的个人述职报告,并提交电子及纸质稿。
6、征求纪检、综治办的意见7、形成上会材料,材料清单如下:①考察人员情况一览表,附民主推荐、民主测评、组织谈话情况;②考察材料汇编③征求纪检、综治办意见的回函④党委票决的选票及统计用表8、党委票决形成决议,党政办下达抄告9、进行任前公示,《江西省拟提拔人选廉政报告表》一并公示,公示时间一周10、拟写干部职务任免的文件,经OA发文流程进行发布注:以上流程适合科级干部的任用,涉及处级干部在内设机构任职,需经省组干部三处进行职数审核,经审核同意后才能发文。
从内设机构调任非内设机构不用向省组递交任免请示,只需职数审核。
以下是附加文档,不需要的朋友下载后删除,谢谢高二班主任教学工作总结5篇高二班主任工作总结1本学期,我担任高二(14)班班主任。
在学校领导的支持下,在学生科的领导下,我顺利地完成了学校布置的各项任务。
在从事德育教学过程中,有顺利也有挫折,有成功也有失败,既有困惑,也有启迪,交织着酸甜苦辣,现就本学期班主任工作做如下总结。
干部选拔任用流程干部选拔任用流程权力运行风险表现:风险①:未严格按照程序推荐考察干部,推荐范围和谈话对象选择不公平,考察不全面,隐瞒民主推荐、组织考察真实情况。
风险②:对举报被推荐人、被考察人的信件,不认真进行初步核实,不能如实向党组汇报,导致干部任用失察失误等。
风险③:不按干部管理权限进行备案审批,违反干部选拔任用规定谋取私利的行为;不接受各方监督。
风险④:违反人事纪律,通风报信、暗示、泄漏有关干部任免情况。
防范措施:1、加强学习教育。
2、严格执行《党政领导干部选拔任用条例》、《信访工作制度》和《干部任免工作制度》。
3、严格按干部管理权限进行任免报批手续。
4、设立监督岗,严格干部公示程序,完善干部任前公示制度,规范公示内容和时间,对公示期间反映的问题,及时核实。
5、强化纪检监察,严格责任追究。
干部选拔任用工作程序第一阶段民主推荐干部阶段1、书记办公会议首先书记办公会提出拟任职干部意见(明确定职推荐还是定岗推荐。
定职推荐:只推荐级别人选;定岗推荐:明确岗位、职务)。
2、预先沟通书记办公会之后,起草《拟提拔干部的请示》、填写《干部调整预先沟通简表》,向总局党委组织部汇报。
3、党委会议总局组织部门同意并签署意见之后,召开党委会,研究确定民主推荐岗位、职务、参加推荐人员范围以及组织部工作人员。
会后,党委组织部进行工作准备,其内容:⑴符合条件的干部名册;⑵推荐岗位、职务公告;⑶民主推荐票;⑷推荐干部要求;⑸推荐领导干部会议上的讲话。
4、民主推荐预告在进行民主推荐干部的单位张贴公告进行预告(当天)。
5、民主推荐召开民主推荐会(推荐职能部门领导人选,由部门全体人员参加推荐。
)民主推荐会议程序:⑴提出相关要求;⑵公布推荐职务、任职条件、推荐范围;⑶隔座位进行发放推荐票;⑷进行填写选票;⑸进行无记名投票;⑹按照党委委员、其他副处级干部、科级干部、职工代表分别收票、分别计票、综合分析;⑺选择地点进行计票并得出计票结果。