预约报账流程
- 格式:doc
- 大小:1.65 MB
- 文档页数:14
2023年6月第26卷第12期中国管理信息化China Management InformationizationJun.,2023Vol.26,No.12高校教师财务报销过程中退单问题对策——以Y高校为例李秀梅(安阳师范学院财务处,河南安阳455000)[摘 要]高校的前台报销工作是学校财务最基础的工作,也是制作财务报表的基石。
在新《政府会计制度》实施的背景下,数字平台财务管理系统得到广泛运用,这对工作人员的会计专业能力和实际操作能力来说是一个巨大的挑战。
财务报销工作面临的问题是如何让教师报销过程简单化,降低退单率。
文章针对高校教师财务报销过程中存在的问题进行深入研究,并提出解决办法,以期提高高校财务工作的效率和管理水平。
[关键词]高校;退单;财务报销doi:10.3969/j.issn.1673 - 0194.2023.12.001[中图分类号]F810.6;G647 [文献标识码]A [文章编号]1673-0194(2023)12-0004-030 引 言随着国家对高校教育事业愈加重视,国家和社会对高校投入的各项资金逐年增加。
国家统计局、科学技术部和财政局联合发布的《2020年全国科技经费投入统计公报》数据显示,2020年全国研发经费投入24 393.1亿元,比2019年增加2 249.5亿元,增长10.2%。
如何把这些资金合理地运用到教学和科研方面、根据资金的用途做到专款专用、按时并保质保量地完成省财政资金支付进度,是目前高校财务人员在实际报销工作中面临的主要问题。
1 高校财务报销现状当前高校的报账模式主要分为现场排队报销模式和预约报销模式。
现场排队报销模式是报销人员携带事先签批、整理完毕的票据及资料到财务部门现场排队,财务人员按照排队的先后顺序依次办理业务。
这种模式的优点在于报销人员可以和会计人员面对面交流,可以明晰单据是否符合规定,可以实时知道报销申请是否已通过;缺点在于排队耗时太长,加塞现象频发。
网上预约报账系统简明使用手册华南农业大学财务处2016 年9月目录第一部分系统操作流程图 (1)第二部分系统登录 (2)第三部分项目授权 (4)3.1 项目授权 (6)3.2 批量授权 (7)3.3 取消授权 (8)第四部分网上报账系统 (9)4.1 日常报销 (10)4.2 差旅费报销 (15)4.3 借款 (18)4.4 我的项目 (20)第五部分网上申报系统 (22)5.1 学生奖助金发放录入 (22)5.2 校内人员其他收入发放录入 (25)5.3 校外人员劳务发放录入 (27)5.4 校外劳务人员信息采集 (30)5.5 管理模块 (31)第一部分系统操作流程图第二部分系统登录登录华南农业大学财务处网页(/cwc/),点击“财务网上综合服务平台”。
或直接登录http:// 202.116.160.107/dlpt/,进入财务网上综合服务平台。
输入用户名,密码,验证码,点击【登录】。
其中:1、关于用户名:在职教职工的用户名是工资号;在校学生的用户名是学号;外聘员工的用户名为校园卡号。
2、关于密码:在职教职工的密码与原财务处“经费查询”、“工资查询”密码一致;在校学生、外聘员工初始密码为身份证后六位。
登录后,显示如下界面:若首次登录,系统会弹出“请完善手机号码和银行卡号”窗口,点击“确定”。
然后点击【联系方式】旁的“修改”,填入手机号码和电子邮箱,提交信息。
注意:手机号码是必填项,若不完善手机号码信息,将不能进行下一步操作。
设置完成后,点击“网上报账系统”进入网上报账系统主界面;点击“网上申报系统”进入网上申报系统主界面。
第三部分项目授权进行网上预约报账和个人收入申报的前提是您有对项目进行操作的权限,您可以通过以下两种途径获得权限:一、项目负责人本身项目负责人拥有对项目所有的操作权限。
二、通过项目负责人授权非项目负责人默认是没有项目的相关操作权限的。
只有项目负责人在对非项目负责人进行授权之后,非项目负责人才能对项目进行网上预约报账的操作。
会计信息化下高校网上预约报账的探索摘要:随着信息时代的到来,我国高校信息化建设不断发展与创新,网上预约报账是高校财务管理信息化的重要成果,将会给高校财务管理工作带来新的变革。
文章介绍了苏州大学财务处实行网上预约报账系统实践中发现新的问题,并提出相应优化建议,以期对高校会计信息建设有所裨益。
关键词:会计信息化网上预约报账中图分类号:f234 文献标识码:a文章编号:1004—4914(2012)06—100—0220世纪90年代以来,信息技术不断创新,高等教育管理水平持续发展,信息网络广泛普及,信息化逐渐成为高校教育管理的主旋律。
随着高校信息化建设的深入发展,会计信息化在高校财务管理工作中占据了举足轻重的地位。
所谓会计信息化是指采用现代信息技术,对传统的会计模型进行重组,并在重组的现代会计基础上,建立信息技术与会计学科高度融合的、充分开放的现代会计信息系统。
这种会计信息系统将全面运用现代信息技术,通过网络系统,使业务处理高度自动化,信息资源高度共享,能够主动和适时地报告会计信息。
它不仅仅是信息技术运用于会计上的结果,它更代表了一种与现代信息技术环境相适应的新的会计思想。
网上预约报账系统的使用不是简单地替代取号机的功能——预约时间,而是会计信息化下又一次革命性创新。
网上预约报账系统在设定好的网上报销流程的基础上,通过网上预约终端、财务处理系统、网银支付系统三者的规范对接,实现了对财务数据的自动处理,从而缩短报账等待、财务人员进行账务处理的时间。
一、网上预约报账的优势1.网上申请和预约,减少教师排队等候时间。
高校教师尤其是学校的中高级教师,平时承担着大量的教学和科研任务,教师到财务部门报销经费,往往由于对财务制度不熟悉,时不时会出现发票不合规、审批手续不完整等现象,要多次到财务部门补全材料或手续,才能完成报销工作,这样既增加了财务部门报销的压力,同时无端的占用了教师部分教学和科研时间。
网上预约报账系统使教师可以在任何时间、任何地点提交报销申请,选择自己相对合适的时间,避免了排队等候的时间。
~
网上预约报账须知
一、“网上预约报账”不改变原有的经费审批流程和权限。
经费负责人委托他人网上办理业务时,必须先授权。
二、“网上预约报账”为无现金支付方式,目前支持财务管理系统中登记在册的个人中国银行卡、公务卡、对公汇款和内部转账等业务。
暂不鼓励支票结算。
三、为减少被驳回的机率,请按照《原始票据整理和粘贴要求》处置票据,并请准确填写联系人姓名和联系电话,以便我们在需要时可取得联系。
四、试运行阶段,财务处在大学城校区设立专窗,优先办理无现金报账业务。
财务处将根据实际运行情况逐步推行“网上预约报账”模式。
财务处
2015年10月8日。
财务结算、报账流程1.差旅费报账流程(出差返回后30
2.购买办公用品、其他物品报账流程(按照发票日期,10个工作日内结清)
3. 举办专项活动(活动结束后30个工作日内结清)
4、借款手续流程
▲特别强调:借款人应在半个月内结清借款,若员工借款在发放工资之前仍未报销,账务部有权在当月工资中扣除,工程费借款可在工程竣工后一同结算。
▲建议:公司需把借支单和有关收据换成三联式的,以便于原始单据的保管。
(现公司的单据为一联式借支单作为原始凭证了,且没有存根,不方便以后的结算。
)
5.薪资发放流程(每月15日发放员工工资)
6.业务提成发放流程(每月25日发放业务提成)
7.供应商货款结算流程 ①对账期间
每月18至24日
②付款期间 每月25至30日 节假日向后顺延
按协议签约款的50% OK
填写业务提成申请单 领导审批签字
审核
财务部领款
协议竣工
协议签约
采购员
25-30日 18-22日
核对货实是否相符
相符
不符
入库
与供应
付商品
退货、换货、补货
领导审收货 24日
8.工程项目结算流程
项目经理承包制
班长制
OK
工程完毕,付款80%。
北京联合大学校本部财务预约报账系统使用说明一、登录方法1:在网页地址栏输入“10.11.95.10”后回车,即可登陆北京联合大学财务信息门户。
如图所示:回车即可进入财务信息门户。
输入工号、密码及验证码即可登录然后点击“登录”按钮,即可进入首页方法2:登录校园网,北京联合大学信息门户平台,输入用户名及密码点击登录后,进入个人主页左下方“业务系统快速登录”中选择“高级财务管理平台”点击“高级财务管理平台”即可进入财务信息门户。
二、预约业务操作登录成功进入首页后,点击左上方功能按钮“网上预约报账”进入预约界面点击下方“申请报销单”按钮,然后选择业务类型。
请通读注意事项,然后点击“下一步”,进入第一步:请选择业务类型。
点击“下一步”,进入第二步,请选择报销项目。
在这一步骤,分为三种情况,第一种情况,如果是项目负责人自行登录操作,可在此界面看到该负责人名下的项目列表,单击选择此次报销的项目,点击左下角“选定项目报销”进入下一步。
第二种情况,项目负责人可进行授权操作,如果该负责人名下某一项目授权给其他教师代办报销业务,该教师用自己的工号登录也可在此看到被授权给他的项目列表,可以选择进行报销预约。
也是点击“选定项目报销”进入下一步。
以上两种情况,都可在当前界面看到项目余额,用以判断该项目是否有足够的余额可以进行报销,预约成功后财务帐套中会自动冻结该预约金额,以保证报销人在柜台办理时有足够的资金额度。
接下来进入第三步:请填写报销基本信息。
*号为必填项。
在登录过程及选择项目的过程中,相关信息会自动带出,此处填入联系电话即可。
然后点击“下一步”。
第三种情况,如果是非项目负责人的职工办理个人报销业务,用个人工号登录后,在第二步请选择报销项目时,列表为空白,没有项目可以进行选择,此时可选择“其他项目报销”点击进行下一步。
此时,会弹出提示窗口:点击下一步,进入第三步请填写报销基本信息。
在此处需要手工填入“报销项目号”。
用这种方式预约时,系统无法检查项目余额,也无法在财务系统中冻结预约金额,所以请报销人员确认本次申请预约报销的项目经费有足够的余额,并且预约后在财务处柜台办理时,由于有时间差,在这期间如果该项目有其他报销业务发生,在柜台办理时以财务帐套中项目余额为准。
复旦大学财务处关于网上预约系统使用说明各单位/项目负责人:财务处从2012年3月起已开展校园卡管理项目经费(以下简称“一卡通项目管理”)试点。
为方便师生使用系统,现将使用校园卡项目网上预约主要功能说明如下(未涉及功能或以后拓展功能,请根据系统提示查阅)。
网上预约系统一、项目简介网上预约报销系统指根据业务类型在网上填写财务报账单,预约报账时间,在约定的时间内到财务处指定预约窗口办理报销业务,享受优先报账,无须叫号排队等候的优点。
通过网上填写保账单,有效节约师生办理业务的时间。
以后将继续推出不等候报销,即在网上预约报销基础上,利用银行的支付网络,将报销金额直接转入个人银行卡内,经办人员无需等侯审核、取现金,而只需将资料交给财务处后即可离开。
二、系统管理特点1、利用网络资源,减少师生办理业务时间。
由于报销业务量大,空间有限,人员拥挤,采用网上预约报销办法,经办人员通过在线填写报销信息,在约定的时间内将资料递交至财务处,享受优先报账,无须叫号排队等候的优点,有效节约师生办理业务的时间。
2、完善服务手段和方式,提高工作效率。
通过填报网上预约,有效控制经费的使用情况,减少不必要的往返,财务处审核工作中心后移,加快工作的节奏,提高审核的准确率。
3、加强管理,明晰资金流向。
在网上预约基础上,逐步推行不等候报销办法,财务处将报销款项转入本人的银行卡内,确保资金款项的及时入账,明晰资金流向,减少携带现金的风险。
三、主要功能和流程网上预约报账包括预约管理和校内转账两个模块。
预约管理包括报销单管理、历史报销单等部分。
1、报销单管理:选择【网上预约报账】-【申请报销单】,进入报账申请过程。
经过选择业务类型、选择报销项目、填写报销基本信息、报销费用金额及支付信息等五个步骤后完成。
(1)选择业务类型系统默认为“一般报销业务”,点击【下一步】。
(2)选择报销项目点击【选定项目报销】,则报销项目号中将会自动填入选择的项目号,并且不允许修改。
上海交通大学财务业务办理指南编写说明随着我校各项事业的快速发展,学校各项财务制度、规定、办理流程也和以前有了较大不同。
近几年,财务处以财务信息化工作为抓手,全面提高工作效率、提升服务水平。
“网上预约报销系统”、“财务管理驾驶舱系统”、“科研项目预算管理系统”等财务信息化工作的推进,极大地提高了我们服务的质量与管理的水平。
为使学校师生能更便捷地办理各项财务业务,更明确办理各类财务业务的流程与手续,我们编纂了这本《上海交通大学财务报销指南》,希望能给大家在办理具体财务业务时提供一点帮助。
对于本书中可能存在的错误与不足之处,也请大家提出宝贵意见。
财务处会计核算中心二○一一年十二月十四日目录一、学校高级财务管理平台简介 (4)网上查询系统使用指南 (4)网上预约报销系统操作流程 (15)不等候报销凭证物流管理系统简介 (16)二、财务报销业务流程简介 (17)报销业务基本流程 (17)暂借款申请业务流程 (20)暂借款冲销业务流程 (20)酬金发放业务流程 (22)学生医药费报销业务流程 (25)市内交通费报销业务流程 (26)外埠差旅费报销业务流程 (27)私车公用核准备案及报销业务流程 (29)个人通讯费核准备案及报销业务流程 (30)外币业务——因公临时出国人员出国费用报销流程 (31)外币业务—非出国出境购汇业务流程 (34)仪器设备及家具购置业务流程 (36)主办会议业务流程 (38)专项资金使用业务流程 (40)修缮装饰工程报销业务流程 (41)三、财务其他业务流程简介 (42)培训班申请开办及收入入账分配流程 (42)科研项目预决算业务流程 (44)科研项目审计查询及复印会计凭证业务流程 (47)票据领用及核销业务流程 (48)预开发票、收据流程 (51)新办、补办银行卡业务流程 (53)支取公积金业务流程 (54)学生收费业务简介 (57)四、财务处办公信息一览表 (59)五、学校银行账户及税务登记号信息 (61)六、境外伙食费、住宿费、公杂费开支标准表 (63)一、学校高级财务管理平台简介网上查询系统使用指南一、系统登录方法教职工请使用工号登录,学生使用学号登录;教工初始密码为工资卡卡号后8位,学生初始密码为学号,进入网上查询系统后在二级菜单栏点击“修改密码”可以修改初始密码,密码至少为5位,可以为数字或字母;附加码为4位数字,请按照下边图片输入。
网上报账系统操作流程第一步报账教师登录财务综合服务平台后,选择“网上报帐系统”第二步进入网上报账系统“我的项目”页面该页面显示登录人负责的所有项目信息,可查询本人负责(或被他人授权)项目的余额和发生额。
点击“查看”可显示“项目收支明细账”和“预算控制余额表”等信息。
在“我的项目”页面菜单中,有“负责项目”、“待修改业务”、“待提交业务”、“已提交业务”、“已完成业务”、“失败业务”六个子菜单。
第三步,选择网报支出类型“网上报账系统”包括日常报销、差旅报销、借款三类,这些分类在填写报销单时输入的内容是不相同的。
一、日常报销业务1.老师对“日常报销”提交申请,可进行报销单的新增、修改以及删除操作。
点击“日常报销”,进入日常报销页面后,点击“新业务填报”2.输入部门编号、输入或选择项目编号后,点击“下一步(报销费用明细)”3.根据报销项目填写报销具体内容,在填写“报销内容”时,先在网页的表格中找到你要报销的内容,并阅读报销内容的“描述”部分以防止填错位置。
输入“关键字摘要”、“金额”、“单据数”,系统会将您填写的金额与项目当前余额对比分析,如果超支将显示预警信息。
确认无误后点击“下一步(支付方式)”。
“重置”按钮可以清空所填写内容。
4.选择支付方式。
“支付方式”包括“冲借款、对公支付、对私支付、网银对公”等多种选择(项目转帐目前不开放),系统会将您选择的支付方式打印在“报销单”上。
如果选择“冲借款”,系统会显示登录人的借款信息,可以在“金额”列填写本次要冲销的金额(冲销金额等于报销金额减去其它支付方式的支付金额),其它支付方式可以在对应行的输入框填写支付信息。
5.提交正确录入支付方式后,进入“下一步(提交)”。
6.打印日常报销单。
报销人需要将“报销单”打印出来,在粘贴好原始单据后,持此打印后的“报销单”找相关领导签字,所需手续与原纸质报销单相同。
报账人在财务处规定的时间内到财务处提交领导审批过的报销单据即可。
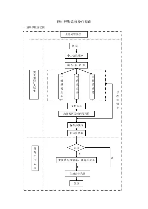
预约报账系统操作指南一预约报账流程图二预约报销操作步骤图1-1登录界面第一步,见图1-1,学校首页→公共服务→财务查询→出现登录界面→输入用户名,密码,验证码进入预约系统。
初始用户名、密码是工号,用户可以自行修改密码。
图1-2预约系统首页第二步,见图1-2,界面左侧有三个功能选项,点击“网上预约报账”→进入预约报账界面。
图1-3预约管理图1-4个人信息维护第三步:见图1-3,图1-4,首先点击个人信息维护,出现个人信息维护界面,红字是自动生成信息,请老师把空白处的信息填写完整,点击确定按钮保存完成。
这一步的优点在于:每次报账时系统会自动生成报销人的信息,省去每次填写的繁琐。
然后,见图1-3,点击左下角“预约申请”→进入预约报账界面。
图1-5选择报销项目第四步,见图1-5,界面上出现了两个项目,这两个项目是授权项目,选中要报销的项目,然后请点击左下角“授权项目报销”,进入报销界面。
这里注意左下角有“授权项目报销”、“非授权项目报销”2个选项。
这里解释一下授权项目和非授权项目的区别,授权项目是指财务处以“工号+负责人”形式立项的项目,出现在预约界面里的项目对于预约人是授权项目,报销时先选中项目然后点击“授权项目报销”。
非授权项目是指财务以“负责人”形式立项,没有加入工号的项目,报销时请点击左下角“非授权项目报销”。
图1-6填写报销基本信息第五步:见图1-6,填写报销基本信息,注意带*号为必填项。
这里的信息是从个人信息维护中自动转成的。
有三个业务大类可供选择:一般报销业务,暂借款业务,差旅费。
选中对应的业务大类,点击下一步。
图1-7一般报销业务图1-8暂借款业务图1-9差旅费业务图1-10差旅费报销基本信息第六步,图1-7是一般报销业务费用界面,按照办公费,一般材料,印刷费等类别填入金额,完成后点击下一步。
图1-8是暂借款业务界面,填入借款的金额,点击下一步(同时需要填写预付款本子)。
图1-9是差旅费业务界面,先点击“差旅费”,进入差旅费信息界面,见图1-10,按照要求填写出差人员信息和按发生的费用金额,“伙食补助和市内交通补助”由预约系统按照人数和天数自动计算生成,完成后点击下一步。
网上预约报帐操作手册业务咨询:682586浙江师范大学计划财务处2013年12月21日一、登录系统登录计划财务处网站点“财务查询”进入财务处综合信息门户(http://10.1.131.10),输入用户号,密码(原财务查询用户号和密码相同),附加码,点击登录后,选择网上预约报销系统。
请使用IE8浏览本系统!为了达到最佳使用效果,同时将屏幕分辨率调整为1024×768或以上。
(图1)点击首页上的【网上预约报账】按钮,进入网上预约报账系统。
网上预约报账首页如下:预约管理包括:报销单管理、历史报销单。
【报销单管理】:进行预约申请、修改预约单、撤销报销单、进行预约时间安排、打印报销单等。
【历史报销单】:查询已经财务报销的预约单历史记录。
注意事项:1)预约业务都将实时冻结项目金额(实行预算管理的项目将冻结预约报销的预算项金额),直到财务报账为止。
因此,如有作废或错误的预约记录请及时撤销,以免造成项目经费无法正常使用的情况。
2)为了确保在财务处柜台顺利办理报销(转账)业务,对有预算控制的项目,请您确保申请预约报销(转账)的本次开支在预算允许的的范围和额度内。
点击【申请报销单】,页面上显示本人当前已经授权的项目,没有授权的项目在【非授权项目报销】申请报账单的步骤为:1)选择报销项目2)填写报销基本信息3)选择业务类型4)填写报销费用项金额5)填写支付信息6)选择预约时间,打印预约报销单第一步、选择报销项目:系统将列出本人有权限使用报销的项目,请根据需要选择一个项目,然后点击【授权项目报销】,如果本次报销的项目不在上述列表中,可以在【非授权项目报销】,或者先让项目负责人授权给自己。
(授权步骤见11页) 【选定项目报销】:系统将进行项目余额、预算金额检查,如果您填写的报销金额超过项目余额或某一项预算,系统将提示您已经超支,反之如果您能够顺利保存报销单,则说明您报销的项目有足够的余额或预算完成本次报销,当您持报销单到财务处报销时,就自然能顺利通过项目余额、预算金额的检查。
目录报销类日常报销办事指南(简版) (1)财务报销须知 (7)报销业务流程 (12)因公用汇办理流程 (15)因公出国和学生出国团组审批、报销流程 (16)附件粘贴折叠指南 (19)差旅费报销指南 (21)仪器设备报销指南 (25)公务接待费报销指南 (26)维修和工程款报销指南 (27)会议费报销指南 (28)培训费报销指南 (30)公务卡报销指南 (32)借款业务指南 (34)在华举办国际会议报销指南 (37)电子科技大学海外人员来访备案及报销指南 (39)预算类预算相关业务流程 (43)科研类科研经费办事指南 (47)科研项目增值税免税发票办理指南 (57)收费票据类收费申请办事指南 (59)票据管理办事指南 (63)资金结算类国库零余额项目还款指南 (65)银行退票查询指南 (66)外汇到款及解汇业务办理指南 (70)银行/商业承兑汇票办理指南 (73)银行回单领取指南 (74)补助类缴纳住房保证金、租金指南 (75)住房保证金退款指南 (75)新入职教职工住房公积金开户办理指南 (75)离职人员住房公积金转出办理指南 (76)住房公积金提取办理指南 (77)抚恤丧葬费及遗属生活补助发放指南 (78)学生事务类学生事务办理指南 (79)档案管理类会计凭证查询办事指南 (83)系统操作类网上预约重置密码指南 (85)其他业务酬金税后金额查询指南 (87)投标保证金及履约保证金退还指南 (89)到款查询指南 (89)主办会议业务指南 (89)预开发票、收据指南 (90)收入分配结算指南 (90)非科研类增值税发票开票指南 (91)公务卡办理指南 (92)财务资质、报表申请办事指南 (93)账号、税号、开票信息 (94)各类样表因公用汇申请表 (99)在华举办国际会议经费预算表 (101)在华举办国际会议决算表 (104)电子科技大学海外人员来访开支核算表 (107)电子科技大学海外人员来访审批备案表 (108)外籍人员劳务酬金签收表 (109)电子科技大学校内收费立项申请表 (110)电子科技大学行政事业性收费申请表 (111)电子科技大学培训费收费申请表 (112)电子科技大学国内会议收费申请表 (113)电子科技大学国内会议经费预算表 (114)电子科技大学共享设备测试收费申请表 (115)票据领用委托申请表 (116)票据专管员变更申请 (117)会计凭证复印审批表 (118)学费收据复印申请表 (119)财务资质材料领用申请表 (120)财务管家(翼财云网)介绍 (121)报销类日常报销办事指南(简版)在您办理日常报销之前,请先阅读下文,第一部分为日常报销的办事指南,第二部分为基础要求,第三部分为常见费用报销(您可快速掌握常见费用报销的要求),本文将为您快速掌握日常费用报销提供较大帮助。
哈尔滨工程大学财务处网上预约报账系统使用说明目录1 网上预约报账系统1.1网上预约报账系统简介1.2网上预约报账系统优点1.3网上预约报账系统受理业务范围1.4使用基本流程2 网上预约报账操作流程2.1系统登录2.2项目经费管理2.2.1项目授权管理2.2.1.1当前有效授权2.2.1.1.1授权管理员2.2.1.1.2授权无限额经办人2.2.1.1.3授权查询权限2.2.1.1.4设置优先级2.2.1.2过期/失效授权2.2.1.3显示隐藏项目2.2.1.4查看对他人授权2.2.2预算执行情况查询2.2.3预算冻结情况查询2.2.4项目用款情况查询2.2.5项目往来情况查询2.2.6项目预约查询2.3网上预约报账操作2.3.1申请报销单2.3.1.1选择报销项目2.3.1.2选择是否冲销往来账2.3.1.3填写报销基本信息2.3.1.4填写报销费用及金额2.3.1.5选择支付方式2.3.1.6打印预约报销单2.3.2修改报销单2.3.3撤销报销单2.3.4查看预约物流信息2.3.5历史报销单管理2.4个人信息及银行卡维护2.4.1个人信息维护2.4.2个人银行卡维护附录:常用费用项目名称及开支范围1 网上预约报账系统1.1网上预约报账系统简介网上预约报账系统是指教职工通过高级财务管理平台,根据实际情况将自己办理的报账业务在网上进行业务类别和金额的填写,生成预约报销单,该系统通过互联网技术进行信息传递,将教职工所填写的报账信息传递至财务处,财务处根据预约报销单进行账务处理。
1.2 网上预约报账系统优点(一)减少教职工办理业务时间网上预约报账系统突破传统报账业务受时间和空间限制的缺点,经办人可以在任何地点、任何时间通过网络在线填写报销信息,在办公时间内将报销单等资料递交至财务处,无须叫号排队等候,经会计人员初步审核票据无误后即可离开,有效节约教职工办理业务的时间。
(二)完善服务手段,提高工作效率通过网上预约报账,有效控制经费的使用情况,减少不必要的往返,财务处会计处理工作重心后移,提高审核的准确率。
网上预约报帐操作手册业务咨询:682586浙江师范大学计划财务处2013年12月21日一、登录系统登录计划财务处网站点“财务查询”进入财务处综合信息门户(http://10.1.131.10),输入用户号,密码(原财务查询用户号和密码相同),附加码,点击登录后,选择网上预约报销系统。
请使用IE8浏览本系统!为了达到最佳使用效果,同时将屏幕分辨率调整为1024×768或以上。
(图1)点击首页上的【网上预约报账】按钮,进入网上预约报账系统。
网上预约报账首页如下:预约管理包括:报销单管理、历史报销单。
【报销单管理】:进行预约申请、修改预约单、撤销报销单、进行预约时间安排、打印报销单等。
【历史报销单】:查询已经财务报销的预约单历史记录。
注意事项:1)预约业务都将实时冻结项目金额(实行预算管理的项目将冻结预约报销的预算项金额),直到财务报账为止。
因此,如有作废或错误的预约记录请及时撤销,以免造成项目经费无法正常使用的情况。
2)为了确保在财务处柜台顺利办理报销(转账)业务,对有预算控制的项目,请您确保申请预约报销(转账)的本次开支在预算允许的的范围和额度内。
点击【申请报销单】,页面上显示本人当前已经授权的项目,没有授权的项目在【非授权项目报销】申请报账单的步骤为:1)选择报销项目2)填写报销基本信息3)选择业务类型4)填写报销费用项金额5)填写支付信息6)选择预约时间,打印预约报销单第一步、选择报销项目:系统将列出本人有权限使用报销的项目,请根据需要选择一个项目,然后点击【授权项目报销】,如果本次报销的项目不在上述列表中,可以在【非授权项目报销】,或者先让项目负责人授权给自己。
(授权步骤见11页) 【选定项目报销】:系统将进行项目余额、预算金额检查,如果您填写的报销金额超过项目余额或某一项预算,系统将提示您已经超支,反之如果您能够顺利保存报销单,则说明您报销的项目有足够的余额或预算完成本次报销,当您持报销单到财务处报销时,就自然能顺利通过项目余额、预算金额的检查。
选定项目后,如果该项目存在未核销的借款,系统会自动列出所有未核销往来款清单。
请您根据需要选择冲销,也可以选择【不冲销往来】跳过。
若本次报销需要冲销,请先勾选需要核销的往来账,并填写“本次冲销金额”,然后点击【冲销往来】。
往来余额:表示财务已正式入账的未核销往来账余额。
已预约往来金额:表示已填写预约单,其中有冲销金额,但财务尚未正式入账的金额。
本次冲销金额:表示本次需要冲销的金额。
第二步、填写报销基本信息:所有红色“*”均为必填项“报销项目号”:本次报销所使用的项目号。
如果第一步为“选定项目报销”,则“报销项目号”中将会自动填入你选择的项目号,并且不允许修改;如果是【非授权项目报销】,则此处默认空白,需要你手工输入项目号,项目号所填字母均为大写。
“申请人工号”:报销单的申请人工号(或学号),系统默认为本报销单的填写录入人,不允许修改。
“申请人姓名”:报销单的申请人姓名,不允许修改。
“实际报销人”:报销单业务的实际经办人,默认与“申请人姓名”相同,你可以根据需要做修改,实际报销人将会出现在财务凭单中的摘要栏中。
例如:申请人姓名为甲某某,实际报销人为乙某某,如果报销办公用品,财务入账后摘要会出现“乙某某报办公用品”。
“电话”:请填写联系电话,方便联系,必填项。
(可在“个人信息维护”中输入手机号,以便联系。
再次预约时,手机号会自动出现)“电子邮件”:请填写电子邮件,方便联系,选填项。
“附件张数”:请填写报销的发票等附件张数,必填项。
最大附件张数为50,超过50张另外预约。
第三步、选择业务类型请点击选中一种业务类型,然后点击【下一步】。
第四步、填写报销费用项金额:1)一般业务报销:如果有预算模板的项目,预算模板和费用项如下图:列出该项目预算模板及其下级允许报销的费用项,其中加粗的蓝色字体为费用项所有的业务填写完毕后,点击【下一步】即可。
(如果选择了前面的冲销往来,在此步骤中的费用项填写的金额如果与冲销的金额相等,点击下一步直接进行预约时间和窗口即可。
)2)差旅费报销:填写差旅费明细清单:清单填写完毕后,请点击保存若教师或学生要发放补贴,须打勾。
不打勾默认为不予补贴。
3)暂借款业务:用于临时性的借款和归还借款第五步、填写支付信息:目前支付方式支持“汇款”、“转卡支付”、“支票”、“现金、“冲账”等,请根据需要选择不同的支付方式,不同的支付方式需要填入不同的信息,请务必填写完整。
汇款:请先填写“收款单位名称/收款人名称”、“收款人银行账号”,然后选择收款人开户银行,如下图:在“开户银行”右侧输入框中输入开户银行的关键字,然后点击【查询】,系统将列出根据关键查询出的银行列表,请选择对方账户的开户银行,然后点击【确定】。
输入关键字时,只需要输入开户银行的一个或多个关键字,如果输入多个关键字,则多个关键字中间用空格分隔。
比如,对方的开户银行为“中国银行上海市交通大学支行”,则输入“中国上海交通大学”三个关键即可。
对方的开户银行为“中国工商银行南京市雨花支行”,则输入“工商雨花”两个关键字即可。
转卡支付:在“工号”输入框中输入收款人的工号,然后点击“姓名”框,系统自动跳出该工号对应的姓名,然后再输入“金额”,需要转入多个人的银行卡中时,点击“操作”列中的【+】按钮可增加一条转卡记录。
填写完毕后,点击【保存转卡记录】,保存当前转卡信息支票:在“金额”输入框中输入支票金额,“单位”输入框中输入转入单位名称,需要开多张转账支票时,点击“操作”列中的【+】按钮可增加一条支票信息。
填写完毕后,点击【保存支票信息】,保存当前支票信息。
冲其他项目借款:输入需冲账的项目号和核销号,输入“金额”,需要冲销多笔借款时,点击“操作”列中的【+】按钮可增加一条冲账记录。
填写完毕后,点击【保存冲账信息】现金:直接填写“金额”即可,然后点击【保存现金金额】POS刷卡:直接填写“金额”即可,然后点击【保存金额】提示:系统支持同一张报销单同时使用多种支付方式,比如报销总金额为10000元,给对方单位汇款9000元,剩余1000元转入个人卡中,则先填写“汇款”,然后填写“转卡支付”,两种支付方式合计填写金额为10000元,填写完毕后,必须点“确定”后,会提示“执行成功”,再点击【下一步】进入预约时间安排。
第六步、预约时间,打印预约报销确认单首先选择预约的日期,然后选择预约的校区,系统自动列出各窗口的预约情况,选择一个合适的时间段后,点击【预约】(提示:1、目前预约时间为3个自然日,开始时间默认为当日,双休日、法定节假日除外。
2、预约数4/4的分母“4”代表该时段最大可预约数,分子“4”代表该时段剩余可预约数预约完成后,系统提示打印预约单,请核对相关报销信息,然后点击【打印确认单】即可完成整个预约流程。
请持打印好的报销单,办理好相应签字、盖章手续后,按预约时间到财务处指定窗口报销。
为保证得到及时优先办理,请务必按预约起始时间前往。
修改报销单本功能只能修改报销单的报销费用内容、支付方式等信息。
如果要更换经费项目报销,因为要解除原来冻结项目的金额,并重新检查新项目的可用余额及预算控制情况。
请先撤销原来的报销单,并重新申请新的报销单,不能通过修改报销单来更换经费项目。
如果需要重新预约时间或窗口,直接在网上预约首页先选中一个报销单,然后点击【预约安排】按钮即可进行重新预约时间和窗口。
需要修改报销单时,请先在主界面选择一个报销单,然后点击【修改报销单】,其它操作同【申请预约单】。
撤销报销单本功能是将作废或错误的报销单直接删除,撤销报销单时,将同时解除预约时冻结的相应预算额度和可用余额。
因此,如有作废或错误的预约记录请及时撤销,以免造成项目经费无法正常使用的情况。
需要撤销报销单时,请先在主界面中选择一个报销单,然后点击【撤销报销单】打印报销单一般情况下,在预约的最后一步,可以完成打印报销单。
此处的打印报销单,可用于报销单丢失等原因进行补打,打印报销单也可多选预约单进行连续打印。
预约安排如果原来预约安排的时间无法来报销,可以通过“预约安排”重新安排预约的时间,安排好后打印报销单。
历史报销单点击网上预约报账主界面的【预约管理】,选择【历史报销单】,进入历史报销单查询模块。
个人信息维护可以将个人常用的信息保存在系统中三、项目授权进入财务处综合信息门户,左侧的系统导航,选择【项目经费管理】进入【授权管理员】和【授权无限额经办人】项目负责人可以授权经费管理员或无限额经办人。
见(图4)建议:各学院及机关各部门日常工作经费可以由负责人授权专人为经费管理员,该管理员可以再根据需要使用授权功能。
被授权人必须是本校教职工点击【授权管理员】,选择【添加管理员】,输入工号自动跳出姓名。
(图5)点击【确认】添加。
四、预约完成网上预约完成后,报销人可在预约时间前将报销单据及预约报销单一并送至计划财务处报销大厅相应的预约窗口,如出现问题无法报销的,请您及时取回单据,。
五、注意事项1.务必妥善保管您的财务信息门户用户名及密码,切勿向外泄露给他人。
2.报销金额与计划财务处最终审核金额不一致时,审定金额小于负责人签字金额,按计划财务处审定金额支付;审定金额大于负责人签字金额,需要重新审批3.未按预约日期递交的报销票据,请重新预约。
4.预约成功未及时报销,或者通过其他途径报销的老师,将已预约的报销单撤销,否则该笔预约的金额会被冻结,影响项目经费的使用。
5.根据项目经费管理要求,网上预约仅支持一个预约单对应一个项目经费卡号,不支持一个预约单对应多个项目经费卡号。
6.为规范财务报销管理,节约报销时间,提高工作效率,报销人应按规定整理好原始单据,按票据性质分类加总,将正确的金额填写到对应报销项中,如不按规定填报,将予以退回处理。
7.办理多笔预约业务,应按步骤逐笔预约,并将“预约时间”选择同一窗口,便于在同一或相邻时间段办理报销业务。
严禁只预约一张报销单,办理多笔无预约报销单业务,否则予以退回处理。
感谢您使用计划财务处网上预约报销系统,欢迎您多提意见和建议!。