产后出血抢救流程图1
- 格式:doc
- 大小:24.01 KB
- 文档页数:2
精选文档产后出血急救流程图1、产前高危管理高危要素查凝功能妊高征、前置胎盘、胎盘早口服 Vit C 、 K剥、羊水过多、巨大儿、多胎妊娠、滞产、急产、严重贫血、浑身性疾病致出血倾2、临产向察看产程预防宫缩乏力产后出血出血量≥ 500ml/24h 3、产时实时娩出胎盘并检查其完好性,正确丈量出血量4、产后按摩宫底、敦促排尿,实时发现、缝合产道损害开放静脉路按摩宫底输液、备血宫缩剂纠正休克胎盘娩出前检查胎盘完好否胎盘娩出后增补血容量剥离胎盘检查缝合纠正酸中毒产道裂伤按摩宫底宫缩剂血管活性药胎盘植人子宫冷敷查凝血功能乙醚纱布塞阴道出血出血少宫腔拥塞子宫动脉结扎不针对病因髂内动脉结扎疗能治控制子宫次全切除术必需时子痫急救流程图子痫认识病史记录生命征开放静脉路导尿记尿量3、扩容1、控制抽搐2、解痉白蛋白、血冬眠一号半量硫酸镁5g,冲击低右平定、鲁米那纳20g,保持预防感染,首选青霉素或头孢类精选文档一般办理平卧、侧头、置张口器避光、声刺激清理呼吸道、给氧降压肼苯哒嗪 12.5~ 25mg酚妥拉明 20~ 40mg血生化产科办理办理并发症监测纠正酸中肾心脑水肿颅毒及水电临产衰衰脑疝内解质杂乱未临产出血抽迅速脱水搐甘露醇、速尿血短控压期制未内2控不~制能8分小脑娩时利强部止低缩短第尿心血二产程剖宫产剂剂温剂精选文档羊水栓塞急救流程图加压给氧胎儿娩出前胎儿娩出后增补血容量输液、输血罂粟碱 30~ 90mg肺动脉高压产后出血多巴胺阿托品 1~ 2mg排除肺20~ 80mg心衰、肺衰休克氨茶碱 250~ 500mg动脉高压阿拉明CNS 严重缺氧20~ 80mg西地兰 0.4mg酚妥拉明抗心衰、心肌营养20~ 40mgATP、COA细胞色素 C抗过敏肝素 50mg潘生丁 200~ 400mg阿司匹林0.75mg右旅糖酐抑肽酶 2~4 万6-氨基己酸5g止血环酸30mg止血芳酸20~ 80mg速尿 40mg利尿酸 50~100mg甘露醇 25mlDROP - CHHEBS 九项举措D:多巴胺R:酚妥拉明O:给氧P:罂粟碱C:西地兰第一产程H:激素HE :肝素B:输血克制宫缩S:碳酸氢纳剖宫产氢可 300~ 400mg地塞米松20~ 40mgDIC高凝阶段增补凝血因子输新鲜血耗费性低凝期输纤维蛋白原Vit K 20 ~ 40mg 纤溶阶段肾衰广谱抗生素(首选头孢族)去除病因第二产程产后必需时助产、缩短检查、修理产道子宫切第二产程损害、剥离胎盘除术禁用宫缩剂。
产后出血抢救预案
积极处理第三产程
预警线:一级急救处理产后2h内出血量≥400mL,且出血尚未控制
一线医生
①求助和沟通
②建立两条可靠的静脉通道,吸氧,监测生
命体征和尿量,检查血常规、凝血功能,交
叉配血,积极寻找原因并处理
处理线:二级急救处理出血量500~1 500mL
子宫收缩乏力 ①扩容
按摩及双合诊按压子 ②给氧
宫,积极应用强效宫 ③监测出血量、生 缩剂(如卡前列素氨 命体征和尿量、血 丁三醇等)、球囊或 氧饱和度、生化指 纱条填塞宫腔、子宫 标等,必要时行成 压迫缝合术、子宫血
分输血
管结扎术等
产道损伤
胎盘因素
凝血功能障碍 缝合裂伤,清除血 人工剥离,刮宫, 补充凝血因子:包 肿,恢复子宫解剖 胎盘植入:保守性 括新鲜冰冻血浆、 位置,子宫下段破 手术治疗或子宫切 冷沉淀、凝血酶原
裂者尽快剖腹探查 除术
复合物、血小板等 并手术处理
多学科团队协助抢救,继续抗休克和病因治疗,如有必要且条件允许时合理转诊,早期输血及止血复苏,必要时子宫动脉栓塞或子宫切除术;呼吸管理,容量管理,弥散性血管内凝血(DIC )的治疗;使用血管活性药物,纠正酸中毒,应用抗生素;重要脏器功能保护:心、脑、肺、肾等。
重症监护[麻醉科、血液科、重症监护病房(ICU )等]
(摘自中华医学会妇产科学分会产科学组《产后出血预防和处理指南(2014)》)
同时启动院内绿色通道,必要时启动系统绿色通道,请大连市。
产后出血抢救流程图出血出血少不能控制必要时高危因素妊高征、前置胎盘、胎盘早剥、羊水过多、巨大儿、多胎妊娠、滞产、急产、严重贫血、全身性疾病致出血倾向1、产前高危管理查凝血功能口服Vit C 、K2、临产观察产程预防宫缩乏力3、产时及时娩出胎盘并检查其完整性,准确测量出血量4、产后按摩宫底、督促排尿,及时发现、缝合产道损伤产后出血出血量≥500ml/24h开放静脉路输液、备血按摩宫底宫缩剂纠正休克胎盘娩出前检查胎盘完整否胎盘娩出后补充血容量纠正酸中毒剥离胎盘按摩宫底宫缩剂检查缝合产道裂伤血管活性药胎盘植人子宫冷敷乙醚纱布塞阴道查凝血功能宫腔堵塞子宫动脉结扎髂内动脉结扎针对病因治疗子宫次全切除术子痫抢救流程图抽搐血短控压期制未内2控不~制能8分小娩时子痫了解病史记录生命征导尿记尿量开放静脉路一般处理平卧、侧头、置开口器避光、声刺激清理呼吸道、给氧3、扩容白蛋白、血低右1、控制抽搐冬眠一号半量安定、鲁米那纳2、解痉硫酸镁5g ,冲击20g ,维持降压肼苯哒嗪12.5~25mg 酚妥拉明20~40mg预防感染,首选青霉素或头孢类血生化监测产科处理处理并发症纠正酸中毒及水电解质紊乱临产未临产肾衰心衰脑水肿脑疝颅内出血快速脱水甘露醇、速尿缩短第二产程剖宫产利尿剂强心剂脑部低温止血剂羊水栓塞抢救流程图解除肺动脉高压抗心衰、心肌营养DROP -CHHEBS 九项措施D :多巴胺R :酚妥拉明O :给氧P :罂粟碱C :西地兰H :激素必要时HE :肝素B :输血S :碳酸氢纳加压给氧罂粟碱30~90mg 阿托品1~2mg 氨茶碱250~500mg西地兰0.4mg ATP 、COA 细胞色素C胎儿娩出前胎儿娩出后肺动脉高压心衰、肺衰CNS 严重缺氧产后出血休克补充血容量输液、输血多巴胺20~80mg 阿拉明20~80mg 酚妥拉明20~40mg抗过敏氢可300~400mg 地塞米松20~40mg肝素50mg潘生丁200~400mg 阿司匹林0.75mg 右旅糖酐抑肽酶2~4万6-氨基己酸5g 止血环酸30mg 止血芳酸20~80mgDIC 高凝阶段消耗性低凝期纤溶阶段补充凝血因子输新鲜血输纤维蛋白原Vit K 20~40mg速尿40mg 利尿酸50~100mg 甘露醇25ml肾衰广谱抗生素(首选头孢族)去除病因第一产程第二产程产后抑制宫缩剖宫产助产、缩短第二产程禁用宫缩剂检查、修补产道损伤、剥离胎盘子宫切除术。
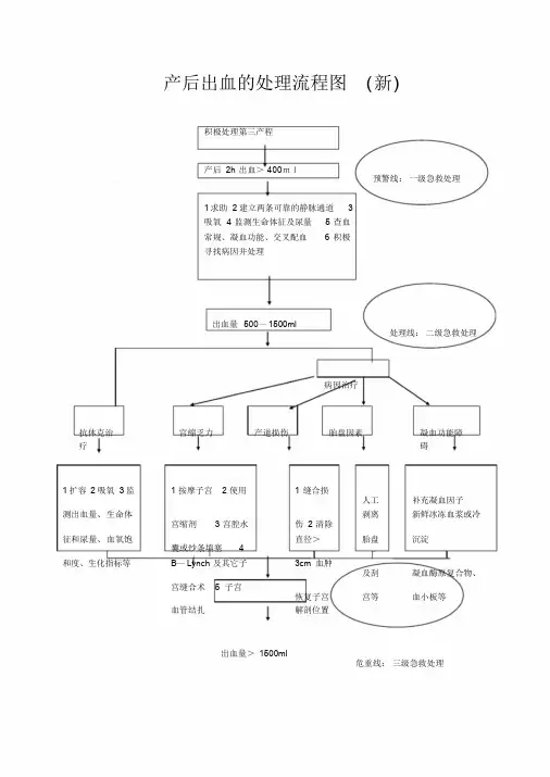
产后出血的处理流程图(新)
积极处理第三产程
产后2h 出血>400ml
预警线:一级急救处理
1 求助
2 建立两条可靠的静脉通道 3
吸氧 4 监测生命体征及尿量 5 查血
常规、凝血功能、交叉配血 6 积极
寻找病因并处理
出血量500—1500ml
处理线:二级急救处理
病因治疗
抗休克治宫缩乏力产道损伤胎盘因素凝血功能障疗碍
1 扩容
2 吸氧
3 监 1 按摩子宫 2 使用 1 缝合损
人工补充凝血因子
测出血量、生命体剥离新鲜冰冻血浆或冷
宫缩剂 3 宫腔水伤 2 清除
征和尿量、血氧饱直径>胎盘沉淀
囊或纱条填塞 4
和度、生化指标等B―Lynch 及其它子3cm 血肿
及刮凝血酶原复合物、
宫缝合术 5 子宫
恢复子宫宫等血小板等
血管结扎解剖位置
出血量>1500ml
危重线:三级急救处理
1 积极抗休克和病因治疗
2 呼吸管理
3 容量管理
4 DIC 的治疗
5 使用血管活性药物
6 纠正酸中毒
7 应用抗生素8 必要时子宫动脉栓塞或子宫切除术
9 重要脏器功能保护:心、肝、肺、肾等10 重症监护:麻醉科、血液科、ICU 等
预警线:一级急救处理。