产后出血、子痫、羊水栓塞抢救流程图
- 格式:doc
- 大小:69.50 KB
- 文档页数:4
边抗休克、边补充血容量胎盘未娩出(1)观察神智、测血压、脉搏、呼吸、给氧宫缩好(2)准确估计失血量(容积盘胎膜(1)排空膀胱法)有缺损轻柔按摩子宫(3)开放输液通道静脉输液(2)排出宫腔出检查完整输血、记出入量(1)消积血、血块(4)注射催产素或使用其它毒下行(3)吸吮刺激仍有活观察2小时消毒下宫缩剂宫腔探乳头动出血查或清(4)用宫缩剂宫术可行宫缝合止血人工剥人工剥离胎盘出血≥220ml 500ml(2)使腔探查困难离胎盘扔出血观察2小时压迫鉴定血型鉴定血型、备血、查止血按摩子备血血尿常规继续出血宫压迫法静脉输液(血常规血型应尽量观察2小时双手压迫按进一步找原因如凝注射止血在产前检查)摩子宫血功能障碍等催产素测红血球压积、血钾使用卡切除子钠、氯、钙、磷宫腔纱布填塞孕栓或宫或无镁、二氧化碳结合力米索条件治同时输液、纠正酸中切除子宫或毒,及时快速输血,无条件治疗仍有活动出补血量要足出血血停止出血不凝固、可疑DIC、做DIC全套检查(参照边找观察羊水栓塞图)原因小时作相应处转送上级医院附注:产后宫缩剂的用法:1.催产素10-20U肌注或20U``500ml液体中静滴2.麦角新碱0.2mg肌注(胎盘娩出前,高血压。
心脏病患者禁用)、3.米索前列醇200mg舌下含服或阴道给药(心脏病,哮喘病,糖尿病,青花眼患者禁用)4.卡孕栓1mg肛塞或舌下含服(禁忌症同米索)抗休克中输液种类:1.林格氏液2.输全血。
血浆,浓缩红血球3,低分子右旋糖酐4.血浆代用品5.4—5%碳酸氢盐,生理盐水,葡萄糖氯化钠(5%葡萄糖盐水)等。
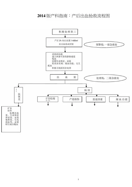
2014版产科指南:产后出血抢救流程图
1
2
多学科团队协助抢救 继续抗休克和病因治疗
如有必要且条件允许时合理转诊 早期输血及止血复苏 呼吸管理.容虽管理 DIC 的治疗
使用血管活性药物 纠正酸中凄 应用抗生索
必要时子宫动脉栓塞或子宫切除术 重要脏器功能保护:心、脑、肺、肾等 重症监护(麻醉科、血液科、ICU 等)
按摩及双合诊按压子 宫积极应用强效宫缩剂
(如卡前列氨丁三醇 等)球囊或纱条填塞宫腔 子宫压迫缝合术
子宫血管结扎术等
缝合裂伤 清除血肿
恢复子宫解剖 位置
子宫卜•段破 裂者尽快剖腹探 査并手术处理
人工剥离 刮宫
胎盘植 入:保守性手 术治疗或子宫 切除
补充凝血 因子:包括新鲜 冰冻血浆、冷沉 淀.凝血酶原复 合物、血小板等
1 1 1
出血量勿500ml。
产后出血抢救预案
积极处理第三产程
预警线:一级急救处理产后2h内出血量≥400mL,且出血尚未控制
一线医生
①求助和沟通
②建立两条可靠的静脉通道,吸氧,监测生
命体征和尿量,检查血常规、凝血功能,交
叉配血,积极寻找原因并处理
处理线:二级急救处理出血量500~1 500mL
子宫收缩乏力 ①扩容
按摩及双合诊按压子 ②给氧
宫,积极应用强效宫 ③监测出血量、生 缩剂(如卡前列素氨 命体征和尿量、血 丁三醇等)、球囊或 氧饱和度、生化指 纱条填塞宫腔、子宫 标等,必要时行成 压迫缝合术、子宫血
分输血
管结扎术等
产道损伤
胎盘因素
凝血功能障碍 缝合裂伤,清除血 人工剥离,刮宫, 补充凝血因子:包 肿,恢复子宫解剖 胎盘植入:保守性 括新鲜冰冻血浆、 位置,子宫下段破 手术治疗或子宫切 冷沉淀、凝血酶原
裂者尽快剖腹探查 除术
复合物、血小板等 并手术处理
多学科团队协助抢救,继续抗休克和病因治疗,如有必要且条件允许时合理转诊,早期输血及止血复苏,必要时子宫动脉栓塞或子宫切除术;呼吸管理,容量管理,弥散性血管内凝血(DIC )的治疗;使用血管活性药物,纠正酸中毒,应用抗生素;重要脏器功能保护:心、脑、肺、肾等。
重症监护[麻醉科、血液科、重症监护病房(ICU )等]
(摘自中华医学会妇产科学分会产科学组《产后出血预防和处理指南(2014)》)
同时启动院内绿色通道,必要时启动系统绿色通道,请大连市。
.
.精品. 产后出血的处理流程图(新)
积极处理第三产程
产后2h 出血>400ml
预警线:一级急救处理
1 求助
2 建立两条可靠的静脉通道 3
吸氧 4 监测生命体征及尿量 5 查血
常规、凝血功能、穿插配血 6 积极
寻找病因并处理
出血量500—1500ml
处理线:二级急救处理
病因治疗
抗休克治宫缩乏力产道损伤胎盘因素凝血功能障疗碍
1 扩容
2 吸氧
3 监 1 按摩子宫 2 使用 1 缝合损
人工补充凝血因子
测出血量、生命体剥离新鲜冰冻血浆或冷
宫缩剂 3 宫腔水伤 2 去除
征和尿量、血氧饱直径>胎盘沉淀
囊或纱条填塞 4
和度、生化指标等B―Lynch 及其它子3cm 血肿
及刮凝血酶原复合物、
宫缝合术 5 子宫
恢复子宫宫等血小板等
血管结扎解剖位置
出血量>1500ml
危重线:三级急救处理
.
1 积极抗休克和病因治疗
2 呼吸管理
3 容量管理
4 DIC 的治疗
5 使用血管活性药物
6 纠正酸中毒
7 应用抗生素8 必要时子宫动脉栓塞或子宫切除术
9 重要脏器功能保护:心、肝、肺、肾等10 重症监护:麻醉科、血液科、ICU 等
预警线:一级急救处理
.精品.。
产后出血抢救流程图1、产前高危管理查凝血功能口服Vit C 、K2、临产观察产程预防宫缩乏力高危因素妊高征、前置胎盘、胎盘早剥、羊水过多、巨大儿、多胎妊娠、滞产、急产、严重贫血、全身性疾病致出血倾向3、产时及时娩出胎盘并检查其完整性,准确测量出血量4、产后按摩宫底、督促排尿,及时发现、缝合产道损伤产后出血出血量≥ 500ml/24h开放静脉路输液、备血按摩宫底宫缩剂纠正休克胎盘娩出前检查胎盘完整否胎盘娩出后补充血容量纠正酸中毒剥离胎盘按摩宫底宫缩剂检查缝合产道裂伤血管活性药胎盘植人子宫冷敷乙醚纱布塞阴道查凝血功能出血出血少不宫腔堵塞子宫动脉结扎髂内动脉结扎针对病因治疗能控制子宫次全切除术必要时子痫抢救流程图子痫了解病史记录生命征导尿记尿量开放静脉路一般处理平卧、侧头、置开口器避光、声刺激清理呼吸道、给氧3、扩容白蛋白、血低右1、控制抽搐冬眠一号半量安定、鲁米那纳2、解痉硫酸镁5g,冲击20g,维持降压肼苯哒嗪12.5~25mg酚妥拉明20~40mg预防感染,首选青霉素或头孢类血生化监测产科处理处理并发症纠正酸中毒及水电解质紊乱临产未临产抽肾心脑水肿颅衰衰脑疝内出血快速脱水缩短第搐血短控压期制未内 2控不~制能8分小娩时脑利强部止尿心低血二产程剖宫产剂剂温剂羊水栓塞抢救流程图加压给氧罂粟碱30~90mg 阿托品1~2mg 胎儿娩出前胎儿娩出后补充血容量输液、输血多巴胺20~80mg氨茶碱250~500mg解除肺动脉高压肺动脉高压心衰、肺衰CNS 严重缺氧产后出血休克阿拉明20~80mg酚妥拉明20~40mg西地兰0.4mgATP、COA细胞色素 C 抗心衰、心肌营养抗过敏氢可300~400mg地塞米松20~40mg肝素50mg潘生丁200~400mg 阿司匹林0.75mg右旅糖酐抑肽酶2~4 万6-氨基己酸5g止血环酸30mg止血芳酸20~80mgDIC高凝阶段消耗性低凝期纤溶阶段补充凝血因子输新鲜血输纤维蛋白原Vit K 20 ~40mg速尿40mgDROP -CHHEBS 九项措施D:多巴胺R:酚妥拉明O:给氧P:罂粟碱C:西地兰H:激素必要时HE :肝素B:输血S:碳酸氢纳Welcome To Download !!!欢迎您的下载,资料仅供参考!。
产后大出血的抢救流程图
产后出血病因5T
Tone:子宫乏力
*占70%
*进行子宫按摩
*双合诊压迫
*药物
·催产素(10u Ⅳ或IM,1000ml盐水中加入10-40u以250ml/hr输入)
·麦角新碱(0.2mg IM),高血压时慎用。
·前列腺素F2α欣母沛 0.25mg IM或子宫肌层内注射,可每15分钟重复一次,最多8次。
·米索前列醇800mg PR
Trauma:宫颈或阴道撕裂
*占产后出血的20%
*检查和修补
*有明显的出血点时可局部进行压迫
Tissue:胎盘残留
第3产程的积极处理可预防
*占产后出血的10%
*手工取出
*去除碎片
Thrombin:凝血功能异常
*占产后出血的1%
*凝血功能检测
*补充血制品
Tummer:宫颈癌、绒毛膜上皮癌
如果持续出血,考虑手术。