工作流审核系统业务流程图
- 格式:vsd
- 大小:110.00 KB
- 文档页数:2
公司行政工作业务流程图13张目录一、会议管理流程 3 二、档案管理流程 4 三、档案借阅管理流程 5 四、公文发文管理流程 6 五、合同会签管理流程7六、固定资产采购领用管理流程 8 七、办公用品采购领用管理流程9 八、招聘管理流程 10 九、员工入职管理流程 11 十、员工离职审批管理流程 12 十一、出差审批管理流程 13 一、会议管理流程流程说明相关部门行政部相关领导总经理备注 1、相关部门在月底填写下周的会议申请单并草拟会议通知,上报行政部审核。
临时会议安排在与会前两日内上报行政部。
2、行政部主管领导审批;审批通过,下发会议通知。
3、公司领导会议、专项会议由行政部统一进行会前准备、召开、承办及会议纪要总结,部门会议由相关部门安排专人负责。
4、会议纪要交由与会领导会签,主管领导签发。
5、由行政部向会议各部门下发会议纪要。
6、相关部门承办会议决议事项,行政部负责跟踪会议决议事项的实施情况上报。
7、会议相关的资料归档。
会议纪要会议召开会议准备会议申请开始结束资料归档会议决议跟踪(会议决议事项跟踪表)承办监督纪要发文会议纪要会议召开会议准备会议通知汇总受理审核主管领导签发会签主管领导审批二、档案管理流程流程说明相关部门行政部相关领导总经理备注1、相关部门收集本部门档案文件,进行整理、分类,填写档案移交目录清单。
2、行政部档案管理员接收档案、进行核对、编号、录入、归档。
3、可销毁的文件填写档案销毁清单,经主管领导审核后,报总经理审批。
4、经审批可销毁的文件安排销毁。
填写档案移交目录清单开始收集整理,分类结束销毁档案销毁清单编号、录入、归档主管领导审核审批三、档案借阅管理流程流程说明相关部门行政部相关领导总经理备注1、申请人填写档案借阅表,经主管领导审核后,交由行政部审核,最后由总经理审批。
(具体参照档案的密级程度审批权限)2、档案管理员调出文件,申请人查阅并及时归还。
3、档案管理员审核归还的档案,做好借阅资料的审核工作,最后登记归档。
系统总体业务流程图1-1:图1-1:凭证处理业务流程说明相关内容见表2-2:凭证录入与审核业务流程图流程说明相关内容见表2-3:表2-3凭证反审核业务凭证反审核业务流程图流程说明相关内容见表2-4:表2-4注意:审核与反审核必须由同一人完成。
凭证过账与对账业务 凭证过账与对账业务流程图详细内容见流程图2-6:流程说明相关内容见表2-5:表2-5初始化流程详细内容见流程图3-1:流程图3-1如上图所示总账系统初始化流程包括以下几步:新建账套系统设置基础资料设置初始数据录入结束初始化科目初始数据录入当各项资料输入完毕后,接下来就可以开始初始数据的录入工作了。
除非是无初始余额及累计发生额,否则所有用户都要进行初始余额设置。
初始余额的录入分两种情况进行处理:一是账套的启用时间是会计年度的第一个会计期间,只需录入各个会计科目的初始余额;另一种情况是账套的启用时间非会计年度的第一个会计期间,此时需录入截止到账套启用期间的各个会计科目的本年累计借、贷方发生额、损益的实际发生额、各科目的初始余额。
根据以上情况,在初始数据录入中要输入全部本位币、外币、数量金额账及辅助账、各核算项目的本年累计发生额及期初余额。
在如图3-5“金蝶K/3主控台”界面,选择【系统设置】→【初始化】→【总账】→【科目初始数据录入】,进入“初始余额录入”窗口进行录入操作。
初始余额录入在“初始余额录入”窗口的<币别>下拉列表框中,可选择不同的货币币种进行录入。
选择非本位币的其他币种时,所有的数据项目都会分为原币和折合本位币两项,在输入完原币数额后,系统会根据预设的汇率自动将原币折算为本位币,系统会将输入的各个币种的折合本位币汇总为综合本位币进行试算平衡。
在数据的录入过程中,系统提供了自动识别的功能:如果科目是数量金额核算,当光标移到该科目时,系统自动弹出“数量”栏供用户录入;如果科目是损益类科目,当光标移到该科目时,系统会自动弹出“损益类本年实际发生额”供用户录入;余额可分为借贷方两栏显示。
工作流程及流程图一、通过软件系统流转的工作流程和流程图(一)、设立登记工作流程:1、市场监管(执照)部门帮助申请人预审执照登记纸质材料后,申请人到综合服务窗口提交各部门材料;2、综合服务窗口帮办人员在“一口式审批系统”中录入市场监管(执照)、市场监管(代码)及税务部门所需信息;3、市场监管(执照)部门核准后,将注册号及核准日期等信息通过“审批信息交换平台”发送至代码、税务部门;4、公安部门组织刻制公章;5、代码部门核准后,将核准信息(含代码证号等)通过“审批信息交换平台”发送至市场监管(执照)、税务部门;6、税务部门核准后,将核准信息(含税务登记证号等)通过“审批信息交换平台”发送至市场监管(执照)部门;7、市场监管(执照)部门打印“三证合一”的营业执照,交综合服务窗口;8、综合服务窗口扫描营业执照,给市场监管(代码)、税务、公安部门;9、综合服务窗口向申请人发放“三证合一”营业执照、公章。
流程图:(二)、变更登记(不含跨区县迁址)(最终实现目标)工作流程:1、综合服务窗口帮办人员受理企业变更业务,并录入相关变更信息后,将信息通过信息交换平台推送至工商、质监和税务三个部门;2、工商部门在BS系统中进行变更审核操作,审核后点击“通过”,将与代码、税务有关的变更信息发送至质监、税务部门;3、质监部门在自己的系统中进行审核,将结果及组织机构代码信息发送至税务、工商部门;4、税务部门在自己的系统中进行审核,将结果及税务登记证号发送至工商部门;5、工商部门打印“三证合一”的营业执照。
流程图:(三)、注销登记(最终实现目标)工作流程:1、综合服务窗口收取申请材料,启动注销工作流程,录入相关信息发送信息交换平台,由信息交换平台推送至工商、质监、税务部门;2、税务部门办理注销登记,将结果反馈到信息交换平台,由信息交换平台推送至工商部门;3、工商部门办理注销登记,将结果反馈到信息交换平台,由信息交换平台推送至质监部门;4、质监部门办理注销手续。
activiti并发多实例⼦流程任务处理⼀直在搞⼯作流(activiti),总结⼀下关于⼯作流(activiti)中同时并发处理多个⼦流程的操作⽅法。
先说下我要实现的业务:1、办公室发通知(在系统申报页⾯上,勾选科室,被选中的科室执⾏第⼆步)2、科室科员填报数据3、科室科长做审核(注意这⾥的科长审核是对应第⼆步的科室,本科科长去审核本单位填报完的任务)4、办公室编制⽴项书,汇总数据好,需求就先这样,这⾥主要是给讲解⼀下关于⼦流程的使⽤,所以其他的需求就不往上写了。
先看⼀眼画好后的流程图:可以看到任务发起时(启动流程实例时)就进⼊了⼦流程中,这⾥需要关⼼的是怎么才能⽣成多个⼦流程呢,请看:接下来我们对这个⼦流程进⾏配置:注:1、Collection:可以存放集合,集合中可以存任意值,⼯作流会根据你集合⾥的值个数,去⽣成对应的⼦流程, 例如:我这⾥存的是3个科室code,{0001,0002,0003},那么就会⽣成出3个⼦流程, 其实这⾥我简单说明⼀下,如果只传⼊1个值会⽣成4个流程实例, 传2个会⽣成出6个流程实例(多出的两个,⼀个是⼦流程subprocess的,⼀个是流程中第⼀个任务的),以此类推。
2、Element variable:顾名思义就是节点流程变量,⽤于在流程图中代替集合中表⽰当前⼦流程的变量(我这存的是科室code,所以表⽰的就是科室code)。
这个节点流程变量可以在当前⼦流程中任意的task中使⽤,例如⼦流程中的任务我就⽤到了这个变量,稍后会有图详细说明 3、Completion condition:顾名思义就是完成条件,这⾥写的表达式如果满⾜即可到(第三步:⽴项书编制)这个任务,关于这⾥的配置, 给⼤家推荐⼀个⽹址介绍:接下来继续配置,我的业务需求是选中的科室做填报,并且有这个科室的科长去审核,那么我们接着去配置具体的⽤户任务(userTask)这⾥简单讲⼀下我做的这个项⽬的权限控制,我这⾥是通过权限点去控制显⽰每个任务的待办的权限,假如张三有PM10000101权限点,他就能看到任务中配置了PM10000101的待办,因为我的系统是三级树权限控制,⽤户--⾓⾊--权限点(功能点),所以我在⼯作流Candiate groups中配置的是功能点,各位可以根据⾃⼰系统的需要去合理配置。
U871 审批流帮助文档文档控制修改记录审阅人存档目录1工作流系统框架与运行原理 (3)1.1工作流基本概念 (3)1.2U8工作流系统结构 (3)1.2.1U8工作流系统部署 (3)1.2.2工作流系统中各模块交互 (4)2实施帮助 (5)2.1阅读对象 (5)2.2实施环境 (5)2.3实施流程 (5)2.3.1单据准备与数据表准备 (5)2.3.2业务对象配置(UAP数据引擎配置) (5)2.3.3审批业务对象设定 (11)2.3.4审批流程图配置 (18)2.3.4.1 审核节点设置 (18)2.3.4.2 流程发起事件设置 (21)2.3.4.3 多级审批条件设置 (23)2.3.4.4 备注 (25)3开发帮助 (25)3.1阅读对象 (25)3.2开发环境 (25)3.3开发准备 (25)3.4开发流程 (26)3.4.1审批流程——提交 (26)3.4.2审批流程——撤销 (31)3.4.3审批流程——审批 (34)1 工作流系统框架与运行原理1.1 工作流基本概念工作流系统是以规格化的流程描述作为输入的软件组件,它维护流程的运行状态,并在人和应用之间分派活动。
流程定义(process definition)和流程实例(process instance). 一个流程定义是一个业务流程或过程的规格化描述。
一个流程实例是流程定义的一个运行实体。
安装在U8应用服务器上。
用户可根据实际需要,在引擎服务器上部署新的工作流引擎,并将其加入到已有的工作流运行环境中。
U8客户端需要部署工作流管理控制台、流程设计器、审批管理中心、审批功能客户端接口和业务部门开发的、参与工作流系统的业务部件。
1.2.2工作流系统中各模块交互工作流系统的使用过程分为三个阶段:设计时、配置时、运行时;设计时阶段需要完成流程模型设计;配置时阶段需要完成工作流系统运行环境的配置、工作流模型发布及版本管理等工作;运行时阶段需要负责发起和完成流程实例等工作。
厂Z 片业务部工作流程图一、11推广① 参加与本公司业务相关的国际、国内的大型植保机械展会,增强产品竞争性。
② 完善网站页面,建立属于自己的植保机械网站进行网络推广,并在各大网站投注设置关 键搜索,建立产品信息顺畅传递渠道,增加潜在客户对本公司的关注度。
③ 参加政府等有关机构举办的现场演示会。
④ 在各业务员的回访客户期间,大力宣传公司的产品,提高本公司产品的覆盖率。
以下为①、③的流程图:工具、配件揪糧.祁展、撤庸、苗喘 StJIiiW硝汇九片t?丙k• ------------------------------ 10 _________________ J以下为业务员回访流程图:(提前申请)④回访时发生的公出、出差行为依相关规定管理。
8.1回访目的:①调查市场、研究市场。
②了解竞争对手。
③客户保养(电话保养、书面致意、登门拜访、联谊活动、其他):A、强化感情联系,建立核心客户。
B推动业务量。
C、结清货款。
④开发新客户。
⑤新产品推广。
⑥提高本公司产品的覆盖率。
11.2推广的原则:①推广过程中,各类人员要以身作则,维护公司的形象。
②业务部内部要相互辅助协作,为业务推广的成功贡献出属于自己的一份力量。
、4.关于接单、订单受理办法订单情报处理流程图4.3经销商订货下单:①经销商订货得以电话通知方式或当面通知。
②各业务部门接受订货时,应先调查有无该项库存,如有库存即予填具《销货申请单》并注明允许的信用额度及应收款项清形,一式两联,一联送主管签核,一联送财务部存查。
③各营业单位主管签核《销货申请单》时,应依据价格表及信用额度与应收款项情形,审核该销货价格及该订单是否超出授信额度。
④非授权价格范围内的受订或超信额及无经销合同者的受订,应呈上一级权责主管核准。
⑤若客户以现金或支付票据订货时,应于《销货申请单》的备注栏内,注明现金交易。
⑥上述的《销货申请单》,其有关客户信用额度的资料,各营业单位负责的会计或助理人员应详实签注。
工作流程管理图怎么做
工作流程管理图是组织中管理和优化业务流程的重要工具。
通过可视化展示工作流程的各个步骤和环节,帮助团队成员更好地理解工作流程、优化流程、提高效率。
下面介绍了如何制作工作流程管理图:
1.确定流程范围和目标
在制作工作流程管理图之前,首先要明确流程的范围和目标。
确定需要绘制的具体工作流程,明确流程的开始和结束点,以及期望达到的优化目标。
2.收集流程信息
收集与指定工作流程相关的信息和数据。
可以与相关团队成员、专家或利益相关者讨论,了解流程的各个步骤、环节和涉及的人员。
3.绘制流程图
选择合适的工具,如Flowchart、MindMap等,开始绘制工作流程管理图。
在绘制过程中,按照流程顺序排列各个步骤,使用合适的符号表示不同的流程元素(如任务、决策、并行处理等)。
4.审查和完善
完成初步绘制后,邀请相关人员审查流程图,提出意见和改进建议。
根据反馈意见进行修改和完善,确保流程图准确反映实际工作流程。
5.发布和分享
完成最终版的工作流程管理图后,发布并分享给团队成员和相关利益相关者。
确保流程图易于理解和使用,并与团队成员一起进行培训和讨论,以推动流程优化和改进。
通过以上步骤,可以有效制作工作流程管理图,帮助组织更好地管理和优化业务流程,提高工作效率和质量。
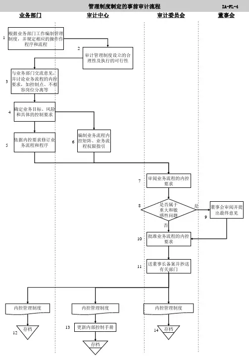
内部审核控制程序1、目的1.1 判定质量、环境、职业健康安全管理体系的活动是否符合标准规范的要求。
1.2 质量、环境职业健康安全管理体系是否得到正确的实施和保持,并确定其有效性。
1.3 评审以往审核的结果,向总经理报送审核结果的信息。
2 、适用范围适用于公司质量、环境、职业健康安全管理体系内部审核。
3、职责3.1 管理者代表3.1.1 领导和策划质量、环境、职业健康安全管理体系内部审核工作,并向总经理汇报年度内部审核计划。
3.1.2 任命审核组长,授权审核员进行审核工作。
3.1.3 负责审批内部审核报告,并向总经理汇报审核结果。
3.2 质量管理部3.2.1负责内部审核员培训和管理。
3.2.2 推荐内审员组成内审组并提名审核组长,报管理者代表审批、授权。
3.2.3 负责拟定年度内部审核计划,并报管理者代表审批。
3.2.4 负责组织对受审核单位实施的纠正、风险应对措施进行跟踪验证。
3.2.5 负责内审文件和记录的归档工作。
3.3 审核组长3.3.1 编制内部审核计划,并报管理者代表审批。
3.3.2 明确审核员分工,主持审核组内部会议,实施内部审核。
3.3.3 组织审核员对审核发现作出审核评价,编制审核报告和不符合项分布表。
3.3.4 向受审核单位通报并签发不符合项报告和观察项报告。
3.4 审核组3.4.1 收集审核资料,编制审核表,实施内部审核。
3.4.2 整理审核结果,编写观察项、不符合项报告和内部审核报告。
3.4.3 讨论审核发现,并将不符合项提交受审核单位负责人确认。
3.4.4 整理本次内部审核文件并上交质量管理部。
3. 受审核单位3.5.1 负责将审核的时间和范围通知有关人员,配合审核员的工作。
3.5.2 根据内部审核结果,对不符合项和观察项进行确认。
3.5.3 负责对经审核组确认的纠正措施进行实施,并将实施结果反馈质量管理部组织验证。
4、工作流程5、控制要求5.1 审核要求5.1.1 公司内部审核可采取集中审核和滚动审核两种方式进行。
1.1.1U8审批流程图配置
工具:用友工作流设计器:
1.1.1.1审核节点设置
在配置工作流程图的过程中,在每个审核处先设定审核人:
每个审核处设定好基本属性(审批人以及基本信息等),就要设置高级属性:
高级属性的设置需要设置以下几点:
1、业务对象;
2、业务功能;
3、业务插件(只有在最后一级审核时才将其设置为自己写的自定义插件);
4、关键业务数据;
5、输入参数(点击确认业务实体获得)
如下图所示:
1.1.1.2流程发起事件设置
将流程图中的各个审批节点设置好后,继续设置流程发起事件,一般的流程发起事件都是用户提交审批:
先设置一些基本属性:
再甚至高级属性(关键):
在高级属性中的设置应多注意以下几点:
1、业务对象与业务功能的设置与审批节点相似,不同的是,此处流程发起
事件的业务功能使用的是提交,而不是审批;
2、此处不需要使用到我们自定义的业务插件;
1.1.1.3多级审批条件设置
一般多级审批都涉及一个条件的设置,条件指明审核与审核之间关系的因素,例如我们设置二级审批,当然,二级审批只有在一级审批审核后,并且通过了,二级审批才能进行,下面我们就以这个为例子,讲述一下,多级审批条件的设置:
1、一般一级审批的条件多为1==1(此处是使用恒等符号)
2、二级审批条件的设置:
二级审批条件设置页面:
上图语句的意思就是:当第一审批人的审批结果为同意时,第二级审批才有效
1.1.1.4备注
业务模型流程的设置是多变的,以上的介绍只是为大家阐述在流程设置中各种节点与量的设置,再复杂的流程图设置都是用条件、发起事件、审核事件构成,只要搞清楚这三点的设置方式,相信再复杂的流程图都可以设置得出来
完。
1、采购部查询库存信息及用户需求,若商品的库存量不能满足用户的需求,则编制相应的采购订货单,并交送给供应商提出订货请求。
供应商按订货单要求发货给该公司采购部,并附上采购收货单。
采购部在验货后,发现货物不合格,将货物退回供应商,如果合格则交送库房。
库房管理员再进一步审核货物是否合格,如果合格则登记流水账和库房账目,如果不合格则交由主管审核后退回供应商。
2、在盘点管理流程中,库管员根据仓库数据首先编制盘存报表并提交给仓库主管,仓库主管查询库存清单和盘点流水账,然后根据盘点规定进行审核,如果合格则提交合格盘存报表递交给库管员。
如果不合格则仓库主管返回不合格盘存报表给库管员重新查询数据进行盘点。
根据以上情况画出业务流程图。
3、若库房里的货品由于自然或其他原因而破损,且不可用的,需进行报损处理,即这些货品清除出库房。
具体报损流程如下:由库房相关人员定期按库存计划编制需要对货物进行报损处理的报损清单,交给主管确认、审核。
主管审核后确定清单上的货品必须报损,则进行报损处理,并根据报损清单登记流水账,同事修改库存台账;若报损单上的货品不符合报损要求,则将报损单退回库房。
4、“生产资料出库”主要指生产部门员工到仓库中领取生产原料和各种生产工具等产品,其流程描述如下:首先由生产部门员工向仓库主任提交原料提货单,然后仓库主任根据当前库存情况和用料计划对提货单进行审核,将不合格的提货单返回给生产部门员工,并将合格原料提货单交给库管员,库管员根据合格原料提货单更新库存台账并记录出库流水账。
(1)根据以上描述,绘出生产资料“出库”的业务流程图。
(10分) (2)根据上题的业务流程绘出生产资料“出库”的数据流程图(5分)5、采购员从库房收到缺货通知单以后,查阅订货合同单,若已订货,向供货单位发出催货请求,否则,填写订货单交供货单位。
供货单位发出货物后,立即向采购员发出取货通知单。
采购员取货后,发出入库单给库房。
库房进行验货入库处理,如发现有不合格货品,发出验收不合格通知单给采购员,采购员据此填写退货单给供货单位。