统计工作流程图
- 格式:docx
- 大小:19.09 KB
- 文档页数:1
组织统计调查工作流程图汇总组织统计调查工作流程图汇总调查是对某一现象或情况进行系统、全面、科学地收集和处理信息的过程。
统计调查是为了了解和反映本领域或本问题的情况和发展趋势,为决策或科学研究提供必需的数据,是人们掌握社会、经济、文化、科技等各个方面的基础数据的重要手段。
因此,组织统计调查是非常重要的。
接下来将介绍一下组织统计调查的工作流程。
一、确定调查目标确定调查目标是组织统计调查工作的首要任务。
目标的明确性、明确性和可用性直接影响调查工作的质量和效果。
在制定目标时,应充分考虑调查研究的目的、收集数据的方式、数据的使用、样本的大小和人员等资源的合理配置等。
图1 组织统计调查工作流程图二、确定调查计划根据调查目标,制定一份详细的调查计划,明确调查设计、调查方法、样本设计、人员布置、调查流程、调查时间、调查经费、数据处理方案等方面的内容。
调查计划中应包含必需的方法、原则和规范,以便于组织和指导调查过程,确保调查结果的准确性和可靠性。
三、制定问卷问卷设计是组织统计调查中重要的一个环节,问卷的设计质量直接影响调查结果的有效性和可靠性。
问卷应考虑到问题的范围、内容、结构和答案分类等方面,设计合理的问题和答案选择题。
制作问卷的过程中,要指明问卷的对象、目的和保密等内容。
四、进行调查进行调查是组织统计调查的核心工作。
调查人员应掌握很强的专业知识和技能,能够准确地把握调查方法和技巧。
调查人员在进行调查时,应做好各项准备,如选择合适的调查时间和地点,调查对象的选择、联系和解释等。
五、数据处理和分析在组织统计调查过程中生成的数据需要进行处理和分析。
数据处理是将采集到的数据进行整理、分类、统计等方面的工作,以便于进行后续的分析。
在数据处理的过程中,应注意数据的输入、存储、清理和转换等方面。
数据分析是为了发现规律、阐明关系和验证假设等方面而进行的一种科学方法。
六、撰写调查报告撰写调查报告是对组织统计调查工作的一个总结与归纳,报告要做到了解情况、论点明确、数据准确、完整、不偏,表述清晰、具有说服力。
统计产值工作流程表做
一、收集原始数据
1. 从各部门收集原始数据,包括产量、销量、成本等。
数据来源包括生产部、销售部、财务部等。
2. 对数据进行检查,删除错误数据,确保数据的准确性。
二、数据处理
1. 将收集到的原始数据进行汇总,得到产量、销量、成本等数据。
2. 计算产值,按照产值计算公式,利用产量和销量数据计算出产值。
3. 对数据进行分析,计算同比增长率,找到产值变化的原因。
三、形成统计报表
1. 使用等软件,将处理后的统计数据制作成产值报表。
2. 对报表进行美化,使其易于管理层阅读。
3. 在报表中加入图表,直观显示产值变化情况。
四、输出报告
1. 根据统计报表,写出统计分析报告。
2. 报告要突出产值的具体数值、变化趋势及影响因素。
3. 将统计报表作为附件,与报告一起提交。
4. 按时发送给管理层,作为产值考核和决策的依据。
五、存档管理
1. 打印统计报表和分析报告的纸质版。
2. 归档打印版和电子版,以备后续核查。
3. 定期清理报告,确保报告的时效性。
统计调查工作一般流程
1. 确定调查目标和范围
- 明确调查的主题和目的
- 确定调查的对象和范围(全国、地区或特定群体)
2. 设计调查方案
- 制定调查计划和时间安排
- 确定调查方法(面对面访问、电话访问、网上调查等) - 设计调查问卷或访谈提纲
3. 组建调查团队
- 招募和培训调查员
- 分配任务和工作区域
4. 实施调查
- 联系被调查对象并做好准备工作
- 按计划进行数据采集
- 监督和质量控制
5. 数据处理和分析
- 数据录入和清理
- 使用统计软件进行数据分析
- 生成报告和可视化数据
6. 结果发布和利用
- 编写最终调查报告
- 向相关部门或公众发布结果
- 为决策提供数据支持
7. 总结评估
- 评估调查过程中的优缺点
- 提出改进建议,为下次调查做好准备
以上是统计调查工作的一般流程,具体步骤和要求可能因调查主题和规模的不同而有所调整。
保证调查的科学性、客观性和代表性是开展高质量统计调查的关键。
统计执法检查流程图1. 制定检查计划2. 电话通知受查单位,通知检查时间、参加人员、所需资料,核对单位名称、地址检查准备3. 制作检查通知书及送达回证4. 查询受查单位以前年度是否接受过执法检查、基础工作情况和处罚情况5. 打印受查单位报表1. 出示证件2. 签收检查通知书的送达回证调查取证 3. 制作文书(现场笔录、询问笔录、基本情况表、取证资料清单)检查人员根据检查结果指标无误,做检查一致的说明差错较小,做当场责改的说明差错较大需要立案处罚简易程序当场处罚一般程序制作检查报告将检查报告和案卷材料提交审理未达到审理要求达到审理要求的案卷的案卷 , 退回检查提请立案人员进行补证,补证后根据检查结果制作立案呈批表批准立案后 , 根据拟做出的行政处罚拟拟做出警告或 3 万元以下罚款处罚的,一般拟罚款超过 3 万程程序元的,听证程序制作行政处罚事先告知书及送达回证,送达被处罚单位 ,听取单位陈述申辩陈述申辩过程对违法事实无异议对违法事实提请再议的,调查终结制作处理呈批表的,补充调查补充调查后结果没变补充调查后结果有变动,调查终结动,制作新文书达到立案标准的,文书事实不成立或未达中向违法单位告知陈到立案标准的,制作述申辩权利销案呈批表制作行政处罚决定书及送达回证(罚款处罚的填写缴款书五联单),送达被处罚单位处以警告处罚的,处罚决定书送达后制作结案呈批表处以罚款处罚的,取得缴款书回执后制作结案呈批表因各种原因不能继续处理执行的,制作销案呈批表拟罚款超过 3 万元的,听证程序制作行政处罚听证告知及送达回证,送达被处罚单位放弃听证权和陈述申辩放弃听证权进提出听证的,组权的行陈述申辩的织听证会,制作听证报告陈述申辩过程对违法事对违法事实提请再议的,补充调查实无异议的补充调查后结果没变动补充调查后结果有变动达到立案标准的,文书事实不成立或未达到立中向违法单位告知陈述案标准的,制作销案呈批申辩权或听证权表拟警告或 3 万元以下罚拟罚款超过 3 万拟罚款5万元以款处罚的,制作处理呈元低于5万元的上的批表处理呈批提请重大案件审查委员会审查作出决定处理呈批提请重大案件审查委员会审查作出决定,由局队长联席办公会审议制作行政处罚决定书及送达回证(罚款处罚的制作缴款书),送达被处罚单位。
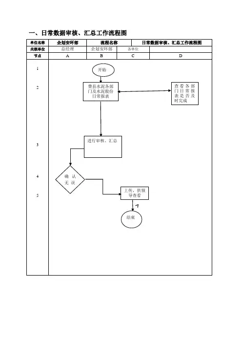
统计数据审核流程图一、引言统计数据审核是确保统计数据的准确性和可靠性的重要环节。
本文将详细介绍统计数据审核的流程图,以确保数据审核工作的高效和准确。
二、流程图以下是统计数据审核的流程图:1. 采集数据- 数据采集员从各个部门或者来源采集数据。
- 数据采集员将数据整理并存储在一个统一的数据库中。
2. 数据预处理- 数据预处理员对采集到的数据进行初步清洗和处理。
- 数据预处理员检查数据的完整性、一致性和准确性。
- 数据预处理员将清洗后的数据存储在一个暂时数据库中。
3. 数据审核申请- 数据审核员根据需要选择要审核的数据。
- 数据审核员填写数据审核申请表,包括审核的目的、范围和时间要求。
- 数据审核员将数据审核申请表提交给审核主管。
4. 审核主管审批- 审核主管收到数据审核申请表后,对申请进行审批。
- 审核主管根据审核的目的和重要性,决定是否批准审核申请。
- 审核主管将审批结果通知给数据审核员。
5. 数据审核- 数据审核员根据审核申请表中的要求,对选定的数据进行审核。
- 数据审核员使用专业的统计分析工具和方法,对数据进行详细的分析和比对。
- 数据审核员将审核结果记录在审核报告中。
6. 审核报告- 数据审核员将审核报告提交给审核主管。
- 审核报告包括审核的目的、范围、方法和结果等内容。
- 审核报告还包括对异常数据的解释和建议。
7. 审核主管审阅- 审核主管收到审核报告后,对报告进行审阅。
- 审核主管检查审核报告的完整性和准确性。
- 审核主管根据审核报告的结果,决定是否需要进一步的处理或者纠正。
8. 数据处理或者纠正- 如果审核报告中发现了数据错误或者异常,相关部门将进行数据处理或者纠正。
- 数据处理或者纠正的具体方法和流程将根据具体情况而定。
9. 审核结果反馈- 审核主管将审核结果反馈给相关部门或者数据采集员。
- 审核结果反馈包括审核报告的摘要和处理或者纠正的要求。
- 相关部门或者数据采集员根据审核结果进行相应的处理或者纠正。
统计岗位工作流程图
周期 内 容 每天 开 始
7:20
制
7:30
8:00
9:00 10:00 11:00 13:30 14:00 15:00 16:00 17:00
核对车间生产单,盘
点成品仓库存数量 入录生产单、原料进货单(eas 系统)
填写上报报表(原料、成品料库存日报表)
跟踪原料库存量 ,安排原料运输车辆拉货 统计和打印各场、服务部饲
料调拨单到发料岗位 物资、配件领用打单 结束 处理原料等发票 核对单据数量、金额 和合同
周期内容周期内容
每周一与仓管盘点原料、成品料1日核对计件工工资上报,整理单据
20日跟踪各场、部饲料报料计划,做好
饲料厂下月原料采购计划
27日做好企业收支平衡表
每2天根据各场、部报料计划,
统计做好饲料厂生产计划
每5天核算饲料生产成本28日编织袋仓盘点
月底成品、原料盘点;做好饲料原料损
耗表并分析;运费报表;
1、4、7、
填报饲料季度报表上报
11月份。
区域活动,是我们根据教育的目标和幼儿发展的水平有目的的创设活动环境,投放活动材料,让幼儿按照自己的意愿和能力以操作摆弄为主的方式进行个别化的自主学习的活动。
它是教师从幼儿的兴趣出发,为使幼儿行高效学习,获最佳发展而精心设计的环境;它可以让幼儿自由地进出各个区域,开展游戏活动;它有着相对宽松的活动气氛,灵活多样的活动形式,能满足幼儿发展的不同需要。
新《纲要》中指出:幼儿园应为幼儿提供健康、丰富的生活和活动环境,满足他们多方面发展的需要,使他们在快乐的童年生活中获得有益身心发展的经验。
尊重幼儿身心发展规律和学习特点,以游戏为基本活动,保教并重,关注个别差异,促进每个幼儿富有个性的发展,而区域活动正符合这一要求。
在上一学年的游戏活动实践中,我们发现幼儿“一窝蜂”现象和在材料的使用上因使用不当给下次使用的小朋友造成不便的情况较为严重,而且在期末考核时也发现各区域游戏的目标达成度不够高,因此,在本学期开学前,我们三位老师经过仔细研究,制定本学期游戏计划如下:一、学期目标《量贩式KTV》活动区目标:1、提高幼儿对音乐的兴趣,特别是男孩,吸引他们来活动。
2、提供音带、乐器、节奏谱等,发展幼儿的节奏感。
3、提供各种材料,如:飘带、花等,让幼儿自由舞蹈,提高幼儿对音乐的感受力、表现力。
4、发展幼儿的动作,提高幼儿动作的协调性。
《久隆建筑工地》活动区目标:1、发展幼儿的感知觉,增强幼儿手指肌肉的发展。
2、引导幼儿在游戏中懂得合作,提高幼儿发现问题、解决问题的能力。
3、发展幼儿的想象力和创造力,鼓励他们大胆建筑。
《动动手》美工区目标:1、提供各种成品、半成品让幼儿操作,发展幼儿的画、剪、贴、折等的基本技能。
2、教育幼儿在活动中养成良好的操作卫生习惯。
统计数据审核流程图一、概述统计数据审核流程图是指用图形的方式展示统计数据审核的流程和各个环节之间的关系。
通过流程图的绘制,可以清晰地了解统计数据审核的具体步骤和各个环节的责任人,从而提高数据审核的效率和准确性。
二、流程图绘制1. 开始节点:标识流程图的开始,普通使用圆形表示,并在圆形内部写明“开始”字样。
2. 数据采集:第一步是采集需要审核的统计数据,可以从各个部门或者系统中搜集数据,并将其整理成一份完整的数据表格。
这一步的责任人可以是数据管理员或者相关部门的工作人员。
使用矩形框表示该步骤。
3. 数据初审:采集到的数据需要经过初步审核,确保数据的完整性和准确性。
初审的责任人可以是数据管理员或者专门的审核人员。
使用菱形表示该步骤,表示需要做出判断。
4. 数据复核:初审合格的数据需要进行复核,以确保数据的准确性。
复核的责任人可以是数据管理员或者专门的复核人员。
使用矩形框表示该步骤。
5. 数据分析:复核合格的数据需要进行进一步的分析,以获取有价值的信息。
数据分析可以使用统计软件或者专门的分析工具进行。
数据分析的责任人可以是数据分析师或者相关领域的专家。
使用矩形框表示该步骤。
6. 数据报告:数据分析完成后,需要将结果整理成报告形式,以便向相关人员进行汇报。
数据报告可以包括图表、文字说明等形式。
数据报告的责任人可以是报告撰写人员或者相关部门的工作人员。
使用矩形框表示该步骤。
7. 数据审查:数据报告需要经过审查,确保报告的准确性和可靠性。
审查的责任人可以是专门的审查人员或者相关部门的工作人员。
使用菱形表示该步骤,表示需要做出判断。
8. 数据修改:在数据审查过程中,如果发现数据存在错误或者不许确的情况,需要进行相应的修改。
数据修改的责任人可以是数据管理员或者相关部门的工作人员。
使用矩形框表示该步骤。
9. 数据最终审查:修改后的数据需要再次进行最终审查,确保数据的准确性和完整性。
最终审查的责任人可以是数据管理员或者专门的审查人员。
统计工作流程图行政职权目录第30项责任科室:财政管理办公室责任人:李良职务:统计负责人实施依据:《中华人民共和国统计法》2006年2月1日起施行2、专项统计3、统计法规4、统计监审、检查 1、统计报表调查、普查、宣传、统计抽样调查业务培训根据统计局通知委托和镇实际情况要求,制订统计监审、检查工作计划根据统计法律法根据市局要规、市统计局业务根据市局要求及镇需要明确统计监审、检查内容要求和镇要求,部求或按照市制订宣传培署各项统计信息资训计划局规定和实料收集工作,明确际情况确定明确统计监审、检查对象内容、范围及时间被调查对象,明确内容、范围、组织统计单明确统计监审、检查范围时间。
普查位的统计人各统计登记单位按同时成立领员进行业务照统计法规规定和导小组培训,对统确定统计监审、检查时间镇统计站业务要求计持证人员上报各项统计信息组织参加市统计局继续资料确定统计监审、检查人员(不得少于二人) 教育培训,提高全社会统计法规意汇集各项统计信息资统计监审由市统计局统一制作《统计监督检识和统计队持证依法进行料,并加以整理,对伍业务水平查通知书》告知被监审对象,统计检查由镇调查,并汇集发现问题及时修正通知告知被检查对象调查资料。
对发现问题及时指导、整改向被监审、检查对象主动出示统计检查证书并在监审表或调查笔录上证明证件号码上报市提供主发扬爱岗敬统计局要经济业精神,与指标分检查被监审、检查单位的统计原始记录、统计台时俱进,不帐、统计报表及有关会计、税务等业务资料析资料断探索统计工作新思上报市统计局路,推进统检查人员要填写《统计检查情况表》、《调查笔录》计现代化建设,促进统计报表规对监审、检查对象在检查中发现的问题、检范、快速、查人员当场收集相应物证高质量根据统计法律法规和市局、镇要求对外公布统计信息资料对《统计检查情况表》、《调查笔录》由被检查单位盖章并由当事人签名对统计检查中发现的一般问题,进行教育和整改,对问题较为严重且不改正的上报市统计局依法处理业务咨询电话:5046369 对统计监审拟写《统计监审工作报告》上报监督机构:镇纪委市统计局法制教育科监督投诉电话:5043142。