双色水位计(!)
- 格式:pdf
- 大小:1.14 MB
- 文档页数:21
获ISO9001国际质量标准认证证书X49H-10/II-Z无盲区云母双色水位计使用说明书太仓金菱仪表有限公司有限公司目录一、用途---------------------------------------------------------------------- --1二、结构特点及工作原理------------------------------------------------------1三、主要技术参数---------------------------------------------------------------3四、安装---------------------------------------------------------------------------3五、调试---------------------------------------------------------------------------4六、使用----------------------------------------------------------------------------5七、维修及注意事项-------------------------------------------------------------6八、易损零件----------------------------------------------------------------------8一、产品概述:X49H-10/II-Z型直线式无盲区云母双色水位计,是我公司专为中型电厂、电站火力发电机组锅炉汽包水位监视而设计制造的就地仪表。
可与电视监视系统配套使用,实现远程检测,该水位计广泛应用于电力、石油、化工等行业压力容器的水(液)位监测。
二、结构特点及工作原理:2.1本水位计外形结构如图所示2.2本水位计主要由表体、云母组件、前、后压板、高强螺栓、LED 冷光源总成(LED冷光源箱、隔热处理箱、观测罩、)开关电源(专为LED冷光源配制)、平衡管、高压阀门等组成。
TC-S(M)W水位计的排污方法与维修方法一.排污方法超高压双色水位计的排污方法:有二种,可用汽排,也可用水排。
(一)高温高压蒸汽排污的操作程序是:1、首先关闭双色水位计的水阀;2、打开双色水位计的排污阀;此时,锅炉内的高温高压饱和蒸汽通过双色水位计的汽阀,进入水位计的本体,将本体内的污垢通过水位计的水阀的后腔体,由排污阀排出,达到汽排污的目的。
(二)高压水排污的操作程序是:3、首先关闭双色水位计的水阀;4、关闭锅炉汽包上的一次汽阀;5、打开双色水位计的排污阀;此时,锅炉内的高温高压水通过锅炉汽包一次水阀进入双色水位计的平衡管,再经过水位计的汽阀进入水位计的本体,形成旋涡的高压水将本体内的污垢通过水位计的水阀后腔体,由排污阀排出。
通过以上两种排污方法排污后,再将各阀门恢复到工作状态即可。
我们公司生产的超高压双色水位计一般要求: 刚投运或更换备件前三个月可以15~20天排污一次,每次大约3~5分钟,以后要7天排污一次。
二、装配方法组装观察窗:参照图(一)螺母螺栓垫圈压盖缓冲垫平面镜保护带保护垫防腐垫密封垫本体图(一) 观察窗结构图由本公司提供的成套密封件包装盒上的排列顺序与本说明所示完全一致,装配时不可搞错,否则将导致泄漏。
a螺栓螺纹上涂耐高温防烧结剂(我公司可提供)后,栽入本体(螺纹短的一端)。
栽入的螺栓每行应在一条直线上,螺栓头应在同一平面上。
b平面镜装入压盖前应仔细检查相接触的密封面,不许有任何污物,硬质点,然后将用软布擦净的缓冲垫、平面镜装入压盖(不可触及透光表面)使平面镜凸量尽可能保证在0.03-0.06之间。
否则应进行选配。
c将本体密封面清理干净不许有任何污物、硬质点存在。
将清洁的密封垫、防腐垫、保护垫(不可触及透光表面)装入本体,d将压盖装入本体。
装上垫圈、螺母,徒手拧紧。
e压盖螺栓应以20、40、60、80、100N.m力矩层次,按下图顺序逐步紧固。
(12MPa最大扭矩值80N.m;16MPa最大扭矩值90N.m;22MPa最大扭矩值100N.m)两面装配相同。
双色水位计工作原理工作原理如下:1.压力平衡:当压力源与管内液体达到平衡时,液体的高度会在玻璃管的两侧保持平衡。
这就意味着,当液体高度在一侧上升时,另一侧的液体高度会下降,以保持平衡。
2.颜色分离:由于两种不同颜色液体的密度不同,它们会在玻璃管中形成两个分离的层。
通常,水被放置在底部,而油则浮在水上。
这种分离有助于更准确地观察液体的高度变化。
3.观测液位:通过观察液体层的高度变化,可以确定液体的水平位置和压力。
当压力增加时,液体层的高度会升高;当压力减小时,液体层的高度会降低。
4.颜色警示标记:通常,在玻璃管上有一些颜色标记,用于指示特定液位范围的位置。
这些标记可以帮助操作员更容易地识别液位的变化。
1.高可视性:透明玻璃管使操作员能够清楚地看到液体层的高度变化。
2.准确:由于液体层的颜色分离和颜色标记的存在,双色水位计可以提供准确的液位测量。
3.灵敏度:双色水位计对液体高度的变化非常敏感,可以测量细小的高度差异。
4.多功能性:双色水位计可以用于测量液体和气体的水平位置和压力,适用于许多不同的应用领域。
虽然双色水位计在许多应用中都可用,但也存在一些限制:1.温度影响:温度的变化可能会导致液体的膨胀或收缩,从而影响液位的准确性。
因此,在使用双色水位计时需要注意温度的影响,并进行相应的校正。
2.应用限制:双色水位计通常适用于相对较小的压力范围。
在高压环境下,可能需要使用更适合的压力传感器。
总结:双色水位计是一种基于重力平衡原理的液位测量仪器,通过观察不同颜色液体在玻璃管中的高度变化来确定液体的水平位置和压力。
它具有高可视性、准确性、灵敏度和多功能性的优点,但也受到温度影响和应用限制的制约。
双色水位计调节原理
双色水位计是一种常用的水位调节仪器,它可以实现控制水位较平稳,满足水
质和船只运行需求,从而起到节耗和保护河道环境的作用。
双色水位计的调节原理是将被调节液体(如水)的水位放置在一组两种颜色标
识间,当水位上升时,先会有上升指示器报警,如果不进行处理,过于激进就会因为水位超过另外一个颜色区域而启动一组电动调节装置,自动达到调节控制的状态。
当水位上升到高压标志时,将触发高压电磁阀启动,排出体积流量;当水位下
降到低压标志时,将触发低压电磁阀启动,进入体积流量。
被调节液体的水位在这两组标志较低和较高的水位之间,水位的上升和下降都会按照特定的趋势进行,从而保持所需的水位稳定。
双色水位计原理是简单却有效的水位调节方式,一旦水位发生变化便可以立即
调节,对于水利行业来说是节约资源、安全可靠的水位控制仪器,亦具有较强的稳定性。
6.4本水位计阀门内设有保险子,即钢球保护装置(见图7及阀门明细表),投运前此阀门处于关闭状态。
投运时先开启一次阀,然后将水位计的汽阀缓慢开启1/5圈,再将水阀缓慢开启1/5圈,即将关闭状态阀门的手轮逆时针旋转1/5圈,待水位正常后,汽阀、水阀交替开启,直至全开。
否则如水位计阀门一次全开,保险子会将汽水阀的通道堵死,出现假水位而造成严重事故。
如果因错误操作引起保险子堵死通道时,应立即处理,处理方法是:立即关闭一次阀门,然后关闭二次阀门,不得延误时间,然后按上述开启阀门方法重新操作一次。
锅炉正常运行时要全开本水位计的汽、水阀门,否则保险子起不到保护作用。
6.5 本水位计在排污时,应先关闭一、二次汽、水阀门,然后开启排污阀门排污,排污后关闭排污阀,然后按6.4的方法正确投运水位计。
7.4本水位计因水质各异,长期运行也会结垢,导致红、绿色显示不清晰,根据实际情况需进行冲洗,冲洗方法分为:汽冲洗、水冲洗。
7.4.1汽冲洗首先将水位计的一、二次阀完全关闭,然后开启排污阀,将汽侧一次阀开启至全开,再将汽侧二次阀缓慢开启1/5圈,再利用高压蒸汽冲洗结垢的云母片,通过控制汽侧二次阀的开度来调节高压蒸汽的流量(开度不可过大,否则保险子堵死通道;如果保险子堵死通道,必须按6.4的方法重新操作),冲洗时间3~5分钟,若水位计已清晰,可停止冲洗工作。
冲洗完毕。
顺序关闭一次阀、二次阀、排污阀。
然后按6.4的方法正确投运水位计。
7.4.2水冲洗首先关闭汽包水位计汽侧一、二次阀、水侧二次阀,隔离汽包水位计。
然后打开汽包水位计排污阀,待水放净后关闭排污阀,此时便开始水位计的冲洗工作。
冲洗水位计时由开、关水侧二次阀来控制冲洗水的压力,缓慢并微开汽包水位计水侧二次阀,使水依次流过水侧二次阀、水汽侧阀之间的连通管、汽侧二次阀、水位计,使水位计充满水,然后关闭水侧二次阀,开启排污阀,依靠水位计内的压力与水的自重带走污垢。
反复冲洗几次后检查,若水位计已清晰,可停止冲洗工作。
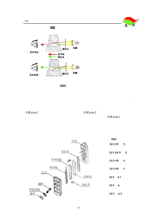
SHS 系列窗式、孔式双色水位计SHS 系列窗式、孔式双色水位计工作原理双色观察窗结构SHS-SW-3三窗式高压超高压双色水位计SHS-SW12-3 ,SHS-SW16-3,SHS-SW22-3三窗式高压、超高压双色水位计,它是在总结国内外生产透射式双色水位计优点基础上研制成功的窗式高压、超高压双色水位计,具有盲区小,窗口布置合理,不易挂垢,观察水位清晰,透明逼真,维修周期长等优点,是目前最先进理想的水位计。
适合22.5MPa以下各类蒸汽锅炉或其它压力容器使用。
SHS-SW□-3三窗水位计SHS-SMW -5五窗式高压超高压双色水位计SHS-SMW12-5,SHS-SMW16-5,SHS-SMW22-5系列五窗式高压、超高压双色水位计,它是在总结国内外生产透射式双色水位计优点基础上研制成功的窗式高压、超高压双色水位计,具有五窗式无盲区结构,窗口布置合理,不易挂垢,观察水位清晰,透明逼真,维修周期长等优点,是目前最先进理想的水位计。
适合22.5MPa以下各类蒸汽锅炉或其它压力容器使用。
SHS-SMW□-5五窗无盲区水位计SHS 系列单窗式高压超高压水位计SHS-W-1单窗式单色水位计 SHS-SW-1单窗式双色水位计SHS-SW10-1一、P=2.5,4.0,6.4 MPa二、P=8.0,10.0,16,22.5 MPaSHS-SW □-7牛眼式高压超高压双色水位计SHS-SW □-7牛眼式高压超高压双色水位计型号水位计方向 工作压力MPa工作温度℃ 中心距mm L1 mm L2 mm 可视范围 观察窗口数 联接方式 SHS-SW16-7 任选 16 346 670 285 385 454 7 焊接 SHS-SW22-7 任选 22 345 670310 360 454 7 焊接密封组件SHS□中低压玻璃板水位计SHS□-AG高温中低压玻璃板水位计SHS□-AG型高温中低压玻璃板水位计是用于工作温度低于480℃的中低压蒸汽锅炉或其它压力容器监测水位的一次仪表。
双色水位计工作原理双色水位计是一种常用的水位检测仪器,广泛应用于工业、船舶、建筑和家庭等领域。
它能够准确地测量液体的水位,并通过两个不同颜色的指示器来显示水位的高低。
下面将介绍双色水位计的工作原理。
1. 原理概述双色水位计的工作原理基于液体压力传导和反射光学原理。
它包括一个测量体(通常为一段透明的管道)和两个颜色不同的液面指示器(通常为红色和绿色)。
通过管道连接的液体体系会随着液位的变化而产生压力变化,进而改变液面指示器上液体的颜色。
2. 液体压力传导液体压力传导是双色水位计的核心原理之一。
当液位上升时,液体的重力会使液体在管道中上升,增加管道内的液体压力。
而另一侧液面下降,液体压力减小。
通过在测量体两端分别连接液体体系,可以使得液体压力的变化通过管道传导到指示器上。
当液位升高时,指示器上的染液体会逐渐上升覆盖绿色指示器,当液位下降时,红色指示器会暴露出来。
3. 反射光学原理反射光学原理是双色水位计的另一个重要原理。
液面指示器上的染液体具有不同的折射率,这使得光在液体体系中会发生折射。
当光线从上方射向指示器表面时,根据液体不同折射率的位置变化,光线在液面指示器内部会发生折射和反射。
利用这一原理,在指示器上可以看到不同颜色的液体。
4. 工作过程当双色水位计开始工作时,液体体系与管道内部充满液体,并与两个液面指示器连接。
液面指示器上方的透明部分是用于透射光线的,同时兼具了保护指示器和液体的功能。
当液位升高时,液体压力会在管道内传导,液体上升并覆盖住绿色指示器,绿色指示器将会呈现出来。
相反,当液位下降时,红色指示器会暴露出来,从而显示液位的变化。
5. 特点与优势双色水位计的工作原理赋予了它很多特点与优势。
首先,双色水位计采用了直观的颜色显示方式,使得操作人员可以迅速准确地判断液位的高低。
其次,双色水位计比较简单,结构紧凑,易于安装和维护。
它不需要额外的电力或电子设备,可以在大多数环境中工作。
另外,双色水位计的测量范围较广,有良好的可视性和可靠性。
双色水位计的原理双色水位计是一种常见的液位测量仪器,用于测量容器内液体的高度。
其原理基于液体受重力的作用下产生的压强差,利用这一压强差产生的液位差异通过两种不同颜色的液体显示出来。
双色水位计由一根透明的U形玻璃管和两种不同颜色的液体组成。
通常,这两种液体的比重有较大差异。
双色水位计的首要原理是靠两种液体的比重差形成的气压差,而这种者作用外并且产生液位的变化。
首先,将双色水位计连接至被测容器的上部,使两端的管口进入容器内和外。
当被测容器内外的液位不一致时,液体会对双色水位计产生不同的压强,从而引起液体在玻璃管两端的液位变化。
具体的液位计测量原理如下:当被测容器内外的液位相同时,两种液体在玻璃管中的高度将保持平衡,两者的液位会保持一致。
然而,当被测容器内外的液位不一致时,两种液体在玻璃管中的高度将产生差异。
此时,比重较大的液体会产生较高的液位,而比重较小的液体则会产生较低的液位。
这样,人们可以通过两种不同颜色的液体的液位差,直观地了解被测容器内外的液位高度。
在测量过程中,双色水位计的读数将通过将测量液体的液位与玻璃管上的刻度进行比对得出。
通常情况下,玻璃管的刻度是以毫米为单位的,以便更精确地测量液位的变化。
双色水位计的原理主要基于液体受高度差引起的气压差的作用。
根据斯蒂文定律和帕斯卡定律,一个封闭的容器内,液体所受压强与容器底部的高度成正比。
根据液体的密度以及重力加速度,我们可以得出液体的压强公式:P = ρgh,其中P是液体的压强,ρ是液体的密度,g是重力加速度,h是液体的高度。
而液体所受压强差也是液位计测量的基础。
总结起来,双色水位计的工作原理是利用液体的密度差引起的气压差,通过两种不同颜色的液体在玻璃管中的液位变化来显示被测容器内外的液位高度。
这种测量原理简单而直观,并且可以广泛应用于各种液位测量场合,如化工、医药、石油等领域。
双色水位计使用说明一、用途及特点:TC—S(M)W—II、III型系列高压,超高压双色水位计是用于工作压力低于22MPa 的蒸汽锅炉或其它压力容器监测水位的一次直读仪表。
它是在总结国内外生产透射式双色水位计优点基础上最新研制的长窗玻璃式高压、超高压双色水位计,它与其它双色水位计相比较,具有如下几种特点:1、盲区少、窗口布置合理。
在三窗水位计可视范围内设三个窗口,所以在水位计观察范围内只有两段盲区,每个观察范围是120mm而锅炉水位正常波动范围是50mm,它正处于水位计中间窗口的观察范围,所以在锅炉正常运行时,可无盲区监视,这是牛眼式水位计不可比拟的。
2、与牛眼式水位计相比较,自冲洗效果良好。
由于本系列水位计是长窗式,所以当蒸汽流经上连接管,一部分变为冷凝水后可经常顺窗口表面冲洗观察窗,使窗口不易挂垢,而牛眼式则达不到此效果。
3、光源采用特制的管灯,不需镇流器、只需接36V安全电压即可,而且灯管发光均匀,耐高温,寿命长。
4、它与云母式水位计相比较,具有观察范围宽、颜色清晰、透明逼真的优点。
5、五窗、七窗水位计是在上述优点基础上,研制出在一块本体上并列设置两排窗口,通过光学原理转换达到在水位计正前方正负3°角范围观看水位计的两排窗口,可同时观察到两窗口红绿变化且红绿分明、界面清晰,可在水位计可视范围内无盲区连续监视。
6、TC—S(M)W—II、III型系列水位计的本体都采用不锈钢材料,光源部分可调整。
二、技术参数:TC—SW16—II型最高使用工作压力——16MPa介质饱和温度——345可视范围——456mm外形尺寸——1090×415×520耗电功率——小于400W净重——90Kg三、工作原理:由光源发出的光通过红、绿滤色镜片,射向水位计本体液腔。
在腔内汽相部分,红光射向正前方,而绿光斜射到壁上被吸收,而在腔内液相部分,由于水的折射使绿光射向正前方,而红光斜射到壁上,因此在正前方观察,显示汽红水绿。
双色水位计工作原理双色水位计是一种常用的测量液体水位的仪器,其工作原理基于光的折射和传导。
通过使用不同颜色的液体和光传感器,双色水位计可以准确地测量液体的高度,并将其转化为电信号输出。
一、构造与原理双色水位计由光源、光导纤维、光传感器、液体容器和杆光子等组成。
光源发射光束,通过光导纤维将光束引导到液体容器中。
在光导纤维的一端,有两个不同颜色的液体填充,其分别对应不同的液位。
当液体高度低于光传感器时,光束被液体完全折射,无法到达光传感器,此时光传感器不会产生信号输出。
而当液体高度高于光传感器时,光束可以透过液体传导到光传感器,光传感器接收到光信号后会产生相应的电信号输出。
由于光传感器接收到的光信号受到液体的折射程度和颜色的影响,因此通过测量光信号的强度和颜色的变化,可以准确地确定液体的高度。
二、工作原理以测量液体水位为例,双色水位计的工作可以分为以下几个步骤:1. 光源发射光束:光源产生的光束会通过光导纤维传输到液体容器中。
光源的亮度和颜色对于测量的准确性起到关键作用。
2. 光束折射:当液体的高度低于光传感器时,光束会被液体完全折射,没有光到达光传感器。
若液体高度高于光传感器,则一部分光束可以透过液体传导到达光传感器。
3. 光传感器检测:光传感器接收到透过液体传导的光信号后,会将其转化为相应的电信号输出。
电信号的强度和颜色会随着液体高度的变化而发生变化。
4. 信号处理:输出的电信号会经过信号处理模块进行放大、滤波和转换等处理,以得到更稳定和可靠的水位测量结果。
通过以上步骤,双色水位计可以将液体的高度准确地转化为电信号输出,从而实现对液体水位的测量。
三、特点与应用双色水位计具有以下特点和优势:1. 精确度高:双色水位计采用光信号进行测量,可以在较短的时间内获得准确的水位数据,具有较高的测量精度。
2. 反应迅速:双色水位计的工作原理简单,响应速度快,可以实时监测液体的水位变化,并及时提供相应的水位信息。
双色水位计工作原理双色水位计是一种常用的水位测量仪器,它能够准确地测量液体的水位,并且在工业生产中得到广泛应用。
那么,双色水位计是如何工作的呢?接下来,我们将详细介绍双色水位计的工作原理。
首先,让我们来了解一下双色水位计的结构。
双色水位计主要由测量管、上下法兰、玻璃管、反射镜等部件组成。
测量管是双色水位计的核心部件,它通常由透明的玻璃制成,可以直观地观察到液体的水位。
上下法兰用于固定测量管,确保其稳定性。
而玻璃管和反射镜则用于反射光线,从而实现对液体水位的测量。
在双色水位计工作时,首先需要将其安装在液体容器上,使测量管的一端与液体接触。
然后,通过上下法兰将双色水位计固定在容器上。
接下来,利用反射镜和光源,将光线引入测量管内部。
当液体的水位超过测量管的一端时,光线会发生折射和反射,从而呈现出不同的颜色。
通过观察反射镜中的光线颜色变化,就可以准确地测量出液体的水位高度。
双色水位计的工作原理基于光的折射和反射现象。
当光线通过不同介质之间的界面时,会发生折射现象,即光线的传播方向发生改变。
而当光线遇到反射镜时,会发生反射现象,即光线被反射回原来的介质中。
因此,当液体的水位发生变化时,光线在测量管内部的折射和反射也会发生变化,从而呈现出不同的颜色。
通过观察这些颜色变化,就可以准确地测量出液体的水位高度。
总之,双色水位计是一种利用光的折射和反射原理来测量液体水位的仪器。
通过观察反射镜中的光线颜色变化,可以准确地测量出液体的水位高度,为工业生产提供了重要的技术支持。
希望本文对双色水位计的工作原理有所帮助,谢谢阅读!。