手术室应急预案处理流程图
- 格式:doc
- 大小:5.43 MB
- 文档页数:23
手术室应急预案目录一、手术室防火培训及应急预案.............. 错误!未指定书签。
手术室应对火灾的应急流程图................ 错误!未指定书签。
二、手术室停电和突然停电的应急预案........ 错误!未指定书签。
三、批量伤员手术救治的应急预案............ 错误!未指定书签。
手术室应对突发事件批量伤员的应急流程图.... 错误!未指定书签。
四、手术病人休克应急预案.................. 错误!未指定书签。
五、手术患者发生呼吸心跳骤停的应急预案及程序错误!未指定书签。
手术病人呼吸、心搏骤停的应急流程图........ 错误!未指定书签。
六、手术室应对特殊感染手术的应急预案...... 错误!未指定书签。
特殊感染手术处理程序...................... 错误!未指定书签。
七、使用中设备故障应急流程................ 错误!未指定书签。
八、物品清点误差应急预案.................. 错误!未指定书签。
九、手术病人坠床、跌倒的应急预案.......... 错误!未指定书签。
手术患者坠床、跌倒应急流程................ 错误!未指定书签。
十、手术病人发生压疮的应急预案............ 错误!未指定书签。
十一、手术病人发生电灼伤、烫伤的应急预案.. 错误!未指定书签。
十二、标本丢失应急预案.................... 错误!未指定书签。
十三、误用未消毒的物品的应急预案.......... 错误!未指定书签。
十四、用错药物应急预案.................... 错误!未指定书签。
十五、发生输液反应时的应急预案及程序...... 错误!未指定书签。
十六、患者出现输血反应的应急预案及程序.... 错误!未指定书签。
十七、地震应急预案........................ 错误!未指定书签。
手术室应急预案及流程目录表1.急诊手术绿色通道 (2)2.紧急抢救手术实施方案 (3)3.手术室一般停电应急流程 (4)4.手术室突然停电应急流程 (5)5.手术室停水的的应急预案 (6)6.手术室泛水的应急预案 (7)7.手术室发生火灾的应急预案 (8)8.手术室中心供氧突然停止的应预案 (14)9.手术室中心吸引突然停止的应急预案 (15)10.大批量伤员手术病人的应急预案 (16)11.术中呕吐物误吸的应急预案 (17)12.术中物品清点数目不全或物件残缺时的应急预案 (18)13.术中发生输液、输血反应应急预案 (19)14.患者术中大出血、低血容量性休克的应急预案 (20)15.手术患者心跳呼吸骤停的护理应急预案 (22)16.手术患者药物过敏性休克应急预案 (24)17.电灼伤患者的应急预案 (26)18.手术患者坠床的应急预案 (27)19.发生标本遗失的应急预案 (28)20.气管导管滑脱应急预案 (29)21.各类管道脱出的预防及应急预案 (30)一、急诊手术绿色通道白天常规留出一间手术间应对急诊。
当所有手术间满的情况下,原则上遵循急诊手术优先,手术科室择期手术让台的原则。
有生命威胁的手术遵循先结束的择期手术先让台的原则。
非急诊手术不能当急诊手术开展。
(一)手术间:常规安排一间急诊手术间以应对急手术。
(二)时间;1.急诊手术间空余的情况下,一般要求通知后30分钟内安排急诊手术,亚急诊手术情况除外。
2.急诊手术间没有空余的情况下,尽快协调安排其他手术间。
3.危及生命的急诊手术立即协调安排。
(三)安排原则1.急诊手术安排在急诊手术间进行。
2.二台或二台以上急诊的情况下,由手术和麻醉医生共同评估病人,危及生命的病人优先安排。
3.急诊手术间没有空余的情况下,急诊手术遵循手术病人所在科的手术科室让台。
病情危急的急诊手术,先结束的择期手术让台的原则。
4.产科的急手术;手术室的手术间已满,产妇的产程急不能等待的情况下,手术室人员备手术器械包到产房进行手术。
手术患者发生呼吸、心跳骤停的处理流程
手术患者药物引起过敏性休克的处理流程
手术室药物不良反应的处理流程
手术患者用药错误的处理流程
、
手术患者输液反应的处理流程
手术患者输血反应的处理流程
术中发生物品清点误差的处理流程
手术标本管理流程
手术患者手术中大出血时的处理流程
手术室中心负压吸引装置出现故障的处理流程
精品文档手术室中心吸氧装置出现故障的处理流程
精品文档术中仪器设备突发故障处理流程
、
术中医护人员发生针刺伤时的处理流程
批量伤员处理流程
手术患者发生坠床的处理流程
手术患者导管异常脱落的处理流程
手术中停电或突然停电的处理流程
泛水应急预案及处理流程
精品文档手术室火灾的处理流程
精品文档。
手术患者发生呼吸、心跳骤停的处理流程
手术患者药物引起过敏性休克的处理流程
手术室药物不良反应的处理流程
手术患者用药错误的处理流程
、
手术患者输液反应的处理流程
手术患者输血反应的处理流程
术中发生物品清点误差的处理流程
手术标本管理流程
手术患者手术中大出血时的处理流程
手术室中心负压吸引装置出现故障的处理流程
. 手术室中心吸氧装置出现故障的处理流程
.
术中仪器设备突发故障处理流程
、
术中医护人员发生针刺伤时的处理流程
批量伤员处理流程
手术患者发生坠床的处理流程
手术患者导管异常脱落的处理流程
手术中停电或突然停电的处理流程
泛水应急预案及处理流程
手术室火灾的处理流程。
手术室的应急预案xx年xx月xx日•手术室常见紧急情况•应对措施•手术室紧急情况的预防•手术室紧急情况的急救流程目•手术室紧急情况的处理规范录01手术室常见紧急情况总结词紧急抢救、恢复呼吸详细描述立即进行CPR(心肺复苏术)和气管插管,给予高流量吸氧或机械通气,同时准备急救药品和设备呼吸骤停总结词快速止血、输血详细描述立即采用各种止血方法,如加压包扎、止血钳等,同时迅速输血,补充血容量,预防休克严重出血总结词纠正心律失常、稳定生命体征详细描述根据心律失常类型选择相应的药物治疗,同时给予吸氧、心电监护等措施,直至患者生命体征平稳心律失常总结词立即停药、抗过敏治疗详细描述立即停用过敏药物,给予抗过敏药物如地塞米松、肾上腺素等治疗,同时给予吸氧、心电监护等措施急性过敏反应02应对措施呼吸骤停的应对措施根据患者情况判断呼吸骤停的原因,如异物阻塞、麻醉并发症等。
判断原因保持呼吸道通畅给予氧气启动急救流程立即清理呼吸道,放置口咽通气道或鼻咽通气道。
给予高浓度氧气或纯氧吸入,提高患者血氧饱和度。
立即启动急救流程,进行心肺复苏和紧急气管插管。
严重出血的应对措施迅速判断出血部位,明确手术切口、血管损伤或其他部位出血。
判断出血部位在手术野放大镜或显微镜下,迅速止血,结扎血管。
控制出血根据出血量,迅速补充血容量,维持循环稳定。
补充血容量启动紧急输血流程,根据患者情况配血,尽快输注浓缩红细胞和血浆。
启动紧急输血流程迅速判断心律失常的类型,如室性期前收缩、室上性心动过速等。
判断心律失常类型根据心律失常类型选择相应的药物治疗,如利多卡因、胺碘酮等。
药物治疗对于药物无法控制的心律失常,可采用电复律,迅速纠正心律失常。
电复律在手术前和手术过程中采取预防措施,如给予电解质平衡、减少应激等。
预防措施心律失常的应对措施急性过敏反应的应对措施立即停止使用过敏原立即停止使用过敏原,并撤出手术室。
判断过敏原迅速判断过敏原,如某种药物、某种食物等。
手术室应对突发事件、批量伤员应急预案及处理流程一、前言手术室是医院内最重要的工作场所之一,面临突发事件和批量伤员时,需要建立应急预案和处理流程,以保障患者和医护人员的安全,有效应对各种灾难情况。
二、突发事件应急预案1. 火灾•手术室内应设置灭火器、消防水带等灭火器材,并进行定期检查和维护。
•出现火灾时,立即通知相关人员,确保手术室内所有患者和医护人员安全撤离。
•关闭手术室内所有设备,并在安全距离外进行扑救,同时通知消防部门和医院领导。
2. 电力故障•定期检查手术室电气设备及电缆线路,确保安全可靠。
•出现电力故障时,立即切换备用电源,保证手术室内设备正常运转,确保患者手术安全进行。
3. 气体泄漏•定期检查手术室内氧气、氧化亚氮等气体管道和接头,防止泄漏发生。
•出现气体泄漏时,立即关闭气源,通风并进行紧急排气处理,确保手术室内空气清洁。
三、批量伤员应急预案1. 外伤事故•当医院接收到批量外伤患者时,手术室应立即启动多学科会诊制度,组织骨科、神经外科等相关医护人员进行全面评估和救治。
•根据患者伤情,优先进行分级手术安排,确保优先救治危重伤员。
2. 突发传染病•当医院发生突发传染病疫情时,手术室应建立传染病隔离手术流程,配备相关防护物品,确保医护人员和其他患者不受感染。
•对于已感染的患者,应安排隔离治疗,并做好与其他患者的隔离措施。
四、应急处理流程1. 事件发生•一旦发生突发事件或接收批量伤员,手术室应立即启动应急预案,通知相关人员和部门领导,并组织急救小组进行现场处置。
2. 信息通报•及时向医院领导和其他科室通报处理情况,协调资源和支援。
3. 处理措施•根据事件情况,迅速制定应对措施,配合其他科室的救治工作,确保患者得到及时救治。
4. 事后总结•事件结束后,手术室应召开应急演练总结会议,对事件处置情况进行总结和评估,不断完善应急预案和处理流程。
五、结语手术室作为医院内最重要的治疗场所之一,应急预案和处理流程的建立对于保障患者和医护人员的安全至关重要。
一.建立手术室、麻醉科火灾现场应急指挥小组:总指挥为手术室护士长、麻醉科主任,成员包括麻醉医生、手术医生、护士、工勤人员等,将人员分为通信联络组、灭火行动组、引导疏散组、后勤保障组四个组。
二.手术室内消防设施:(一)干粉灭火器、二氧化碳灭火器:一提、二拉、三对准、四按压(二)消火栓:一报警、二连接、三开水、四灭火(三)手动报警装置;(五)消防通道; (四)烟雾探测器及喷淋装置 (六)消防广播三、任何时候在手术室发生火灾,应遵循R.A.C.E 原则1、救援 (Rescue):组织病人及时离开火灾现场;对于手术病人,应采用抬、背、抱、平车等方式转移。
关闭设备电源开关,搬离设备,按贵重设备先转运的方法按序搬运。
2、报警(Alarm):利用就近电话或者消防手动报警装置按钮,及时拨打“119”火警和单位电话“3119”(消防值班室),报明起火部门、详细地址、火势大小、燃烧物质、有无被困人员、报警人姓名及电话。
尽快通知临近科室或者部门关上门窗、熟悉灭火计划和随时准备接收病人;与此同时向保卫处、科室护士长和行政总值班汇报,并派人在路口接应或者引导消防车进入火场。
3、限制(Confine):关上门窗,防止火势蔓延,关闭氧气,空气净化总开关,住手使用吸入性麻醉气体。
4、灭火或者疏散(Evacuate):如果火势不大,用灭火器进行灭火;如果火势太猛,按疏散计划,及时让病人和其他人员撤离现场。
疏散方法:水平疏散:将病人转移到同一层面其他安全地方;垂直疏散:将病人安置在起火楼层的三个层次以下;向外疏散:将病人转移到病房楼外。
四、发生消防紧急状况时成员分工:(一)日间:人员分组:总指挥手术室护士长、麻醉科主任,保卫部门工作人员到达后,现场指挥权交由保卫部;公安、消防部门工作人员到达后,所有人员均服从公安、消防部门的指挥。
1、通信联络组:首先发现火源的工作人员,护士长,前台工作人员。
2、灭火行动组:当时听急诊手术的所有麻醉、护理人员、巡回护士,医生助手,麻醉助手。
安全操作流程手术患者安全流程一、手术患者入手术室交接流程二、急症手术患者接入手术室流程三、术后患者返回病区或ICU交接流程四、手术体位安置原则及流程体位安置由手术医师、麻醉医师、巡回护士共同完成。
安置体位前核对手术患者信息及手术体位;移动患者时动作协调一致,避免拖、拉、拽;注意保暖、保护患者隐私,避免不必要的暴露;妥善固定各种管路;根据患者手术时间、受压部位、皮肤情况采取防护措施;术中对患者的受压部位进行适当护理,缩短局部受压时间;手术结束后,巡回护士与复苏室人员或病房护士进行交接并检查皮肤情况。
水平仰卧适用胸、腹部、下肢等手术。
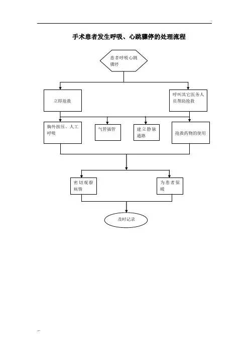
仰卧位安置流程:五、手术患者体温保护流程体温低于36℃六、术中输血流程医护人员工作流程一、洁净手术室日常管理流程二、外科手消毒流程四、建立无菌手术器械台操作流程五、医务人员职业暴露处理流程物品管理流程一、高值耗材物管理流程二、仪器设备管理流程手术室突发事件应急预案及流程一、手术患者发生呼吸心搏骤停的应急预案及流程(一)应急预案1、手术患者进入手术室,在手术开始前发生呼吸心搏骤停时,应立即行胸外心脏按压、人工呼吸、气管插管,并快速建立静脉通道,遵医嘱应用抢救药物。
2、同时呼叫其他医护人员协助抢救。
必要时准备开胸器械,行胸内心脏按压术,在抢救过程中应注意心、肺、脑复苏,必要时开放两条或以上静脉通道。
3.术中患者出现呼吸心搏骤停时,先行胸外心脏按压术,未行气管插管的患者,应立即行气管插管辅助呼吸,必要时再开放一条静脉通路。
4、及时执行医嘱、准备用药,口头医嘱必须复述一遍确认无误后方可执行,保留使用安瓿,待抢救完毕时及时补充医嘱,并签字。
5、参加抢救人员应注意相互密切配合、有条不紊,严格查对,及时准确的记录抢救过程。
6、抢救中密切观察病情,以便及时发现病情变化,尽快采取抢救措施。
7、急救药品要做到“四固定”,班班清点,完好率达100%,保证应急使用。
8、护理人员熟练掌握心肺复苏流程及各种急救仪器的使用方法和注意事项。
手术患者发生呼吸、心跳骤停的处理流程患者呼吸心跳骤停呼叫其它医务人立即抢救员帮助抢救胸外按压、人工气管插管建立静脉呼吸抢救药物的使用通路密切观察为患者保病情暖及时记录手术患者药物引起过敏性休克的处理流程患者发生过敏性休克立即停药,就地平卧、抢救皮下注射0.1% 盐酸肾上腺素0.5~1ml,小儿酌减吸氧补液扩容遵医嘱给予相应药物对症处理呼吸抑制给予呼吸暂停行人喉头水肿行气管心跳骤停行CPR 兴奋剂工呼吸插管或气管切开密切观察患者意识、生命体征并记录word文档可以编辑手术室药物不良反应的处理流程发生药物不良反应减慢或停止输液通知医生、遵医嘱用药并给予相应处理密切观察,做好记录必要时封存,送检液体及输液器具上报药剂科、医院感染办公室、护理部手术患者用药错误的处理流程发现用药错误立即停药,通知医生、采取急救措施,降低对患者的损害,严密观察,作好记录通知科主任、护士长上报医务科、护理部做好患者/家属的安抚及善后工作组织讨论,分析整改手术患者输液反应的处理流程发生输液反应通知医生按反应类型及处理程度发热反应循环负荷过重空气栓塞静脉炎减慢输液速度减慢输液速度减慢输液速度更换输液部位物理降温端坐位,高流量吸取头低足高左侧患肢抬高制动抗过敏治疗氧必要时遵医嘱卧位高流量吸氧,局部处理用药对症处理严重者就地抢救严密观察病情变化,做好记录保留液体及输液器具,必要时送检或封存上报医务科、护理部手术患者输血反应的处理流程发生输血反应通知医生、检验科按反应类型及程序处理发热反应过敏反应溶血反应停止输血减慢输血速度减慢输血速度升压药、碱化尿液物理降温抗过敏、抗休克治疗双侧腰部封存及热敷抗过敏治疗抗休克必要时气管切开及CPR抽血重做配血实验严密观察病情变化,做好记录保留余血送检,必要时封存血液及输血器具上报医务科、护理部术中发生物品清点误差的处理流程清点用物记录数据出现误差,及时上报手术医生暂停手术查找有效查找无效再次查找关闭伤口拍X线片或检查有效其他检查手术结束关闭伤口检查无效手术结束再次确认物品不再伤口内,关闭伤口填写《特殊事件登记表》,记录物品丢失、寻找经过、寻找结果的详细过程。
主刀医生、洗手护士、巡回护士分别签名。
特殊事件登记表由科室保存手术结束word文档可以编辑手术标本管理流程手术医生取下手术标本洗手护士妥善保管手术结束,洗手护士、巡回护士和手术医生确认标本数量与名称。
巡回护士协助装好标本洗手护士、手术医生携带标本去标本室医生填写病理申请单、标本送检登记表、标本标签。
洗手护士贴好标签、做好核对。
洗手护士与手术医生核对无误后,双方在标本送检登记本上签名洗手护士固定好标本,将标本锁在标本柜内手术室标本管理人员每天15:00核对所有标本,核对无误后由手术室工人将标本、病理申请单和标本送检登记表一同送至病理科,经病理科人员核对签收后,将标本送检登记表带回手术室存档,妥善保管。
word文档可以编辑手术患者手术中大出血时的处理流程术中大出血时立即抢救主巡回护士器械护士主麻醉医生次麻醉医生上报护长,同时向周围医护人员寻求帮助密切关注手术野,配合手术。
若洗手护士资历太浅,不能应对抢救需要时,护长应密切观察生命体征,根据需要采取各种抢救措施负责抽取并执行各种抢救用药,做好记录及时加派人力主巡回次巡回随时供应手术台建立2条以上上的各种物品,如的静脉通道,器械、敷料、缝输入各种晶体针等,做好术中及胶体。
与血追加记录。
供应库联系申请血止血所需的各种制品,取血、仪器设备。
观察对血、温血,尿量、出血量、快速输血做好病人保暖及头部降温word文档可以编辑手术室中心负压吸引装置出现故障的处理流程负压吸引装置出现故障立即报告麻醉师,手术医生启动备用电动吸痰器安慰患者做好解释工作观察吸痰效果,必要时再次抽吸通知检查,维修做好记录word文档可以编辑手术室中心吸氧装置出现故障的处理流程中心吸氧装置故障报告麻醉师,手术医生,护士长全麻或大手术重病人无氧气枕或氧气筒时,需辅助呼吸的病人采用呼吸囊进行人局麻或小手术病人工呼吸氧气枕供氧氧气筒供氧调节氧流量,吸氧观察患者缺氧症状,改善及病情变化,并记录安慰患者,做好解释工作通知检查,维修word文档可以编辑术中仪器设备突发故障处理流程仪器设备突发故障立即更换备用设施通知维修人员,尽快进行维修无法维修应及时上报有关部门做好登记、术中医护人员发生针刺伤时的处理流程医务人员发生针刺立即挤出伤口血液在流动水下冲洗至少5min碘酒和酒精消毒外科伤口处理上报医院感染办公室,按相关程序处理被乙肝,丙肝阳性患被HIV阳性患者血液,者血液,体液污染的体液污染的锐器刺伤锐器刺伤在24h 内去检验在24h 内去检科抽血查乙肝,丙肝抗体抽查患者血液验科抽血查HIV 抗体抽查患者血液注射乙肝免按要求注射按要求复查预防性服药疫球蛋白乙肝疫苗登记上报随访批量伤员处理流程接到批量伤员信息评估伤员情况,救治需要向护士长及相关部门汇报,做好术前准备成立抢救小组伤员接待组物品准备组仪器检查组手术配合组协调员(由护士长担任)根据伤情严重程筹备手术物品检查仪器的功能负责手术的洗汇报伤员信息,序进行检伤分类状态以备用手,巡回工作协调各部门工作开展抢救配合输液(血)吸氧保暖用3%的过氧化氢溶积极配合手术液处理开放伤口手术结束,做好抢救记录手术患者发生坠床的处理流程患者跌倒察看,安慰患者通知医生报告科主任,护士长检查伤情,做相应处理上报护理部或院总采取保护措施必要时检查值班继续观察,严格交接班与家属沟通做好记录患者发生躁动通知医生立即说服并采取保护性措施守护患者,防止发生误遵医嘱给予镇静药物伤备好抢救用物,协助抢救密切观察,做好记录术前接诊患者带入压疮择期手术高危患者Braden评分表筛查报告护士长填写《压疮报告表》Breden评分<12分科护士长审核后上报护理部术前访视单填写《难免压上标注警示疮申报表》报告护士长根据压疮分期进标识行处理护士长审核后上报护理部术中密切观察,采取保护性做好记录措施严格交接班word文档可以编辑手术患者导管异常脱落的处理流程导管异常脱落安抚患者,避免大通知医生根据管幅度活动道性质紧急处理配合医生做好处置工作脑室引流管胸腔壁式引气管插管脱气管切开使用脱落流脱落落呼吸机的患者引流管脱落发生脱落立即用无菌用血管钳撑纱布覆盖引立即捏闭伤立即插管开气管切开用纱布覆盖流口,防止气口,防止气胸处伤口颅观察患者病情变化,做好护理记录,严格交接班加强躁动者的管理word文档可以编辑手术中停电或突然停电的处理流程手术中突然停电巡回护士器械护士护士长或值班人员麻醉师手术医生开启应急灯协助观察病情检查呼吸机蓄电关闭所有正积极配合医池能否保障呼吸在使用仪器生手术机正常运转和电器的电源开关坚持仪器蓄电池,维持正呼吸机能正常运转呼吸机不能正常运转常运转备好止血材料和止血药继续使用给予鼻导管吸氧连接简易呼吸器辅助通气品对麻醉清醒患者应做好安抚工作严密观察患者密切观察患与总务科联系,的呼吸,面色,尽快结束或者的病情变做好抢救准检查,维修线路意识等暂停手术化备及时上报做好停电纪录泛水应急预案及处理流程发生泛水能自行解决,立即解决不能自行解决,立即通知水查找原因工组人员检查,维修报告护士长,转移物资关闭泛水区内仪器的电源开关做好警示标志及宣教环境清理和消毒设备,系统出现故障及时报告及维修手术室火灾的处理流程发现火源火势较小火势较大通知护士长、院用就近消防办公室报警器材灭火利用就近消上报护士长、院办公防器材灭火室,医务科,护理部值班科主任,白班麻醉手术器械巡回护士学组织人员成护士护士长护士医医生护士护士生工人功补救生进修人员做好记录报立即向关闭使用尽快去除关闭警院办公氧气,吸入结束患者电源确保室、护理压缩性麻手术身上氧源紧急通知部及主空气醉,燃烧通道用薄确定管副院及净有皮物手术畅通膜覆逃生长汇报化开囊挤人员盖病路线配合关压通及相负责救协助结束人伤气接近楼层通知运送部疏散患者指引援工作的人员分工决定是否撤离检查确认有无遗留人协助指挥疏散巡视有无遗留病人负责病人麻醉记录的转移和保管口负责疏散过程中病人的病情观察手术,做好伤口保护稳定病人情绪保留燃烧物供调查使用病人和物品疏散消防和伤员有秩通道口,序的引流转移管的做好记手术负责录处理病人护士站资料转运。