外贸单证实务项目二 信用证的分析、审核和修改答案
- 格式:doc
- 大小:106.00 KB
- 文档页数:6
项目2 信用证释读与操作任务2.1 信用证释读实训2.1.1 知识巩固一、单项选择题1.某公司收到国外两份信用证,(1)棉布10万码,每码0.40美元,信用证总金额42000美元;(2)服装1000套,每套20美元,总金额21000美元。
据此,两证出运的最高数量和金额可分别掌握为(C)。
A.棉布10万码,40000美元;服装1000套,20000美元B.棉布10.5万码,42000美元;服装1050套,21000美元C.棉布10.5万码,42000美元;服装1000套,20000美元D.棉布10万码,40000美元;服装1050套,21000美元2.根据《UCP600》规定,信用证中货物的数量有“大约”或类似字眼,应理解为有关数量增减幅度不超过(C)。
A.3% B.5% C.10% D.15%3.《UCP600》正式实施的日期是(C )。
A.2006年10月25日B.2007年1月1日C.2007年7月1日D.2007年10月1日4.信用证要求提交由主管当局(Issued by the Competent Authority)签发的检验证书,下列单据中不符合要求的是( D )。
A.由我国海关签发的检验证书B.由出口国商检局签发的检验证书C.由SGS签发的检验证书D.由受益人签发的检验证书5.《UCP600》规定,信用证的开证行、按指定行事的指定行、保兑行(如果有的话)至多有(B)用以判断交单是否相符。
A.5日B.5个银行工作日C.7日D.7个银行工作日6.根据《UCP600》规定,对于运输单据、保险单据和商业发票以外的单据,信用证中如未规定单据出具人及措辞或内容,此类单据满足(C)即可被银行接受。
A.与单据本身数据等同一致B.与其他单据或信用证中的数据等同一致C.看似满足所要求单据的功能,且与该单据本身中的数据、其他规定单据或信用证中数据不矛盾D.内容与提交的其他单据不矛盾7.如果信用证要求提单抬头为“凭开证行指示”,则下列所提交的提单可接受的是(B)。
项目一认识外贸单证工作任务一:初识外贸单证任务实训参考答案一.知识巩固1.外贸制单的基本要求是什么?答:各种进出口单证,原则上应该做到:“正确、完整、及时、简洁、清晰。
”2.制单要求中最首要的是“正确”,正确应包括哪些具体要求?答:“正确”至少包括两个方面的内容:一方面是要求各种单据必须做到“相符”,即单证相符、单单相符、单货相符;另一方面则要求各种单据必须符合有关国际惯例和进口国的有关法令和规定。
3.单据“三相符”的要求是指什么?为什么“单证相符”占首要地位?答:三相符是指单证相符、单单相符、单货相符。
从“严格相符”的要求来看,“单证相符”占首要地位。
因为“单单相符”是以“单证相符”为前提的,离开了这个前提,单单之间即使相符,也会遭到银行的拒付。
至于“单货相符”这主要是指单据的内容应该与实际的交货相符,亦即与合同相符。
这里,单货相符也必须要具备“单证相符”的前提和条件。
因为信用证虽然体现了合同的内容,但对银行来说,信用证是一个独立的文件,它既不依附于合同,也不管实际交货是否与单据的论述相一致。
因此,当信用证的某一方面与合同不符,而且未作修改时,缮制出口单据应以信用证的规定为准。
所以,从安全收汇的角度来说,结汇单据必须首先注意处理好单证是否相符的问题。
4.进出口单证工作的内容包括哪些?答:出口单证工作主要有审证、制单、审单、交单、归档五个方面,它贯穿于出口贸易合同履行的整个过程。
其基本要求是:做到单证一致、单单一致、单同一致、单货一致。
四个一致是相互独立、互为依存的关系,在审证、制单、审单、交单和归档的具体工作中,要合理把握;进口单证工作的主要内容有开证、制单、审单、和归档四个方面。
5.审单方法主要有哪几种?审单方法通常有纵向法、横向法、和纵横交错法三种。
纵向法是对照信用证、合同条款逐条逐字审核。
横向法是以发票为依据,审核相同栏目的内容是否一致。
纵横交错法是上述两种方法的综合运用。
应该指出,审单的手段应不断更新,要善于利用现代计算机技术来提高审单的准确性和效率任务二梳理进出口交易程序任务实训参考答案:一.知识巩固(一)不定项选择:1. B2.BD3.ABCD4.BCD5. D6.C7.A8.D9.C 10.D(二)案例分析:1. 答:接受无效。
国际商务单证实务操作练习答案第一部分国际商务单证实务分单操作练习项目一信用证分析与审核一、信用证分析练习信用证分析单二、信用证审核练习1.信用证有效期有误,应将050415改为050430;2.信用证金额有误,遗漏币种,应加USD;3.装运港改为SHENZHENG;4.最迟装运日有误,应改为LATEST APR. 15 ,20055.货物描述中遗漏合同号码,应在S/C后加800678;6.47A附加条款中的增减幅度应为3%;7.有关不符点费用两处不同;8.在78处,出现软条款,信用证支付不应由开证申请人来兑付,只要符合信用证规定,银行即应付款。
项目二基本中心单据填制一、发票填制练习一二、商业发票填制练习二三、装箱单填制练习一项目三官方单据申请一、出境货物报检单填制练习中华人民共和国出入境检验检疫出境货物报检单报检单位(加盖公章):*编号报检单位登记号:联系人:电话:报检日期:年月日发货人(中文)诚安茶叶进出口公司(外文)CHENAN TEA IMPORT & EXPORT CORPORATION收货人(中文)(外文)MOMO CO., LTD.货物名称(中/外文) H.S.编码产地数/重量货物总值包装种类及数量普洱茶Pu-erh tea0902.4020云南12,000千克USD26640,00240纸箱运输工具名称号码FENCQING V. 25V.0711********贸易方式一般贸易货物存放地点福州五一路253号合同号HNT(04)021信用证号KUW25847用途外贸自营内销发货日期2004.06.12 输往国家(地区) 日本许可证/审批号启运地福州到达口岸神户生产单位注册号集装箱规格、数量及号码1×20`合同、信用证订立的检验检疫条款或特殊要求标记及号码随附单据(划“✓”或补填)MCL KOBEC/NO.1-240☐✓合同☐信用证☐✓发票☐换证凭单☐✓装箱单☐厂检单☐包装性能结果单☐许可/审批文件☐☐☐☐需要证单名称(划“✓”或补填)*检验检疫费□品质证书□重量证书□数量证书□兽医卫生证书□健康证书□卫生证书□动物卫生证书__正__副__正__副__正__副__正__副__正__副__正__副__正__副□植物检疫证书□熏蒸/消毒证书□✓出境货物换证凭单□□□□__正__副__正__副__正__副总金额(人民币元)计费人收费人报检人郑重声明:1. 本人被授权报检。
外贸单证实务教材技能检测参考答案目录项目一单证业务入门 (1)任务二制作单证前的准备工作 (1)项目二信用证方式下的出口单证工作 (4)任务一认识和审核信用证 (4)任务二制作商业发票和装箱单 (5)任务三制作托运单证 (21)任务四制作出口报检单证 (23)任务五制作出口报关单证 (24)任务六申领原产地证明书 (28)任务七填制投保单证,审核保险单 (34)任务八审核提单、制作并发送装运通知 (37)任务九制作其他证明 (48)任务十制作汇票 (51)任务十一单证交付与归档 (54)项目三信用证方式下的进口单证工作 (56)任务一申请开立信用证 (56)任务二审核单据 (57)任务三填制入境报检单证 (57)任务四填制入境货物报关单 (59)项目四非信用证方式下的出口单证工作 (60)任务一电汇方式下的出口单证工作 (60)任务二托收方式下的出口单证工作 (64)项目一单证业务入门任务二制作单证前的准备工作一、翻译以下出口合同销售合同卖方:合同号码:YH08039 山东银海进出口有限公司日期:2008.12.1中国青岛市金水街51号签约地:中国青岛买方:LINSA PUBLICIDAD, S.A.V ALENCIA, 195 Bajos. 08011 Barcelona, Spain本销售合同是由买卖双方共同商定,买方同意购买,卖方同意出售下列商品,条款如下:包装:一个装1塑料袋,500个装一纸箱,总共26箱唛头:L.P.BARCELONANOS. 1-26装运时间:2009年1月,海运装运港和目的港:从青岛到西班牙巴塞罗那分批装运和转运:允许保险:由买方承担支付条件:买方应通过一家卖方能够接受的银行,开立一份不可撤销职务的即期信用证,信用证于装运月份前30天开抵卖方,在装运后15天在中国议付有效。
卖方买方山东银海进出口有限公司LINSA PUBLICIDAD, S.A.二、根据以下买卖双方往来信函拟写出口销售确认书Sales ConfirmationS/C No.D2001PA100Date: Mar. 10, 2012Signed at Beijing, China The Buyer: Boston Trading Co. Ltd., USAThe Seller: Beijing Light Industrial Products Imp. & Exp. Corp.Beijing, ChinaThe Buyers agree to buy and the Sellers agree to sell the under mentioned goods on terms and conditions as set forth here below:Commodity & Specification: Candles Art. No.501Art. No. 502Quantity: Art. No.501: 375,000pcs. in 15,000 boxes total;Art. No.502: 300,000pcs. in 30,000 boxes total.45,000 boxes totalPacking: In cartons,Art. No.501: 300 cartons containing 50 boxes of 25pcs/boxes each;Art. No.502: 600 cartons containing 50 boxes of 10pcs/boxes each.900 cartons total in a 20 foot container.Unit Price: Art. No.501: USD0.71/box ;Art. No.502: USD0.145/box FOB TianjinTotal Amount: USD15,000.00 only(Say United States Dollars Fifteen Thousand Only)Shipment: From Tianjin to Boston within 45days after the covering L/C is received by the Seller. partial shipments and transhipment are allowed.Insurance: To be covered by the Buyer.Payment: The Buyer should open through a bank acceptable to the Seller an irrevocable L/C payable by draft at sight to reach the seller not later than April 2, 2012,valid for negotiation in Beijing, China till the 15th day after the latest date ofshipment.Shipping Mark: B. T. C.BostonNo. 1-900Art. No.The Buyer The SellerBoston Trading Co. Ltd. Beijing Light Industrial Products Imp.&Exp. Corp三、根据以下资料拟写出口销售确认书Sales ConfirmationS/C No.D2001PA100Date: Apr. 22, 2014Signed at Beijing, ChinaThe Buyer: LK Footwear Inc.No. 876 Walk Rd., Vancouver CanadaThe Seller: Fujian Xinlong I/E Co., Ltd.No. 99 Yan’an Rd., Fuzhou ChinaThe Buyers agree to buy and the Sellers agree to sell the under mentioned goodson terms and conditions as set forth here below:PACKING:packed in 1pair/box , then 6 boxes/cartonSHIPPING MARK: At Seller’s option.TIME OF SHIPMENT:within 90 days after receiving the 30% of contract value by T/T In advance.PORT OF LOADING:Xiamen, China.PORT OF DESTINATION: Vancouver, Canada. Transshipment is allowed and partial shipment is allowed. .INSURANCE: Covered by the buyer.TERMS OF PAYMENT: 30% of proceeds payable by T/T, after the buyer received the advance payment guarantee issued by the seller’s bank for 30% of proceeds; 70% of proceeds payable by T/T against the fax copy of B/L.The Buyers The SellersLK Footwear Inc. Fujian Xinlong I/E Co., Ltd.项目二信用证方式下的出口单证工作任务一认识和审核信用证一、根据合同审核下列信用证,然后用英语向开证申请人写一封信,要求修改信用证,并列出须修改的内容。
第二章信用证一、复习思考题1. 信用证的性质与作用是什么?答:性质:(1)开证行是第一付款人(2)信用证是一种独立文件(3)信用证业务处理的是单据作用:采用信用证支付方式,对于进、出口双方和银行都有一定的好处2. 信用证的当事人有哪些?各自的职责是什么?答:(1)开证申请人(applicant)。
开证申请人又称开证人,是指向开证银行申请开立信用证的人,一般是进口商。
(2)开证银行(opening bank/issuing bank)。
开证银行是指接受开证申请人的委托,开立信用证的银行。
它承担按信用证规定条件保证付款的责任,通常是进口商所在地银行。
(3)通知银行(advising bank)。
通知银行是指受开证行的委托,将信用证转交出口商的银行。
开证行通常是出口商所在地的分行或代理行。
通知行应合理、审慎地核验所通知信用证的表面真实性,并负责辨别信用证的真伪。
(4)受益人(beneficiary)。
受益人是指信用证上所指定的有权使用该证的人,一般为出口商。
(5)议付银行(negotiating bank)。
议付银行是指愿意买入或贴现受益人交来的跟单汇票和单据的银行。
议付银行可以是开证行在信用证条款中指定的银行,也可以是非指定的银行。
(6)付款银行(paying bank)。
付款银行又称代付行,一般为开证行,也可以是开证行所指定的银行。
无论汇票的付款人是谁,开证行必须对提交了符合信用证要求的单据的出口商履行付款责任。
(7)保兑行(confirming bank)。
保兑行是指应开证行或受益人的申请在信用证上加批保证兑付的银行。
它和开证行处于相同的地位,即对于汇票(有时无汇票)承担不可撤销的付款责任。
(8)偿付行(reimbursement bank)。
偿付行又称清算银行(clearing bank),是指接受开证银行在信用证中委托代开证行偿还垫款的第三国银行。
(9)受让人(transferee)。
受让人又称第二受益人(second beneficiary),是指接受第一受益人转让,并有权使用所转让信用证的人。
国际商务单证员单证基础理论与知识(信用证的审核与修改)模拟试卷1(题后含答案及解析)题型有:1. 2. 多项选择题 3. 判断题 4. 简答题1.信用证修改通知书的内容在两项以上者,受益人( )。
A.要么全部接受,要么全部拒绝B.可选择接受C.必须全部接受D.只能部分接受正确答案:A解析:《UCP600》规定,对同一修改通知中的修改内容不允许部分接受,受益人要么全部接受,要么全部拒绝。
知识模块:信用证的审核与修改2.根据《UCP600》的解释,若信用证条款未明确规定是否“允许分期发运”、“允许转运”,则应理解为( )。
A.允许分期发运,但不允许转运B.允许分期发运,允许转运C.允许转运,但不允许分期发运D.不允许分期发运,不允许转运正确答案:B解析:《UCP600》规定,如果信用证中没有明确规定分期发运条款,则视为允许分期发运;信用证没有明确规定是否允许转运,则视为允许转运。
知识模块:信用证的审核与修改3.我公司按术语CIF London USD80 Per m/t向英国出口数量为10000m /t的散装货,国外开立信用证金额为80万美元,则卖方发货时应注意( )。
A.数量和金额不能增减B.数量和金额可在5%以内增减C.数量和金额可在10%以内增减D.数量在9500~10000公吨之间,金额不得超过80万美元正确答案:D解析:如果信用证规定的货物是以重量、长度、面积或体积等作为数量单位的,在信用证对货物数量没有不得增减要求和所支取的金额未超过信用证金额的前提下,允许货物数量有5%的增减幅度。
知识模块:信用证的审核与修改4.在假远期信用证业务中,银行贴现的利息由( )负担。
A.开证申请人B.受益人C.议付行D.开证行正确答案:A解析:采用假远期信用证支付方式,这种做法的实质是由开证行或付款行对进口商提供融通资金的便利,故所需支付的利息由进口商(即开证申请人)承担。
知识模块:信用证的审核与修改5.根据《UCP600》的规定,若信用证没有特别说明,则信用证( )。
练习题参考答案第一章 国际贸易单证的基本要求、流程和发展趋势1. 信用证的修改信用证的修改(1)金额有误。
应将金额改为“USD 352,000.00(Say U.S. dollars three hundred and fifty two thousand only)”(2)汇票付款期限有误。
应将“at 30 days after date”改为“at 30 days after sight”(3)运费条款有误。
应将“Freight Collect”改为“Freight Prepaid”(4)装运期有误。
应将“not later than October 31,2003”改为“during Oct./Nov.2003” (5)分批装运有误。
应将“not”删去”删去(6)保险金额有误。
应将“150%”改为“110%”(7)包装条款有误。
应将“or cartons”删去,改为“in wooden cases of one set each” (8)单价条款有误。
应将“US$ 64.00 CIF H.K”改为“US$ 64.00 per set CIFC3% H.K” (9)交单日期有误。
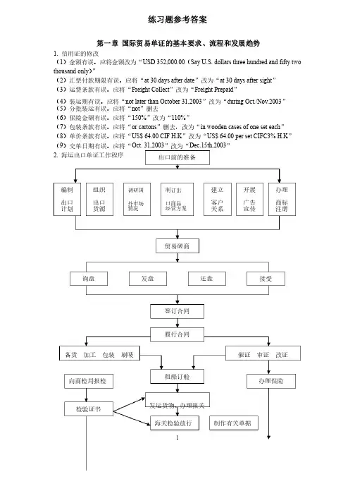
应将“Oct. 31,2003”改为“Dec.15th,2003”2. 海运出口单证工作程序海运出口单证工作程序编制编制出口出口计划计划组织组织出口出口货源货源调研国调研国外市场外市场情况情况制订出制订出口商品口商品经营方案经营方案建立建立客户客户关系关系开展开展广告广告宣传宣传办理办理商标商标注册注册贸易磋商贸易磋商出口前的准备出口前的准备询盘询盘发盘发盘还盘还盘接受接受签订合同签订合同履行合同履行合同备货备货加工加工包装包装刷唛刷唛催证催证审证审证改证改证租船订舱租船订舱向商检局报检向商检局报检发运货物、办理报关办理报关检验证书检验证书海关检验放行海关检验放行制作有关单据制作有关单据办理保险办理保险1海运出口单证工作程序示意图海运出口单证工作程序示意图3.海运进口单证工作程序海运进口单证工作程序货物装船后取得提单货物装船后取得提单 保险单保险单向买方发装船通知向买方发装船通知汇集有关的单证汇集有关的单证持全套货运单连同信用证向银行办理议付进口前的准备进口前的准备编制进口 计划报安排订购市场安排订购市场和选择交易对象 制订具体的进口商品经营方案商品经营方案询盘询盘 发盘发盘 还盘还盘 接受接受签订合同签订合同履行合同履行合同租船定舱租船定舱申请开证申请开证发催装通知发催装通知 银行审单付款银行审单付款贸易磋商贸易磋商海运进口单证工作程序示意图海运进口单证工作程序示意图第二章 交易磋商和合同的签订1. 回函如下回函如下2. 信函翻译信函翻译Sept. 10th , 2003 SUPERB AIM (HONG KONG) LTD WESTERN DISTRICT BILLS CENTER128 BONHAM STRAND E. H.KI.C ISAACS & Co.,LP3840 BANK STREET,BALTIMORE, MARYLAND 21224, U.S.ADear Smith,We are very pleased to receive your inquiry of May 15th and enclose our illustrated catalogue and price list giving the details you ask for. Also by separate post we are sending you some samples and feel confident that when you have examined them you will agree that the goods are both excellent in quality and reasonable in price.On regular purchase in quantities of not less than 300 dozen of individual items we would allow you a discount of 2%. As to the payment terms, we do business on the basis of L/C. We invite your attentation to our other products, details of which you will find in the catalogue, and look forward to receiving your first order.Y ours Sincerely SUPERB AIM (HONG KONG) LTD × × × 办理保险办理保险 买汇、赎单买汇、赎单货物装船货物装船 报检报检报关报关拨交、结算拨交、结算Dear Sirs,We thank you for your enquiry of 10th September and enclose our quotation for wall paper. We have made a good selection of patterns and sent them to you today by post. Their fine quality, attractive designs and the reasonable prices at which we offer them will convince you that these materials are really of good value.There is a heavy demand for our supplies from house furnishers in various districts and regions, which we are finding it difficult to meet, but provided that we receive your order within the next ten days, we will make you a firm offer for delivery by the middle of December at the prices quoted.On orders for one hundred rolls or more we allow a special discount of 2%. We require payment by L/C to reach us one month prior to the time of shipment.We look forward to receiving your order.Y our truly China National Import & Outport Corp. Manger3. 合同条款改错合同条款改错: :4. 售货确认书售货确认书上海新发展进出口贸易实业有限公司Shanghai Xin Development Imp. &. Exp.Enterprises Co, LtdCOMMODITY & SPECIFICATION:Feeding Broad Beans, F.A.Q.MOISTURE (max) 15% Admixture (max) 2% QUANTITY: 60000metric tonsPACKING: Packed in gunny bags of 100kgsEach gross for netUNIT PRICE: JPY 200 PER M/T CIFC2% Liner Terms Osaka AMOUNT: JPY 12,000,000 (SA JPY 12,000,000 (SAY US Dollars Twelve million only) Y US Dollars Twelve million only) SHIPMENT:Shipment on or before Oct. 30th , 2001 30000M/T; shipment on or before NOV shipment on or before NOV. 30. 30th , 2001 30000M/T from Shanghai to OsakaINSURANCE:To be covered by the seller for 110% of total invoice value against All Risks including War Risks as per and subject to the relevant ocean cargo clause of the People People’’s Insurance Company of China dated Jan. 19th , 1981P A YMENT:The buyer shall open through a bank acceptable to the Seller an irrevocable sight letter of credit to reach the seller 30 days before the month of shipment valid for negotiation in China until the 15th day after the date of shipment中国上海外高桥保税收政策区台中南路2号2,Tai Zhong South Road WaiGaoQiao Free Trade Zone,Shanghai,PRC 电话电话 Telephone: 86-21-50480555 传真传真Fax:86-21-50480164致:TO : 售 货 确 认 书SALES CONFIRMATIONOVERSEAS TRADINGCORP. 合同编号NO.: 01XDJJD-14778P .O.BOX 1563 签订日期Date: Oct..16,2001 SINGAPORE ELOPMENT 经双方同意按照下述条款签定本合同经双方同意按照下述条款签定本合同The Buyer and Seller Have agree to conclude the following transactions according to the terms and Conditions stipulated below:1. 货物名称及规格货物名称及规格 Commodity & Specifications2. 数量数量Quantity3. 单价单价 Unit Price4. 总额总额 Total V alue MAXAM TOOTH PASTE ART.NW10160000DOZENS(10000CARTONS ) HKD118.00CIFC5%USD7,080,000 合计合计 TOTALUSD7,080,0005.原产国(地)COUNTRY OF ORIGIN: MADE IN CHINA 6.包装.包装PACKING: IN CARTON 7.保险INSURANCE:/TO BE COVERED BY THE SELLER FOR 110% OF INVOICE V ALUE AGAINST ALL RISKS AND W AR RISK AS PER THE OCEAN MARINE CARGO CLAUSE OF PICC DA CARGO CLAUSE OF PICC DATED JAN TED JAN 。
习题参考答案第1章国际商务概述1.单项选择题(1)D (2)B (3)A (4)B (5)D (6)B (2.判断题(1)√ (2)√ (3)√ (4)×(5)×(6)×(7)√(8)√ (9)√ (10)×3.简答题(1)①信用证的审核与修改第一,来证登录第二,信用证的审核第三,信用证的修改②出口单证的缮制程序第一,缮制外销出仓单第二,缮制出口货物报关单并报关第三,缮制商检申请书并报验第四,缮制商业发票和装箱单第五,缮制出口托运单并办托运手续第六,缮制运输单据第七,缮制投保单并投保第八,发出装运通知第九,审单第十,交单结汇议付第十一,改单第十二,单证的留底和保管(2)①申领进口许可证②申请开立信用证③租船订舱④投保货运险⑤报关并填制进口货物报关单⑥进口索赔(3)信用证经过全面的审核后,如发现有问题时,应及时通知国外客户通过开证行进行修改。
4实训操作题操作一(1)①海运货物委托书/出口商/委托货代向船运公司(承运人)办理租船订舱②海运出口托运单/货代/向船运公司办理租船订舱手续③配舱回单/船运公司/按出口商配舱回单的要求进行发货④海运提单/船运公司或货代/货物收据、物权凭证和运输契约的证明(2)①投保单/出口商/向保险公司进行投保②保险单/保险公司/是保险人与被保险人订立的保险合同,是保险公司出具的承保证明,也是被保险人凭以向保险公司索赔的法定依据(3)①出境货物报验单/出口商/向出入境检验检疫局提出报验的申请②商检证书或出境货物通关单/出入境检验检疫局/出口商持商检证书或出境货物通关单向海关申请放行,也是证明出口货物的品质、数量等方面的依据(4)①出口货物报关单/出口商/由出口企业或其代理人在装运前填制向海关申报通关,也是海关对出口货物进行征收关税/其他税费和编制海关统计以及有关部门进行出口货物核销、出口退税等重要的依据②商业发票/出口商/是买卖双方收付货款/报关、纳税和计算佣金的依据③装箱单/出口商/用以说明货物包装细节的清单,便于进口商和海关对货物的核准④商检证书或出境货物通关单/出入境检验检疫局/向海关申请放行,证明出口货物的品质、数量等方面的依据操作二答案略第2章国际贸易术语1.单项选择题(1)C (2)A (3)A (4)A (5)A (6)C (7)C(8)C (9)B (10)B (11)B (12)A (13)D (14)A(15)B (16)A (17)D (18)B(19)A(20)C2.判断题(1)×(2)×(3)√ (4)×(5)×(6)×(7)×(8)√ (9)×(10)√3.计算题(1)解:①CFR=FOB+F=1950+70=2020美元/公吨,要保持外汇净收入不变,应该报2020美元/公吨;②CFR=FOB+F=1950+70(1+10%+10%)=2034美元,增收燃油附加费10%,港口附加费10%,应该报2034美元/公吨。
1.根据提供的外销合同对信用证进行审核并提出修改信用证的意见。
,CIFDUBAIVIAHONGKONG,:30TH APRIL,:15TH MAY,审核结果:(2)WEIGUOROAD改为JIANSHEROAD。
(3)总金额币别错误,应为HKD而不是USD。
(4)议付地在国外不妥,应改为国内。
(5)转运规定与合同不符,应为ALLOWED,而不是NOTALLOWED。
(6)CIFDUBAI改为CFRDUBAI。
(7)3PC/CARTON应改为2PCPERCARTON。
(8)溢短装幅度5%错误,应为10%。
(9)DRAWNONAPPLICANT不对,应改为DRAWNONUS(10))3天的交单时间太短,建议改为15天(11)CFR术语中应由买方办理保险,因此应删除要求卖方提供保险单的要求2.根据提供的外销合同对信用证进行审核并提出修改信用证的意见。
Signedat:Shanghai,ChinaTheundersignedSellerandBuyerhaveagreedtoclosethefollowingtransactionsaccordingtothetermsandcond itionsstipulatedbellow:Packing:InCartons ShippingMark:.CHITTAGONG Timeofshipment:DuringMay,2008 PartialShipmentandTransshipmentareallowed. Insurance:Tobeeffectedbythebuyer TermsofPayment:.TheSeller: SHANGHAISHENGDACO.,LTDTheBuyer:ALFAGAENTERPRISE LETTEROFCREDITSEQUENCEOFTOTAL27:1/140A:IRREVOCABLE20:06660801DATEOFISSUE31C:FEBRUARY24,2008 APPLICABLERULES40E:UCPLATESTVERSION DATEANDPLACEOFEXP.31D:MAY23,2008INBANGLADESH APPLICANT50:ALFAGAENTERPRSE26,IMAMGONJDHAKA,BANGLADESH ISSUINGBANK52A:ABBANKLIMITEDIMAMGANJBRANCH,40IMAMGANJ,DHAKA-1211,BANGLADESH BENEFICIARY59:SHANGHAIDASENGCO.,LTD.UNITC5/FJINGMAOTOWERSHANGHAI,CHINAAMOUNT32B:AVAILABLEWITH/.BY…41D:ANYBANKINCHINA,BYNEGOTIATIONDRAFTSAT...42C:DRAFTSAT60DAYSSIGHTFOR100PCTINVOICEVALUEDRAWEE42D:ABBANKLIMITED,IMAMGANJBRANCH PARTIALSHIPMENT43P:NOTALLOWEDTRANSSHIPMENT43T:NOTALLOWEDLOADING/DISPATCHING/TAKING44A:ANYCHINESEPORTSFORTRANSPORTTO…44B:CHITTAGANGSEAPORT,BANGLADESHLATESTDATEOFSHIPMENT44C:MAY2,2008DESCRIPTOFGOODS.45A:TAPERULES(1)2000DOZPAIRMDEL:JH-395WSIZE:3MX PER DOZENCIFCHITTAGONG(2)500DOZPAIRMODEL:JH-386WSIZE:3MX PER DOZENCIFCHITTAGONGPACKING:EXPORTSTANDARDSEAWORTHYPACKINGDOCSREQUIRED46A:+SIGNEDCOMMERCIALINVOICEINTRIPLICATE+SIGNEDPACKINGLISTINTRIPLICATE+BENEFICIARY’SCERTIFICATESTATINGTHATONESETOFORIGINALSHIPPINGDOCUMENTSINCLUDINGORIGINAL“FORMA”HASBEENSENTDIRECTLYTOTHEAPPLICANTAFTERTHESHIPMENT.+3/3PLUSONECOPYOFCLEAN“ONBOARD”OCEAN BILLSOFLADINGMADEOUTTOORDERANDBLANKENORSEDMARKED“FREIGHTCOLLECT”ANDNOTIFYAPPLICANT. ADDITIONALCONDITION47A:+ALLDRAFTSDRAWNHEREUNDERMUSTBEMARKED“DRAWNUNDERABBANKLIMITED,,2008”+T/TREIMBURSEMENTISNOTACCEPTABLEDETAILSOFCHARGES71B:ALLBANKING CHARGESOUTSIDEBANGLADESHAREFORBENEFICIARY’SACCOUNT PRESENTATIONPERIOD48:DOCUMENTSMUSTBEPRESENTEDWITHIN15DAYSAFTERTHEDATEOFISSUANCEOFTHESHIPPINGDOCUMENTSBUTWITHINTHEVALIDITYOFTHECREDITCONFIRMATION49:WITHOUT78:THEAMOUNTANDDATEOFNEGOTIATIONOFEACHDRAFTMUSTBEENDORSEDONTHEREVERSEOFTHISCREDITALLDOCUMENTSINCLUDINGBENEFICIARY’信用证审核结果3.根据提供的外销合同对信用证进行审核并提出修改信用证的意见。
1.根据提供的外销合同对信用证进行审核并提出修改信用证的意见。
,CIFDUBAIVIAHONGKONG,:30TH APRIL,:15TH MAY,审核结果:(2)WEIGUOROAD改为JIANSHEROAD。
(3)总金额币别错误,应为HKD而不是USD。
(4)议付地在国外不妥,应改为国内。
(5)转运规定与合同不符,应为ALLOWED,而不是NOTALLOWED。
(6)CIFDUBAI改为CFRDUBAI。
(7)3PC/CARTON应改为2PCPERCARTON。
(8)溢短装幅度5%错误,应为10%。
(9)DRAWNONAPPLICANT不对,应改为DRAWNONUS(10))3天的交单时间太短,建议改为15天(11)CFR术语中应由买方办理保险,因此应删除要求卖方提供保险单的要求2.根据提供的外销合同对信用证进行审核并提出修改信用证的意见。
Signedat:Shanghai,ChinaTheundersignedSellerandBuyerhaveagreedtoclosethefollowingtransactionsaccordingtothetermsandcond itionsstipulatedbellow:Packing:InCartons ShippingMark:.CHITTAGONG Timeofshipment:DuringMay,2008 PartialShipmentandTransshipmentareallowed. Insurance:Tobeeffectedbythebuyer TermsofPayment:.TheSeller: SHANGHAISHENGDACO.,LTDTheBuyer:ALFAGAENTERPRISE LETTEROFCREDITSEQUENCEOFTOTAL27:1/140A:IRREVOCABLE20:06660801DATEOFISSUE31C:FEBRUARY24,2008 APPLICABLERULES40E:UCPLATESTVERSION DATEANDPLACEOFEXP.31D:MAY23,2008INBANGLADESH APPLICANT50:ALFAGAENTERPRSE26,IMAMGONJDHAKA,BANGLADESH ISSUINGBANK52A:ABBANKLIMITEDIMAMGANJBRANCH,40IMAMGANJ,DHAKA-1211,BANGLADESH BENEFICIARY59:SHANGHAIDASENGCO.,LTD.UNITC5/FJINGMAOTOWERSHANGHAI,CHINAAMOUNT32B:AVAILABLEWITH/.BY…41D:ANYBANKINCHINA,BYNEGOTIATIONDRAFTSAT...42C:DRAFTSAT60DAYSSIGHTFOR100PCTINVOICEVALUEDRAWEE42D:ABBANKLIMITED,IMAMGANJBRANCH PARTIALSHIPMENT43P:NOTALLOWEDTRANSSHIPMENT43T:NOTALLOWEDLOADING/DISPATCHING/TAKING44A:ANYCHINESEPORTSFORTRANSPORTTO…44B:CHITTAGANGSEAPORT,BANGLADESHLATESTDATEOFSHIPMENT44C:MAY2,2008DESCRIPTOFGOODS.45A:TAPERULES(1)2000DOZPAIRMDEL:JH-395WSIZE:3MX PER DOZENCIFCHITTAGONG(2)500DOZPAIRMODEL:JH-386WSIZE:3MX PER DOZENCIFCHITTAGONGPACKING:EXPORTSTANDARDSEAWORTHYPACKINGDOCSREQUIRED46A:+SIGNEDCOMMERCIALINVOICEINTRIPLICATE+SIGNEDPACKINGLISTINTRIPLICATE+BENEFICIARY’SCERTIFICATESTATINGTHATONESETOFORIGINALSHIPPINGDOCUMENTSINCLUDINGORIGINAL“FORMA”HASBEENSENTDIRECTLYTOTHEAPPLICANTAFTERTHESHIPMENT.+3/3PLUSONECOPYOFCLEAN“ONBOARD”OCEAN BILLSOFLADINGMADEOUTTOORDERANDBLANKENORSEDMARKED“FREIGHTCOLLECT”ANDNOTIFYAPPLICANT. ADDITIONALCONDITION47A:+ALLDRAFTSDRAWNHEREUNDERMUSTBEMARKED“DRAWNUNDERABBANKLIMITED,,2008”+T/TREIMBURSEMENTISNOTACCEPTABLEDETAILSOFCHARGES71B:ALLBANKING CHARGESOUTSIDEBANGLADESHAREFORBENEFICIARY’SACCOUNT PRESENTATIONPERIOD48:DOCUMENTSMUSTBEPRESENTEDWITHIN15DAYSAFTERTHEDATEOFISSUANCEOFTHESHIPPINGDOCUMENTSBUTWITHINTHEVALIDITYOFTHECREDITCONFIRMATION49:WITHOUT78:THEAMOUNTANDDATEOFNEGOTIATIONOFEACHDRAFTMUSTBEENDORSEDONTHEREVERSEOFTHISCREDITALLDOCUMENTSINCLUDINGBENEFICIARY’信用证审核结果3.根据提供的外销合同对信用证进行审核并提出修改信用证的意见。
国际商务单证员单证操作与缮制(信用证的审核与修改、订舱委托书的缮制及订舱业务办理)模拟试卷1(题后含答案及解析)题型有:1. 审核信用证 4. 制单根据合同审核信用证(本题20分)1.根据项目六操作二中提供的销售合同审核进口国开来的信用证。
以下是受益人根据合同规定审核来证的实务操作,先看上面给出的合同,然后根据合同内容审核信用证中与合同不相符的地方并提出修改意见。
进口国开来的信用证如下。
FROM:BANK OF BRAZIL RIO DE JANEIROTO:SHANGHAI PUDONG DEVELOPMENT BANK27:SEQUENCE OF TOTAL:1/140A:FORM OF DOCUMENTARY CREDIT:IRREVOCABLE20:DOCUMENTARY CREDIT NUMBER:HJQ23431C:DATE OF ISSUE:11072340E:APPLICABLE RULES:UCPLATEST、VERSION31D:DATE AND PLACE OF EXPIRY:110906 CHINA50:APPLICANT:COMPANHIA BRASILEIRA DEDISTRIBUICAOROD.ANHANGUERA,KM 17,8OSASCO—SP—BRASIL59:BENEFICIARY:N.J TRADE CO.,LTD.12F 7 BLDG SHATOUJIAO FREETRADE ZONE,YANTIAN,SHENZHEN,CHINA 41606132B:CURRENCY CODE,AMOUNT:USD 25 13641D:A V AILABLE WITH...BY...:ANY BANK BY NEGOTIATION42C:DRAFTS AT...:30 DAYS AFTER SIGHT42D:DRAWEE:OURSELVES43P:PARTIAL SHIPMENTS:PARTIAL SHIPMENTS ARE PROHIBITED43T:TRANSSHIPMENT:TRANSSHIPMENT ARE PROHIBITED44E:PORT OF LOADING/AIRPORT OF DEPARTURE:YANTIAN44F:PORT OF DISCHARGE/AIRPORT OF DESTINATION:ANY PORT IN BRASIL44C:LATEST DATE OF SHIPMENT:11090145A:DESCRIPTION OF GOODS AND/OR SERVICES:PENGUIM HUMIDIFIER(BLACK BODY—WHITE DETAIL)一127VPENGUIM HUMIDIFIER(BLACK BODY—WHITE DETAIL)一220V AS PER DESCRIBED ON S/CNO.100566 DATED JULY 16,2011.CIF SANTOS》AS PER INCOTERMS 2010 OF ICC PARIS.46A:DOCUMENTS REQUIRED:(1)3 ORIGINALS PLUS 1 COPY OF SIGNED BY HAND AND STAMPED COMMERCIAL INVOICE WITH COMPLETE DESCRIPTION OF GOODS,SHOWING CIF AMOUNT IN FIGURES.(2)3/3 ORIGINALS PLUS 3 COPIES OF CLEAN ON BOARD BILL OF LADIN CONSIGNED TO COMPANHIA BRASILEIRA DE DISTRIBUICAO,CNPJ 47.508.411/0078—35 ROD.ANHANGUERA,KM 17,8—0SASCO—BRAZIL,NOTIFY PARTY SAME AS CONSIGNEE. FREIGHT PREPAID COVERING SHIPMENT FROM SHANGHAI TO SANTOS—BRAZIL.BILL OF LADING MUST SHOW:PO NUMBER,NUMBER OF CARTONS.(3)3 ORIGINALS PLUS 1 COPY OF SIGNED BY HAND AND STAMPED PACKING LIST WITH FULL DESCRIPTION OF GOODS.(4)1 ORIGINAL PLUS 1 COPY OF CERTIFICATEOF ORIGIN.(5)FULL SET OF NEGOTIABLE INSURANCE POLICY OR CERTIFICATE BLANK ENDORSED FOR 110%OF INVOICE V ALUE COVERING ALL RISKS AND WAR RISK OF Institute Cargo Clause(A).47A:ADDITIONAL CONDITIONS:(1)ALL DISCREPANCIES DUE TO TYPOGRAPHICAL MISTAKES ARE WAIVED.(2)NUMBER OF THIS LETTER OF CREDIT AND THE REFERENC TR100566 MUST BE STATED ON ALL DOCUMENTS.(3)WILL BE REFUSED SHIPPING DOCUMENTS SHOWING SHIPMENT DATE PRIOR OF ISSUANCE OF THIS LETTER OF CREDIT.71B:DETAILS CHARGES:BANKING CHARGES OUTSIDE OF BRASIL ARE FOR BENEFICIARY’S ACCOUNT.48:PRESENTATION PERIOD:DOCUMENTS MUST BE PRESENTED WITHIN 14 DAYS AFTER ISSUANCE OF THE TRANSPORT DOCUMENT BUT WITHIN THE V ALIDITY OF THIS CREDIT.49:CONFIRMA INSTRUCTIONS:WITHOUT53A:REIMBURSEMENT BANK:SCBLUS3378:INSTRUCTIONS:(1)WHETHER ALL TERMS AND CONDITIONS ARE COMPLIED WITH,PLEASE CLAIM REIMBURSE,ON THE 5TH WORKING DAY AFTER YOUR IMMEDIATE TESTED MESSAGE TO US INFORMING AMOUNT OF DOCS.,SHIPMENT AND NEGOTIATION DATES,AWB AND COMM.INVOICE NRS,DEPATURE PLACE,DESTINATION AND CONFIRMING THAT SHIPPING DOCUMENTS ARE BEING REMITTED TO OUR OFFICE.(2)PLEASE ADVISE BENEFICIARY URGENTLY UNDER ADVISE TO US.补充资料如下。