数字电路与系统设计:第2章习题答案
- 格式:doc
- 大小:152.00 KB
- 文档页数:8
()1、数字电路又称为开关电路、逻辑电路。
答案:正确()2、二极管、三极管、场效应管是常用的开关元件。
答案:正确()3、最基本的逻辑关系是:与、或、非。
答案:正确()4、高电平用0表示,低电平用1表示,称为正逻辑。
答案:错误()5、TTL型门电路比CMS型门电路开关速度快。
答案:正确()6、逻辑表达式是逻辑函数常用的表示方法。
答案:正确()7、用真值表表示逻辑函数,缺乏直观性。
答案:错误()8、逻辑图是最接近实际的电路图。
答案:正确()9、由真值表得到的逻辑函数一般都要经过化简。
答案:正确()10、组合电路的特点是:任意时刻的输出与电路的原状态有关。
答案:错误()11、1+A=1答案:正确()12、AB+A=A()13、将实际问题转换成逻辑问题第一步是要先写出逻辑函数表达式。
答案:错误14、异或函数与同或函数在逻辑上互为反函数。
(对)每个最小项都是各变量相“与”构成的,即n个变量的最小项含有n个因子。
(对)15、因为逻辑表达式A+B+AB=A+B成立,所以AB=0成立。
(错)16、逻辑函数F=A B+A B+B C+B C已是最简与或表达式。
(错)17、利用约束项化简时,将全部约束项都画入卡诺图,可得到函数的最简形式。
(错)18、卡诺图中为1的方格均表示逻辑函数的一个最小项。
(对)19、在逻辑运算中,“与”逻辑的符号级别最高。
(错)20、标准与或式和最简与或式的概念相同。
(对)21、数字电路中用“1”和“0”分别表示两种状态,二者无大小之分。
(对)22、格雷码具有任何相邻码只有一位码元不同的特性。
(对)23、所有的集成逻辑门,其输入端子均为两个或两个以上。
(错)24、根据逻辑功能可知,异或门的反是同或门。
(对)25、逻辑门电路是数字逻辑电路中的最基本单元。
(对)26、TTL和CMOS两种集成电路与非门,其闲置输入端都可以悬空处理。
(错)27、74LS系列产品是TTL集成电路的主流,应用最为广泛。
1.1将下列各式写成按权展开式:(352.6)10=3×102+5×101+2×100+6×10-1(101.101)2=1×22+1×20+1×2-1+1×2-3(54.6)8=5×81+54×80+6×8-1(13A.4F)16=1×162+3×161+10×160+4×16-1+15×16-2 1.2按十进制0~17的次序,列表填写出相应的二进制、八进制、十六进制数。
解:略1.3二进制数00000000~11111111和0000000000~1111111111分别可以代表多少个数?解:分别代表28=256和210=1024个数。
1.4 将下列个数分别转换成十进制数:(1111101000)2,(1750)8,(3E8)16解:(1111101000)2=(1000)10(1750)8=(1000)10(3E8)16=(1000)101.5将下列各数分别转换为二进制数:(210)8,(136)10,(88)16解:结果都为:(10001000)21.6 将下列个数分别转换成八进制数:(111111)2,(63)10,(3F)16解:结果都为(77)81.7 将下列个数分别转换成十六进制数:(11111111)2,(377)8,(255)10解:结果都为(FF)161.8 转换下列各数,要求转换后保持原精度:解:(1.125)10=(1.0010000000)10——小数点后至少取10位(0010 1011 0010)2421BCD=(11111100)2(0110.1010)余3循环BCD码=(1.1110)21.9 用下列代码表示(123)10,(1011.01)2:解:(1)8421BCD码:(123)10=(0001 0010 0011)8421BCD(1011.01)2=(11.25)10=(0001 0001.0010 0101)8421BCD(2)余3 BCD码(123)10=(0100 0101 0110)余3BCD(1011.01)2=(11.25)10=(0100 0100.0101 1000)余3BCD1.10 已知A=(1011010)2,B=(101111)2,C=(1010100)2,D=(110)2(1)按二进制运算规律求A+B,A-B,C×D,C÷D,(2)将A、B、C、D转换成十进制数后,求A+B,A-B,C×D,C÷D,并将结果与(1)进行比较。
1.1将下列各式写成按权展开式:(352.6)10=3×102+5×101+2×100+6×10-1(101.101)2=1×22+1×20+1×2-1+1×2-3(54.6)8=5×81+54×80+6×8-1(13A.4F)16=1×162+3×161+10×160+4×16-1+15×16-21.2按十进制0~17的次序,列表填写出相应的二进制、八进制、十六进制数。
解:略1.3二进制数00000000~11111111和0000000000~1111111111分别可以代表多少个数?解:分别代表28=256和210=1024个数。
1.4将下列个数分别转换成十进制数:(1111101000)2,(1750)8,(3E8)16解:(1111101000)2=(1000)10(1750)8=(1000)10(3E8)16=(1000)101.5将下列各数分别转换为二进制数:(210)8,(136)10,(88)16解:结果都为:(10001000)21.6将下列个数分别转换成八进制数:(111111)2,(63)10,(3F)16解:结果都为(77)81.7将下列个数分别转换成十六进制数:(11111111)2,(377)8,(255)10解:结果都为(FF)161.8转换下列各数,要求转换后保持原精度:解:(1.125)10=(1.0010000000)10——小数点后至少取10位(0010 1011 0010)2421BCD=(11111100)2(0110.1010)余3循环BCD码=(1.1110)21.9用下列代码表示(123)10,(1011.01)2:解:(1)8421BCD码:(123)10=(0001 0010 0011)8421BCD(1011.01)2=(11.25)10=(0001 0001.0010 0101)8421BCD(2)余3 BCD码(123)10=(0100 0101 0110)余3BCD(1011.01)2=(11.25)10=(0100 0100.0101 1000)余3BCD1.10已知A=(1011010)2,B=(101111)2,C=(1010100)2,D=(110)2(1)按二进制运算规律求A+B,A-B,C×D,C÷D,(2)将A、B、C、D转换成十进制数后,求A+B,A-B,C×D,C÷D,并将结果与(1)进行比较。
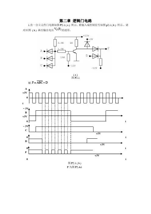
数字逻辑与数字系统设计第1章习题解答1.3 (1)86 (2)219 (3)106.25 (4)0.68751.4 (1)101111 (2)1001000 (3)100001l.11 (4)0.1011.5 (1)(117)10=(165)8=(1110101)2=(75)16(2)(3452)10=(6574)8=(110101111100)2=(D7C)16(3)(23768.725)10=(56330.563)8=(101110011011000.101110011)2=(5CD8.B98)16(4)(0.625)10=(0.5)8=(0.101)2=(0.A)161.6 (1)(117)8=(1001111)2=(79)10(2)(7456)8=(111100101110)2=(3886)10(3)(23765.64)8=(10 0111 1111 0101.1101)2=(10229.8125)10(4)(0.746)8=(0.111100110)2=(243/256)101.7 (1) (9A)16=(10011010)2=(154)10(2) (3CF6)16=(11110011110110)2=(15606)10(3) (7FFE.6)16=(111111*********.011)2=(32766.375)10(4) (0.C4)16=(0.110001)2=(0.765625)101-8 (1)(125)10=(000100100101)8421BCD(2)(7342)10=(0111001101000010)8421BCD(3)(2018.49)10=(0010000000011000.01001001)8421BCD(4)(0.785)10=(0.011110000101)8421BCD1.9(1)(106)10=(1101010)2原码=反码=补码=01101010(2)(-98)10=(-1100010)2 原码=11100010反码=10011101补码=10011110(3)(-123)10=(-1111011)2 原码=11111011反码=10000100补码=11111101(4)(-0.8125)10=(-0.1101)2 原码=1.1101000反码=1.0010111补码=1.00110001.10(1)(104)10=(1101000)2 [1101000]补=01101000(-97)10=(-1100001)2 [-1100001]补=1001111110000011+ 0100111111010010 01101000+ 1001111100000111[104-97]补=01101000+10011111=00000111, 104-97=(00000111)2=7 (2) (-125)10=(-1111101)2[-1111101]补=10000011(79)10=(01001111)2[01001111]补=01001111[-125+79]补=10000011+01001111=11010010,-125+79=(-0101110)2=-46 (3) (120)10=(1111000)2[01111000]补=01111000(-67)10=(-1000011)2[-1000011]补=10111101[120-67]补=10000011+01001111=00110101,-125+79=(00110101)2=53 (4) (-87)10=(-1010111)2[-1010111]补=10101001(12)10=(1100)2[1100]补=00001100[-87+12]补=10101001+00001100=10110101,-125+79=(-1001011)2=-7501111000 + 101111010011010110101001 + 0000110010110101第2章 习题解答2.3 解:根据逻辑图可直接写出逻辑表达式:(a) F=C B B A +;(b) F=C A C B B A解:设3个输入变量分别为A 、B 、C ,输出为F ,按题意,其中有奇数个为1,则输出F =1,因此可写出其逻辑表达式为F=ABC C B A C B A C B A +++。
《Verilog数字系统设计教程》夏宇闻第四版思考题答案(第2章)1.Verilog语⾔有什么作⽤?可描述顺序执⾏和并⾏执⾏的程序结构;⽤延迟表达式或事件表达式来明确的控制过程的启动时间;通过命名的事件来触发其它过程⾥的激活⾏为或停⽌⾏为;提供了条件如if-else,case等循环程序结构;提供了可带参数且⾮零延续时间的任务程序结构;提供了可定义新的操作符的函数结构;提供了⽤于建⽴表达式的算术运算符,逻辑运算符,位运算符;Verilog HDL语⾔作为⼀种结构化的语⾔⾮常适⽤于门级和开关级的模型设计;提供了⼀套完整的表⽰组合逻辑的基本元件的原话;提供了双向通路和电阻器件的原话;可建⽴MOS器件的电荷分享和电荷衰减动态模型;Verilog HDL的构造性语句可以精确地建⽴信号的模型;2.构成模块的关键词是什么?module,endmodule。
3.为什么说可以⽤Verilog构成⾮常复杂的电路结构?因为Verilog可描述顺序执⾏和并⾏执⾏的程序结构;⽤延迟表达式或事件表达式来明确的控制过程的启动时间;通过命名的事件来触发其它过程⾥的激活⾏为或停⽌⾏为;提供了条件如if-else,case等循环程序结构;提供了可带参数且⾮零延续时间的任务程序结构;提供了可定义新的操作符的函数结构;提供了⽤于建⽴表达式的算术运算符,逻辑运算符,位运算符;Verilog HDL语⾔作为⼀种结构化的语⾔⾮常适⽤于门级和开关级的模型设计;提供了⼀套完整的表⽰组合逻辑的基本元件的原话;提供了双向通路和电阻器件的原话;可建⽴MOS器件的电荷分享和电荷衰减动态模型Verilog HDL的构造性语句可以精确地建⽴信号的模型;4.为什么可以⽤⽐较抽象的描述来设计具体的电路结构?因为有可以⽤⽐较抽象描述设计电路结构的语⾔,⽽这种语⾔是适合数字系统设计的语⾔。
5.是否任意抽象的符合语法的Verilog模块都可以通过综合⼯具转变为电路结构?不能。
1.1将下列各式写成按权展开式:欧阳引擎(2021.01.01)(352.6)10=3×102+5×101+2×100+6×10-1(101.101)2=1×22+1×20+1×2-1+1×2-3(54.6)8=5×81+54×80+6×8-1(13A.4F)16=1×162+3×161+10×160+4×16-1+15×16-21.2按十进制0~17的次序,列表填写出相应的二进制、八进制、十六进制数。
解:略1.3二进制数00000000~11111111和0000000000~1111111111分别可以代表多少个数?解:分别代表28=256和210=1024个数。
1.4 将下列个数分别转换成十进制数:(1111101000)2,(1750)8,(3E8)16解:(1111101000)2=(1000)10(1750)8=(1000)10(3E8)16=(1000)101.5将下列各数分别转换为二进制数:(210)8,(136)10,(88)16解:结果都为:(10001000)21.6 将下列个数分别转换成八进制数:(111111)2,(63)10,(3F)16解:结果都为(77)81.7 将下列个数分别转换成十六进制数:(11111111)2,(377)8,(255)10解:结果都为(FF)161.8 转换下列各数,要求转换后保持原精度:解:(1.125)10=(1.0010000000)10——小数点后至少取10位(0010 1011 0010)2421BCD=(11111100)2(0110.1010)余3循环BCD码=(1.1110)21.9 用下列代码表示(123)10,(1011.01)2:解:(1)8421BCD码:(123)10=(0001 0010 0011)8421BCD(1011.01)2=(11.25)10=(0001 0001.0010 0101)8421BCD(2)余3 BCD码(123)10=(0100 0101 0110)余3BCD(1011.01)2=(11.25)10=(0100 0100.0101 1000)余3BCD1.10 已知A=(1011010)2,B=(101111)2,C=(1010100)2,D=(110)2(1)按二进制运算规律求A+B,A-B,C×D,C÷D,(2)将A、B、C、D转换成十进制数后,求A+B,A-B,C×D,C÷D,并将结果与(1)进行比较。
1.1将下列各式写成按权展开式:(352.6)10=3×102+5×101+2×100+6×10-1(101.101)2=1×22+1×20+1×2-1+1×2-3(54.6)8=5×81+54×80+6×8-1(13A.4F)16=1×162+3×161+10×160+4×16-1+15×16-2 1.2按十进制0~17的次序,列表填写出相应的二进制、八进制、十六进制数。
解:略1.3二进制数00000000~11111111和0000000000~1111111111分别可以代表多少个数?解:分别代表28=256和210=1024个数。
1.4 将下列个数分别转换成十进制数:(1111101000)2,(1750)8,(3E8)16解:(1111101000)2=(1000)10(1750)8=(1000)10(3E8)16=(1000)101.5将下列各数分别转换为二进制数:(210)8,(136)10,(88)16解:结果都为:(10001000)21.6 将下列个数分别转换成八进制数:(111111)2,(63)10,(3F)16解:结果都为(77)81.7 将下列个数分别转换成十六进制数:(11111111)2,(377)8,(255)10解:结果都为(FF)161.8 转换下列各数,要求转换后保持原精度:解:(1.125)10=(1.0010000000)10——小数点后至少取10位(0010 1011 0010)2421BCD=(11111100)2(0110.1010)余3循环BCD码=(1.1110)21.9 用下列代码表示(123)10,(1011.01)2:解:(1)8421BCD码:(123)10=(0001 0010 0011)8421BCD(1011.01)2=(11.25)10=(0001 0001.0010 0101)8421BCD(2)余3 BCD码(123)10=(0100 0101 0110)余3BCD(1011.01)2=(11.25)10=(0100 0100.0101 1000)余3BCD1.10 已知A=(1011010)2,B=(101111)2,C=(1010100)2,D=(110)2(1)按二进制运算规律求A+B,A-B,C×D,C÷D,(2)将A、B、C、D转换成十进制数后,求A+B,A-B,C×D,C÷D,并将结果与(1)进行比较。
1.1将下列各式写成按权展开式:(352.6)10=3×102+5×101+2×100+6×10-1(101.101)2=1×22+1×20+1×2-1+1×2-3(54.6)8=5×81+54×80+6×8-1(13A.4F)16=1×162+3×161+10×160+4×16-1+15×16-21.2按十进制0~17的次序,列表填写出相应的二进制、八进制、十六进制数。
解:略1.3二进制数00000000~11111111和0000000000~1111111111分别可以代表多少个数?解:分别代表28=256和210=1024个数。
1.4 将下列个数分别转换成十进制数:(1111101000)2,(1750)8,(3E8)16解:(1111101000)2=(1000)10(1750)8=(1000)10(3E8)16=(1000)101.5将下列各数分别转换为二进制数:(210)8,(136)10,(88)16解:结果都为:(10001000)21.6 将下列个数分别转换成八进制数:(111111)2,(63)10,(3F)16解:结果都为(77)81.7 将下列个数分别转换成十六进制数:(11111111)2,(377)8,(255)10解:结果都为(FF)161.8 转换下列各数,要求转换后保持原精度:解:(1.125)10=(1.0010000000)10——小数点后至少取10位(0010 1011 0010)2421BCD=(11111100)2(0110.1010)余3循环BCD码=(1.1110)21.9 用下列代码表示(123)10,(1011.01)2:解:(1)8421BCD码:(123)10=(0001 0010 0011)8421BCD(1011.01)2=(11.25)10=(0001 0001.0010 0101)8421BCD(2)余3 BCD码(123)10=(0100 0101 0110)余3BCD(1011.01)2=(11.25)10=(0100 0100.0101 1000)余3BCD1.10 已知A=(1011010)2,B=(101111)2,C=(1010100)2,D=(110)2(1)按二进制运算规律求A+B,A-B,C×D,C÷D,(2)将A、B、C、D转换成十进制数后,求A+B,A-B,C×D,C÷D,并将结果与(1)进行比较。
数字设计原理与实践 (第四版 )_课后习题答案数字设计原理与实践 (第四版) 是一本广泛使用于电子工程、计算机科学等领域的教材,它介绍了数字电路的基础知识和设计方法。
课后习题是巩固学习内容、提高理解能力的重要部分。
下面是一些课后习题的答案,供参考。
第一章绪论1. 什么是数字电路?数字电路是一种使用二进制数表示信息并通过逻辑门实现逻辑功能的电路。
2. 简述数字系统的设计过程。
数字系统的设计过程包括需求分析、系统规格说明、逻辑设计、电路设计、测试和验证等步骤。
3. 简述数字电路的分类。
数字电路可以分为组合逻辑电路和时序逻辑电路两类。
组合逻辑电路的输出只取决于当前输入,时序逻辑电路的输出还受到过去输入的影响。
4. 什么是门电路?门电路是由逻辑门组成的电路,逻辑门是实现逻辑运算的基本模块。
第二章组合逻辑电路设计基础1. 简述一下布尔代数的基本概念。
布尔代数是一种用于描述逻辑运算的数学系统。
它包括逻辑变量、逻辑表达式、逻辑运算等概念。
2. 简述编码器和译码器的功能和应用。
编码器用于将多个输入信号转换为较少的输出信号,译码器则将少量输入信号转换为多个输出信号。
它们常用于数据压缩、信号传输和地址译码等应用中。
3. 简述多路选择器的功能和应用。
多路选择器根据选择信号选择其中一个输入信号并输出,它可以实现多个输入信号的复用和选择。
它常用于数据选择、信号传输和地址译码等应用中。
第三章组合逻辑电路设计1. 简述组合逻辑电路的设计方法。
组合逻辑电路的设计方法包括确定逻辑功能、编写逻辑表达式、绘制逻辑图和验证电路正确性等步骤。
2. 请设计一个3位二进制加法器。
一个3位二进制加法器可以通过将两个2位二进制加法器和一个与门连接而成。
3. 简述半加器和全加器的功能和应用。
半加器用于实现两个二进制位的相加,它的输出包括和位和进位位。
全加器则用于实现三个二进制位的相加,它的输出包括和位和进位位。
它们常用于二进制加法器的设计。
第四章时序逻辑电路设计基础1. 简述触发器的功能和应用。
1.1将下列各式写成按权展开式:(352.6)10=3×102+5×101+2×100+6×10-1(101.101)2=1×22+1×20+1×2-1+1×2-3(54.6)8=5×81+54×80+6×8-1(13A.4F)16=1×162+3×161+10×160+4×16-1+15×16-21.2按十进制0~17的次序,列表填写出相应的二进制、八进制、十六进制数。
解:略1.3二进制数00000000~11111111和0000000000~1111111111分别可以代表多少个数?解:分别代表28=256和210=1024个数。
1.4将下列个数分别转换成十进制数:(1111101000)2,(1750)8,(3E8)16解:(1111101000)2=(1000)10(1750)8=(1000)10(3E8)16=(1000)101.5将下列各数分别转换为二进制数:(210)8,(136)10,(88)16解:结果都为:(10001000)21.6将下列个数分别转换成八进制数:(111111)2,(63)10,(3F)16解:结果都为(77)81.7将下列个数分别转换成十六进制数:(11111111)2,(377)8,(255)10解:结果都为(FF)161.8转换下列各数,要求转换后保持原精度:解:(1.125)10=(1.0010000000)10——小数点后至少取10位(0010 1011 0010)2421BCD=(11111100)2(0110.1010)余3循环BCD码=(1.1110)21.9用下列代码表示(123)10,(1011.01)2:解:(1)8421BCD码:(123)10=(0001 0010 0011)8421BCD(1011.01)2=(11.25)10=(0001 0001.0010 0101)8421BCD(2)余3 BCD码(123)10=(0100 0101 0110)余3BCD(1011.01)2=(11.25)10=(0100 0100.0101 1000)余3BCD1.10已知A=(1011010)2,B=(101111)2,C=(1010100)2,D=(110)2(1)按二进制运算规律求A+B,A-B,C×D,C÷D,(2)将A、B、C、D转换成十进制数后,求A+B,A-B,C×D,C÷D,并将结果与(1)进行比较。
第1章习题及解答1.1 将下列二进制数转换为等值的十进制数。
(1)(11011)2 (2)(10010111)2(3)(1101101)2 (4)(11111111)2(5)(0.1001)2(6)(0.0111)2(7)(11.001)2(8)(101011.11001)2题1.1 解:(1)(11011)2 =(27)10 (2)(10010111)2 =(151)10(3)(1101101)2 =(109)10 (4)(11111111)2 =(255)10(5)(0.1001)2 =(0.5625)10(6)(0.0111)2 =(0.4375)10(7)(11.001)2=(3.125)10(8)(101011.11001)2 =(43.78125)10 1.3 将下列二进制数转换为等值的十六进制数和八进制数。
(1)(1010111)2 (2)(110111011)2(3)(10110.011010)2 (4)(101100.110011)2题1.3 解:(1)(1010111)2 =(57)16 =(127)8(2)(110011010)2 =(19A)16 =(632)8(3)(10110.111010)2 =(16.E8)16 =(26.72)8(4)(101100.01100001)2 =(2C.61)16 =(54.302)81.5 将下列十进制数表示为8421BCD码。
(1)(43)10 (2)(95.12)10(3)(67.58)10 (4)(932.1)10题1.5 解:(1)(43)10 =(01000011)8421BCD(2)(95.12)10 =(10010101.00010010)8421BCD(3)(67.58)10 =(01100111.01011000)8421BCD(4)(932.1)10 =(100100110010.0001)8421BCD1.7 将下列有符号的十进制数表示成补码形式的有符号二进制数。
第二章 组合逻辑1. 分析图中所示的逻辑电路,写出表达式并进行化简BF = AB + B = ABA F = AB BABC CABC = AB + AC + BC + BC = AB + BC + BC2. 分析下图所示逻辑电路,其中S3、S2、S1、S0为控制输入端,列出真值表,说明 F 与 A 、B 的关系。
F1=1S B BS A ++ F2=32S B A ABS +F=F 1F 2=1S B BS A ++3. 分析下图所示逻辑电路,列出真值表,说明其逻辑功能。
解:F1=C B BC A C AB C B A +++=ABC C B A ABC C B A C B A +⊕=++)(真值表如下:A B C F 0 0 00 0 10 1 00 1 11 0 01 0 11 1 01 1 100000111当B ≠C 时, F1=A 当B=C=1时, F1=A 当B=C=0时, F1=0裁判判决电路,A 为主裁判,在A 同意的前提下,只要有一位副裁判(B ,C )同意,成绩就有效。
F2=AC BC AB C A C B B A ++=++真值表如下:A B C F 0 0 00 0 10 1 00 1 11 0 01 0 11 1 01 1 100001111当A 、B 、C 三个变量中有两个及两个以上同时为“1”时,F2 = 1 。
4.图所示为数据总线上的一种判零电路,写出F 的逻辑表达式,说明该电路的逻辑功能。
解:F=1514131211109876543210A A A A A A A A A A A A A A A A +++只有当变量A0~A15全为0时,F = 1;否则,F = 0。
因此,电路的功能是判断变量是否全部为逻辑“0”。
5. 分析下图所示逻辑电路,列出真值表,说明其逻辑功能解: 301201101001X A A X A A X A A X A A F +++= 真值表如下:因此,这是一个四选一的选择器。
习题目录2.1 (2)2.2 (2)2.3 (2)2.4 (3)2.5 (3)2.6 (4)2.7 (4)2.8 (4)2.9 (4)2.10 (4)2.11 (5)2.12 (5)2.13 (7)2.14 (8)2.1 有A 、B 、C 三个输入信号,试列出下列问题的真值表,并写出最小项表达式∑m ( )。
(1)如果A 、B 、C 均为0或其中一个信号为1时。
输出F=1,其余情况下F=0。
(2)若A 、B 、C 出现奇数个0时输出为1,其余情况输出为0。
(3)若A 、B 、C 有两个或两个以上为1时,输出为1,其余情况下,输出为0。
F 1m 4)F 2m )3m 7)2.2 试用真值表证明下列等式:(1)A ⎺B+B ⎺C+A ⎺C=ABC+⎺A ⎺B ⎺C (2)⎺A ⎺B+⎺B ⎺C+⎺A ⎺C=AB BC AC 证明:(1)真值表相同,所以等式成立。
(真值表相同,所以等式成立。
2.3 对下列函数,说明对输入变量的哪些取值组合其输出为1? (1)F (A,B,C )=AB+BC+AC(2)F (A,B,C )=(A+B+C)(⎺A+⎺B+⎺C) (3)F (A,B,C )=(⎺AB+⎺BC+A ⎺C)AC解:本题可用真值表、化成最小项表达式、卡诺图等多种方法求解。
(1)F 输出1的取值组合为:011、101、110、111。
(2)F 输出1的取值组合为:001、010、011、100、101、110。
(3)F输出1的取值组合为:101。
2.4试直接写出下列各式的反演式和对偶式。
(1)F(A,B,C,D,E)=[(A⎺B+C)·D+E]·B(2) F(A,B,C,D,E)=AB+⎺C⎺D+BC+⎺D+⎺CE+B+E(3) F(A,B,C)=⎺A⎺B+C ⎺AB C解:(1) ⎺F=[(⎺A+B)·⎺C+⎺D]·⎺E+⎺BF'=[(A+⎺B)·C+D]·E+B(2) ⎺F=(⎺A+⎺B)(C+D)·(⎺B+⎺C)·D·(C+⎺E)·⎺B·⎺EF'=(A+B)(⎺C+⎺D)·(B+C)·⎺D·(⎺C+E)·B·E(3)⎺F=(A+B)·⎺C+ A+⎺B+CF'=(⎺A+⎺B)·C+⎺A+B+⎺C2.5用公式证明下列等式:(1)⎺A⎺C+⎺A⎺B+BC+⎺A⎺C⎺D=⎺A+BC(2)AB+⎺AC+(⎺B+⎺C) D=AB+⎺AC+D(3)⎺BC⎺D+B⎺CD+ACD+⎺AB⎺C⎺D+⎺A⎺BCD+B⎺C⎺D+BCD=⎺BC+B⎺C+BD(4)A⎺B⎺C+BC+BC⎺D+A⎺BD=⎺A + B +⎺C+⎺D证明:(1) ⎺A⎺C+⎺A⎺B+BC+⎺A⎺C⎺D ——⎺A⎺C⎺D被⎺A⎺C削去=⎺A(⎺B+⎺C)+BC=⎺A BC+BC ——削去互补因子=⎺A+BC(2) AB+⎺AC+(⎺B+⎺C) D=AB+⎺AC+BC D+BC ——增加冗余因子BC,为了削去BCD中的BC =AB+⎺AC+D(3)⎺BC⎺D+B⎺CD+ACD+⎺AB⎺C⎺D+⎺A⎺BCD+B⎺C⎺D+BCD=⎺BC⎺D+BD+ACD+⎺AB⎺C⎺D+⎺BCD+B⎺C⎺D ——B⎺CD与BCD合并成BD=⎺BC⎺D+BD+ACD+⎺AB⎺C⎺D+⎺BCD+B⎺C ——BD与B⎺C⎺D削去互补因子=⎺BC⎺D+BD+ACD+⎺BCD+B⎺C ——⎺AB⎺C⎺D被B⎺C削去=⎺BC+BD+ACD+B⎺C ——⎺BC⎺D与⎺BCD合并=⎺BC+BD+CD+ACD+B⎺C ——增加CD,可削去ACD=⎺BC+B⎺C+BD(4)A⎺B⎺C+BC+BC⎺D+A⎺BD=A⎺B⎺C (BC+BC⎺D)+⎺A+B+⎺D ——BC+BC⎺D削去互补因子=A⎺B⎺C (⎺B+⎺C+⎺D)+⎺A+B+⎺D=A⎺B⎺C +A⎺B⎺C⎺D+⎺A+B+⎺D=A⎺B⎺C+⎺A+B+⎺D=⎺A+ B +⎺C+⎺D2.6已知⎺ab+a⎺b=a⊕b,⎺a⎺b+ab=a b,证明:(1)a⊕b⊕c=a b c(2)a⊕b⊕c=⎺a ⎺b ⎺c证明:(1)a⊕b⊕c=(a⊕b)⊕c=a⊕b · c+(a⊕b)·⎺c=(a b)·c+ a b⎺c=a b c(2)(a⊕b)⊕c = (a⊕b) c=a b c=a b ⎺c=⎺a ⎺b ⎺c2.7试证明:(1)若⎺a⎺b+ a b=0则a x+b y=a⎺x + b⎺y证明:⎺a⎺b+ a b=0 即a b=0 ∴a =⎺bax + by =⎺bx + by = ⎺bx · by=(b+⎺x)(⎺b+⎺y)=b⎺y+⎺b⎺x+⎺x⎺y=a⎺x+b⎺y(2)若⎺a b+a⎺b=c,则⎺a c + a⎺c=b证明:a⊕b=c => a⊕b⊕c=c⊕c => a⊕b⊕c=0 => a⊕b⊕c⊕b=0⊕b => a⊕c=b2.8将下列函数展开成最小项之和:(1)F(ABC)=A+BC(2)F(ABCD)=(B+⎺C)D+(⎺A+B) C(3)F(ABC)=A+B+C+⎺A+B+C解:(1)F(ABC)=A+BC=A(B+⎺B)(C+⎺C)+(A+⎺A)BC=⎺ABC+A⎺B⎺C+A⎺BC+AB⎺C=∑m(3,4,5,6)(2) F(ABCD)=(B+⎺C)D+(⎺A+B) C=BD+⎺CD+⎺AC+BC=∑m(1,3,5,6,7,9,13,14,15)(3) F(ABC)=A+B+C+⎺A+B+C=∑m(0,2,6)2.9将题2.8中各题写成最大项表达式,并将结果与2.8题结果进行比较。
解:(1)F(ABC)=∏M(0,1,2)(2) F(ABCD)=∏M(2,4,8,10,11,12)(3)F(ABC)=∏M(1,3,4,5,7)2.10试写出下列各函数表达式F的⎺F和F'的最小项表达式。
(1)F=ABCD+ACD+B⎺C⎺D(2)F=A⎺B+⎺AB+BC解:(1)F=ABCD+ACD+B⎺C⎺D=∑m(4,11,12,15)所以:⎺F=∑m(0,1,2,3,5,6,7,8,9,10,13,14)F'=∑m(1,2,5,6,7,8,9,10,12,13,14,15)(2) F=A⎺B+⎺AB+BC=∑m(4,5,6,7,8,9,10,11,14,15)所以:⎺F=∑m(0,1,2,3,12,13)F'=∑m(2,3,12,13,14,15)2.11试用公式法把下列各表达式化简为最简与或式(1)F=A+AB⎺C+ABC+BC+B解:F=A+AB(⎺C+C)+B=A+AB+B=A+B(2) F=(A+B)(A+B+C)(⎺A+C)(B+C+D)解:F'=AB+ABC+⎺AC+BCD=AB+⎺AC+BCD=AB+⎺AC(3) F=AB+⎺A⎺B •BC+⎺B⎺C解:F=AB+⎺A⎺B+BC+⎺B⎺C=AB+⎺A⎺B(C+⎺C)+BC(A+⎺A)+⎺B⎺C=AB+⎺A⎺BC+⎺A⎺B⎺C+ABC+⎺ABC+⎺B⎺C=AB+⎺B⎺C+⎺AC或:F=⎺A⎺B+A⎺C+BC(4) F=A⎺C⎺D+BC+⎺BD+A⎺B+⎺AC+⎺B⎺C解:F=A⎺C⎺D+BC+⎺BD+A⎺B+⎺AC+⎺B⎺C+AC ——添项法增加AC =A⎺C⎺D+BC+⎺BD+A⎺B+C+⎺B⎺C=A⎺C⎺D+BC+⎺BD+A⎺B+C+⎺B=A⎺C⎺D+BC+C+⎺B=A⎺C⎺D+C+⎺B=A⎺D+C+⎺B(5) F=AC+⎺BC+B(A⎺C+⎺AC)解:F=(AC+⎺BC)•B(A⎺C+⎺AC)=(AC+⎺BC)•[⎺B+(A⎺C+⎺AC)]=(AC+⎺BC)•(⎺B+⎺A⎺C+AC)=ABC+AC+⎺BC+A⎺BC=AC+⎺BC2.12用卡诺图把下列函数化简为最简与或式(1)F(A,B,C)=∑m(0,1,2,4,5,7)解:F=⎺B+⎺A⎺C+AC(2)F(A,B,C,D)=∑m(0,2,5,6,7,9,10,14,15)解:F=A⎺B⎺CD+⎺A⎺B⎺D+⎺ABD+BC+C⎺D(3)F(A,B,C,D)=∑m(0,1,4,7,9,10,13) +∑φ(2,5,8,12,15)解:F=⎺C+BD+⎺B⎺D(4)F(A,B,C,D)=∑m(7,13,15) 且⎺A⎺B⎺C=0, ⎺AB⎺C=0, ⎺A⎺BC=0解:F(A,B,C,D)=BD(5) F(A,B,C,D)=AB⎺C+A⎺B⎺C+⎺A⎺BC⎺D+A⎺BC⎺D且ABCD不可同时为1或同时为0 解:F(A,B,C,D)=⎺B⎺D+A⎺C(6)F(A,B,C,D)=∏M (5,7,13,15)(7)F(A,B,C,D)=∏M (1,3,9,10,14,15)解:F=⎺A⎺D+⎺AB+⎺C⎺D+B⎺C+A⎺BCD(8)F(A,B,C,D,E)=∑m(0,4,5,6,7,8,11,13,15,16,20,21,22,23,24,25,27,29,31)解:F=⎺C⎺D⎺E+⎺BC+CE+BDE+ABEA=0 A=12.13用卡诺图将下列函数化为最简或与式(1)F(A,B,C)=∑m(0,1,2,4,5,7)解:F=(A+⎺B+⎺C)(⎺A+⎺B+C)(2)F(A,B,C)=∏M (5,7,13,15)2.14 已知:F 1(A,B,C)=∑m (1,2,3,5,7) +∑φ (0,6),F 2(A,B,C)=∑m (0,3,4,6) +∑φ (2,5),求F=F 1⊕F 2的最简与或式解:F=A+⎺B=。