用于液压机构的矩形密封圈有限元分析
- 格式:docx
- 大小:41.04 KB
- 文档页数:6
图一
图二
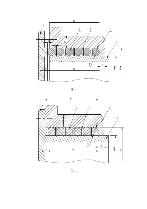
彭老师您好,上面两图所示是我依据谭老师的问题建立的一密封机构部件图,此密封座由端盖1(材料为Q235)、O型橡胶密封圈2(材料为丁腈橡胶6个)、不锈钢垫片3(5个)、密封座4(材料为Q235)和套筒5(材料为Q235)组成。
图一是端盖封闭前的图样,图二是端盖封闭后的图样。
从图二中,可明显的看出,端盖合好以后,橡胶密封圈因挤压而变形了,每个O型圈的变形量不同,总变形量为8mm,不考虑不锈钢垫片与密封座之间的摩擦。
现在需要用ANSYS进行变形后的如下分析:
1.每一个O型橡胶密封圈的变形及应力分布;
2.每一个不锈钢垫片的变形及应力分布;
3.端盖及密封座的变形及应力分布。
现在存在的问题:
1.如何对这6个密封圈加载,因为每个密封圈的变形量都是不同的。
2.对于这种已知总体变形量却不知道每一个密封圈的受力情况,该怎样入
手?
我查阅了国内一些关于O型密封圈的ANSYS分析的文献,但是里边的都只分析了装有一个密封圈的情况,对于这种多个密封圈串起来,不知该如何下手了。
还请彭老师指点一下我该查阅哪学方面的资料,去尽早的解决这个问题。
基于有限元分析的液压缸密封圈磨损分析
师玉璞;杜娴;赵帆;唐梓巍;杜慧玲
【期刊名称】《液压气动与密封》
【年(卷),期】2024(44)1
【摘要】液压缸密封圈磨损原因较多,难以通过肉眼直观观察,很难找到直接原因,提出基于有限元的液压缸密封圈磨损量分析方法。
基于液压缸密封圈几何模型、材料模型和物理模型,分析了橡胶密封圈在应力和应变上的非线性,通过定义应变密度函数,构建了液压缸密封圈的有限元模型。
根据液压缸活塞的密封结构,分析了液压缸活塞的运动特点,利用Archard模型描述密封圈的外观特征变化,通过计算密封圈接触面上任意一点的磨损深度,分析液压缸密封圈的磨损量。
试验结果表明,所研究方法可以对液压缸密封圈的裂纹深度与裂纹扩展角度进行有效分析,两项指标的试验分析与实测结果基本一致,裂纹深度的试验分析误差最大值仅为0.002 mm。
方法有助于提高液压缸设计的密封可靠性。
【总页数】5页(P74-78)
【作者】师玉璞;杜娴;赵帆;唐梓巍;杜慧玲
【作者单位】西安科技大学材料科学与工程学院
【正文语种】中文
【中图分类】TH137;TB42
【相关文献】
1.水下机器人液压缸O形密封圈的有限元分析
2.基于钢厂举升液压缸密封圈的有限元分析
3.基于ANSYS Workbench的新型浮动式无骨架鞍形橡胶密封圈的有限元分析
4.基于有限元分析的船舶调距桨液压缸疲劳磨损寿命预测
5.基于ANSYS的聚氨酯闸阀密封圈有限元分析
因版权原因,仅展示原文概要,查看原文内容请购买。
液压缸防尘圈密封性能有限元分析及试验研究冯世泽;范春伟;何刘宇【摘要】针对液压缸常用防尘圈的类型和应用现状进行分析总结.利用Mooney-Rivlin理论建立组合防尘圈和聚氨酯类防尘圈的有限元模型,分析防尘圈压缩后的变形情况及应力分布情况.分别在沙尘、泥沙、低温环境等工况对各类防尘圈的防尘效果进行试验研究,通过试验分解检查油缸内各元件状态,得出两种防尘圈在不同工况下的防尘效果试验数据,试验结果与有限元分析结果一致,对后续油缸设计过程中的防尘圈选型设计具有指导意义.%The commonly used scrapers on Hydraulic Cylinders are analyzed and summarized.Finite Element Model of Combined Scrapers and the PU Scrapers are constructed by the Mooney-Rivlin theory,then the stress and deformation of these Wipers are analyzed.Dustproof Effects of these scrapers are tested under dust,low temperature environment,which are got by analyzing the components of the cylinders.The test gives the same results as the simulation,which can direct the selection of scrapers in hydraulic cylinder design.【期刊名称】《液压与气动》【年(卷),期】2017(000)007【总页数】6页(P114-119)【关键词】液压缸;防尘圈;沙尘环境;低温环境;有限元分析【作者】冯世泽;范春伟;何刘宇【作者单位】北京航天发射技术研究所,北京100076;北京航天发射技术研究所,北京100076;北京航天发射技术研究所,北京100076【正文语种】中文【中图分类】TH137目前75%~80%的液压系统故障都是由于多余物污染工作介质造成的,而多余物大部分为外部环境侵入[1],液压缸作为液压系统的执行元件,其伸缩过程为外部多余物侵入的主要环节,液压缸中典型防尘与密封结构及其发展历程如图1所示。
基于有限元的O形密封圈密封性能分析本文档格式为WORD,感谢你的阅读。
针对较为常用的O形橡胶密封圈,在有限元软件Abaqus中对其静密封性能进行了仿真模拟,并研究了介质压力、摩擦因数和预压缩量对密封圈密封性能的影响规律。
通过数值模拟可以实现对O形密封圈密封性能的预测,为密封圈的设计和应用提供了理论依据,同时也为其他结构密封圈的分析提供参考。
O形密封圈由于其结构简单、密封性能好且制造费用低,被广泛地应用于机床、船舶、汽车、航空航天、冶金、化工以及铁道机械等行业,一般安装在外圆或内圆上截面为矩形的沟槽内起密封作用,适用于静密封和往复运动密封。
O形密封圈是一种双向作用的密封件,安装时径向或轴向方向给定一定的预压缩,使其具备初始密封能力,再在系统压力作用下产生密封力,与初始密封力合成总的密封力,实现对系统的密封。
通常,为防止出现永久的塑性变形, O形圈允许的最大压缩量在静密封中约为30%,在动密封中约为20%。
在静密封中,无挡圈时, O形密封圈的最高工作压力可达20MPa。
由于影响 O形圈密封性能的因素较多,本文采用有限元软件Abaqus对静密封中的 O形圈的密封性能进行分析,并研究预压缩量、摩擦因素和介质压力对其密封性能的影响。
二、有限元模型1.材料参数O形密封圈采用的橡胶材料具有高度非线性,即几何非线性、材料非线性和接触非线性。
在分析之前,需要做以下假设:材料具有确定的弹性模量和泊松比;材料的拉伸和压缩蠕变性质相同;密封圈受到的纵向压缩视为有约束边界的指定位移引起的;蠕变不引起体积的变化。
2.几何模型密封圈及沟槽截面图,密封圈的材料为丁腈橡胶(NBR),其规格为150mm×5.33mm。
在Abaqus中建立活塞杆、凹槽和密封圈的二维轴对称模型,活塞杆和凹槽材料为40Cr,弹性模量为206GPa,泊松比为0.3,密度为7800kg/m3。
分别建立密封圈与凹槽和活塞杆两组接触面,采用罚函数模拟面与面之间的接触,设定初始摩擦因数为0.2。
《液压机机身有限元分析与优化》篇一一、引言液压机是一种广泛运用于机械制造、模具制造等行业的重工业设备。
其机身作为整个设备的支撑结构,承担着重要的力学作用。
因此,对液压机机身的力学性能进行深入的研究,对于提高设备的安全性和可靠性至关重要。
本文旨在通过有限元分析方法对液压机机身进行力学分析,并提出相应的优化方案。
二、液压机机身的有限元分析1. 建模与网格划分本阶段通过使用专业软件对液压机机身进行三维建模,然后根据模型的几何形状和结构特点进行网格划分。
在划分网格时,充分考虑了机身的复杂性和受力特点,确保了网格的合理性和准确性。
2. 材料属性与边界条件设定根据实际使用的材料,设定机身各部分的材料属性,如弹性模量、密度、泊松比等。
同时,根据实际工作情况设定边界条件,如固定约束、力加载等。
3. 加载与求解根据液压机机身的实际工作情况,施加相应的载荷和约束条件,并进行求解。
通过有限元分析软件得到机身的应力分布、位移变形等情况。
三、结果分析1. 应力分析通过有限元分析结果,我们可以得到液压机机身的应力分布情况。
在机身的关键部位,如连接处、支撑点等地方,容易出现应力集中现象。
这些地方的应力值较大,可能影响设备的正常运行和安全性。
2. 变形分析除了应力分布,我们还关注机身的变形情况。
在受到外力作用时,机身会产生一定的变形。
通过有限元分析,我们可以得到机身的变形情况,从而评估其刚度和稳定性。
四、优化方案设计1. 材料优化根据有限元分析结果,如果发现机身某部位的应力过大,可以考虑更换材料来提高其强度和刚度。
例如,可以使用高强度钢材或者合金材料来替代原有的材料。
2. 结构优化在结构上,可以通过改进连接方式、增加加强筋等方式来提高机身的刚度和稳定性。
例如,在应力集中的地方增加支撑结构或者改变连接方式来分散应力。
3. 工艺优化在制造过程中,可以通过优化工艺参数、提高加工精度等方式来提高机身的精度和一致性。
例如,在焊接过程中控制焊接温度和速度,以减少焊接变形和残余应力。
液压缸密封件的有限元分析及改进设计Optimization of sealing o-ring based on finite element analysis【摘要】介绍了液压缸的常用密封件的分类,利用有限元分析软件ANSYS对液压缸往复密封用橡胶密封圈进行建模和计算,分析密封圈最易受损和失效的关键部位,并结合液压缸活塞杆动态密封机理提出了优化设计模型。
对密封件的设计改进提供一种可行的方法。
关键词:有限元分析;优化设计;密封圈;密封机理【Abstract】By using ANSYS engineering analysis system,the finite element analysis model for sealing 0-ring of hydrodynamic cylinder was set up to analyze the easiest parts to be damaged and the key parts to be disabled.Integrated with sealing principles for piston of hydrodynamic cylinder,an optimized model of sealing O-ring Was proposed,which pointed out an available way to optimize the design of sealing O-ringKey words:FEM;Optimization;Sealing O-ring;Sealing principle0引言在液压系统中,液压缸是动力传递元件。
而液压缸中,活塞和导向套上所选用的密封圈,对液压缸在规定的条件下,规定的时间内,完成规定的功能,而使其性能保持在允许值范围内是至关重要的。
如果密封件过早地失效,动力传递的功能必将随之消失。
在现代设计中,合理选用密封件以及合理的结构设计,是保证产品性能提高产品质量的必要条件。
油封密封性能的有限元分析
李建国;丁玉梅;杨卫民;谭晶
【期刊名称】《润滑与密封》
【年(卷),期】2006(000)010
【摘要】利用大型有限元分析软件ANSYS建立了油封的二维轴对称有限元模型,分析了油封的腰厚、密封圈唇口平面到弹簧槽中心平面的距离以及过盈量3种重要参数对最大接触压力及其分布情况的影响.结果表明,采用该模型计算得到的油封在静态条件下的变形情况以及Von Mises应力分布情况与实际情况基本一致.在其它条件不变的情况下,随着油封腰部厚度t的增加,最大接触压力有递增的趋势,且随着油封尺寸的增大,在增加相同大小的腰厚时,最大接触压力增大的幅度将逐渐趋于平缓;最大接触压力随R值的增大而逐渐减小,且R值的改变对于小尺寸油封最大接触压力的影响较大;增大唇部过盈量,最大接触压力也随之而呈递增趋势,同样小尺寸油封递增幅度要大于大尺寸油封.
【总页数】4页(P116-119)
【作者】李建国;丁玉梅;杨卫民;谭晶
【作者单位】北京化工大学机电工程学院,北京,100029;北京化工大学机电工程学院,北京,100029;北京化工大学机电工程学院,北京,100029;北京化工大学机电工程学院,北京,100029
【正文语种】中文
【中图分类】TB42
【相关文献】
1.油封座孔材料对不同结构的骨架油封密封性能的影响 [J], 田虎
2.旋转唇形油封密封性能的有限元分析 [J], 康帅;赵良举;杜长春;李云飞;许曼曼;唐陈
3.主减速器油封密封性能的有限元分析 [J], 李新军;谷正刚;盛尚坤
4.W形密封唇油封结构的有限元分析* [J], 梁小凤;李翔宇;黄乐
5.油封动密封机制的有限元分析 [J], 李建国;丁玉梅;杨卫民;谭晶
因版权原因,仅展示原文概要,查看原文内容请购买。
《液压机机身有限元分析与优化》篇一一、引言液压机作为现代工业生产中不可或缺的重要设备,其机身的设计与性能直接关系到设备的整体稳定性和工作效率。
随着计算机技术的不断发展,有限元分析方法已经成为优化产品设计的重要手段。
本文将对液压机机身进行有限元分析,以寻找优化机身设计的方法,旨在提高设备的性能和使用寿命。
二、液压机机身的有限元分析1. 模型建立首先,我们使用三维建模软件建立液压机机身的几何模型。
在建模过程中,要充分考虑机身的结构特点、材料属性以及边界条件等因素。
然后,将几何模型导入有限元分析软件中,进行网格划分,为后续的有限元分析做好准备。
2. 材料属性与边界条件在有限元分析中,我们需要定义机身的材料属性,如弹性模量、泊松比、密度等。
同时,还需要设定边界条件,如约束条件、载荷条件等。
这些设定将直接影响有限元分析的准确性。
3. 有限元分析过程在完成模型建立、材料属性和边界条件设定后,我们可以开始进行有限元分析。
首先,对机身进行静态分析,以了解其在不同工况下的应力分布和变形情况。
其次,进行模态分析,以确定机身的固有频率和振型,为后续的优化设计提供依据。
最后,进行接触分析和疲劳分析等,以全面评估机身的性能。
三、液压机机身的优化设计1. 优化目标与约束条件根据有限元分析结果,我们可以确定优化目标,如减小机身的应力、提高刚度、降低振动等。
同时,还需要考虑一些约束条件,如制造工艺、成本、材料性能等。
这些都将影响优化方案的选择和实施。
2. 优化方案设计与实施针对优化目标,我们可以提出多种优化方案,如改变机身的结构、采用新型材料、改进制造工艺等。
然后,通过有限元分析对各种方案进行评估和比较,选择最优方案进行实施。
在实施过程中,还需要不断调整和优化设计方案,以达到最佳的性能和成本效益。
四、实验验证与结果分析1. 实验验证为了验证有限元分析和优化设计的准确性,我们可以进行实验验证。
通过在实际工况下对优化后的液压机机身进行测试,观察其性能指标如应力、刚度、振动等是否达到预期目标。
用于液压机构的矩形密封圈有限元分析房熊;单旸;金石磊;李小慧【摘要】在液压机构中,转轴组件与转动套组件之间的密封一般靠矩形密封圈来保证,在实际使用过程中密封圈密封效果的好坏直接影响着转轴的工作,所以密封圈在液压机构中起着十分重要的作用。
该文从实际情况出发,首先在 SolidWorks 软件中建立旋转机构的三维造型,然后根据分析对象和内容对模型进行合理简化,选择了3种应用工况,通过 ANSYS 软件模拟分析得出了对应工况下的密封圈受力情况,并评估了密封圈的危险区域,为密封圈的优化设计和安全使用提供参考和依据。
%In the hydraulic unit,the seal between the rotating shaft unit and rotating sleeve unit generally is realized by rectangular sealing ring,and the seal effect directly affects the working status of the rotating shaft,so rectangular sealing ring plays an important role in the hydraulic unit.Based on the actual situation,firstly 3D-model of rotating unit was built with SolidWorks software,and then the model was predigested reasonably according to the analysis object and content.The stress cloud of the rectangular sealing ring was simulated by ANSYA software under three pressure conditions,and the dangerous zone was gained.This study can provide reference and basis for the optimized design and safe use of rectangular sealing rings.【期刊名称】《理化检验-物理分册》【年(卷),期】2015(000)012【总页数】4页(P889-891,907)【关键词】矩形密封圈;有限元分析;SolidWorks 软件;ANSYS 软件【作者】房熊;单旸;金石磊;李小慧【作者单位】上海材料研究所,上海 200437; 上海市工程材料应用评价重点实验室,上海 200437;上海材料研究所,上海 200437; 上海市工程材料应用评价重点实验室,上海 200437;上海材料研究所,上海 200437; 上海市工程材料应用评价重点实验室,上海 200437;上海材料研究所,上海 200437; 上海市工程材料应用评价重点实验室,上海 200437【正文语种】中文【中图分类】TB42在液压机构中一般采用组合密封圈进行密封,需根据沟槽、实际工况选取合理的密封结构及尺寸.对组合密封圈的理论分析和实际使用分析,前人已经进行了大量的研究和探索[1-2].王伟等[3]对O型密封圈的非线性进行了有限元分析研究,叶珍霞等[4]对密封结构中的超弹性接触问题进行了有限元分析研究,但目前国内对于矩形密封圈的理论分析和研究却鲜有报道.为此,笔者使用ANSYS软件对液压机构中的矩形密封圈进行了模拟仿真,以期为矩形密封圈的进一步优化设计和提高密封圈设计精度提供新的方法和手段.计算机辅助工程(CAE)从20世纪60年代初在工程上开始应用至今,已经历了50多年的发展,其理论和算法都经历了从蓬勃发展到日趋成熟的过程,现已成为工程和产品结构分析中(如航空、航天、机械、土木结构等领域)必不可少的数值计算工具,同时也是分析连续力学各类问题的一种重要手段.随着计算机技术的普及和不断提高,CAE系统的功能和计算精度都有很大提高,各种基于产品数字建模的CAE系统应运而生,并已成为结构分析和结构优化的重要工具,同时也是计算机辅助4C系统(CAD/CAE/CAPP/CAM)的重要环节.CAE系统的核心思想是结构的离散化,即将实际结构离散为有限数目的规则单元组合体,实际结构的物理性能可以通过对离散体进行分析,得出满足工程精度的近似结果来替代对实际结构的分析,这样可以解决很多实际工程需要解决而理论分析又无法解决的复杂问题.其基本过程是将一个形状复杂的连续体的求解区域分解为有限的形状简单的子区域,通过将连续体离散化把求解连续体的场变量(应力、位移、压力、温度等)问题简化为求解有限的单元节点上的场变量,求解后得到近似的数值解,其近似程度取决于所采用的单元类型、数量以及对单元的插值函数. ANSYS软件是融合结构、流体、电场、磁场、声场分析于一体的大型通用有限元分析软件.由世界上最大的有限元分析软件公司之一的美国ANSYS开发.作为一个大型的CAE分析软件,ANSYS软件自20世纪70年代诞生以来,随着计算机和有限元理论的发展,在各个领域得到了高度的评价和广泛的应用[1].ANSYS软件能与多数CAD软件接口实现数据的共享和交换,是现代产品设计中的高级CAE 工具之一.借助ANSYS分析软件技术确保产品设计的合理性、减少设计成本、缩短设计和分析的循环周期,在很大程度上替代了传统设计中资源消耗极大的“物理样机验证设计”过程,从而预测出产品在整个生命周期内的可靠性.通过ANSYS分析可在产品制造或工程施工前预先发现潜在的问题并及时地进行设计修复;也可以对机械事故进行分析和论证,查找出事故原因.液压配流机构主要由以下几部分组成:转轴组件、转动套组件、橡胶体、滑环等.根据实际的产品模型通过Solid Works软件进行三维建模,其中橡胶体尺寸为3.5mm×3.5mm,滑环尺寸为3.8mm× 2.5mm,如图1所示.模型中弹性元件材料为丁腈橡胶,滑环材料为聚四氟乙烯,转轴组件和转动套组件材料为45钢. 2.1 橡胶材料的分析概述橡胶密封件的密封计算涉及到固体力学、摩擦学、高分子材料学以及计算方法等方面的理论知识,因此要对其进行精确研究在理论上存在困难.该研究所涉及的几何非线性、橡胶体超弹材料非线性、边界(状态)非线性知识和进行的一些相关假设均参照前人所开展的研究[2-4].密封圈依靠弹性体材料的弹性在初始装配过盈量或预加载荷的作用下实现自密封.首先建立几何简化模型,其中金属材料模型采用线性材料模型,橡胶材料模型则采用Mooney-Rivlin模型,根据经验公式得出Mooney-Rivlin模型材料的参数C10,C01,d值.然后确定初始时密封圈的压缩量,划分网格,选取目标面和接触面,添加约束载荷,最终求解.2.2 材料本构模型45钢是典型的工程用钢,与橡胶以及聚四氟乙烯等材料相比可以看作一个刚体.在整个分析过程中刚性体始终在其线性范围内,金属材料既没有发生屈服变形也没有产生断裂情况,所以金属材料的本构关系为线性状态,其参数主要为:弹性模量E= 200 GPa,泊松比ν=0.304.对于柔性体来说,其材料分别为丁腈橡胶和聚四氟乙烯,由于橡胶本构关系的非线性化,以及橡胶制品在应用时的大变形、接触非线性边界条件使其工程模拟变得非常困难.模拟的准确性与采用的本构关系模型以及模型中材料常数的准确性有密切关系.所以该次分析以橡胶中常用的Mooney-Rivlin模型作为橡胶的本构模型.根据工况,聚四乙烯氟材料在使用中始终处于线性范围内,所以输入其弹性模量(1.2 GPa)以及泊松比(0.241)[5].材料参数的确定:Mooney-Rivlin模型是专门针对非线性弹性体建立的,其广泛应用于各种分析软件中,该模型能很好地描述橡胶材料的力学行为及特性.通过以往积累的工作经验得知Mooney-Rivlin模型中材料常数与材料弹性模量以及橡胶的硬度有一定的关系,通过以往的经验公式:E=(15.75+2.15Ha)/(100-Ha),C10=E/6,C01= 0.25C10(其中Ha为橡胶材料的硬度),计算得出Mooney-Rivlin模型中丁腈橡胶常数如下:C10= 1.251 6,C01=0.312 9,d=0,然后输入程序中.由于机构的建模是三维模型,所以在ANSYS中选取SOLID186单元体并进行网格划分,通过网格划分把实体模型分解成若干个实体单元,通过对每个单元进行材料属性的赋予,便可在计算机中模拟出真实的实物.如图2所示.根据有限元的分析原则,刚性面总是目标面,柔性面总是接触面[6],定义分析模型的3组接触面组,分别是转动套-橡胶体、滑环-橡胶体、滑环-转轴.根据实际工况定义3组载荷,油压分别为2,10,28 MPa.矩形橡胶圈的压缩量取20%,该次分析为静密封分析,暂不考虑旋转速率的影响.分析完成后查看密封圈的Von Mises应力云图,并获取相应压力状态下密封圈的最大位移量.图3~5中颜色越红表示数值越大,颜色越蓝表示数值越小,应力云图表示在受到载荷情况下物体的应力分布情况.根据3组不同压力情况下的分析结果,统计矩形密封圈所受的最大Von Mises应力以及密封圈的最大位移量,如1表所示.(1)通过计算得出了矩型密封圈的Von Mises应力云图以及位移变化.根据应力云图可以得知密封圈的最大应力以及受力部位,这样可以预判密封圈是否能满足设计要求,同时对于相对危险的区域应进行增强从而保证其使用安全性;通过位移参数(2)对比3种油压情况,可见随着油压的升高,密封圈内部最大Von Mises 应力也随之升高,密封圈的位移量也增大,且增大的幅度随压力增大而递增.则可知密封圈在凹槽内空间的移动情况,据此对密封圈的外形及尺寸设计进行判断和优化.(3)矩形密封圈的密封面较大,且随着油压的升高密封面的变形较小,密封效果较好.(4)该文可为实际生产中矩形密封圈的设计和使用提供依据和参考,并且为密封圈的进一步优化设计提供理论基础.【相关文献】[1]魏旭东.机械CAD/CAM的发展趋势探究[J].装备制造技术,2011(5):95-96.[2]谭晶,杨卫民,丁玉梅,等.矩型橡胶密封圈的有限元分析[J].润滑与密封,2007,32(2):37-39.[3]王伟,赵树高.橡胶O型密封圈的非线性有限元分析[J].润滑与密封,2005(4):106-107.[4]叶珍霞,叶利民,朱海潮.密封结构中超弹性接触问题的有限元分析[J].海军工程大学学报,2005,17(1):110-112.[5]黄建龙,解广娟,刘正伟.基于Moon-Rivlin模型和Yeoh模型的超弹性橡胶材料有限元分析[J].橡胶工业,2008,55(8):467-469.[6]殷闻,靳晓雄,仝光.两种常用橡胶本构模型的有限元分析及其仿真[J].上海电机学院学报,2010,13(4):216-218.。