风险评估培训记录
- 格式:docx
- 大小:7.09 KB
- 文档页数:2
各科室安全风险分级管控培训学习记录在各科室安全风险分级管控培训学习中,我了解到了以下内容:1.安全风险的概念和分类:安全风险是指对人员、设备、环境和财产造成潜在威胁的各种因素。
根据其影响程度和可能性,可以将安全风险分为低、中、高三个级别。
2.风险评估和分级:风险评估是指通过对潜在风险的分析和评估,对风险进行分类和排序的过程。
评估方法包括定量评估和定性评估。
根据评估结果,将风险进行分级,可以采取相应的控制措施。
3.管控措施的选择和实施:在确定风险分级后,需要选择合适的管控措施来降低风险。
常见的管控措施包括:工艺控制、工程控制、行政控制和个体防护。
各科室应该结合自身的特点和实际情况,选择适合的管控措施。
4.管控措施的监督和改进:对已经落实的管控措施,需要进行监督和检查,确保其可行性和有效性。
同时,根据实际效果,及时对管控措施进行改进和完善,提高安全风险的管控水平。
5.事故案例分析和借鉴经验:通过对历史事故案例的分析,可以深入了解安全风险的产生原因和其对科室的影响,从中吸取经验教训,避免类似事故的再次发生。
6.员工安全意识和培训:员工的安全意识是科室安全的基石。
在培训中,需要加强对员工安全意识的培养,让员工意识到安全对科室和个人的重要性,以便能够积极参与到安全风险分级管控中。
7.安全责任的强化和落实:每个科室都应该明确安全责任的划分和分工,明确各个岗位的安全责任。
通过定期巡检和评估,对责任的履行情况进行检查,确保责任的落实。
通过这次培训,我对各科室安全风险分级管控的思维方式和方法有了更清晰的认识。
在以后的工作中,我将会加强对安全风险的评估,制定相应的管控措施,并加强对员工的培训和意识提升,以确保科室的安全运行。
危险源辨识和风险评估培训记录危险源辨识和风险评估是一项非常重要的工作,可以帮助组织有效地识别潜在的危险和风险,并采取相应的措施来控制和减少它们的影响。
为了提高员工对危险源辨识和风险评估的认识和能力,我们进行了一次培训。
以下是培训记录的详细内容。
日期:XXXX年XX月XX日地点:XXXXX大厦会议室培训主题:危险源辨识和风险评估出席人员:1.培训师:XXX2.参训员工:共计XX人培训内容:1.介绍危险源辨识和风险评估的定义和重要性。
2.解释危险源的分类和常见的危险源。
3.介绍危险源辨识的方法和步骤,包括巡视、观察、调查等。
4.解释风险评估的概念和模型,包括风险矩阵、风险计算等。
5.强调风险评估的意义和目的,即识别风险并采取相应的控制措施。
6.分享一些实际案例,让员工了解危险源辨识和风险评估在实践中的应用。
培训方法:1.理论讲解:培训师通过PPT演示和图表解释的方式介绍概念和步骤。
2.案例分析:培训师通过具体案例讲解,加深员工对危险源辨识和风险评估的理解和应用能力。
3.小组讨论:将员工分为小组,让他们在讨论中分享自己的观点和经验。
培训成果:1.员工对危险源辨识和风险评估有了更深入的理解,知道如何识别潜在危险源并进行风险评估。
2.员工学会了使用风险矩阵和其他计算模型来评估风险的大小和严重程度。
3.员工了解了如何制定和实施相应的控制措施,以减少潜在危险和风险的影响。
4.员工学会了关注安全问题,并积极参与和报告可能存在的危险源。
培训反馈:1.参训员工对培训内容表示满意,并认为从中受益匪浅。
2.员工提出了一些问题和困惑,培训师进行了解答和澄清。
3.员工对培训师的讲解和案例分析给予了肯定和赞赏。
结论:通过这次危险源辨识和风险评估的培训,员工的安全意识和能力得到了进一步提升。
我们相信,员工掌握了相关的知识和技能,将能够更好地识别和评估潜在的危险和风险,并采取适当的措施来减少潜在影响。
我们将继续加强对危险源辨识和风险评估的培训和宣传,以保障员工的安全和组织的可持续发展。
第1篇会议时间:2023年4月10日上午9:00-12:00会议地点:公司会议室参会人员:张总(总经理)、李经理(风险管理部经理)、王博士(风险评估专家)、赵工(技术部工程师)、刘会计(财务部)、陈法务(法务部)、各部门负责人及关键岗位人员主持人:李经理记录人:张秘书---一、会议议程1. 李经理开场致辞,介绍本次研修班的目的和意义。
2. 王博士讲解重大风险识别与评估方法。
3. 赵工分享技术风险防范措施及实践经验。
4. 刘会计介绍财务风险控制策略。
5. 陈法务讲解法律风险防范及应对措施。
6. 各部门负责人及关键岗位人员讨论和交流。
7. 张总总结发言,部署下一步工作。
---二、会议内容(一)李经理开场致辞李经理首先对各位参会人员的到来表示欢迎,并强调了本次研修班的重要性。
他指出,随着公司业务的快速发展,各类风险也在不断增加,因此加强风险管理工作显得尤为重要。
本次研修班旨在提高全员风险意识,提升风险识别、评估和应对能力,为公司稳健发展保驾护航。
(二)王博士讲解重大风险识别与评估方法王博士从理论层面详细讲解了重大风险的识别与评估方法,包括风险识别的步骤、风险评估的指标体系、风险评估的方法等。
他还结合实际案例,分析了如何在实际工作中运用这些方法进行风险识别和评估。
(三)赵工分享技术风险防范措施及实践经验赵工结合公司实际情况,分享了技术风险防范措施及实践经验。
他强调,技术风险防范应从以下几个方面入手:1. 加强技术研发,提高产品竞争力;2. 严格技术审核,确保项目质量;3. 加强技术培训,提高员工技术水平;4. 建立技术风险预警机制,及时发现和应对风险。
(四)刘会计介绍财务风险控制策略刘会计针对财务风险控制策略进行了详细介绍,包括:1. 加强预算管理,严格控制成本;2. 优化资金结构,降低财务风险;3. 加强财务信息披露,提高财务透明度;4. 建立财务风险预警机制,及时发现和应对风险。
(五)陈法务讲解法律风险防范及应对措施陈法务从法律角度讲解了法律风险防范及应对措施,包括:1. 加强法律法规学习,提高法律意识;2. 严格执行合同管理制度,降低合同风险;3. 加强知识产权保护,维护公司合法权益;4. 建立法律风险预警机制,及时发现和应对风险。
食品安全风险评估培训记录培训日期:2023年4月10日培训地点:XXX公司培训室培训讲师:XXX(食品安全专家)参与人员:XXX、XXX、XXX、XXX、XXX 培训内容:第一部分:食品安全风险评估的基本概念1. 食品安全风险的定义与分类2. 食品安全风险评估的意义与目的3. 食品安全风险评估的基本流程第二部分:食品安全风险评估的方法与技术1. 危害识别2. 危害量化3. 暴露评估4. 风险 characterization第三部分:食品安全风险评估的应用案例1. 食品添加剂的安全性评估2. 食品接触材料的安全性评估3. 食品中微生物污染的评估第四部分:食品安全风险评估的法规与标准1. 国家食品安全风险评估标准2. 国际食品安全风险评估标准3. 企业食品安全风险评估标准培训反馈:参与人员反馈:1. XXX:本次培训让我对食品安全风险评估有了更深入的了解,尤其是危害识别和危害量化的方法。
希望以后能有一些实际操作的机会。
2. XXX:通过本次培训,我明白了食品安全风险评估的重要性,对我们企业来说,这是一项不可或缺的工作。
3. XXX:培训内容很实用,希望能定期举办类似的培训,提高我们的专业素养。
讲师反馈:1. XXX:本次培训的目的就是让大家了解食品安全风险评估的基本概念、方法和技术,以及如何在实际工作中应用。
希望大家能将所学知识运用到实际工作中,为企业食品安全做出贡献。
2. XXX:大家在培训过程中积极参与,互动良好,取得了较好的培训效果。
今后,我们会根据大家的反馈,持续优化培训内容和方式。
培训总结:本次食品安全风险评估培训旨在提高公司员工对食品安全风险评估的认识和能力,通过理论讲解和案例分析,使员工掌握食品安全风险评估的基本概念、方法和技术,以及如何在实际工作中应用。
通过培训,员工对食品安全风险评估有了更深入的了解,为公司的食品安全工作奠定了基础。
员工培训记录一、教学目标职工能够很好地履行岗位职责,促进煤矿安全培训工作不断完善和提高。
二、课时安排培训时间:11月18日培训地点:队部培训人: XXXX备注:三、授课内容管路维修工岗位危险源辨识、风险评估及防范措施1、管路老化、锈蚀,可能造成管路爆裂、高压风、水伤人;防范措施:经常巡检、及时更换。
2、检修时没有关闭上级阀门,可能造成阀门或设备被误开启伤人;防范措施:停机、停液时挂好牌,提醒其它人员。
管路检修完成后,仔细检查一遍接头处U型卡安装是否规范,符合标准。
3、掐管路时不卸压,可能造成造成风水喷射出,击伤人员;防范措施:掐管路时先卸压。
4、特定、重要地点没有安装压力表或压力表失灵,可能造成不能观察压力状况、造成管路挤破或欠压;防范措施:安装压力表或及时更换、修理。
5、拆卸螺丝时,扳手没有卡牢螺栓,可能造成人员滑倒碰伤;防范措施:拆卸螺栓时,扳手卡紧,人员站稳,正向缓慢加压。
6、使用倒链作业时,没有找好吊点,可能造成吊挂不牢固、掉落砸人;防范措施:检查导链可靠性、找准吊点。
7、用导链起吊重物时捆绑不牢,可能造成重物掉落伤人;防范措施:重物吊挂牢固。
8、使用法兰盘连接管路手指插入两个法兰盘间,可能造成管子错动挤手;防范措施:严禁手指插入两个法兰盘间隙及螺丝眼。
防突预测工岗位危险源辨识、风险评估及防范措施1、不认真执行敲帮问顶制度,可能造成顶帮掉矸伤人;防范措施:执行好敲帮问顶制度,确保作业环境安全。
必须严格执行敲帮问顶制度,掘进工作面进行预测前作业队将工作面安全防护到位;预测中密切观察巷道顶板状况,发现顶板掉渣、压力增大等有片帮、冒顶危险时,立即停止作业,人员撤出危险区,并专人处理后方可作业。
2、打眼过程中瓦斯增大,可能造成瓦斯超限作业引起爆炸;防范措施:发现煤层内有连续小煤炮声响或有大量瓦斯涌出时,严禁打眼作业。
工作面风流中瓦斯达到1%时,严禁打眼作业。
3、打眼透水、透老空,可能造成造成事故伤人;防范措施:认真学习规程,了解施工巷道的用途及水文地质情况,并熟知透水预兆,掌握打眼过程中的变化,遇透水或透老空征兆时立即停止打眼。
网络风险防范培训记录一、培训概述本次培训主要围绕网络风险的识别、评估与防范展开,旨在提高员工对网络风险的认识,增强网络安全意识,提升企业整体网络安全防护能力。
培训讲师具备丰富的网络安全实战经验,通过理论讲解与案例分析相结合的方式,使员工能够深入了解网络风险,并掌握相应的防范措施。
二、培训内容1. 网络风险识别- 培训内容:介绍了网络风险的常见类型,包括数据泄露、病毒木马、网络钓鱼、DDoS攻击等,并分析了这些风险的产生原因及可能造成的后果。
- 培训方式:通过PPT讲解,结合实际案例进行分析。
2. 网络风险评估- 培训内容:讲解了网络风险评估的方法和流程,包括风险识别、风险分析、风险评价和风险处理等环节。
- 培训方式:采用互动式教学,让学员参与实际的风险评估演练。
3. 网络风险防范策略- 培训内容:介绍了多种网络风险防范策略,包括技术手段、管理措施和法律法规等,并分析了各种策略的优缺点。
- 培训方式:结合实际案例,讲解防范策略的应用方法和注意事项。
4. 网络安全防护实践- 培训内容:讲解了网络安全防护的实际操作,包括系统安全设置、防火墙配置、入侵检测系统使用等。
- 培训方式:动手实践,让学员在虚拟环境中进行网络安全防护操作。
三、培训效果评估为了确保培训效果,我们对参训员工进行了培训效果评估。
评估结果显示,员工对网络风险的认识得到了显著提高,大部分员工能够熟练掌握网络风险防范策略。
此外,员工在网络安全防护实践环节的表现也相当出色。
总体来说,本次培训达到了预期效果。
四、培训总结本次网络风险防范培训旨在提高员工对网络风险的认识,提升网络安全防护能力。
通过理论讲解与案例分析相结合的方式,员工对网络风险有了更深入的了解,并掌握了相应的防范措施。
在今后的工作中,我们将继续加强网络安全培训,提高企业整体网络安全防护水平。
检验科生物安全培训内容及记录一、培训背景近年来,随着实验室生物安全问题的日益凸显,我国对实验室生物安全的管理越来越重视。
为了提高检验科工作人员的生物安全意识,加强实验室生物安全管理,确保实验室工作的安全、准确、高效,我院检验科于2023年5月18日下午开展了生物安全专题知识培训及突发应急演练活动。
二、培训内容1. 生物安全实验室设施设备本次培训首先讲解了生物安全实验室的设施设备,包括生物安全柜、防护服、手套、护目镜等防护用品的使用方法及注意事项。
同时,强调了实验室通风、消毒、废弃物处理等设施设备的重要性。
2. 实验室风险评估与风险控制培训中,检验科主任师源婕详细介绍了实验室风险评估的方法和流程,如何识别、评价和控制实验室生物安全风险。
同时,她还列举了实际工作中可能遇到的风险案例,分析了风险产生的原因及预防措施。
3. 病原实验室规范化操作师源婕主任对病原实验室规范化操作进行了详细讲解,包括实验室准入、实验操作流程、实验室废弃物处理等。
她强调,规范化操作是确保实验室生物安全的基础,也是提高实验质量的关键。
4. 实验室生物安全事件应急处置培训中,师源婕主任结合实际案例,讲解了实验室生物安全事件的应急处置流程,包括事故报告、现场处置、人员防护、污染源控制等。
她要求,实验室工作人员在遇到生物安全事件时,要迅速启动应急处理程序,确保人员和环境安全。
5. 职业暴露处置流程针对实验室工作人员可能遇到的职业暴露问题,师源婕主任讲解了职业暴露处置流程,包括伤害处理、紧急处置、随访观察等。
她强调,职业暴露的处理不仅关系到个人健康,也关系到实验室的安全运行。
三、培训记录1. 培训时间:2023年5月18日下午2. 培训地点:检验科会议室3. 培训讲师:检验科主任师源婕4. 培训对象:检验科全体人员5. 培训内容:生物安全实验室设施设备、实验室风险评估与风险控制、病原实验室规范化操作、实验室生物安全事件应急处置、职业暴露处置流程等。
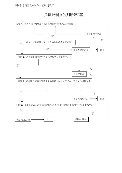
关键控制点的判断流程图否是是否否是是是否是否问题1:该步骤是否对确定的危害性(质量或安全)有控制措施 对安全性和质量来说,该点的控制措施是否必要?修改工艺或产品问题2:是否该步骤可以将可能风险减至可接受程序? 不是关键控制点停止关键控制点 问题3:该步骤造成的污染或质量影响是否超出可接受水平或增至不可接受水不是关键控制点 停止 问题3:该步骤造成的污染或质量影响是否超出可接受水平或增至不可接受水平? 不是关键控制关键控制点 停止关键控制点分析控制小组组成关键控制点分析控制小组成员资历要求及职责姓名 小组内职务岗位/职务学历及相关工作经验 风险控制管理体系中的职责马义军 组长 品质部主管1. 大专学历;2. 从事塑胶生产行业质量和技术5年工作经验;3. 参加过风险识别和控制的相关的培训;具备相应资质1. 负责组织风险控制点的识别和管理和限值确定包括条件变化必要时的重新的识别和控制方法的制定;2. 负责关键控制点的监控落实情况的检查和监督;3. 负责对相关关键控制点检验、监控人员的培训;4. 负责识别外部环境变化时重新进行风险识别的必要性;5. 负责有关关键风险控制点产生偏离时的纠正和预防措施的批准和落实情况的检查和监控。
6. 负责组织有关风险控制情况的内部的检查;7. 负责风险控制点相关的内部外部的沟通和客户反馈的处理杨开军 组员 生产部主管1. 高中学历;2. 从事塑胶生产的管理相关工作10年;3. 参加过风险识别和控制的相关的培训;1.在组长的安排和组织下,参与风险的识别和评估;2.负责日常关键风险点的监控情况的检查监督;3.负责关键风险点偏离时的纠正措施的制定和落实检查;4.参与风险控制的检查和评估;5.负责客户反馈有关的处理的落实;6.负责相关人员的培训管理。
赖贵义组员 工程样板主管1. 高中学历;2. 从事塑胶的打样和检验的工作8年;3. 参加过风险识别和控制的相关的培训1.在组长的安排和组织下,参与风险的识别和评估;2.负责日常关键风险点的监控情况的检查监督;3.负责关键风险点偏离时的纠正措施的制定和落实检查;4.参与风险控制的检查和评估;5.落实控制点的相关的控制蔡伟组员 业务 1 .大学学历2 . 参加过相关塑胶类的业务培训,参加过风险识别和控制的相关的培训在组长的安排和组织下,参与风险的识别和评估, 参与风险控制的检查和评估;落实控制点的相关的控制生产工艺流程图 1.原辅料采购2.进料检验3.注塑4.检验5.喷油6.检验7.装配8.检验9. 包装10.检验11. 入库风险识别和判定记录生产工序/生产过程 可能产生的危害来源 严重性 评价依据 预防和控制方法 是否关键控制点原辅料采购和进料检验 物理:划伤、缺损、性能不符合等是 原辅料容易发生此类问题,直接影响产品质量进厂检验,第三方的检测报告是 化学:毒害物质 是 直接影响产品使用安全 第三方检测报告 是 生物:材料霉变或有害虫尸体否 可以直观看到,后续还要求加工进厂检验可以直观看到 否原材料储存 物理:杂质混入、损坏 否 灯、墙壁、顶棚定期检查清扫,产品用废布覆盖产品离地、离墙堆放,严格按规定对墙壁、顶棚和设备定期检查、清扫。
危险源辨识和风险评估培训记录HEN system office room 【HEN16H-HENS2AHENS8Q8-HENH1688】员工培训记录一、教学目标二、课时安排培训时间: 11月18日培训地点:队部培训人: XXXX备注:三、授课内容管路维修工岗位危险源辨识、风险评估及防范措施1、管路老化、锈蚀,可能造成管路爆裂、高压风、水伤人;防范措施:经常巡检、及时更换。
2、检修时没有关闭上级阀门,可能造成阀门或设备被误开启伤人;防范措施:停机、停液时挂好牌,提醒其它人员。
管路检修完成后,仔细检查一遍接头处U型卡安装是否规范,符合标准。
3、掐管路时不卸压,可能造成造成风水喷射出,击伤人员;防范措施:掐管路时先卸压。
4、特定、重要地点没有安装压力表或压力表失灵,可能造成不能观察压力状况、造成管路挤破或欠压;防范措施:安装压力表或及时更换、修理。
5、拆卸螺丝时,扳手没有卡牢螺栓,可能造成人员滑倒碰伤;防范措施:拆卸螺栓时,扳手卡紧,人员站稳,正向缓慢加压。
6、使用倒链作业时,没有找好吊点,可能造成吊挂不牢固、掉落砸人;防范措施:检查导链可靠性、找准吊点。
7、用导链起吊重物时捆绑不牢,可能造成重物掉落伤人;防范措施:重物吊挂牢固。
8、使用法兰盘连接管路手指插入两个法兰盘间,可能造成管子错动挤手;防范措施:严禁手指插入两个法兰盘间隙及螺丝眼。
防突预测工岗位危险源辨识、风险评估及防范措施1、不认真执行敲帮问顶制度,可能造成顶帮掉矸伤人;防范措施:执行好敲帮问顶制度,确保作业环境安全。
必须严格执行敲帮问顶制度,掘进工作面进行预测前作业队将工作面安全防护到位;预测中密切观察巷道顶板状况,发现顶板掉渣、压力增大等有片帮、冒顶危险时,立即停止作业,人员撤出危险区,并专人处理后方可作业。
2、打眼过程中瓦斯增大,可能造成瓦斯超限作业引起爆炸;防范措施:发现煤层内有连续小煤炮声响或有大量瓦斯涌出时,严禁打眼作业。
工作面风流中瓦斯达到1%时,严禁打眼作业。
全员安全风险评估培训记录
日期:[填写日期]
地点:[填写地点]
培训目标
本次培训的主要目标是提高全员对安全风险评估的知识和技能,并帮助他们能够主动识别和应对潜在的安全风险。
培训内容
1. 安全风险评估的概念和重要性
- 什么是安全风险评估?
- 为什么安全风险评估对我们的组织至关重要?
2. 安全风险评估的步骤和方法
- 识别潜在的安全风险
- 评估安全风险的可能性和影响
- 制定和实施相应的安全对策
3. 安全风险评估案例分析
- 通过具体案例分析,让全员能够理解和应用安全风险评估的方法和技巧。
4. 提高安全意识和建立安全文化
- 如何培养全员的安全意识?
- 如何建立一个积极的安全文化?
培训成果
通过本次培训,全员将能够:
- 理解安全风险评估的概念和重要性
- 掌握安全风险评估的步骤和方法
- 运用安全风险评估的技巧识别和应对潜在的安全风险
- 提高安全意识并积极参与建立安全文化
参与人员
- [填写参与人员名单]
培训评估
- 通过培训后的问卷调查和反馈收集全员的意见和建议,以便改进未来的培训计划。
结束语
感谢大家的参与和支持,希望通过本次培训,能够加强全员的安全意识,降低潜在的安全风险,并为组织的安全发展做出积极的贡献。
如有任何疑问或建议,请随时与我们联系。
谢谢!。
消防安全培训记录一培训时间:2024年1月5日培训地点:XX加油站培训对象:加油站员工培训内容:消防知识、消防器材使用、火灾逃生参与人员:全体加油站员工培训记录:1.培训开篇,介绍火灾在加油站可能引发的危害以及必要性;2.通过幻灯片展示火灾事故案例,引起员工对火灾安全的重视;3.讲解加油站内各种火灾源,如汽车点火、静电电火花等,以及相应的防范措施;4.介绍加油站内各种消防器材的名称、基本用途和正确使用方法;5.模拟火灾现场,对员工进行灭火器灭火的实操演练;6.强调灭火器的常规检查和维护,教授如何正确使用灭火器;7.详细讲解紧急逃生的步骤和注意事项,包括急救罐的位置和使用方法;8.回答员工提出的问题,进行互动交流;9.提醒员工平时要保持工作区域整洁,避免引发火灾。
消防安全培训记录二培训时间:2024年2月10日培训地点:XX加油站培训对象:加油站员工培训内容:火灾风险评估、火灾预防措施、消防演练参与人员:全体加油站员工培训记录:1.培训开始,介绍火灾风险评估的目的和意义,强调消防安全的重要性;2.通过实例分析本加油站可能发生的火灾风险,并针对性地提出相应的预防措施;3.讲解加油站内各类消防设施的设置原则和使用方法,包括消防栓、喷淋系统、烟雾探测器等;4.模拟火灾现场,组织员工进行应急疏散演练,强调每个岗位的责任和逃生通道的使用;5.演练后进行总结,指出存在的问题并提出改进意见;6.通过图片和视频介绍其他加油站的火灾事故,引起员工对安全的重视;7.强调员工的个人防火意识和安全意识,提醒注意火灾隐患并及时清理;8.鼓励员工积极参与消防安全交流活动,共同学习和提高。
消防安全培训记录三培训时间:2024年4月15日培训地点:XX加油站培训对象:加油站员工培训内容:火灾应急预案、安全检查、火灾案例分析参与人员:全体加油站员工培训记录:1.介绍加油站的火灾应急预案的编制和实施,包括报警流程、应急疏散等;2.梳理加油站的安全通道和疏散通道,要求员工清晰了解和掌握;3.详细讲解各类火灾报警器的使用方法和注意事项,并进行实操演练;4.分组进行加油站的安全检查,查找存在的隐患,并及时整改;5.通过分析火灾事故案例,总结引起事故的原因和教训;6.鼓励员工主动参与消防安全工作,提出自己的改进建议;7.强调员工的消防安全责任,不得擅自更改或堵塞消防设施。
医疗风险教育培训记录
培训目的
本次医疗风险教育培训的目的是提高医务人员对于医疗风险认知的水平,加强医疗风险评估能力,并传授控制和预防医疗风险的方法和措施,促进医务人员安全、科学、规范地开展工作。
培训内容
1. 医疗风险的定义和分类
授课教师介绍了医疗风险的概念和组成要素,并通过具体案例向医务人员展示了医疗风险的分类和常见类型。
2. 医疗风险评估方法
教师介绍了常见的医疗风险评估方法及其使用,如:事件树分析、失效模式与效应分析、风险矩阵法等,以此提高医务人员对医疗风险评估的理解和掌握能力。
3. 医疗风险控制和预防措施
授课教师结合实际医疗场景,介绍了医疗风险控制和预防的相关措施,如:流程管控、风险评估、培训促进、全员参与、持续改进等,以此增强医务人员的控制和预防意识。
培训效果
本次培训通过理论授课和实际案例展示,有效提高了医务人员对医疗风险的认知和理解水平,培养了医务人员的风险评估、控制和预防意识,有利于促进医务人员安全、规范、科学地开展工作,从而提高医疗服务质量。
安全风险辨识记录在进行安全风险辨识工作时,应该遵循科学、全面、客观的原则,从各种可能的风险源和风险事件中辨识出可能对组织造成危害的风险,并对其进行评估和处理。
以下是对安全风险辨识过程中的记录,共计超过1200字:1.风险源辨识记录:风险源:公司的服务器和网络设备操作描述:对公司内网进行扫描,发现部分服务器和网络设备存在未及时更新的漏洞补丁。
风险描述:未及时更新漏洞补丁可能导致黑客利用该漏洞入侵公司服务器,获取重要信息或破坏系统正常运行。
风险等级:高影响范围:公司整个内网受影响资产:服务器和网络设备风险控制措施:及时升级漏洞补丁,加强网络设备防火墙设置,限制外部访问。
风险源:员工使用的移动存储设备操作描述:对员工使用的移动存储设备进行监测,发现有员工将公司重要文档复制到个人U盘中。
风险描述:员工将公司重要文档复制到个人U盘中可能导致数据泄露,泄露后的文档可能被用于违法活动。
影响范围:公司重要文档受影响资产:移动存储设备中的文档风险控制措施:加强员工宣传教育,限制员工使用移动存储设备的权限,加密公司重要文档。
2.风险事件辨识记录:风险事件:电力中断事件描述:公司位于老旧区域,电力供应不稳定,经常发生电力中断事故。
风险描述:电力中断可能导致公司所有部门的电脑和设备都无法正常使用,造成业务中断和工作效率下降。
风险等级:高影响范围:全公司受影响资产:电脑和设备风险控制措施:备用电源及时投入使用,对关键设备进行UPS供电,制定应急预案。
风险事件:火灾事件描述:公司位于高层写字楼,周边有多家餐厅,易发生火灾。
风险描述:火灾可能导致公司楼层无法逃生,造成人员伤亡和财产损失。
影响范围:公司整个楼层受影响资产:人员和财产风险控制措施:加强消防设施和消防培训,定期进行防火检查,组织灭火演练。
3.风险评估记录:风险源:公司内部员工风险描述:员工可能利用公司权限非法获取、修改、销毁公司重要信息,或泄漏商业机密。
影响范围:全公司受影响资产:公司重要信息和商业机密风险评估:中风险控制措施:严格权限管理,对员工进行教育宣传,加强内部监督和审计。
危险源辨识与风险控制培训记录小结下载提示:该文档是本店铺精心编制而成的,希望大家下载后,能够帮助大家解决实际问题。
文档下载后可定制修改,请根据实际需要进行调整和使用,谢谢!本店铺为大家提供各种类型的实用资料,如教育随笔、日记赏析、句子摘抄、古诗大全、经典美文、话题作文、工作总结、词语解析、文案摘录、其他资料等等,想了解不同资料格式和写法,敬请关注!Download tips: This document is carefully compiled by this editor. I hope that after you download it, it can help you solve practical problems. The document can be customized and modified after downloading, please adjust and use it according to actual needs, thank you! In addition, this shop provides you with various types of practical materials, such as educational essays, diary appreciation, sentence excerpts, ancient poems, classic articles, topic composition, work summary, word parsing, copy excerpts, other materials and so on, want to know different data formats and writing methods, please pay attention!一、引言危险源辨识与风险控制是保障工作场所安全的重要措施,它涉及到各个行业和领域。
会议记录的风险评估与应对措施一、前言会议记录是会议进行过程中产生的重要信息载体,它记录了会议的主要内容和决策结果,对于会议的管理和沟通起着重要作用。
然而,在会议记录的制作过程中存在着一定的风险,包括信息遗漏、失实陈述、不当处理等问题,这些问题可能会导致会议记录的不准确和不完整,从而影响到会议的效果和结果。
因此,对会议记录的风险进行评估,并采取相应的应对措施,对于保证会议记录的质量和可靠性至关重要。
二、风险评估1. 信息遗漏风险会议进行过程中可能会有大量的信息产生,而记录员可能会因为遗漏、失误等原因而漏掉一些重要信息。
这种风险可能会导致会议记录的不完整,从而影响到后续的工作。
2. 失实陈述风险记录员可能会出于个人原因而在会议记录中做出一些失实或夸大的陈述,这种情况可能会误导会议参与者,从而影响到会议的效果和结果。
3. 不当处理风险记录员可能会在记录过程中采取不当的处理方式,包括删改、修改等行为,这些行为可能会导致会议记录的不真实和不可靠。
三、应对措施1. 风险评估在会议开始之前,应对会议记录的风险进行评估,包括信息遗漏风险、失实陈述风险和不当处理风险等。
评估的结果应当记录下来,并交给相关责任人进行处理。
2. 定制规范根据会议记录的风险评估结果,制定相应的会议记录规范,明确会议记录的内容和格式要求,规范会议记录的制作过程和要求记录员严格按照规范进行操作。
3. 培训措施对记录员进行系统的培训,包括会议记录的制作要求、信息采集和整理方法、处理风险的措施等,提高记录员的专业水平和责任意识。
4. 监督检查设立专门的监督检查机制,对会议记录的制作过程进行监督和检查,及时发现和纠正问题,确保会议记录的质量和可靠性。
5. 审核验收在会议记录制作完成之后,应对会议记录进行审核和验收,确保会议记录的真实和准确性,及时对问题进行整改和修改。
四、总结会议记录的质量和可靠性对于会议的管理和决策至关重要,而会议记录的制作过程中存在的风险可能会影响到会议记录的质量和可靠性。