格力空调主机面板操作说明
- 格式:doc
- 大小:62.00 KB
- 文档页数:6
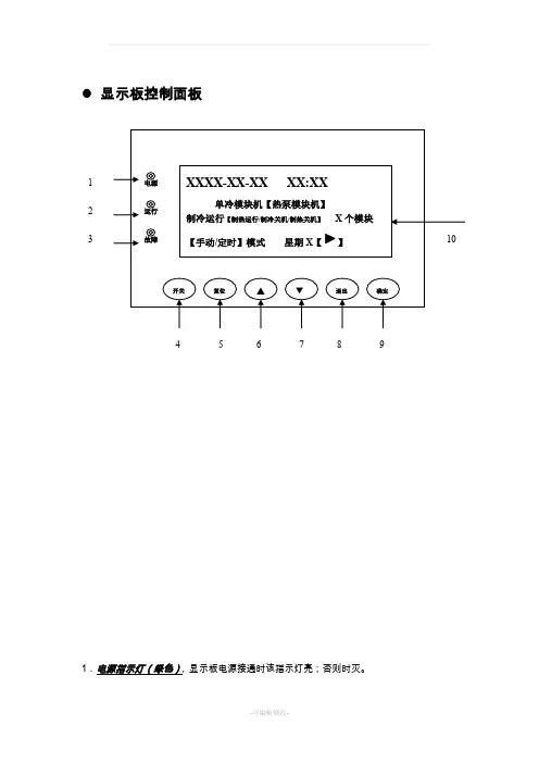
显示板控制面板1.电源指示灯(绿色), 显示板电源接通时该指示灯亮;否则时灭。
4 5 6 7 8 91 2 32.运行指示灯(绿色), 显示板开机是该指示灯亮;否则灭。
3.故障指示灯(红色), 机组故障时该指示灯亮,否则灭。
4.开/关键, 控制机组开关机切换。
关机状态下按一下(3秒)开机,开机状态下按一下(3秒)关机。
5.复位键,按此键(3秒),屏幕满屏显示,故障显示清除,系统重新检测故障。
6.向上选择键,在菜单选择中,按此键光标向上或向左移动一项;在修改数据下,按此键增加数值。
7.向下选择键,在菜单选择中,按此键光标向下或向右移动一项;在修改数据下,按此键减小数值。
8.退出键, 按下此健,返回上级菜单。
9.确定键,在菜单选择中,按此键确认选择项,进入下级菜单;在修改参数下,按此键确认参数值并转移光标。
10.液晶显示器,信息显示区域。
显示板操作说明1. 机组的开/关非调试状态下机组的开关机,可以通过手动模式,也可通过定时模式。
手动模式优先于定时模式。
在调试状态下,手动和定时模式均无效。
●手动模式:1)、手动开机:在机组关机状态下,按开/关键3秒使机组启动,此时机组运行指示灯亮,压缩机延时启动后,手动开机过程结束;2)、手动关机:在机组开机状态下,按开/关键3秒使机组关闭,此时运行指示灯熄灭。
停机后,压缩机立即停机,水泵会延时5分钟关闭。
手动关机过程结束。
●定时模式:机组上电或复位后,按手动模式进行开关机。
手动模式和定时模式的转换详见3.13启停模式设定。
在定时模式下手动和定时模式同时有效,当时间到达所设定的定时时间时,机组自动开启或关闭。
2. 默认主页菜单当控制器上电后,微电脑将做3秒钟的自动检测,显示板液晶显示器将显示如下:默认主页菜单内容随系统状态的变化而变化。
XX代表年月日小时和分钟,“【】”内的内容只显示其中的一个或不显示,分别表示系统的开关机状态、开机方式和联网模块数。
在进入菜单项后,如果10分钟内未对显示板器进行任何操作,自动回到上面的默认主页菜单(即主页)。
显示板控制面板1.电源指示灯(绿色), 显示板电源接通时该指示灯亮;否则时灭。
2.运行指示灯(绿色), 显示板开机是该指示灯亮;否则灭。
3.故障指示灯(红色), 机组故障时该指示灯亮,否则灭。
4.开/关键, 控制机组开关机切换。
关机状态下按一下(3秒)开机,开机状态下按一下(3秒)关机。
电源 运行 XXXX-XX-XX XX:XX 单冷模块机【热泵 4 5 615.复位键,按此键(3秒),屏幕满屏显示,故障显示清除,系统重新检测故障。
6.向上选择键,在菜单选择中,按此键光标向上或向左移动一项;在修改数据下,按此键增加数值。
7.向下选择键,在菜单选择中,按此键光标向下或向右移动一项;在修改数据下,按此键减小数值。
8.退出键, 按下此健,返回上级菜单。
9.确定键,在菜单选择中,按此键确认选择项,进入下级菜单;在修改参数下,按此键确认参数值并转移光标。
10.液晶显示器,信息显示区域。
显示板操作说明1. 机组的开/关非调试状态下机组的开关机,可以通过手动模式,也可通过定时模式。
手动模式优先于定时模式。
在调试状态下,手动和定时模式均无效。
●手动模式:1)、手动开机:在机组关机状态下,按开/关键3秒使机组启动,此时机组运行指示灯亮,压缩机延时启动后,手动开机过程结束;2)、手动关机:在机组开机状态下,按开/关键 3秒使机组关闭,此时运行指示灯熄灭。
停机后,压缩机立即停机,水泵会延时5分钟关闭。
手动关机过程结束。
●定时模式:机组上电或复位后,按手动模式进行开关机。
手动模式和定时模式的转换详见3.13启停模式设定。
在定时模式下手动和定时模式同时有效,当时间到达所设定的定时时间时,机组自动开启或关闭。
2. 默认主页菜单当控制器上电后,微电脑将做3秒钟的自动检测,显示板液晶显示器将显示如下:默认主页菜单内容随系统状态的变化而变化。
XX代表年月日小时和分钟,“【】”内的内容只显示其中的一个或不显示,分别表示系统的开关机状态、开机方式和联网模块数。
● 显示板控制面板1.电源指示灯(绿色), 显示板电源接通时该指示灯亮;否则时灭。
2.运行指示灯(绿色), 显示板开机是该指示灯亮;否则灭。
3.故障指示灯(红色), 机组故障时该指示灯亮,否则灭。
4.开/关键, 控制机组开关机切换。
关机状态下按一下(3秒)开机,开机状态下按一下(3秒)关机。
5.复位键,按此键(3秒),屏幕满屏显示,故障显示清除,系统重新检测故障。
6.向上选择键,在菜单选择中,按此键光标向上或向左移动一项;在修改数据下,按此键增加数值。
7.向下选择键,在菜单选择中,按此键光标向下或向右移动一项;在修改数据下,按此键减小数值。
8.退出键, 按下此健,返回上级菜单。
9.确定键,在菜单选择中,按此键确认选择项,进入下级菜单;在修改参数下,按此键确认参数值并转移光标。
10.液晶显示器,信息显示区域。
● 显示板操作说明1. 机组的开/关非调试状态下机组的开关机,可以通过手动模式,也可通过定时模式。
手动模式优先于4 5 6 7 8 9 1 2 3定时模式。
在调试状态下,手动和定时模式均无效。
●手动模式:1)、手动开机:在机组关机状态下,按开/关键3秒使机组启动,此时机组运行指示灯亮,压缩机延时启动后,手动开机过程结束;2)、手动关机:在机组开机状态下,按开/关键3秒使机组关闭,此时运行指示灯熄灭。
停机后,压缩机立即停机,水泵会延时5分钟关闭。
手动关机过程结束。
●定时模式:机组上电或复位后,按手动模式进行开关机。
手动模式和定时模式的转换详见3.13启停模式设定。
在定时模式下手动和定时模式同时有效,当时间到达所设定的定时时间时,机组自动开启或关闭。
2. 默认主页菜单当控制器上电后,微电脑将做3秒钟的自动检测,显示板液晶显示器将显示如下:默认主页菜单内容随系统状态的变化而变化。
XX代表年月日小时和分钟,“【】”内的内在进入菜单项后,如果10分钟内未对显示板器进行任何操作,自动回到上面的默认主页菜单(即主页)。
● 显示板控制面板1.电源指示灯(绿色), 显示板电源接通时该指示灯亮;否则时灭。
2.运行指示灯(绿色), 显示板开机是该指示灯亮;否则灭.3.故障指示灯(红色), 机组故障时该指示灯亮,否则灭。
4.开/关键, 控制机组开关机切换。
关机状态下按一下(3秒)开机,开机状态下按一下(3秒)关机。
5.复位键,按此键(3秒),屏幕满屏显示,故障显示清除,系统重新检测故障。
6.向上选择键,在菜单选择中,按此键光标向上或向左移动一项;在修改数据下,按此键增加数值。
7.向下选择键,在菜单选择中,按此键光标向下或向右移动一项;在修改数据下,按此键减小数值。
8.退出键, 按下此健,返回上级菜单。
9.确定键,在菜单选择中,按此键确认选择项,进入下级菜单;在修改参数下,按此键确认参数值并转移光标。
10.液晶显示器,信息显示区域。
● 显示板操作说明1。
机组的开/关非调试状态下机组的开关机,可以通过手动模式,也可通过定时模式。
手动模式优先于定4 5 6 7 8 9 1 2 3时模式。
在调试状态下,手动和定时模式均无效。
●手动模式:1)、手动开机:在机组关机状态下,按开/关键3秒使机组启动,此时机组运行指示灯亮,压缩机延时启动后,手动开机过程结束;2)、手动关机:在机组开机状态下,按开/关键3秒使机组关闭,此时运行指示灯熄灭。
停机后,压缩机立即停机,水泵会延时5分钟关闭。
手动关机过程结束.●定时模式:机组上电或复位后,按手动模式进行开关机。
手动模式和定时模式的转换详见3。
13启停模式设定.在定时模式下手动和定时模式同时有效,当时间到达所设定的定时时间时,机组自动开启或关闭。
2。
默认主页菜单当控制器上电后,微电脑将做3秒钟的自动检测,显示板液晶显示器将显示如下:默认主页菜单内容随系统状态的变化而变化。
XX代表年月日小时和分钟,“【】"内的内在进入菜单项后,如果10分钟内未对显示板器进行任何操作,自动回到上面的默认主页菜单(即主页)。
显示板控制面板1.电源指示灯(绿色), 显示板电源接通时该指示灯亮;否则时灭。
4 5 6 7 8 91 2 32.运行指示灯(绿色), 显示板开机是该指示灯亮;否则灭。
3.故障指示灯(红色), 机组故障时该指示灯亮,否则灭。
4.开/关键, 控制机组开关机切换。
关机状态下按一下(3秒)开机,开机状态下按一下(3秒)关机。
5.复位键,按此键(3秒),屏幕满屏显示,故障显示清除,系统重新检测故障。
6.向上选择键,在菜单选择中,按此键光标向上或向左移动一项;在修改数据下,按此键增加数值。
7.向下选择键,在菜单选择中,按此键光标向下或向右移动一项;在修改数据下,按此键减小数值。
8.退出键, 按下此健,返回上级菜单。
9.确定键,在菜单选择中,按此键确认选择项,进入下级菜单;在修改参数下,按此键确认参数值并转移光标。
10.液晶显示器,信息显示区域。
显示板操作说明1. 机组的开/关非调试状态下机组的开关机,可以通过手动模式,也可通过定时模式。
手动模式优先于定时模式。
在调试状态下,手动和定时模式均无效。
●手动模式:1)、手动开机:在机组关机状态下,按开/关键3秒使机组启动,此时机组运行指示灯亮,压缩机延时启动后,手动开机过程结束;2)、手动关机:在机组开机状态下,按开/关键3秒使机组关闭,此时运行指示灯熄灭。
停机后,压缩机立即停机,水泵会延时5分钟关闭。
手动关机过程结束。
●定时模式:机组上电或复位后,按手动模式进行开关机。
手动模式和定时模式的转换详见3.13启停模式设定。
在定时模式下手动和定时模式同时有效,当时间到达所设定的定时时间时,机组自动开启或关闭。
2. 默认主页菜单当控制器上电后,微电脑将做3秒钟的自动检测,显示板液晶显示器将显示如下:默认主页菜单内容随系统状态的变化而变化。
XX代表年月日小时和分钟,“【】”内的内容只显示其中的一个或不显示,分别表示系统的开关机状态、开机方式和联网模块数。
在进入菜单项后,如果10分钟内未对显示板器进行任何操作,自动回到上面的默认主页菜单(即主页)。
显示板控制面板XXXX-XX-XX XX:XX 1电源2 运行单冷模块机【热泵模块机】制冷运行【制热运行/制冷关机/制热关机】X 个模块3 故障10【手动/定时】模式星期X【】开关复位▲▼退出确定4 5 6 7 8 91.电源指示灯(绿色), 显示板电源接通时该指示灯亮;否则时灭。
2.运行指示灯(绿色), 显示板开机是该指示灯亮;否则灭。
3.故障指示灯(红色), 机组故障时该指示灯亮,否则灭。
4.开/关键, 控制机组开关机切换。
关机状态下按一下( 3 秒)开机,开机状态下按一下( 3 秒)关机。
5.复位键, 按此键( 3 秒),屏幕满屏显示,故障显示清除,系统重新检测故障。
6.向上选择键,在菜单选择中,按此键光标向上或向左移动一项;在修改数据下,按此键增加数值。
7.向下选择键,在菜单选择中,按此键光标向下或向右移动一项;在修改数据下,按此键减小数值。
8.退出键, 按下此健,返回上级菜单。
9.确定键,在菜单选择中,按此键确认选择项,进入下级菜单;在修改参数下,按此键确认参数值并转移光标。
10.液晶显示器,信息显示区域。
显示板操作说明1. 机组的开/ 关非调试状态下机组的开关机,可以通过手动模式,也可通过定时模式。
手动模式优先于定时模式。
在调试状态下,手动和定时模式均无效。
●手动模式:1)、手动开机:在机组关机状态下,按开/关键 3 秒使机组启动,此时机组运行指示灯亮,压缩机延时启动后,手动开机过程结束;2)、手动关机:在机组开机状态下,按开/关键 3 秒使机组关闭,此时运行指示灯熄灭。
停机后,压缩机立即停机,水泵会延时 5 分钟关闭。
手动关机过程结束。
●定时模式:机组上电或复位后,按手动模式进行开关机。
手动模式和定时模式的转换详见 3.13 启停模式设定。
在定时模式下手动和定时模式同时有效,当时间到达所设定的定时时间时,机组自动开启或关闭。
2. 默认主页菜单当控制器上电后,微电脑将做 3 秒钟的自动检测,显示板液晶显示器将显示如下:XXXX-XX-XX XX:XX单冷模块机【热泵模块机】制冷运行【制热运行/制冷关机/制热关机】X 个模块【手动/定时】模式星期X【】默认主页菜单内容随系统状态的变化而变化。
显示板控制面板1.电源指示灯(绿色), 显示板电源接通时该指示灯亮;否则时灭。
2.运行指示灯(绿色), 显示板开机是该指示灯亮;否则灭。
3.故障指示灯(红色), 机组故障时该指示灯亮,否则灭。
4.开/关键, 控制机组开关机切换。
关机状态下按一下(3秒)开机,开机状态下按一下(3秒)关机。
5.复位键,按此键(3秒),屏幕满屏显示,故障显示清除,系统重新检测故障。
6.向上选择键,在菜单选择中,按此键光标向上或向左移动一项;在修改数据下,按此键增加4 5 6 7 8 91 2 3数值。
7.向下选择键,在菜单选择中,按此键光标向下或向右移动一项;在修改数据下,按此键减小数值。
8.退出键, 按下此健,返回上级菜单。
9.确定键,在菜单选择中,按此键确认选择项,进入下级菜单;在修改参数下,按此键确认参数值并转移光标。
10.液晶显示器,信息显示区域。
显示板操作说明1. 机组的开/关非调试状态下机组的开关机,可以通过手动模式,也可通过定时模式。
手动模式优先于定时模式。
在调试状态下,手动和定时模式均无效。
●手动模式:1)、手动开机:在机组关机状态下,按开/关键3秒使机组启动,此时机组运行指示灯亮,压缩机延时启动后,手动开机过程结束;2)、手动关机:在机组开机状态下,按开/关键3秒使机组关闭,此时运行指示灯熄灭。
停机后,压缩机立即停机,水泵会延时5分钟关闭。
手动关机过程结束。
●定时模式:机组上电或复位后,按手动模式进行开关机。
手动模式和定时模式的转换详见3.13启停模式设定。
在定时模式下手动和定时模式同时有效,当时间到达所设定的定时时间时,机组自动开启或关闭。
2. 默认主页菜单当控制器上电后,微电脑将做3秒钟的自动检测,显示板液晶显示器将显示如下:默认主页菜单内容随系统状态的变化而变化。
XX代表年月日小时和分钟,“【】”内的内在进入菜单项后,如果10分钟内未对显示板器进行任何操作,自动回到上面的默认主页菜单(即主页)。
格力空调控制面板说明书一、产品概述:二、外观和按键介绍:1.面板外观:控制面板采用高质量的塑料外壳,外观简洁大方,配有LED显示屏,显示室内温度、湿度和时间等信息。
2.按键:面板上有多个功能按钮,包括电源开/关按钮、模式选择按钮、温度调节按钮、风速控制按钮、节能模式按钮等。
三、功能和操作说明:1.电源开/关:按下电源开/关按钮,可以将空调的电源打开或关闭。
2.模式选择:通过模式选择按钮,可以调节空调的运行模式,包括制冷、制热、除湿、送风等模式,满足不同季节和需求下的使用要求。
3.温度调节:使用温度调节按钮,可以调节空调设定的目标温度,按上箭头提高温度,按下箭头降低温度。
4.风速控制:通过风速控制按钮,可以调节空调送风的速度,包括高速、中速、低速和自动等档位。
5.节能模式:空调面板上配有节能模式按钮,可以通过按下该按钮来开启或关闭节能模式,在节能模式下,空调会自动调整工作模式和温度,以降低能耗。
四、自动调温和定时功能:1.自动调温:空调面板上的自动调温功能,可以根据室内环境变化,自动调节空调的运行模式和温度,保持室内舒适。
2.定时功能:空调面板配备定时功能,用户可以设置开机时间和关机时间,让空调在指定的时间自动开关机,方便用户合理安排空调的使用时间。
五、故障排除:在使用过程中,可能会遇到一些故障,如空调无法开启、显示屏不亮等问题,以下是一些常见故障的解决办法:六、注意事项:1.本产品需由专业人士安装和维护,请勿私自拆卸或修理。
2.在使用和操作过程中,请确保面板干燥、无污渍,避免液体进入面板造成损坏。
3.使用空调时,请确保通风良好,室内空气质量良好,避免因空调长时间使用而造成不适。
4.定期对空调进行清洁和维护,以保持其良好的工作状态。
格力空调面板操作方法
格力空调的面板操作方法可能会有所不同,具体的操作方法可以参考空调的用户手册。
一般情况下,格力空调的面板操作包括以下步骤:
1. 开关机:通常在面板上有一个开/关按钮,按下该按钮即可开机或关机。
2. 模式选择:面板上会有不同的模式选项,如制冷、制热、除湿等,可以根据需要选择对应的模式。
3. 温度调节:通常在面板上有上下调节按钮,可以通过按下这些按钮来调节空调的设定温度。
4. 风速调节:面板上可能有不同的风速选项,如低速、中速、高速等,可以根据需要选择对应的风速。
5. 定时开关:一些格力空调可能还有定时开关功能,可以在面板上设置具体的开机或关机时间。
6. 其他功能:一些格力空调可能还具备其他特殊功能,如睡眠模式、智能模式等,可以在面板上找到相应的按钮进行调节。
请注意,以上只是一般情况下的操作方法,具体以您所使用的空调型号和面板设
计为准。
建议您查阅相应的用户手册,以便更准确地了解和操作您的格力空调。
显示板控制面板1.电源指示灯(绿色), 显示板电源接通时该指示灯亮;否则时灭。
4 5 6 7 8 91 2 32.运行指示灯(绿色), 显示板开机是该指示灯亮;否则灭。
3.故障指示灯(红色), 机组故障时该指示灯亮,否则灭。
4.开/关键, 控制机组开关机切换。
关机状态下按一下(3秒)开机,开机状态下按一下(3秒)关机。
5.复位键,按此键(3秒),屏幕满屏显示,故障显示清除,系统重新检测故障。
6.向上选择键,在菜单选择中,按此键光标向上或向左移动一项;在修改数据下,按此键增加数值。
7.向下选择键,在菜单选择中,按此键光标向下或向右移动一项;在修改数据下,按此键减小数值。
8.退出键, 按下此健,返回上级菜单。
9.确定键,在菜单选择中,按此键确认选择项,进入下级菜单;在修改参数下,按此键确认参数值并转移光标。
10.液晶显示器,信息显示区域。
显示板操作说明1. 机组的开/关非调试状态下机组的开关机,可以通过手动模式,也可通过定时模式。
手动模式优先于定时模式。
在调试状态下,手动和定时模式均无效。
●手动模式:1)、手动开机:在机组关机状态下,按开/关键3秒使机组启动,此时机组运行指示灯亮,压缩机延时启动后,手动开机过程结束;2)、手动关机:在机组开机状态下,按开/关键3秒使机组关闭,此时运行指示灯熄灭。
停机后,压缩机立即停机,水泵会延时5分钟关闭。
手动关机过程结束。
●定时模式:机组上电或复位后,按手动模式进行开关机。
手动模式和定时模式的转换详见3.13启停模式设定。
在定时模式下手动和定时模式同时有效,当时间到达所设定的定时时间时,机组自动开启或关闭。
2. 默认主页菜单当控制器上电后,微电脑将做3秒钟的自动检测,显示板液晶显示器将显示如下:默认主页菜单内容随系统状态的变化而变化。
XX代表年月日小时和分钟,“【】”内的内容只显示其中的一个或不显示,分别表示系统的开关机状态、开机方式和联网模块数。
在进入菜单项后,如果10分钟内未对显示板器进行任何操作,自动回到上面的默认主页菜单(即主页)。
● 显示板控制面板1.电源指示灯(绿色), 显示板电源接通时该指示灯亮;否则时灭。
2.运行指示灯(绿色), 显示板开机是该指示灯亮;否则灭。
3.故障指示灯(红色), 机组故障时该指示灯亮,否则灭。
4.开/关键, 控制机组开关机切换。
关机状态下按一下(3秒)开机,开机状态下按一下(3秒)关机。
5.复位键,按此键(3秒),屏幕满屏显示,故障显示清除,系统重新检测故障。
6.向上选择键,在菜单选择中,按此键光标向上或向左移动一项;在修改数据下,按此键增加数值。
7.向下选择键,在菜单选择中,按此键光标向下或向右移动一项;在修改数据下,按此键减小数值。
8.退出键, 按下此健,返回上级菜单。
9.确定键,在菜单选择中,按此键确认选择项,进入下级菜单;在修改参数下,按此键确认参数值并转移光标。
10.液晶显示器,信息显示区域。
● 显示板操作说明1. 机组的开/关非调试状态下机组的开关机,可以通过手动模式,也可通过定时模式。
手动模式优先于4 5 6 7 8 9 1 2 3定时模式。
在调试状态下,手动和定时模式均无效。
●手动模式:1)、手动开机:在机组关机状态下,按开/关键3秒使机组启动,此时机组运行指示灯亮,压缩机延时启动后,手动开机过程结束;2)、手动关机:在机组开机状态下,按开/关键3秒使机组关闭,此时运行指示灯熄灭。
停机后,压缩机立即停机,水泵会延时5分钟关闭。
手动关机过程结束。
●定时模式:机组上电或复位后,按手动模式进行开关机。
手动模式和定时模式的转换详见3.13启停模式设定。
在定时模式下手动和定时模式同时有效,当时间到达所设定的定时时间时,机组自动开启或关闭。
2. 默认主页菜单当控制器上电后,微电脑将做3秒钟的自动检测,显示板液晶显示器将显示如下:默认主页菜单内容随系统状态的变化而变化。
XX代表年月日小时和分钟,“【】”内的内在进入菜单项后,如果10分钟内未对显示板器进行任何操作,自动回到上面的默认主页菜单(即主页)。
格力空调主机面板操作说明1.开关在面板的左上角有一个开关按键,用于开启或关闭空调系统。
当按下开关后,显示屏上会显示相应的开机或关机图标。
2.模式选择在面板的中央位置,有一个模式选择按键。
通过该按键可以切换不同的工作模式,包括制冷、制热、除湿和送风。
按下模式选择按键后,显示屏会显示当前模式的图标和工作状态。
3.温度调节在模式选择按键的左右两侧,有温度调节按键。
通过这些按键可以调节空调的设定温度。
按下“+”按键,设定温度会逐步升高;按下“-”按键,设定温度会逐步降低。
调节温度后,显示屏上的数字会相应变化。
4.风速调节在面板的下方,有一个风速调节按键。
通过该按键可以切换不同的风速档位,包括自动、低风、中风和高风。
按下风速调节按键后,显示屏会显示当前风速的图标和档位。
5.定时功能在面板的右上角,有一个定时开关按键。
通过这个按键可以设置定时开关机功能。
按下定时开关按键后,显示屏上会出现定时开机和定时关机的设置选项。
按下不同的按键可以设置具体的时间和操作。
6.温度显示在面板的右侧,有一个温度显示区域。
显示区域会实时显示当前室内的温度。
当按下温度调节按键后,显示区域的数字会随之变化,以反映设定温度的变化。
7.故障显示在面板的左下角,有一个故障显示区域。
当系统发生故障时,面板上会显示相应的故障代码。
通过故障代码可以判断具体的故障原因,从而进行相应的处理。
总结:格力空调主机面板是空调系统的重要组成部分,通过面板上的按键和显示屏,用户可以轻松地调节空调的各种功能和参数,包括开关、模式选择、温度调节、风速调节、定时功能等。
同时,面板上还有温度显示和故障显示功能,以便用户实时了解室内温度和系统工作状态。
根据上述操作说明,用户可以灵活地使用面板,充分发挥格力空调的功能,提升使用体验。
● 显示板控制面板1.电源指示灯(绿色), 显示板电源接通时该指示灯亮;否则时灭.2.运行指示灯(绿色), 显示板开机是该指示灯亮;否则灭。
3.故障指示灯(红色), 机组故障时该指示灯亮,否则灭。
4.开/关键, 控制机组开关机切换。
关机状态下按一下(3秒)开机,开机状态下按一下(3秒)关机。
5.复位键,按此键(3秒),屏幕满屏显示,故障显示清除,系统重新检测故障.6.向上选择键,在菜单选择中,按此键光标向上或向左移动一项;在修改数据下,按此键增加数值。
7.向下选择键,在菜单选择中,按此键光标向下或向右移动一项;在修改数据下,按此键减小数值。
8.退出键, 按下此健,返回上级菜单。
9.确定键,在菜单选择中,按此键确认选择项,进入下级菜单;在修改参数下,按此键确认参数值并转移光标。
10.液晶显示器,信息显示区域。
● 显示板操作说明1。
机组的开/关非调试状态下机组的开关机,可以通过手动模式,也可通过定时模式.手动模式优先于定4 5 6 7 8 9 1 2 3时模式。
在调试状态下,手动和定时模式均无效。
●手动模式:1)、手动开机:在机组关机状态下,按开/关键3秒使机组启动,此时机组运行指示灯亮,压缩机延时启动后,手动开机过程结束;2)、手动关机:在机组开机状态下,按开/关键3秒使机组关闭,此时运行指示灯熄灭。
停机后,压缩机立即停机,水泵会延时5分钟关闭。
手动关机过程结束。
●定时模式:机组上电或复位后,按手动模式进行开关机。
手动模式和定时模式的转换详见3。
13启停模式设定.在定时模式下手动和定时模式同时有效,当时间到达所设定的定时时间时,机组自动开启或关闭.2。
默认主页菜单当控制器上电后,微电脑将做3秒钟的自动检测,显示板液晶显示器将显示如下:默认主页菜单内容随系统状态的变化而变化。
XX代表年月日小时和分钟,“【】”内的内.在进入菜单项后,如果10分钟内未对显示板器进行任何操作,自动回到上面的默认主页菜单(即主页)。
显示板控制面板1.电源指示灯(绿色), 显示板电源接通时该指示灯亮;否则时灭。
2.运行指示灯(绿色), 显示板开机是该指示灯亮;否则灭。
3.故障指示灯(红色), 机组故障时该指示灯亮,否则灭。
4.开/关键, 控制机组开关机切换。
关机状态下按一下(3秒)开机,开机状态下按一下(3秒)关机。
电源 运行 XXXX-XX-XX XX:XX 单冷模块机【热泵 4 5 615.复位键,按此键(3秒),屏幕满屏显示,故障显示清除,系统重新检测故障。
6.向上选择键,在菜单选择中,按此键光标向上或向左移动一项;在修改数据下,按此键增加数值。
7.向下选择键,在菜单选择中,按此键光标向下或向右移动一项;在修改数据下,按此键减小数值。
8.退出键, 按下此健,返回上级菜单。
9.确定键,在菜单选择中,按此键确认选择项,进入下级菜单;在修改参数下,按此键确认参数值并转移光标。
10.液晶显示器,信息显示区域。
显示板操作说明1. 机组的开/关非调试状态下机组的开关机,可以通过手动模式,也可通过定时模式。
手动模式优先于定时模式。
在调试状态下,手动和定时模式均无效。
●手动模式:1)、手动开机:在机组关机状态下,按开/关键3秒使机组启动,此时机组运行指示灯亮,压缩机延时启动后,手动开机过程结束;2)、手动关机:在机组开机状态下,按开/关键 3秒使机组关闭,此时运行指示灯熄灭。
停机后,压缩机立即停机,水泵会延时5分钟关闭。
手动关机过程结束。
●定时模式:机组上电或复位后,按手动模式进行开关机。
手动模式和定时模式的转换详见3.13启停模式设定。
在定时模式下手动和定时模式同时有效,当时间到达所设定的定时时间时,机组自动开启或关闭。
2. 默认主页菜单当控制器上电后,微电脑将做3秒钟的自动检测,显示板液晶显示器将显示如下:默认主页菜单内容随系统状态的变化而变化。
XX代表年月日小时和分钟,“【】”内的内容只显示其中的一个或不显示,分别表示系统的开关机状态、开机方式和联网模块数。
●显示板控制面板1.电源指示灯(绿色), 显示板电源接通时该指示灯亮;否则时灭。
2.运行指示灯(绿色), 显示板开机是该指示灯亮;否则灭。
3.故障指示灯(红色), 机组故障时该指示灯亮,否则灭。
4.开/关键, 控制机组开关机切换。
关机状态下按一下(3秒)开机,开机状态下按一下(3秒)关机。
5.复位键,按此键(3秒),屏幕满屏显示,故障显示清除,系统重新检测故障。
6.向上选择键,在菜单选择中,按此键光标向上或向左移动一项;在修改数据下,按此键增加数值。
7.向下选择键,在菜单选择中,按此键光标向下或向右移动一项;在修改数据下,按此键减小数值。
8.退出键, 按下此健,返回上级菜单。
9.确定键,在菜单选择中,按此键确认选择项,进入下级菜单;在修改参数下,按此键确认参数值并转移光标。
10.液晶显示器,信息显示区域。
●显示板操作说明1. 机组的开/关非调试状态下机组的开关机,可以通过手动模式,也可通过定时模式。
手动模式优先于定时模式。
在调试状态下,手动和定时模式均无效。
456789123●手动模式:1)、手动开机:在机组关机状态下,按开/关键3秒使机组启动,此时机组运行指示灯亮,压缩机延时启动后,手动开机过程结束;2)、手动关机:在机组开机状态下,按开/关键3秒使机组关闭,此时运行指示灯熄灭。
停机后,压缩机立即停机,水泵会延时5分钟关闭。
手动关机过程结束。
●定时模式:机组上电或复位后,按手动模式进行开关机。
手动模式和定时模式的转换详见3.13启停模式设定。
在定时模式下手动和定时模式同时有效,当时间到达所设定的定时时间时,机组自动开启或关闭。
2. 默认主页菜单当控制器上电后,微电脑将做3秒钟的自动检测,显示板液晶显示器将显示如下:默认主页菜单内容随系统状态的变化而变化。
XX代表年月日小时和分钟,“【】”内的内容只显示其中的一个或不显示,分别表示系统的开关机状态、开机方式和联网模块数。
在进入菜单项后,如果10分钟内未对显示板器进行任何操作,自动回到上面的默认主页菜单(即主页)。
显示板控制面板1.电源指示灯(绿色), 显示板电源接通时该指示灯亮;否则时灭。
4 5 6 7 8 91 2 32.运行指示灯(绿色), 显示板开机是该指示灯亮;否则灭。
3.故障指示灯(红色), 机组故障时该指示灯亮,否则灭。
4.开/关键, 控制机组开关机切换。
关机状态下按一下(3秒)开机,开机状态下按一下(3秒)关机。
5.复位键,按此键(3秒),屏幕满屏显示,故障显示清除,系统重新检测故障。
6.向上选择键,在菜单选择中,按此键光标向上或向左移动一项;在修改数据下,按此键增加数值。
7.向下选择键,在菜单选择中,按此键光标向下或向右移动一项;在修改数据下,按此键减小数值。
8.退出键, 按下此健,返回上级菜单。
9.确定键,在菜单选择中,按此键确认选择项,进入下级菜单;在修改参数下,按此键确认参数值并转移光标。
10.液晶显示器,信息显示区域。
显示板操作说明1. 机组的开/关非调试状态下机组的开关机,可以通过手动模式,也可通过定时模式。
手动模式优先于定时模式。
在调试状态下,手动和定时模式均无效。
●手动模式:1)、手动开机:在机组关机状态下,按开/关键3秒使机组启动,此时机组运行指示灯亮,压缩机延时启动后,手动开机过程结束;2)、手动关机:在机组开机状态下,按开/关键3秒使机组关闭,此时运行指示灯熄灭。
停机后,压缩机立即停机,水泵会延时5分钟关闭。
手动关机过程结束。
●定时模式:机组上电或复位后,按手动模式进行开关机。
手动模式和定时模式的转换详见3.13启停模式设定。
在定时模式下手动和定时模式同时有效,当时间到达所设定的定时时间时,机组自动开启或关闭。
2. 默认主页菜单当控制器上电后,微电脑将做3秒钟的自动检测,显示板液晶显示器将显示如下:默认主页菜单内容随系统状态的变化而变化。
XX代表年月日小时和分钟,“【】”内的内容只显示其中的一个或不显示,分别表示系统的开关机状态、开机方式和联网模块数。
在进入菜单项后,如果10分钟内未对显示板器进行任何操作,自动回到上面的默认主页菜单(即主页)。
● 显示板控制面板
1.电源指示灯(绿色), 显示板电源接通时该指示灯亮;否则时灭。
2.运行指示灯(绿色), 显示板开机是该指示灯亮;否则灭。
3.故障指示灯(红色), 机组故障时该指示灯亮,否则灭。
4.开/关键, 控制机组开关机切换。
关机状态下按一下(3秒)开机,开机状态下按一下(3秒)关机。
5.复位键,按此键(3秒),屏幕满屏显示,故障显示清除,系统重新检测故障。
6.向上选择键,在菜单选择中,按此键光标向上或向左移动一项;在修改数据下,按此键增加数值。
7.向下选择键,在菜单选择中,按此键光标向下或向右移动一项;在修改数据下,按此键减小数值。
8.退出键, 按下此健,返回上级菜单。
9.确定键,在菜单选择中,按此键确认选择项,进入下级菜单;在修改参数下,按此键确认参数值并转移光标。
10.液晶显示器,信息显示区域。
● 显示板操作说明
1. 机组的开/关
非调试状态下机组的开关机,可以通过手动模式,也可通过定时模式。
手动模式优先于 4 5 6 7 8 9 1 2 3
定时模式。
在调试状态下,手动和定时模式均无效。
●手动模式:
1)、手动开机:在机组关机状态下,按开/关键3秒使机组启动,此时机组运行指示灯亮,压缩机延时启动后,手动开机过程结束;
2)、手动关机:在机组开机状态下,按开/关键3秒使机组关闭,此时运行指示灯熄灭。
停机后,压缩机立即停机,水泵会延时5分钟关闭。
手动关机过程结束。
●定时模式:
机组上电或复位后,按手动模式进行开关机。
手动模式和定时模式的转换详见3.13启停模式设定。
在定时模式下手动和定时模式同时有效,当时间到达所设定的定时时间时,机组自动开启或关闭。
2. 默认主页菜单
当控制器上电后,微电脑将做3秒钟的自动检测,显示板液晶显示器将显示如下:
默认主页菜单内容随系统状态的变化而变化。
XX代表年月日小时和分钟,“【】”内的内
在进入菜单项后,如果10分钟内未对显示板器进行任何操作,自动回到上面的默认主页菜单(即主页)。
在任何时间按下显示板上退出键,次数足够多均返回上图默认主页菜单。
3.主控制菜单
在屏幕显示主页时(如上图),按确定键进入主控制菜单,屏幕显示如下图所示:
通过向上、向下选择键选择所需功能,按确定键进入。
以下菜单中“【】”内的内容只显示其中的一个或均不显示,黑底白字表示所在行或所在数字被选中。
3.1.用户设置
这是用户常用的一些基本设置。
在屏幕显示主控制菜单时,选择用户设置,按确定键进入。
屏幕显示如下图所示:
第一页
第二页
通过向上、向下选择键选择所需功能,按确定键进入或确定选择。
后有钩“√”时表示选择有效,后无钩“√”时表示该选择无效。
3.11.时钟设定
选择时钟设定,按确定键进入。
屏幕显示如下图所示:
按确定键改变选择对象,通过向上、向下选择键改变选中对象的值。
按退出键退出该画面,返回上一级菜单并保存设定值。
3.12.定时时间设定
选择定时时间设定,按确定键进入。
屏幕显示如下图所示:
按确定键改变选择对象,通过向上、向下选择键改变选中对象的值或状态。
这是一周中每天的定时开关时间和有效状态,“无”表示该项定时时间无效,有“√”
时该项定时时间有效。
按退出键退出该画面,返回上一级菜单并保存设定值。
3.13.启停模式设定:选择启停模式,按确定键,启停模式在手动模式和定时模式
之间切换
3.14.运行模式设定:选择运行模式,按确定键,运行模式在制冷模式和制热模式
之间切换,只有热泵型模块机才有该功能,并且只能在关机状态下才能设置。
出水温度 XX.X ℃ ▲
进水温度 XX.X ℃
3.15.声音打开设定:选择声音打开,按确定键 ,后面的“√”出现或消失,出现
表示选择该功能
3.16.背光常开设定:选择背光常开,按确定键 ,后面的“√”出现或消失,出现
表示选择该功能
3.17.辅热打开设定:选择辅热打开,按确定键 ,后面的“√”出现或消失,出现
表示选择该功能,只有在制热模式下才能设置。
3.18.自动防冻设定:选择自动防冻,按确定键 ,后面的“√”出现或消失,出现
表示选择该功能,只有在制热模式下才能设置。
3.2.模块查看
在屏幕显示主控制菜单时,选择模块查看,按确定键进入。
屏幕显示如下图所示: 第一页(不带远程接口) 第一页(带远程接口)
第二页(不带远程接口) 第二页(带远程接口)
按退出键退出该画面,返回上一级菜单。
通过向上、向下选择键 选择需要进入的模块,按确定键 进入,后有“ 调试状态。
进入模块后,显示如下菜单:
按退出键退出该画面,返回上一级菜单。
通过向上、向下选择键 选择需要的功能,按确定键 进入。
“X ”为 “主,1~7”(不带远程接口)或“1~8” (带远程接口)中的一个字,表示为已进入的是那个模块。
状态查看后的“ 动防冻运行或化霜运行;故障查询后“ ”的表示该模块有故障;调试功能后“ ”的
3.21.温度查看
用于查看各温度点的温度。
选择温度查看,按确定键进入。
屏幕显示如下图第一页所示:
第一页
化霜温度一XX.X℃▲
化霜温度二XX.X℃
▼
第二页
通过向上、向下选择键在上面两页中切换。
按退出键退出该菜单画面,返回上一级菜单。
单冷型模块机不显示第二页。
3.22. 状态查看
用于查看各个电机的开关有无状态。
选择状态查看,按确定键进入。
屏幕显示如下图第一页所示:
压缩机一【开/关】▲
压缩机二【开/关】
风机一【开/关】
风机二【开/关/无】▼
第一页
四通阀一【开/关】▲
四通阀二【开/关】
系统状态【制冷/制热/化霜/防冻/关机】
▼
第二页
通过向上、向下选择键在上面两页中切换。
按退出键退出该菜单画面,返回上一级菜单。
3.23. 故障查询
用于查看系统的故障状态。
选择故障查询,按确定键进入。
屏幕显示如下图第一页所示:
上一次故障X
XXXXXX
当前故障XX
XXXXXX
其中“X”为“主,1~7”(不带远程接口)或“1~8”(带远程接口)中的一个字,表示为已进入的是那个模块。
“XX”为两个数字,用于指示主板和显示板的通信状态。
“XXXXXX”为可能出现的故障类型,若当前有多个故障同时存在,则在上一次和当前故障中交替出现。
可能出现的故障类型如下:
压缩机高压一/*压缩机1高压保护*/
压缩机高压二/*压缩机2高压保护*/
压缩机低压一/*压缩机1低压保护*/
压缩机低压二/*压缩机2低压保护*/
压缩机一过载/*压缩机1过载保护*/
压缩机二过载/*压缩机2过载保护*/
水流开关/*水流开关保护*/
风机一过流/*风机一过流保护*/
进水温感器/*进水温度传感器保护*/
出水温感器/*出水温度传感器保护*/
化霜温感器一/*化霜温度传感器1保护*/
化霜温感器二/*化霜温度传感器2保护*/
防冻温感器一/*系统蒸发器防冻保护1*/
防冻温感器二/*系统蒸发器防冻保护2*/
排气高温一/*压缩机1排气高温保护*/
排气高温二/*压缩机2排气高温保护*/
通信线路故障
时钟芯片故障
存储芯片故障
按退出键退出该菜单画面,返回上一级菜单。
3.2
4.调试功能
可以对任一台单元模块的压缩机、风机和四通阀单独进行强制启停。
用户决不可使用这些功能,如要使用必须在调试人员指导下进行,以免发生事故。
此功能操作必须凭密码进入,操作方法不列出。
3.3.参数设定
用户决不可使用这些功能,如要使用必须在调试人员指导下进行,以免发生事故。
此功能操作必须凭密码进入,操作要点:选择该菜单并确定时,屏幕提示输入密码,当通过向上、向下选择键输入正确密码并确定后,正式进入参数设定菜单;通过向上、向下选择键选择要修改的参数,再按确定键进入修改界面,通过向上、向下选择键输入参数值后再按确定键或退出键回到参数设定菜单;同样的方法修改其它参数,修改完毕后通过向上、向下选择键选择参数设定菜单中的保存并退出项,屏幕再次提示是否保存修改值,若要保存则选择“确定”再按确定键保存并返回主控菜单。
注意只有通过上面的退出方法才能保存修改值,其它退出方式均不保存修改值。